Important: Para maximizar la seguridad, el rendimiento y la operacin correcta de la mquina, lea cuidadosamente y comprenda perfectamente el contenido de este Manual del operador. No seguir estas instrucciones de uso o utilizar el equipo sin haber recibido una formacin correcta pueden dar lugar a lesiones personales. Si desea obtener ms informacin sobre prcticas de operacin segura, incluyendo consejos de seguridad y materiales de formacin, visite www.Toro.com.
Puede ponerse en contacto directamente con Toro en www.Toro.com si desea informacin sobre productos y accesorios, o si necesita localizar un distribuidor o registrar su producto.
Cuando necesite asistencia tcnica, piezas genuinas Toro o informacin adicional, pngase en contacto con un Servicio Tcnico Autorizado o con Asistencia al Cliente Toro, y tenga a mano los nmeros de modelo y serie de su producto. Figure 1 identifica la ubicacin de los nmeros de modelo y serie en el producto. Escriba los nmeros en el espacio provisto.
Important: Con su dispositivo mvil, puede escanear el cdigo QR del nmero de serie (en su caso) para acceder a informacin sobre la garanta, las piezas, y otra informacin sobre el producto.

Este manual identifica peligros potenciales y contiene mensajes de seguridad identificados por el smbolo de alerta de seguridad (Figure 2), que seala un peligro que puede causar lesiones graves o la muerte si usted no sigue las precauciones recomendadas.

Este manual utiliza 2 palabras para resaltar informacin. Importante llama la atencin sobre informacin mecnica especial, y Nota resalta informacin general que merece una atencin especial.
![]() |
Las pegatinas de seguridad e instrucciones estn a la vista del operador y estn ubicadas cerca de cualquier zona de peligro potencial. Sustituya cualquier pegatina que est daada o que falte. |

Note: Los lados derecho e izquierdo de la mquina se determinan desde la posicin normal del operador.

Aparque la mquina en una superficie nivelada.
Accione el freno de estacionamiento.
Apague el motor y retire la llave.
Piezas necesarias en este paso:
| Soporte de giro | 1 |
| Perno de cuello cuadrado (5/16" x ") | 2 |
| Contratuerca (5/16") | 5 |
| Pedal de bloqueo | 1 |
| Placa del casquillo | 1 |
| Perno de cabeza hexagonal (5/16" x ") | 3 |
| Espaciador (" x 1-1/16") | 1 |
| Muelle de torsin | 1 |
| Arandela (1" x 2") | 1 |
| Anillo de retencin | 1 |
| Arandela (" x 1") | 1 |
| Contratuerca (") | 1 |
| Contratuerca (") | 2 |
| Conjunto del cubo | 1 |
| Perno (" x 2") | 1 |
| Arandela (9/32") | 1 |


Monte el soporte de giro en el reposapis con 2 pernos de cuello cuadrado (5/16" x ") y 2 contratuercas (5/16"), como se muestra en la Figure 5.

Usando el soporte de giro como plantilla, perfore 3 taladros de 8mm (5/16") en la brida del reposapis (Figure 6).

Retire el soporte de giro, los 2 pernos de cuello cuadrado (5/16" x "), y las 2 contratuercas (5/16") de la mquina (Figure 7).

Elimine cualquier rebaba de los 3 taladros que perfor en el paso 2.
En el lado interior de la pestaa del reposapis, alinee los tres taladros del soporte de giro con los 3 orificios de la pestaa (Figure 8).

Monte el soporte de giro en el reposapis (Figure 9) con 3 pernos de cabeza hexagonal (5/16" x ") y 3 contratuercas (5/16").

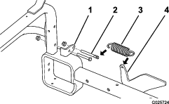
Monte el espaciador (" x 1-1/16") en el pivote del pedal de bloqueo (Figure 10).

Alinee el pedal de bloqueo con el reposapis izquierdo y con los taladros del soporte de giro (Figure 11).

Monte la placa del casquillo en el soporte de giro y la pestaa del reposapis (Figure 12) con los 2 pernos de cuello cuadrado (5/16" x ") y las 2 contratuercas (5/16").

Apriete las contratuercas a 71 – 92 N∙cm.
Deslice el muelle de torsin sobre la placa del casquillo, enganchando un extremo del muelle en el esprrago pequeo del pedal de bloqueo y presionando el otro extremo contra la chapa de suelo (Figure 13).
Note: Posicione el muelle en la placa del casquillo como se muestra en la figura.

Sujete el muelle de torsin al esprrago pequeo con una contratuerca ("); consulte la Figure 13.
Sujete el muelle de torsin a la placa del casquillo con una arandela plana (1" x 2") y un anillo de retencin (Figure 14).

Sujete el pedal de bloqueo al reposapis y a la placa del casquillo con una arandela plana (" x 1") y una contratuerca ("); consulte la Figure 15.
Note: No apriete la tuerca demasiado; el pedal de bloqueo debe pivotar libremente cuando es pisado.



Instale el conjunto del cubo en el reposapis izquierdo con 2 pernos (5/16" x ") y 2 contratuercas (5/16").

Sujete la parte inferior del conjunto del cubo al bastidor de la mquina con un perno (" x 2"), una arandela ("), y una contratuerca ("); consulte la Figure 17.
Apriete las contratuercas a 71 – 92 N∙cm.
Alinee el pedal de bloqueo con el reposapis izquierdo y con los taladros del conjunto del cubo (Figure 18).

Introduzca el pivote del pedal de bloqueo por el taladro del reposapis izquierdo y a travs del conjunto del cubo (Figure 18).
Deslice el muelle de torsin sobre el conjunto del cubo, enganchando un extremo del muelle en el esprrago pequeo del pedal de bloqueo y presionando el otro extremo contra la chapa de suelo (Figure 19).
Note: Posicione el muelle en el conjunto del cubo como se muestra en la Figure 19.


Sujete el muelle de torsin al esprrago pequeo con una contratuerca ("); consulte la Figure 19.
Sujete el muelle de torsin a la placa del casquillo con una arandela plana (1" x 2") y un anillo de retencin (Figure 20).

Sujete el pedal de bloqueo al reposapis y al conjunto del cubo con una arandela plana (" x 1") y una contratuerca ("); consulte la Figure 21.
Note: No apriete la tuerca demasiado; el pedal de bloqueo debe pivotar libremente cuando es pisado.

Deseche las piezas que no fueron necesarias para su mquina.
Piezas necesarias en este paso:
| Conjunto de soporte de montaje | 2 |
| Perno ("x 3") | 4 |
| Contratuerca (") | 4 |
Note: Asegrese de que los neumticos delanteros y traseros estn inflados a 0,28–0,41bar.
Apoye la parte trasera de la mquina sobre un bloque y retire los neumticos traseros.
Note: Coloque los bloques debajo de los puntos de montaje de los motores de las ruedas traseras.
Sujete provisionalmente un conjunto de soporte de montaje a cada tubo (derecho e izquierdo) del reposapis con 2 pernos (" x 3") y contratuercas ("). Posicione los conjuntos de soporte de montaje y los pernos segn se muestra en Figure 22.
Note: No es necesario instalar el soporte de montaje derecho si la mquina tiene una barra de herramientas de montaje intermedio.

Piezas necesarias en este paso:
| Brazo de elevacin derecho | 1 |
| Brazo de elevacin izquierdo | 1 |
| Pasador | 2 |
| Chaveta | 2 |
| Tubo de torsin | 1 |
| Perno (" x 1") | 4 |
| Contratuerca (") | 4 |
Posicione los brazos de elevacin de manera que el taladro de montaje del soporte de cada brazo de elevacin est alineado con los taladros de los soportes de montaje (Figure 23).
Sujete el brazo de elevacin derecho al soporte de montaje con un pasador y una chaveta (Figure 23).
Instale provisionalmente un extremo del tubo de torsin en el brazo de elevacin derecho con 2 pernos (" x 1") y contratuercas ("); consulte la Figure 23.
Note: No apriete las fijaciones todava.
Sujete el brazo de elevacin izquierdo al soporte de montaje con un pasador y una chaveta (Figure 23).
Instale provisionalmente el otro extremo del tubo de torsin en el brazo de elevacin izquierdo con 2 pernos (" x 1") y contratuercas ("); consulte la Figure 23.
Note: No apriete las fijaciones todava.

Piezas necesarias en este paso:
| Pala de 102cm (como opcin, puede comprar e instalar la pala de 152cm) | 1 |
| Refuerzo | 2 |
| Perno (" x 1") | 2 |
| Contratuerca (") | 6 |
| Perno (" x 3") | 4 |
Note: Como opcin, puede comprar una pala de 152cm. Instlela siguiendo el mismo procedimiento que para la pala de 102cm, descrito en esta seccin.
Sujete provisionalmente un refuerzo a cada una de las pestaas de montaje interiores del conjunto de la pala.
Note: Coloque los refuerzos segn se muestra en Figure 24.
Sujete provisionalmente la parte delantera de los brazos de elevacin a los soportes de montaje y los refuerzos de la pala con 4 pernos (" x 3") y 4 contratuercas ("); consulte la Figure 24.
Note: Si utiliza los taladros de montaje superiores de los soportes de montaje de la pala, la pala tendr una accin ms agresiva (Figure 24).
Con la pala apoyada sobre una superficie nivelada, apriete las fijaciones que sujetan los brazos de elevacin a la pala (Figure 24).
Note: Apriete las fijaciones a 19 – 24Nm.
Apriete los pernos y las contratuercas que sujetan los extremos de los tubos de torsin a los brazos de elevacin (Figure 23).
Note: Apriete las fijaciones a 19 – 24Nm.

Piezas necesarias en este paso:
| Pedal del brazo de elevacin | 1 |
| Perno (" x 3") | 2 |
| Contratuerca (") | 4 |
| Soporte de muelle | 2 |
| Perno (" x 2") | 2 |
| Muelle de extensin | 2 |
| Varilla del muelle | 2 |
Monte el pedal del brazo de elevacin en el exterior del brazo de elevacin izquierdo con 2 pernos (" x 3") y 2 contratuercas (").
Note: Posicione el pedal segn se muestra en Figure 25.

Retire el perno y la tuerca inferiores que sujetan cada soporte de montaje de la barra de enganche a los tubos verticales del bastidor (Figure 26).
Note: Deseche el perno y la tuerca.
Usando los taladros de montaje abiertos de la barra de enganche, sujete un soporte de muelle a cada soporte de la barra del enganche/tubo vertical del bastidor con un perno ( x 2") y una contratuerca (").
Note: Posicione los soportes de muelle segn se muestra en Figure 26.

Tire de la palanca hacia tras para elevar la pala y bloquearla en la posicin de transporte.
Apriete todas las dems fijaciones.
Conecte el muelle de extensin al brazo de elevacin y a una varilla de muelle.
Introduzca la varilla del muelle en el taladro del soporte del muelle y sujtela provisionalmente con una contratuerca (").
Repita los pasos 6 a 7 en el otro lado de la mquina.
Instale los neumticos traseros y retire los bloques de debajo de la parte trasera de la mquina.
Note: Apriete las tuercas de las ruedas a 61 – 75 Nm.
El ajuste del muelle controla la fuerza necesaria para elevar la pala a la posicin de transporte. Si el muelle est demasiado flojo, ser difcil elevar la pala a la posicin de transporte. No obstante, si el muelle est demasiado tensado, la pala flotar excesivamente durante el uso.
Baje la pala al suelo.
Note: Cuando los muelles estn correctamente ajustados, toda la longitud del borde inferior de la pala estar a no ms de 6mm del suelo.
Gire las tuercas de ajuste de los muelles (Figure 27) en sentido horario para elevar la pala, o en sentido antihorario para bajar la pala.

Tire de la palanca hacia atrs para elevar la pala y bloquearla en la posicin de transporte. Pise el pedal de bloqueo para liberar la pala en la posicin de funcionamiento.
Puede utilizar la pala para empujar o arrastrar arena y tierra. Con la pala en la posicin de funcionamiento, simplemente mueva la palanca un poco hacia adelante o hacia atrs, o pise el pedal del brazo de elevacin para controlar la pala.
Note: Si las ruedas patinan mientras utiliza la pala, elvela un poco tirando de la palanca hacia atrs. A veces, el motor puede empezar a funcionar con dificultad. Si esto ocurre, suelte poco a poco el pedal de traccin para aumentar la velocidad y la potencia del motor.
Retire cuidadosamente las tuercas de ajuste que sujetan las varillas de los muelles a los soportes.
Si los muelles estn tensados, pueden causar lesiones personales.
Alivie con cuidado la presin de aquellos componentes que tengan energa almacenada.
Retire las varillas de los muelles y los muelles.
Baje la pala al suelo.
Retire los pasadores y las chavetas que conectan los brazos de elevacin a los soportes de montaje.
Eleve la parte delantera de la mquina y deslice el conjunto de la pala hacia adelante para separarlo de la mquina.