Important: Zur Maximierung der Sicherheit, Leistung und des richtigen Betriebs dieser Maschine mssen Sie den Inhalt dieser Bedienungsanleitung sorgfltig lesen und verstehen. Wenn Sie diese Betriebsanleitungen nicht einhalten oder nicht richtig geschult sind, knnen Sie Verletzungen erleiden. Weitere Informationen zur sicheren Betriebspraxis, u.a. Sicherheitstipps und Schulungsunterlagen finden Sie unter www.toro.com.
Wenden Sie sich hinsichtlich Informationen zu Produkten und Zubehr sowie Angaben zu Ihrem rtlichen Vertragshndler oder zur Registrierung des Produktes direkt an Toro unter www.Toro.com.
Wenden Sie sich an Ihren Toro-Vertragshndler oder Kundendienst, wenn Sie eine Serviceleistung, Originalersatzteile von Toro oder zustzliche Informationen bentigen. Halten Sie hierfr die Modell- und Seriennummern Ihres Produkts griffbereit. InFigure 1 ist angegeben, wo an dem Produkt die Modell- und die Seriennummer angebracht sind. Tragen Sie hier bitte die Modell- und die Seriennummer des Gerts ein.
Important: Scannen Sie mit Ihrem Mobilgert den QR-Code auf dem Seriennummernaufkleber (falls vorhanden), um auf Garantie-, Ersatzteil- oder andere Produktinformationen zuzugreifen.

In dieser Anleitung werden potenzielle Gefahren angefhrt, und Sicherheitshinweise werden vom Sicherheitswarnsymbol (Figure 2) gekennzeichnet. Dieses Warnsymbol weist auf eine Gefahr hin, die zu schweren oder tdlichen Verletzungen fhren kann, wenn Sie die empfohlenen Sicherheitsvorkehrungen nicht einhalten.

In dieser Anleitung werden zwei Begriffe zur Hervorhebung von Informationen verwendet. Wichtig weist auf spezielle mechanische Informationen hin, und Hinweis hebt allgemeine Informationen hervor, die Ihre besondere Beachtung verdienen.
![]() |
Die Sicherheits- und Bedienungsaufkleber sind fr den Bediener gut sichtbar und befinden sich in der Nhe der mglichen Gefahrenbereiche. Tauschen Sie beschdigte oder verloren gegangene Aufkleber aus. |

Note: Bestimmen Sie die linke und rechte Seite der Maschine anhand der normalen Sitz- und Bedienerposition.

Parken Sie die Maschine auf einer ebenen Flche.
Aktivieren Sie die Feststellbremse.
Stellen Sie den Motor ab und ziehen Sie den Schlssel ab.
Für diesen Arbeitsschritt erforderliche Teile:
| Schwenkhalterung | 1 |
| Schlossschraube (5/16"x") | 2 |
| Sicherungsmutter (5/16") | 5 |
| Feststellpedal | 1 |
| Bchsenplatte | 1 |
| Sechskantschraube (5/16"x") | 3 |
| Distanzstck ("x1-1/16") | 1 |
| Drehfeder | 1 |
| Scheibe (1"x2") | 1 |
| Haltering | 1 |
| Scheibe ("x1") | 1 |
| Sicherungsmutter (") | 1 |
| Sicherungsmutter (") | 2 |
| Nabe | 1 |
| Schraube ("x2") | 1 |
| Scheibe (9/32") | 1 |


Befestigen Sie die Schwenkhalterung mit zwei Schlossschrauben (5/16"x") und zwei Sicherungsmuttern (5/16") an der Fuplattform, wie in Figure 5 abgebildet.

Verwenden Sie die Schwenkhalterung als Bohrschablone und bohren Sie drei Lcher (8mm) in den Flansch der Fuplattform (Figure 6).

Entfernen Sie die Schwenkhalterung, die zwei Schlossschrauben (5/16"x") und die zwei Sicherungsmuttern (5/16") von der Maschine (Figure 7).

Entfernen Sie Grate von den drei Lchern, die Sie in Schritt2 gebohrt haben.
Fluchten Sie an der Innenseite des Fuplattform-Flansches die drei Lcher in der Schwenkhalterung mit den drei Lchern im Flansch aus (Figure 8).

Befestigen Sie die Schwenkhalterung mit drei Sechskantschrauben (5/16"x") und drei Sicherungsmuttern (5/16") an der Fuplattform (Figure 9).

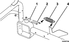
Befestigen Sie das Distanzstck ("x1-1/16") ber der Gelenkwelle des Feststellpedals (Figure 10).

Fluchten Sie das Feststellpedal mit der linken Fuplattform und den Lchern in der Schwenkhalterung aus (Figure 11).

Befestigen Sie die Bchsenplatte mit den zwei Schlossschrauben (5/16"x") und zwei Sicherungsmuttern (5/16") an der Schwenkhalterung und dem Flansch der Fuplattform (Figure 12).

Ziehen Sie die Sicherungsmuttern mit 71-92Nm an
Schieben Sie die Drehfeder auf die Bchsenplatte und haken Sie gleichzeitig ein Ende der Feder am kleinen Bolzen am Feststellpedal ein; drcken Sie das andere Ende gegen die Bodenplatte (Figure 13).
Note: Positionieren Sie die Feder auf der Bchsenplatte, wie abgebildet.

Befestigen Sie die Drehfeder mit einer Sicherungsmutter (") am kleinen Bolzen, siehe Figure 13.
Befestigen Sie die Drehfeder mit einer Flachscheibe (1"x2") und einem Haltering an der Bchsenplatte (Figure 14).

Befestigen Sie das Feststellpedal mit einer Flachscheibe ("x1") und einer Sicherungsmutter (") an der Fuplattform und der Bchsenplatte, siehe Figure 15.
Note: Ziehen Sie die Mutter nicht zu fest an, das Feststellpedal muss sich beim Durchtreten ungehindert drehen.



Befestigen Sie die Nabe mit zwei Schrauben (5/16"x") und zwei Sicherungsmuttern (5/16") an der linken Fuplattform.

Befestigen Sie die Unterseite der Nabe mit einer Schraube ("x2"), einer Scheibe (") und einer Sicherungsmutter (") am Maschinenrahmen, siehe Figure 17.
Ziehen Sie die Sicherungsmuttern mit 71-92Nm an
Fluchten Sie das Feststellpedal mit der linken Fuplattform und den Lchern in der Nabe aus (Figure 18).

Stecken Sie die Gelenkwelle des Feststellpedals durch das Loch in der linken Fuplattform und durch die Nabe (Figure 18).
Schieben Sie die Drehfeder auf die Nabe und haken Sie gleichzeitig ein Ende der Feder am kleinen Bolzen am Feststellpedal ein; drcken Sie das andere Ende gegen die Bodenplatte (Figure 19).
Note: Positionieren Sie die Feder auf der Bchsenplatte, wie in Figure 19 abgebildet.


Befestigen Sie die Drehfeder mit einer Sicherungsmutter (") am kleinen Bolzen, siehe Figure 19.
Befestigen Sie die Drehfeder mit einer Flachscheibe (1"x2") und einem Haltering an der Bchsenplatte (Figure 20).

Befestigen Sie das Feststellpedal mit einer Flachscheibe ("x1") und einer Sicherungsmutter (") an der Fuplattform und der Nabe, siehe Figure 21.
Note: Ziehen Sie die Mutter nicht zu fest an, das Feststellpedal muss sich beim Durchtreten ungehindert drehen.

Werfen Sie die Teile weg, die Sie nicht die Maschine bentigen.
Für diesen Arbeitsschritt erforderliche Teile:
| Befestigungshalterung | 2 |
| Schraube ("x3") | 4 |
| Sicherungsmutter (") | 4 |
Note: Stellen Sie sicher, dass der Druck in den Vorder- und Hinterreifen zwischen 0,28 und 0,41bar liegt.
Bocken Sie das Heck der Maschine auf und nehmen Sie die Hinterreifen ab.
Note: Stellen Sie die Blcke unter die Befestigungen des Hinterradmotors.
Befestigen Sie eine Befestigungshalterung mit zwei Schrauben ("x3") und Sicherungsmuttern (") lose an den Rohren der rechten und linken Fuplattform. Positionieren Sie die Befestigungshalterung und die Schrauben, wie in Figure 22 abgebildet.
Note: Die rechte Befestigungshalterung muss nicht montiert werden, wenn die Maschine mit einer in der Mitte montierten Werkzeugleiste ausgerstet ist.

Für diesen Arbeitsschritt erforderliche Teile:
| Rechter Hubarm | 1 |
| Linker Hubarm | 1 |
| Lastsenbolzen | 2 |
| Splint Stift | 2 |
| Zugrohr | 1 |
| Schraube ("x1") | 4 |
| Sicherungsmutter (") | 4 |
Positionieren Sie die Hubarme so, dass das Befestigungsloch an jeder Hubarmhalterung mit den Lchern in den Befestigungshalterungen ausgefluchtet ist (Figure 23).
Befestigen Sie den rechten Hubarm mit einem Lastsenbolzen und einem Splint an der Befestigungshalterung (Figure 23).
Befestigen Sie ein Ende des Zugrohrs lose mit zwei Schrauben ("x1") und Sicherungsmuttern (") am rechten Hubarm (Figure 23).
Note: Ziehen Sie die Befestigungen noch nicht fest.
Befestigen Sie den linken Hubarm mit einem Lastsenbolzen und einem Splint an der Befestigungshalterung (Figure 23).
Befestigen Sie das andere Ende des Zugrohrs lose mit zwei Schrauben ("x1") und Sicherungsmuttern (") am linken Hubarm (Figure 23).
Note: Ziehen Sie die Befestigungen noch nicht fest.

Für diesen Arbeitsschritt erforderliche Teile:
| 102-cm-Planierschild (Sie knnen auch ein 152-cm-Planierschild kaufen und montieren). | 1 |
| Sttzplatte | 2 |
| Schraube ("x1") | 2 |
| Sicherungsmutter (") | 6 |
| Schraube ("x3") | 4 |
Note: Sie knnen auch ein 152cm groes Planierschild kaufen. Das Planierschild wird genauso wie das 102cm groe Planierschild montiert.
Befestigen Sie eine Sttzplatte an jeder inneren Befestigungsnase am Planierschild.
Note: Positionieren Sie die Sttzplatten wie in Figure 24 abgebildet.
Befestigen Sie die Hubarme vorne mit vier Schrauben ("x3") und vier Sicherungsmuttern (") lose an den Befestigungshalterungen des Planierschildes und den Sttzplatten, siehe Figure 24.
Note: Wenn Sie die oberen Befestigungslcher an den Befestigungshalterungen des Planierschildes verwenden, ist das Planierschild aggressiver (Figure 24).
Wenn das Planierschild auf einer ebenen Flche aufliegt, ziehen Sie die Befestigungen an, mit denen die Hubarme am Planierschild befestigt sind (Figure 24).
Note: Ziehen Sie die Befestigungen mit 19-24Nm an.
Ziehen Sie die Schlossschrauben und Sicherungsmuttern an, mit denen die Zugrohre an den Hubarmen befestigt sind (Figure 23).
Note: Ziehen Sie die Befestigungen mit 19-24Nm an.

Für diesen Arbeitsschritt erforderliche Teile:
| Hubarmpedal | 1 |
| Schraube ("x3") | 2 |
| Sicherungsmutter (") | 4 |
| Federhalterung | 2 |
| Schraube ("x2") | 2 |
| Verlngerungsfeder | 2 |
| Federstange | 2 |
Befestigen Sie das Hubarmpedal mit zwei Schrauben ("x3") und zwei Sicherungsmuttern (") an der Auenseite des linken Hubarms.
Note: Positionieren Sie das Pedal wie in Figure 25 abgebildet.

Nehmen Sie die untere Mutter und Schraube ab, mit denen jede Befestigungshalterung des Anbauvorrichtungsrohr an den vertikalen Rahmenrohren befestigt ist (Figure 26).
Note: Werfen Sie Mutter und Schraube weg.
Befestigen Sie eine Federhalterung in den offenen Befestigungslchern des Anbauvorrichtungsrohr mit einer Schraube ("x 2") und einer Sicherungsmutter (") an jeder Anbauvorrichtungsrohrhalterung bzw. jedem vertikalen Rahmenrohr.
Note: Positionieren Sie die Federhalterungen wie in Figure 26 abgebildet.

Ziehen Sie den Griff zurck, um das Planierschild anzuheben und in der Transportstellung zu arretieren.
Ziehen Sie die restlichen Befestigungen an.
Verbinden Sie die Verlngerungsfeder mit dem Hubarm und der Federstange.
Setzen Sie die Federstange in das Loch in der Federhalterung ein und befestigen Sie diese lose mit einer Sicherungsmutter (3/8").
Wiederholen Sie die Schritte6 und 7 an der anderen Seite der Maschine.
Montieren Sie die Hinterreifen und entfernen Sie die Blcke unter dem Heck der Maschine.
Note: Ziehen Sie die Radmuttern mit 61-75Nm an.
Die Federspannung steuert die Kraft, die aufgewendet werden muss, um das Planierschild in die Transportstellung anzuheben. Wenn die Feder zu lose ist, kann das Planierschild nur schwer in die Transportstellung angehoben werden. Bei einer zu hohen Spannung bewegt sich das Planierschild beim Einsatz zu stark.
Senken Sie das Planierschild auf den Boden ab.
Note: Wenn die Federn richtig eingestellt sind, hat die gesamte Unterkante des Planierschildes hchstens eine Bodenfreiheit von 6mm.
Drehen Sie die Stellmuttern der Feder (Figure 27) nach rechts, um das Planierschild anzuheben, drehen Sie diese nach links, um das Planierschild abzusenken.

Ziehen Sie den Griff zurck, um das Planierschild anzuheben und in der Transportstellung zu arretieren. Treten Sie das Feststellpedal durch, um das Planierschild in die Betriebsstellung zu lsen.
Sie knnen mit dem Planierschild Sand und Erde schieben oder ziehen. Wenn das Planierschild in der Einsatzstellung ist, steuern Sie das Planieren durch einfaches nach vorne oder hinten Drcken des Griffs oder ein Treten auf das Pedal.
Note: Wenn die Rder beim Planieren durchdrehen, heben Sie das Planierschild etwas an, indem Sie den Griff nach hinten ziehen. Manchmal kann der Motor berlastet werden. Lassen Sie das Fahrpedal dann etwas kommen und erhhen Sie die Motordrehzahl und -leistung.
Nehmen Sie die Stellmuttern vorsichtig ab, mit denen die Federstangen an den Federhaltungen befestigt sind.
Wenn die Federn gespannt sind, knnen sie Verletzungen verursachen.
Lassen Sie den Druck aus Maschinenteilen mit gespeicherter Energie vorsichtig ab.
Nehmen Sie die Federstangen und Federn ab.
Senken Sie das Planierschild auf den Boden ab.
Nehmen Sie die Lastsenbolzen und Splints ab, mit denen die Hubarme an den Befestigungshalterungen befestigt sind.
Heben Sie die Maschine vorne an und schieben Sie das ganze Planierschild nach vorne von der Maschine weg.