Important: Tmn kyttoppaan sislt on luettava huolellisesti ja ymmrrettv tysin, jotta koneen paras mahdollinen turvallisuus, suorituskyky ja toiminta voidaan varmistaa. Niden kyttohjeiden tai asianmukaisen koulutuksen laiminlynti saattaa aiheuttaa onnettomuuden. Listietoja turvallisista kytttavoista, mukaan lukien turvallisuusvihjeit ja koulutusmateriaaleja, on osoitteessa www.Toro.com.
Voit ottaa yhteyden Toroon suoraan osoitteessa www.Toro.com, jos tarvitset tietoja tuotteista ja lisvarusteista, lhimmst jlleenmyyjst tai jos haluat rekisterid tuotteesi.
Aina kun tarvitset huoltoa, alkuperisi Toro-varaosia tai listietoja, ota yhteys valtuutettuun huoltoliikkeeseen tai Toron asiakaspalveluun. Ota tllin tuotteesi malli- ja sarjanumerot valmiiksi esiin. Figure 1 nytt laitteen malli- ja sarjanumeron sijainnin. Kirjoita numerot annettuun tilaan.
Important: Skannaa sarjanumeron (jos varusteena) QR-koodi mobiililaitteella, niin saat tuotetietoja sek takuu- ja varaosatietoja.

Tss kyttoppaassa esiintyv varoitusmerkint (Figure 2) ilmaisee vaaratilannetta, josta saattaa olla seurauksena vakava tapaturma tai jopa kuolema, jos suositellut varotoimenpiteet laiminlydn.

Tss kyttoppaassa kytetn kahta termi tietojen korostamiseksi. Trke kiinnitt huomiota mekaanisiin erikoistietoihin ja Huomautus korostaa erityishuomion ansaitsevia yleistietoja.
![]() |
Turva- ja ohjetarrat on sijoitettu hyvin nkyville paikoille mahdollisten vaara-alueiden lhettyville. Korvaa vioittuneet tai kadonneet tarrat uusilla. |

Note: Koneen vasen ja oikea puoli mritelln normaalista kyttasennosta ksin.

Pyski kone tasaiselle alustalle.
Kytke seisontajarru.
Sammuta moottori ja irrota virta-avain.
Vaiheeseen tarvittavat osat:
| Kntkannatin | 1 |
| Lukkopultti (5/16 tuumaa) | 2 |
| Lukkomutteri (5/16tuumaa) | 5 |
| Lukituspoljin | 1 |
| Holkkilevy | 1 |
| Kuusiokantapultti (5/16tuumaa) | 3 |
| Vlikappale (5/81-1/16 tuumaa) | 1 |
| Vntjousi | 1 |
| Aluslaatta (1-1/82tuumaa) | 1 |
| Pidtinrengas | 1 |
| Aluslaatta (5/81tuumaa) | 1 |
| Lukkomutteri (5/8tuumaa) | 1 |
| Lukkomutteri (1/4tuumaa) | 2 |
| Napakokoonpano | 1 |
| Pultti (2-tuumaa) | 1 |
| Aluslaatta (9/32tuumaa) | 1 |


Kiinnit kntkannatin jalkatukeen kahdella lukkopultilla (5/16tuumaa) ja kahdella lukkomutterilla (5/16tuumaa) kuvan mukaisesti (Figure 5).

Kyt kntkannatinta mallina ja poraa kolme reik (8mm eli 5/16tuumaa) jalkatuen laippaan (Figure 6).

Irrota kntkannatin, kaksi lukkopulttia (5/16tuumaa) ja kaksi lukkomutteria (5/16tuumaa) koneesta (Figure 7).

Poista mahdolliset jysteet kolmesta reist, jotka porattiin vaiheessa 2.
Kohdista jalkatuen laipan sispuolella kntkannattimen kolme reik laipan kolmeen reikn (Figure 8).

Kiinnit kntkannatin jalkatukeen (Figure 9) kolmella kuusiokantapultilla (5/16tuumaa) ja kolmella lukkomutterilla (5/16tuumaa).

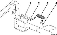
Kiinnit vlikappale (5/81-1/16tuumaa) lukituspolkimen tapin yli (Figure 10).

Kohdista lukituspoljin vasemmanpuoleiseen jalkatukeen ja kntkannattimen reikiin (Figure 11).

Kiinnit holkkilevy kntkannattimen ja jalkatuen laippaan (Figure 12) kahdella lukkopultilla (5/16tuumaa) ja kahdella lukkomutterilla (5/16tuumaa).

Kirist lukkomutterit momenttiin 71–92Ncm.
Liu’uta vntjousi holkkilevyyn: kiinnit jousen toinen p lukituspolkimen pieneen tappiin ja paina toista pt lattialevy vasten (Figure 13).
Note: Aseta jousi holkkilevyyn kuvan mukaisesti.

Kiinnit vntjousi pienempn tappiin lukkomutterilla (1/4tuumaa). Katso Figure 13.
Kiinnit vntjousi holkkilevyyn littell aluslaatalla (1-2tuumaa) ja pidtinrenkaalla (Figure 14).

Kiinnit lukituspoljin jalkatukeen ja holkkilevyyn littell aluslaatalla (1tuumaa) ja lukkomutterilla (tuumaa). Katso Figure 15.
Note: l kirist mutteria liikaa: lukituspolkimen on painettaessa knnyttv vapaasti.



Kiinnit napakokoonpano vasemmanpuoleiseen jalkatukeen kahdella pultilla (5/16tuumaa) ja kahdella lukkomutterilla (5/16tuumaa).

Kiinnit napakokoonpanon alaosa koneen runkoon pultilla (2-tuumaa), aluslaatalla (tuumaa) ja lukkomutterilla (tuumaa) kuvan mukaisesti (Figure 17).
Kirist lukkomutterit momenttiin 71–92Ncm.
Kohdista lukituspoljin vasemmanpuoleiseen jalkatukeen ja napakokoonpanon reikiin (Figure 18).

Tynn lukituspolkimen tappi vasemmassa jalkatuessa olevan aukon ja napakokoonpanon lpi (Figure 18).
Liu’uta vntjousi napakokoonpanoon: kiinnit jousen toinen p lukituspolkimen pieneen tappiin ja paina toista pt lattialevy vasten (Figure 19).
Note: Aseta jousi napakokoonpanoon kuvan mukaisesti (Figure 19).


Kiinnit vntjousi pienempn tappiin lukkomutterilla (1/4tuumaa). Katso Figure 19.
Kiinnit vntjousi holkkilevyyn littell aluslaatalla (1-2tuumaa) ja pidtinrenkaalla (Figure 20).

Kiinnit lukituspoljin jalkatukeen ja napakokoonpanoon littell aluslaatalla (1tuumaa) ja lukkomutterilla (tuumaa). Katso Figure 21.
Note: l kirist mutteria liikaa: lukituspolkimen on painettaessa knnyttv vapaasti.

Hvit osat, jotka eivt ole vlttmttmi koneellesi.
Vaiheeseen tarvittavat osat:
| Asennuskannakekokoonpano | 2 |
| Pultti (1/2 3-1/2tuumaa) | 4 |
| Lukkomutteri (tuumaa) | 4 |
Note: Varmista, ett etu- ja takarenkaiden rengaspaine on 0,28–0,41bar.
Nosta koneen takaosa tukien varaan ja irrota takarenkaat.
Note: Sijoita tuet takapyrien moottorin pidinten alle.
Kiinnit asennuskannake lyssti oikean- ja vasemmanpuoleisiin jalkatuen putkiin kahdella pultilla (1/2 3-1/2tuumaa) ja lukkomutterilla (1/2tuumaa). Aseta asennuskannakkeet ja pultit kuvan mukaisesti (Figure 22).
Note: Oikeanpuoleista asennuskannaketta ei tarvitse asentaa, jos koneessa on keskiasennettava tykaluvarsi.

Vaiheeseen tarvittavat osat:
| Oikea nostovarsi | 1 |
| Vasen nostovarsi | 1 |
| Liitintappi | 2 |
| Neulasokka | 2 |
| Torsioputki | 1 |
| Pultti (3/8 1tuumaa) | 4 |
| Lukkomutteri (3/8tuumaa) | 4 |
Aseta nostovarret siten, ett jokaisen nostovarren kannakkeen kiinnitysreik kohdistuu asennuskannakkeissa oleviin reikiin (Figure 23).
Kiinnit oikeanpuoleinen nostovarsi asennuskannakkeeseen liitintapilla ja neulasokalla (Figure 23).
Kiinnit torsioputken ensimminen p lyssti oikeanpuoleiseen nostovarteen kahdella pultilla (3/81tuumaa) ja lukkomutterilla (3/8tuumaa). Katso Figure 23.
Note: l kirist kiinnikkeit tss vaiheessa.
Kiinnit vasemmanpuoleinen nostovarsi asennuskannakkeeseen liitintapilla ja neulasokalla (Figure 23).
Kiinnit torsioputken toinen p lyssti vasemmanpuoleiseen nostovarteen kahdella pultilla (3/81tuumaa) ja lukkomutterilla (3/8tuumaa). Katso Figure 23.
Note: l kirist kiinnikkeit tss vaiheessa.

Vaiheeseen tarvittavat osat:
| 40 tuuman puskulevy (vaihtoehtoisesti voidaan kytt erikseen hankittavaa 60 tuuman puskulevy) | 1 |
| Kannatinlevy | 2 |
| Pultti (3/8 1tuumaa) | 2 |
| Lukkomutteri (3/8tuumaa) | 6 |
| Pultti (3/8 3tuumaa) | 4 |
Note: Vaihtoehtoisesti voidaan kytt erikseen hankittavaa 152cm:n puskulevy. Se asennetaan samalla tavalla kuin tss osassa kuvattu 102cm:n puskulevy.
Kiinnit kannatinlevy lyssti jokaiseen puskulevykokoonpanon sisempn kiinnityskielekkeeseen.
Note: Aseta kannatinlevyt kuvan mukaisesti (Figure 24).
Kiinnit nostovarsien etuosa lyssti puskulevyn asennuskannakkeisiin ja kannatinlevyihin neljll pultilla (3/83tuumaa) ja neljll lukkomutterilla (3/8tuumaa). Katso Figure 24.
Note: Puskulevy toimii tehokkaammin, jos kytetn puskulevyn asennuskannakkeen ylempi kiinnitysreiki (Figure 24).
Aseta puskulevy tasaista alustaa vasten ja kirist nostovarsien ja puskulevyn vliset kiinnikkeet (Figure 24).
Note: Kirist kiinnikkeet momenttiin 19–24Nm.
Kirist pultit ja lukkomutterit, joilla torsioputkien pt ovat kiinni nostovarsissa (Figure 23).
Note: Kirist kiinnikkeet momenttiin 19–24Nm.

Vaiheeseen tarvittavat osat:
| Nostovarren poljin | 1 |
| Pultti (3/8 3tuumaa) | 2 |
| Lukkomutteri (tuumaa) | 4 |
| Jousikannatin | 2 |
| Pultti (3/8 2-3/4 tuumaa) | 2 |
| Vetojousi | 2 |
| Tanko | 2 |
Kiinnit nostovarren poljin vasemmanpuoleisen nostovarren ulkopuolelle kahdella pultilla (3/83tuumaa) ja kahdella lukkomutterilla (3/8tuumaa).
Note: Aseta poljin kuvan mukaisesti (Figure 25).

Irrota alempi mutteri ja pultti, joilla jokainen vetokoukun putken asennuskannake on kiinnitetty rungon pystyputkiin (Figure 26).
Note: Hvit pultti ja mutteri.
Asenna jokaiseen vetokoukun putken kannakkeeseen / rungon pystyputkeen jousikannatin pultilla (3/82-3/4tuumaa) ja lukkomutterilla (3/8tuumaa) kyttmll avoimia vetokoukun putken kiinnitysreiki.
Note: Aseta jousikannattimet kuvan mukaisesti (Figure 26).

Nosta puskulevy ja lukitse se kuljetusasentoon vetmll kahvasta..
Kirist jljell olevat kiinnittimet.
Kiinnit vetojousi nostovarteen ja tankoon.
Tynn tanko jousikannattimen reikn ja kiinnit se lyssti lukkomutterilla (3/8tuumaa).
Toista vaiheet 6 ja 7 koneen toisella puolella.
Asenna takarenkaat ja poista tuet koneen takaosan alta.
Note: Kirist pyrnmutterit momenttiin 61–75Nm.
Jousen st vaikuttaa siihen, kuinka paljon voimaa tarvitaan puskulevyn nostamiseksi kuljetusasentoon. Jos jousi on liian lysll, puskulevyn nostaminen kuljetusasentoon on vaikeaa. Jos jousi on kuitenkin liian kirell, puskulevy kelluu liikaa kytn aikana.
Laske puskulevy maahan.
Note: Kun jouset on sdetty oikein, puskulevyn koko alareuna on enintn 6mm:n korkeudella maasta.
Kierr jousen stmuttereita (Figure 27) mytpivn, kun haluat nostaa puskulevy, ja vastapivn, kun haluat laskea puskulevy.

Nosta puskulevy ja lukitse se kuljetusasentoon vetmll kahvasta. Vapauta puskulevy kyttasentoon painamalla lukituspoljinta.
Puskulevyn avulla voidaan siirt hiekkaa ja maata eteen- tai taaksepin. Aseta puskulevy kyttasentoon ja sd puskutoimintoa tyntmll tai vetmll kahvaa kevyesti tai painamalla nostovarren poljinta.
Note: Jos pyrt pyrivt tyhj, nosta puskulevy hiukan vetmll kahvasta. Moottori voi ajoittain ylikuormittua. Jos nin tapahtuu, vapauta ajopoljinta varovasti, jotta moottorin kierrosnopeus ja teho psevt nousemaan.
Irrota varovasti stmutterit, joilla tangot on kiinnitetty jousikannattimiin.
Jos jouset ovat kirell, ne saattavat aiheuttaa henkilvahingon.
Vapauta paine huolellisesti osista, joihin on varastoitunut energiaa.
Irrota tangot ja jouset.
Laske puskulevy maahan.
Irrota neulasokat ja liitintapit, joilla nostovarret on kiinnitetty asennuskannakkeisiin.
Nosta koneen etuosaa ja liu’uta koko puskulevykokoonpano eteenpin ja irti koneesta.