维护
Note: 请根据正常操作位置来判定机器的左侧和右侧。
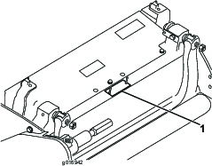
支撑滚刀组
当您需要翻转滚刀组以露出底刀/滚刀时,应支撑住滚刀组的后部,确保底刀架调节螺丝后端的螺母不会接触工作表面(图8)。

调节底刀与滚刀的接触
每天调节底刀
在每天剪草之前或在需要时,确认底刀与滚刀已正确接触。即使剪草质量可以接受,也需要执行此步骤。
-
将滚刀组降低放到坚硬的表面上,停止发动机,然后拔下点火钥匙。
-
缓慢地反向旋转滚刀,听一下滚刀与底刀的接触情况。
-
如果明显没有接触,请按照如下方式调节底刀
-
如果明显过渡接触/感受到滚刀阻力过大,则要倒磨、重磨底刀前面,或者研磨滚刀组,确保精确剪草所需的锋利刀刃(请参阅 “Toro 滚刀和旋刀剪草机磨刀手册”,手册号为 09168SL)。
Important: 最好始终保持轻微接触。如果无法保持轻微接触,底刀/滚刀刀刃就无法充分自锋利,操作一段时间后将导致刀刃变钝。如果保持过度接触,底刀/滚刀的磨损就会加快,导致磨损不均匀,且剪草质量可能会下降。
Note: 由于滚刀刀刃持续与底刀摩擦,因此整个底刀的前刀刃表面上会出现轻微的毛边。偶尔使用锉刀磨一下前刀刃,消除这种毛边,从而提高剪草质量。长期使用后,底刀两端最终都会出现隆起现象。打磨掉或锉掉这些凹口,使其与底刀刀刃平齐,以确保操作顺畅。
-
调节底刀与滚刀
在初次滚刀组设置和研磨 、倒磨或拆卸滚刀之后使用此程序。这并非是日常调节。
-
将滚刀组放在平整、水平的工作表面上。
-
翻转滚刀组,露出底刀和滚刀。
Note: 确保底刀架调节螺丝后端上的螺母不与工作表面接触(图8)。
-
旋转滚刀,使一片刀片经过滚刀组右侧第一个与第二个底刀螺丝之间的底刀刀刃。
-
在与底刀刀刃交叉处的刀片上设置一个识别标记。
Note: 这可使随后的调节更加容易。
-
在刀片与底刀刀刃之间步骤4中标记的点,插入 0.05mm(0.002 英寸)的薄垫片。
-
向右转动底刀架调节螺丝(图9),通过左右滑动薄垫片,直至感到薄垫片上存在轻微的压力。取出薄垫片。
-
在滚刀组的左侧,缓慢旋转滚刀,使最近的刀片经过第一个与第二个螺丝头之间的底刀刀刃。
-
对滚刀组左侧和左底刀架调节螺丝重复步骤4至6。
-
重复步骤5和6,直至滚刀组左右两侧的接触点存在轻微的压力。
-
要想使滚刀与底刀保持轻微接触,应将每个底刀架调节螺丝都顺时针旋转 3 格。
Note: 底刀架调节螺丝每旋转一格,底刀会移动 0.018mm(0.0007 英寸)。不要将调节螺丝拧得太紧。顺时针旋转调节螺丝,使底刀刀刃更靠近滚刀。逆时针旋转调节螺丝,使底刀刀刃远离滚刀。
-
在滚刀与底刀之间插入一长条剪切性能纸(Toro 零件号 125-5610),纸要与底刀垂直(图10),然后缓慢向前旋转滚刀;此操作应能切断性能纸;如果不能,将每个底刀架调节螺丝都顺时针旋转 1 格,直至切断为止。

Note: 如果明显过度接触/感受到滚刀阻力过大,则要倒磨、重磨底刀前面,或者研磨滚刀组,确保精确剪草所需的锋利刀刃(请参阅 “Toro 滚刀和旋刀剪草机磨刀手册”,手册号为 09168SL)。
调节后滚筒高度
调节剪草高度
使用下图确定最适合所需剪草高度的底刀。
| 底刀 | 零件号 | 剪草高度 |
| EdgeMax 微剪(标配) | 115-1880 | 1.5~4.7mm |
| Edgemax 比赛(选件) | 115-1881 | 3.1~12.7mm |
| 微剪(选件) | 93-4262 | 1.5~4.7mm |
| 比赛(选件) | 93-4263 | 3.1~12.7mm |
| 微剪延伸(选件) | 108-4303 | 1.5~4.7mm |
| 比赛延伸(选件) | 108-4302 | 3.1~12.7mm |
| 低剪(选件) | 93-4264 | 4.7~25.4mm |
| 高剪(选件) | 94-6392 | 7.9~25.4mm |
| 球道(选件) | 63-8600 | 9.5~25.4mm |
| 球道 EdgeMax(选件) | 112–7475 | 9.5~25.4mm |
Note: 如果剪草高度超过 9.5mm,请安装高剪套件。
调节剪草高度调刀尺
调节剪草高度之前,请按照如下所示调节剪草高度调刀尺:
-
松开调刀尺上的螺母,并将调节螺丝设定为所需的剪草高度(图13)。
Note: 螺丝头底部与调刀尺表面之间的距离就是剪草高度。

-
拧紧螺母。
调整切距设置
滚刀组上有六种切距设置,您可以根据草坪状况做出选择。根据剪草高度设置切距,但之后应测试滚刀组并调整切距,以获得您想要的剪草质量。
-
按以下方式关闭机器:
-
汽油机型: 关闭发动机并断开火花塞电线的连接。
-
电动机型: 关闭机器并断开电池接头的连接(T 型手柄)。
-
-
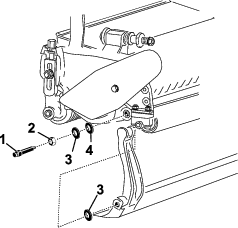
松开固定皮带罩的凸缘螺栓,取下皮带罩露出皮带(图16)。

-
松开轴承座螺母(图17)。

-
使用 16mm(⅝ 英寸)扳手,旋转轴承座,确保其可以自由操作。
-
拆下皮带 (图17)。
-
使用 图18 上的标贴中所示的图表,确定您需要的切距设置及您需要移动的皮带轮。
Note: 每个皮带轮都有编号(分别是 22、24 和 25 号)。将皮带轮移动到图中所示的位置,完成切距设置。

-
使用六角扳手,松开您需要移动的每个皮带轮上的两个固定螺丝。
-
拆下每个皮带轮。
-
按标贴 (图18) 中所示的新配置安装每个皮带轮。
Note: 确保每个皮带轮上的固定螺丝与轴上的键及平面部位对齐。
-
上紧固定螺丝扭矩至 8.3~8.9N·m。
-
安装皮带。
-
确保压缩弹簧对皮带 (图17) 施加张紧力。
-
旋紧轴承座螺母。
-
安装皮带罩。
调整出草挡板
调整出草挡板,确保草屑完全从滚刀区排出,操作方法如下:
Note: 挡板可以调整,以补偿草坪状况的变动。草坪异常干燥时,将挡板调整至更靠近滚刀。相反,当草坪状况较湿时,挡板应进一步远离滚刀。挡板应与滚刀平行,确保实现最佳性能。在滚刀磨床上磨刀之后要调节挡板。
-
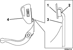
松开将顶部挡板 (图19) 紧固到滚刀组的螺丝。

-
将 1.5mm 的塞尺插入滚刀顶部与挡板之间,并旋紧螺丝。
Important: 确保挡板和滚刀在整个滚刀组中保持等距。
Note: 根据草坪条件,调节所需的间矩。
维护底刀架
只有受过正确培训的机械师才可以维修底刀架和底刀,以防止损坏滚刀、底刀架或底刀。理想情况下,应携带滚刀组到您的 Toro 授权经销商处进行维修。请参阅您的主机维修手册,了解有关维修底刀的完整说明、专用工具及图纸。如果您需要自行拆卸或组装底刀架,请使用以下提供的说明,此规范同样适用于维修底刀。
Important: 当维修底刀时,请始终遵循您的维修手册中详细描述的底刀程序。未能正确安装和研磨底刀,可能导致损坏滚刀、底刀架或底刀。
拆除底刀架
组装底刀架
-
安装底刀架,将安装吊耳固定在垫圈与底刀架调节螺丝之间(图20)。
-
使用底刀架螺栓(螺栓上带螺母)和 3 个垫圈(共 6 个)将底刀架固定在两个侧板上。
-
将尼龙垫圈放在侧板凸起的一侧。在两个尼龙垫圈的外侧各放一个钢垫圈(图22)。
-
上紧底刀架螺栓扭矩至 27~36N·m。
-
拧紧锁紧螺母,直至钢垫圈停止旋转,但却能够用手旋转。内侧的垫圈可能有空隙。
Important: 切勿过度旋紧锁紧螺母,否则会导致侧板变形。
-
旋紧弹簧加压螺母,直到弹簧完全压紧,然后往回松开 1/2 圈(图23)。

-
调节底刀与滚刀,请参阅 调节底刀与滚刀的接触。
底刀规格
底刀安装
-
使用刮刀清除底刀架表面的所有铁锈、水垢和腐蚀物。
-
在底刀架表面涂一层薄油,然后再安装底刀。
-
确保所有底刀架螺丝螺纹都是干净的。
-
安装新螺丝 (5/16–18UNC–2A),将底刀固定到底刀架,但切勿将螺丝拧紧。将防粘剂涂抹到螺丝的螺纹上。
Important: 切勿将防粘剂涂抹到螺丝头的锥体上。
-
使用扭矩扳手和底刀螺丝工具 (TOR510880),上紧 2 个外部螺丝扭矩至 1N∙m。
-
按照图24 中的顺序,依次上紧螺丝扭矩至 25.4N∙m。

-
安装后研磨底刀。
准备滚刀进行研磨
-
确保所有滚刀组组件都处于良好状况,并在研磨之前纠正任何问题。
-
按照滚刀研磨机制造商的说明,将滚刀研磨至以下规格。
滚刀研磨规格 新滚刀直径 128.5mm 滚刀直径维修限值 114.3mm 刀片铲磨角度 30° ± 5° 刀片棱面宽度 1.0mm 刀片棱面宽度范围 0.8~1.2mm 滚刀直径锥体维修限值 0.25mm
铲磨滚刀
新滚刀的棱面宽度为 1.3~1.5mm,铲磨角度为 30°。
当棱面宽度大于 3mm 时,请执行以下步骤:
-
对所有滚刀棱面进行 30° 铲磨,直至棱面宽度达到 1.3mm(图25)。

-
旋转打磨滚刀直至达到 <0.025mm 滚刀跳动。
Note: 这可能导致棱面宽度轻微增加。
-
调节滚刀组;请参阅滚刀组《操作员手册》。
Note: 为了使滚刀和底刀刀刃的锋利更加持久——打磨滚刀和/或底刀之后——在修剪 2 个球道后应再次检查滚刀到底刀的接触,因为任何毛刺都要去除,毛刺可能导致滚刀与底刀之间产生不当的空隙,从而加速磨损。
底刀研磨规格

| 标准底刀后角 | 最小 3° |
| 延长底刀后角 | 最小 7° |
| 前角范围 | 13~17° |
倒磨滚刀组
危险
接触滚刀或其他活动件可能造成人身伤害。
确保手指、双手和衣服远离滚刀或其他活动件。
-
倒磨时远离滚刀。
-
倒磨时切勿使用短柄油漆刷。可以从您当地的 Toro 授权经销商处购买零件编号为 29-9100 的手柄组件总成或单个零件。
-
将机器停放在干净的水平地面上,降低滚刀组,关闭发动机,刹好手刹,然后拔下点火钥匙。
-
将滚刀马达从滚刀组中拆下,然后从提升臂上拆开并取下滚刀组。
-
将一件 9.5mm 方形连接杆插入滚刀组末端的花键联轴器,将倒磨机连接至滚刀组。
Note: 有关倒磨的其他说明和程序,请参阅您的主机操作员手册和 Toro 滚刀和旋刀剪草机磨刀手册,手册号为 80-300PT。
Note: 为了获得状态更好的刀刃,可以在完成倒磨操作时用锉刀打磨底刀和滚刀的前面。这将去除刀刃上可能累积的任何毛刺或粗糙边缘。



















