Vedlikehold
Note: Angi hva som er høyre og venstre side på maskinen ved å stå i normal arbeidsstilling.
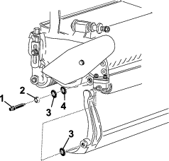
Støtte klippeenheten
Når klippeenheten må tippes på siden for at du skal komme til motstål/spole, vipper du opp baksiden av klippeenheten for å sikre at mutterne bak på enden av justeringsskruene til motstangen ikke hviler på arbeidsoverflaten (Figur 8).

Justere kontakten mellom motstålet og spolen
Justere motstålet daglig
Før daglig klipping, eller eventuelt så ofte som du synes at det er nødvendig, kontroller at det er skikkelig kontakt mellom motstålet og spolen. Utfør denne prosedyren selv om klippingen er av tilfredsstillende kvalitet.
-
Senk klippeenhetene på en hard flate, slå av maskinen og fjern nøkkelen fra tenningen.
-
Drei spolen sakte i motsatt retning, mens du lytter for å sjekke om det er kontakt mellom spolen og motstålet.
-
Hvis du ikke ser noe som tyder på kontakt, juster motstålet på følgende måte
-
Skru justeringsskruene til motstålet med klokken (Figur 9), ett hakk om gangen, til du merker og hører at det er lett kontakt.
Note: Justeringsskruene til motstålet har sperrer som tilsvarer 0,018 mm motstålsbevegelse for hver indikatorposisjon.

-
Skyv inn en lang remse med testpapir (Toro-delenr. 125-5610) mellom spolen og motstålet, loddrett til motstålet (Figur 10). Drei spolen sakte fremover, slik at den klipper papiret. Hvis dette ikke skjer, gjenta trinnene 1 og 2 til den gjør det.
-
-
Hvis det er for stor kontakt/spolemotstand, må du slipe, slipe om fremsiden av motstålet eller slipe klippeenheten for å få de skarpe kantene som kreves for å klippe presist (se Toros håndbok for sliping av spole- og rotasjonsgressklippere, skjemanr. 09168SL).
Important: Lett kontakt foretrekkes alltid. Hvis lett kontakt ikke forekommer, vil ikke motstålet og spolens egger være selvslipende, noe som fører til at kniveggene blir sløve etter bruk. Hvis det er for stor kontakt, slites motstål og spole raskere og kanskje ujevnt. Dette kan ha en uheldig innvirkning på klippekvaliteten.
Note: Når spoleknivene fortsetter å skure mot motstålet, vil det komme fram en ru kant foran på kniveggens flate som er like lang som motstålet. Hvis du av og til bruker en fil til å pusse på tvers av den fremre kniven for å fjerne denne kanten, forbedres klippingen.Etter omfattende bruk utvikles det til slutt en ru kant på begge sider av motstålet. Avrund eller fil ned disse hakkene slik at de jevnes ut med motstålets knivegg, for å sørge for jevn bruk.
-
Justere motstålet til spolen
Bruk denne prosedyren under første innstilling av klippeenhet og etter sliping eller demontering av spole. Dette er ikke en daglig justering.
-
Sett klippeenheten på en jevn, plan arbeidsoverflate.
-
Tipp klippeenheten slik at motstålet og spolen vises.
Note: Pass på at mutterne på baksiden av justeringsskruene for motstangen ikke hviler på arbeidsoverflaten (Figur 8).
-
Drei spolen slik at ett av knivbladene krysser kanten på motstålet mellom det første og andre skruehodet til motstålet på høyre side av klippeenheten.
-
Lag et identifiseringsmerke på kniven der den krysser kanten til motstålet.
Note: Dette vil gjøre senere justeringer enklere.
-
Sett inn et mellomlegg på 0,05 mm mellom knivbladet og kanten på motstålet i punktet du merket i trinn 4.
-
Juster høyre justeringsskrue på motstangen (Figur 9) til du kjenner et lett press på mellomlegget når du beveger det fra side til side. Fjern mellomlegget.
-
På venstre side av klippeenheten dreier du spolen sakte slik at det nærmeste knivbladet krysser kanten på motstålet mellom det første og andre skruehodet.
-
Gjenta trinn 4 til 6 for venstre side av klippeenheten og den venstre justeringsskruen på motstangen.
-
Gjenta trinn 5 og 6 til du får et lett trykk på kontaktpunktene på både venstre og høyre side av klippeenheten.
-
Du oppnår lett kontakt mellom spolen og motstålet ved å skru hver av justeringsskruene på motstangen tre klikk med klokken.
Note: Hvert klikk på justeringsskruen på motstangen flytter motstålet 0,018 mm. Ikke stram justeringsskruene for mye.Å dreie justeringsskruen med klokken beveger kanten på motstålet nærmere spolen. Å dreie justeringsskruen mot klokken beveger kanten på motstålet bort fra spolen.
-
Skyv inn en lang remse med testpapir (Toro-delenr. 125-5610) mellom spolen og motstålet, loddrett til motstålet (Figur 10). Drei spolen sakte fremover, slik at den klipper papiret. Hvis dette ikke skjer, skrur du hver av justeringsskruene på motstangen ett hakk med klokken og gjentar dette trinnet til den klipper papiret.

Note: Hvis det er for stor kontakt/spolemotstand, må du slipe, slipe om fremsiden av motstålet eller slipe klippeenheten for å få de skarpe kantene som kreves for å klippe presist (se Toros håndbok for sliping av spole- og rotasjonsgressklippere, skjemanr. 09168SL).
Justere høyden på den bakre valsen
Avhengig av ønsket høyde på klippeområdet må du justere de bakre valsebrakettene (Figur 11 eller Figur 12) til lav eller høy posisjon:
-
Plasser avstandsstykket over sideplatens monteringsflens (fabrikkinnstilling) når innstillingen for klippehøyde varierer mellom 1,5–6 mm, som vist i Figur 11.

-
Plasser avstandsstykket under sideplatens monteringsflens når innstillingen av klippehøyden varierer fra 3 mm til 25 mm, som vist i Figur 12.

-
Hev den bakre delen av klippeenheten og plasser en blokk under motstålet.
-
Fjern de to mutterne som fester valsebrakettene og avstandsstykkene til hver enkelt av sideplatenes monteringsflenser.
-
Senk valsen og skruene fra sideplatenes monteringsflenser og avstandsstykker.
-
Plasser avstandsstykkene på skruene over eller under valsebrakettene, som påkrevd (Figur 11 eller Figur 12).
-
Fest valsebraketten og avstandsstykkene på undersiden av sideplatens monteringsflenser med mutrene du fjernet tidligere.
Note: Plasseringen av den bakre valsen til spolen kontrolleres av maskineringstoleransen av de monterte komponentene, og parallellering er ikke nødvendig.
Justere klippehøyden
Bruk følgende skjema for å avgjøre hvilken motvekt som passer best til den ønskede klippehøyden.
| Motstål | Delenr. | Klippehøyde |
| Edgemax Micro-cut (standard) | 115-1880 | 1,5 til 4,7 mm |
| Edgemax Tournament (valgfri) | 115-1881 | 3,1 til 12,7 mm |
| Finklipping (valgfritt) | 93-4262 | 1,5 til 4,7 mm |
| Tournament (valgfri) | 93-4263 | 3,1 til 12,7 mm |
| Forlenget finklipping (valgfritt) | 108-4303 | 1,5 til 4,7 mm |
| Forlenget Tournament (valgfri) | 108-4302 | 3,1 til 12,7 mm |
| Kort klipping (valgfritt) | 93-4264 | 4,7 til 25,4 mm |
| Høy klipping (valgfritt) | 94-6392 | 7,9 til 25,4 mm |
| Fairway (valgfri) | 63-8600 | 9,5 til 25,4 mm |
| Fairway EdgeMax (ekstrautstyr) | 112–7475 | 9,5 til 25,4 mm |
Note: For klippehøyder som er over 9,5 mm, må sett for høy klippehøyde monteres.
Justere klippehøydemåleren
Før du justerer klippehøyden, still inn klippehøydemåleren på følgende måte:
-
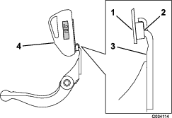
Løsne mutteren på høydemåleren og fest justeringsskruen i ønsket klippehøyde (Figur 13).
Note: Klippehøyden er avstanden mellom bunnen av skruehodet og forsiden av stangen.

-
Trekk til mutteren.
Justere klippehøyden
-
Løsne låsemutrene som fester klippehøydearmene til klippeenhetens sideplater (Figur 14).

-
Hekt skruehodet på klippehøydemåleren på høyre side av motstålets knivegg, og la den bakre delen av stangen hvile mot den bakre delen av valsen (Figur 15).

-
Vri på justeringsskruen helt til valsen kommer i kontakt med fronten av målestangen.
-
Gjenta trinn 2 og 3 for venstre side.
-
Juster begge ender av valsen slik at hele valsen er parallell med motstålet.
Important: Når klippehøyden er riktig justert, kommer de bakre og fremre valsene i kontakt med målestangen og skruen ligger tett inntil motstålet. Dette resulterer i at klippehøyden er lik i begge ender av motstålet.
-
Trekk til mutrene for å feste justeringen nok til å fjerne bevegelse i skiven.
-
Kontroller at innstilling av klippehøyde er korrekt. Gjenta prosedyren om nødvendig.
Justere klippeinnstillingen
Det er seks klippeinnstillinger på klippeenheten som du kan stille inn etter gressforholdene. Start med å sette klippeinnstillingen til å matche klippehøyden, men test deretter klippeenheten og juster klippeinnstillingen for å oppnå ønsket klippekvalitet.
-
Slå av maskinen på følgende måte:
-
Gassenheter: Stopp motoren, og koble fra tennpluggledningen.
-
Elektriske enheter: Slå av maskinen, og koble fra batterikoblingen (T-håndtak).
-
-
Løsne flensboltene som fester remdekslet, og fjern remdekslet for å eksponere remmen (Figur 16).

-
Løsne mutteren på lagerhuset (Figur 17).

-
Bruk en 16 mm skrunøkkel til å rotere lagerhuset for å påse at det beveger seg fritt.
-
Fjern remmen (Figur 17).
-
Bruk skjemaet som er vist i på merket i Figur 18, og finn ut hvilken klippeinnstilling du ønsker og hvilke remskiver du må flytte.
Note: Hver remskive er nummerert (22, 24 og 25). Flytt remskivene til plasseringene som er angitt for klippeinnstillingen din i skjemaet.

-
Løsne de to settskruene på hver remskive du må flytte, ved hjelp av en sekskantet skrunøkkel.
-
Fjern hver remskive.
-
Monter hver remskive i den nye konfigurasjonen som angitt på merket (Figur 18).
Note: Pass på at settskruene på hver remskive er plassert på linje med nøkkelen og det flate området på akselen.
-
Stram settskruene til med et moment på 8,3 til 8,9 Nm.
-
Monter remmen.
-
Pass på at kompresjonsfjæren påfører spenning på remmen (Figur 17).
-
Trekk til lagerhusmutteren.
-
Monter remdekslet.
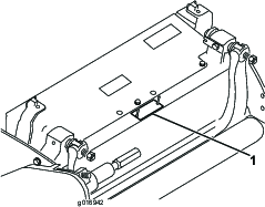
Justere klippestangen
Juster klippestangen slik at spoleområdet er helt fritt for gressrester, slik:
Note: Stangen er justerbar for å kompensere for endringer i gressforholdene. Du må justere stangen nærmere spolen når gresset er veldig tørt. Når gressforholdene er våte, justerer du derimot stangen lenger bort fra spolen. Stangen må være paralell med spolen for å sikre optimal ytelse. Juster den etter at spolen slipes med et slipeapparat.
-
Løsne skruene som fester den øverste stangen (Figur 19) til klippeenheten.

-
Sett inn et følerblad på 1,5 mm mellom toppen av spolen og stangen, og trekk til skruene.
Important: Sørg for at stangen og spolen har lik avstand til hverandre på tvers av hele spolen.
Note: Juster åpning etter behov i forhold til gressforholdene.
Vedlikeholde motstangen
Bare en mekaniker med opplæring skal utføre service på motstangen og motstålet for å unngå skade på spolen, motstangen og motstålet. Ideelt sett bør klippeenheten leveres inn til en autorisert Toro-distributør for service. Se servicehåndboken til trekkenheten for fullstendige instruksjoner, spesialverktøy og diagrammer for service på motstålet. Hvis du noen gang må fjerne eller montere motstangen selv, se instruksjoner nedenfor samt spesifikasjoner for vedlikehold av motstålet.
Important: Følg alltid prosedyrene for motstålet som er beskrevet i servicehåndboken når du vedlikeholder motstålet. Hvis du ikke monterer og sliper motstålet korrekt, kan det føre til skade på spole, motstang og motstål.
Fjerne motstangen
-
Skru justeringsskruen til motstangen mot klokken, til motstålet bakside, vekk fra spolen (Figur 20).

-
Skru ut fjærspenningsmutteren til skiven ikke lenger er strammet mot motstangen (Figur 20).
-
Løsne låsemutteren som fester motstangsbolten på begge sider av maskinen (Figur 21).

-
Fjern begge motstangsboltene slik at motstangen kan dras nedover og fjernes fra klippeenheten (Figur 21).
Husk å ta de to nylonskivene og skiven av stål på hver side av motstangen med i beregningen (Figur 22).

Montere motstangen
-
Når du skal montere motstangen, må du plassere monteringsfestene mellom skivene og motstangsjusteringsskruen (Figur 20).
-
Fest motstangen på hver sideplate ved hjelp av motstangsboltene (mutrene på boltene) og tre skiver (seks totalt).
-
Plasser en nylonskive på hver side av sideplatens nav. Plasser en stålskive på utsiden av hver nylonskive (Figur 22).
-
Trekk motstangsboltene til med et moment på 27 til 36 N∙m.
-
Stram låsemutterne til du har fjernet dødgangen i stålskivene, men påse at du kan rotere dem for hånd. Skivene på innsiden kan ha et mellomrom.
Important: kke stram låsemutterne for mye, da dette vil føre til at sideplatene bøyer av.
-
Stram fjærspenningsmutteren til fjæren bryter sammen. Skru deretter ut 1/2 gang (Figur 23).

-
Juster motstålet til spolen. Se Justere kontakten mellom motstålet og spolen.
Spesifikasjoner for motstål
Montering av motstål
-
Bruk en skrape til å fjerne rust, avskalling og korrosjon fra motstangens overflate.
-
Smør motstangen med olje før du monterer motstålet.
-
Påse at alle skrugjenger på motstangen er rene.
-
Sett i, men ikke stram de nye skruene (5/16–18UNC–2A) for å feste motstålet til motstangen. Påfør Anti-Seize-middel på gjengene på skruene.
Important: Ikke påfør Anti-Seize-middel på skruehodenes sider.
-
Bruk en momentnøkkel og skruverktøyet for motstålet (TOR510880) til å trekke til de to ytre skruene med et moment på 1 Nm.
-
Følg rekkefølgen i Figur 24 og stram skruene til 25,4 Nm.

-
Slip motstålet etter montering.
Gjøre spolen klar for sliping
-
Påse at alle klippeenhetens komponenter er i god stand, og korriger eventuelle problemer før sliping.
-
Følg spolesliperprodusentens instruksjoner og slip klippespolen iht. følgende spesifikasjoner.
Spolens slipespesifikasjoner Ny spolediameter 128,5 mm Vedlikeholdsgrense for spolediameter 114,3 mm Knivavlastningsvinkel 30° ± 5° Knivkuttebredde 1,0 mm Knivkuttebreddeområde 0,8 til 1,2 mm Vedlikeholdsgrense for spolediameterkonus 0,25 mm
Baksliping av spolen
Den nye spolen har en kuttebredde på 1,3 til 1,5 mm og en 30° baksliping.
Gjør følgende når kuttebredden blir større enn 3 mm:
-
Foreta en 30° baksliping på alle spoleknivene til kuttebredden er 1,3 mm bred (Figur 25).

-
Slip spolen ved å spinne den til en urundhet som er mindre enn 0,025 mm.
Note: Dette får kuttebredden til å øke litt.
-
Juster klippeenheten. Se klippeenhetens brukerhåndbok.
Note: For å forlenge levetiden til spoleeggene og motstålet: Etter sliping av spolen og/eller motstålet, kontroller kontakten mellom spolen og motstålet igjen etter klipping av to lengder. Dette fordi eventuelle ru kanter vil bli fjernet, noe som kan danne feil klaring mellom spolen og motstålet og dermed akselerere slitasjen.
Spesifikasjoner for sliping av motstål

| Frivinkel for standard motstål | Minimum 3° |
| Frivinkel for utvidet motstål | Minimum 7° |
| Fremre vinkelområde | 13° til 17° |
Kontroller øvre slipevinkel
Vinkelen som du bruker til å slipe motstålet, er svært viktig.
Bruk vinkelindikatoren (Toro-delenr. 131-6828) og vinkelindikatorfestet (Toro-delenr. 131-6829) for å kontrollere vinkelen som slipeapparatet lager, og korriger for eventuell unøyaktighet.
-
Plasser vinkelindikatoren på undersiden av motstålet, som vist i Figur 27.

-
Trykk på Alt Zero-knappen på vinkelindikatoren.
-
Plasser vinkelindikatorfestet på kanten av motstålet slik at kanten på magneten er paret med kanten på motstålet (Figur 28).
Note: Det digitale displayet skal være synlig fra samme side under dette trinnet som den var i trinn 1.

-
Plasser vinkelindikatoren på festet som vist i Figur 28.
Note: Dette er vinkelen slipeapparatet lager, og bør være innenfor 2 grader av anbefalt øvre slipevinkel.
Sliping av klippeenheten
Fare
Kontakt med spolen eller deler som er i bevegelse, kan føre til personskader.
Hold fingre, hender og klær borte fra spolene eller andre bevegelige deler.
-
Hold avstand til spolen når du sliper.
-
Bruk aldri en pensel med kort håndtak når du sliper. Delenr. 29-9100 Håndtak komplett eller separate deler er tilgjengelige fra din lokale Toro-forhandler.
-
Sett maskinen på en ren, jevn overflate, senk klippeenhetene, stopp motoren, sett på parkeringsbremsen og ta nøkkelen ut av tenningen.
-
Ta av spolemotorene fra klippeenhetene, og koble fra og fjern klippeenhetene fra løftearmene.
-
Koble slipemaskinen til klippeenheten ved å sette inn en 3/8 tommers firkantprofil i den riflete koblingen på enden av klippeenheten.
Note: Ekstra instruksjoner og fremgangsmåter om sliping finnes i trekkenhetens brukerhåndbok og Toros håndbok for sliping av spole- og rotasjonsgressklippere, skjemanr. 80-300PT.
Note: Hvis du vil ha en skarpere knivegg, bruker du en fil på tvers av motstålets forside og spolen når du er ferdig å slipe. Dette vil fjerne alle ru eller skarpe kanter på klippeenheten.









