Underhåll
Note: Vänster och höger sida på maskinen är lika med förarens vänstra respektive högra sida vid normal körning.
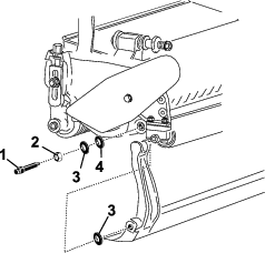
Stötta upp klippenheten
Om du behöver tippa klippenheten för att komma åt underkniven eller cylindern, ska du stötta upp klippenhetens bakdel så att muttrarna på bakre delen av underknivsstångens justerskruvar inte vilar mot arbetsytan (Figur 8).

Justera underknivens kontakt med cylindern
Justera underkniven dagligen
Säkerställ korrekt kontakt mellan underkniv och cylinder före klippningen varje dag (eller så ofta som behövs). Denna kontroll ska genomföras även om klippkvaliteten är acceptabel.
-
Sänk ner klippenheterna på ett hårt underlag, stäng av motorn och ta ut tändningsnyckeln.
-
Rotera cylindern långsamt i motsatt riktning och lyssna efter kontakten mellan cylindern och underkniven.
-
Om du inte upptäcker någon kontakt justerar du underkniven enligt nedan
-
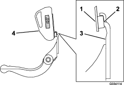
Vrid underknivsstångens justerskruvar medurs (Figur 9), ett klick i taget, tills du känner och hör att delarna precis vidrör varandra.
Note: Underknivsstångens justerskruvar har klicklägen och varje klickläge motsvarar 0,018 mm förflyttning av underkniven.

-
För in en lång remsa av klipprestandapapper (Toro-artikelnr 125-5610) mellan cylindern och underkniven, i rät vinkel mot underkniven (Figur 10). Rotera cylindern långsamt framåt. Den ska klippa papperet, annars upprepar du steg 1 och 2 tills den gör det.
-
-
Om kontakten/cylindern släpar för mycket slipar du om framsidan av underkniven eller fräser klippenheten för att få de vassa eggar som krävs för finklippning (se Toros bruksanvisning för slipning av cylinder- och rotorklippare, formulärnr 09168SL).
Important: Det är bäst om delarna precis vidrör varandra. Om inte underkniven/cylinderkanterna precis vidrör varandra kommer delarna inte att självslipas tillräckligt och då blir skäreggarna slöa efter en tids användning. Om delarna har för mycket kontakt kommer underkniven/cylindern att slitas snabbare, vilket kan leda till ojämnt slitage och försämrad klippkvalitet.
Note: Allteftersom cylinderbladen fortsätter att löpa längs underkniven kan sliprester (”skägg”) uppstå framtill på skäreggens yta, längs med hela underkniven. Dra en fil längs eggen då och då för att ta bort skägg och förbättra klippningen.När gräsklipparen har använts en längre tid uppstår till slut en räffla på bägge ändar av underkniven. Dessa skåror måste rundas av eller filas jämna med underknivens skäregg för att säkerställa jämn drift.
-
Justera underkniven mot cylindern
Följ de här anvisningarna när du ställer in klippenheten för första gången och efter fräsning, slipning eller demontering av cylindern. Detta är inte en daglig justering.
-
Placera klippenheten på en plan, jämn arbetsyta.
-
Luta klippenheten så att underkniven och cylindern exponeras.
Note: Kontrollera att muttrarna på justerskruvarna baktill på underknivsstången inte vilar mot arbetsytan (Figur 8).
-
Rotera cylindern så att ett av knivbladen korsar underknivens egg mellan underknivens första och andra skruvhuvud på högra sidan av klippenheten.
-
Gör en markering på knivbladet där det korsar underknivens egg.
Note: Det förenklar efterföljande justeringar.
-
För in mellanlägget (0,05 mm) mellan knivbladet och underknivens egg vid markeringen som gjordes i steg 4.
-
Vrid den högra underknivsstångens justerskruv (Figur 9) tills du känner ett lätt tryck i mellanlägget när du drar det från sida till sida. Ta bort mellanlägget.
-
Rotera långsamt cylindern så att det närmaste knivbladet korsar underknivens egg mellan det första och andra skruvhuvudet på vänstra sidan av klippenheten.
-
Upprepa steg 4 till 6 för vänster sida av klippenheten och den vänstra underknivsstångens justerskruv.
-
Upprepa steg 5 och 6 tills kontaktpunkterna på både vänster och höger sida av klippenheten precis vidrör varandra.
-
För att cylindern och underkniven precis ska vidröra varandra ska du vrida respektive underknivsstångs justerskruv tre klick medurs.
Note: För varje klick på underknivens justerskruv flyttas underkniven 0,018 mm. Dra inte åt justerskruvarna för hårt.Underknivens egg förs närmare cylindern när underknivens justerskruv vrids medurs. Underknivens egg förs bort från cylindern när underknivens justerskruv vrids moturs.
-
För in en lång remsa av klipprestandapapper (Toro-artikelnr 125-5610) mellan cylindern och underkniven, i rät vinkel mot underkniven (Figur 10). Rotera cylindern långsamt framåt. Den ska klippa papperet, annars vrider du alla underknivsstångens justerskruvar medurs ett klick och upprepar detta steg tills den gör det.

Note: Om kontakten/cylindern släpar för mycket slipar du om framsidan av underkniven eller fräser klippenheten för att få de vassa eggar som krävs för finklippning (se Toros bruksanvisning för slipning av cylinder- och rotorklippare, formulärnr 09168SL).
Justera den bakre rullens höjd
Beroende på önskad klipphöjd behöver du justera de bakre rullfästena (Figur 11 eller Figur 12) till den höga eller låga positionen:
-
Placera distansbrickan över sidoplåtens monteringsfläns (fabriksinställning) när klipphöjdsinställningarna ligger inom området 1,5–6 mm enligt Figur 11.

-
Placera distansbrickan under sidoplåtens monteringsfläns när klipphöjdsinställningarna ligger inom området 3–25 mm enligt Figur 12.

-
Höj klippenhetens bakdel och placera en kloss under underkniven.
-
Lossa de två muttrarna som håller fast rullfästena och distansbrickorna på sidoplåtarnas monteringsflänsar.
-
Sänk rullen och skruvarna från sidoplåtens monteringsflänsar och distansbrickor.
-
Placera distansbrickorna på skruvarna ovanför eller nedanför rullfästena efter behov (Figur 11 eller Figur 12).
-
Fäst rullfästet och distansbrickorna på undersidan av monteringsflänsarna igen med de muttrar som du tog bort tidigare.
Note: Den bakre rullens läge i förhållande till cylindern kontrolleras av de sammansatta komponenternas maskintoleranser och parallelljustering är inte nödvändig.
Justera klipphöjden
Använd följande tabell för att fastställa vilken underkniv som lämpar sig bäst för den önskade klipphöjden.
| Underkniv | Artikelnr | Klipphöjd |
| Edgemax finklippning (standard) | 115-1880 | 1,5 till 4,7 mm |
| Edgemax Tournament (tillbehör) | 115-1881 | 3,1 till 12,7 mm |
| Finklippning (tillval) | 93-4262 | 1,5 till 4,7 mm |
| Tournament (tillval) | 93-4263 | 3,1 till 12,7 mm |
| Förlängd finklippning (tillval) | 108-4303 | 1,5 till 4,7 mm |
| Förlängd Tournament (tillval) | 108-4302 | 3,1 till 12,7 mm |
| Låg klipphöjd (tillval) | 93-4264 | 4,7 till 25,4 mm |
| Hög klipphöjd (tillval) | 94-6392 | 7,9 till 25,4 mm |
| Fairway (tillval) | 63-8600 | 9,5 till 25,4 mm |
| Fairway EdgeMax (tillval) | 112–7475 | 9,5 till 25,4 mm |
Note: För klipphöjder över 9,5 mm ska du montera satsen för hög klipphöjd.
Justera klipphöjdsmätaren
Innan du justerar klipphöjden ställer du in klipphöjdsmätaren på följande sätt:
-
Lossa muttern på mätstången och ställ in justerskruven på önskad klipphöjd (Figur 13).
Note: Avståndet mellan skruvhuvudets nedersta del och stångens ovansida är lika med klipphöjden.

-
Dra åt muttern.
Justera klipphöjden
-
Lossa de låsmuttrar som håller fast klipphöjdsarmarna på klippenhetens sidoplåtar (Figur 14).

-
Haka på klipphöjdsmätarens skruvhuvud på höger sida av underknivens skäregg och vila stångens bakände mot den bakre rullen (Figur 15).

-
Vrid justeringsskruven tills rullen kommer i kontakt med den främre delen av mätstången.
-
Upprepa steg 2 och 3 för vänster sida.
-
Justera båda ändar av rullen tills hela rullen är parallell med underkniven.
Important: Vid korrekt inställning är de bakre och främre rullarna i kontakt med mätstången och skruven sitter tätt mot underkniven. På så sätt blir klipphöjden identisk i båda ändar av underkniven.
-
Dra åt muttrarna för att säkra justeringen så mycket att spelet från brickan avlägsnas.
-
Kontrollera att klipphöjden är korrekt. Upprepa proceduren vid behov.
Justera klippinställningen
Det finns sex klippinställningar på klippenheten som du kan ställa in så att de motsvarar dina gräsförhållanden. Börja med att anpassa klippningen till klipphöjden, men testa sedan klippenheten och justera klippningen för att ställa in önskad klippning.
-
Stäng av maskinen på följande sätt:
-
Bensindrivna enheter: Stäng av motorn och koppla bort tändkabeln.
-
Eldrivna enheter: Stäng av maskinen och koppla bort batterikontakten (T-formad).
-
-
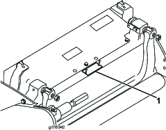
Lossa flänsskruven som håller fast remkåpan och ta bort remkåpan för att frilägga remmen (Figur 16).

-
Lossa lagerhusets mutter (Figur 17).

-
Vrid på lagerhuset med hjälp av en 5/8 tums skiftnyckel för att kontrollera att det löper fritt.
-
Ta bort remmen (Figur 17).
-
Använd tabellen på dekalen i Figur 18 för att bestämma vilken klippinställning du önskar och vilka remskivor du måste flytta.
Note: Remskivorna är numrerade (22, 24 och 25). Flytta remskivorna till de lägen som visas i tabellen för din klippinställning.

-
Använd en sexkantsnyckel och lossa de två ställskruvarna på de remskivor som du behöver flytta.
-
Ta bort remskivorna.
-
Montera remskivorna i den nya konfigurationen i enlighet med anvisningarna på dekalen (Figur 18).
Note: Kontrollera att ställskruvarna på remskivorna är inriktade mot nyckeln och det platta området på axeln.
-
Dra åt ställskruvarna till 8,3–8,9 N·m.
-
Montera remmen.
-
Kontrollera att kompressionsfjädern påför spänning på remmen (Figur 17).
-
Dra åt lagerhusets mutter.
-
Sätt tillbaka remkåpan.
Justera klippstången
Justera klippstången så att gräsklippet matas ut ordentligt från cylindern, på följande sätt:
Note: Stången kan justeras för att kompensera för förändringar i gräsförhållanden. När gräset är extremt torrt bör stången flyttas närmare cylindern. Vid våta gräsförhållanden ska stången däremot flyttas längre bort från cylindern. Stången ska vara parallell mot cylindern för att säkerställa optimal prestanda. Justera den efter att cylindern har vässats på en cylindervässare.
-
Lossa de skruvar som håller fast den övre stången (Figur 19) på klippenheten.

-
För in ett bladstål på 1,5 mm mellan cylinderns översta del och stången och dra åt skruvarna.
Important: Kontrollera att stången och cylindern sitter på ett jämnt avstånd från varandra över hela cylindern.
Note: Justera avståndet efter gräsförhållandena.
Serva underknivsstången
Låt endast en utbildad mekaniker serva underknivsstången och underkniven för att förhindra skador på cylinder, underknivsstång och underkniv. Det bästa är att ta klippenheten till närmaste auktoriserade Toro-återförsäljare för service. Se traktorenhetens servicehandbok för fullständiga anvisningar, specialverktyg och diagram över underknivsservice. Det finns anvisningar nedan om du själv skulle behöva ta bort eller sätta tillbaka underkniven, samt specifikationer om underknivsservice.
Important: Följ alltid underknivsprocedurerna som anges i servicehandboken när underkniven servas. Om underkniven monteras eller slipas på ett felaktigt sätt kan skador uppstå på cylindern, underknivsstången eller underkniven.
Ta bort underknivsstången
-
Vrid underknivsstångens justerskruv moturs, så att underkniven förs bort från cylindern (Figur 20).

-
För fjäderspänningsmuttern bakåt, tills brickan inte längre är spänd mot underknivsstången (Figur 20).
-
Lossa kontramuttern som håller fast låsmuttern till underknivsstången på vardera sidan av maskinen (Figur 21).

-
Ta bort skruven till underknivsstången så att denna kan dras nedåt och avlägsnas från klippenheten (Figur 21).
Beräkna två nylonbrickor och en stålbricka på vardera ände av underknivsstången (Figur 22).

Montera underknivsstången
-
Montera underknivsstången genom att placera fästhandtagen mellan brickorna och underknivsstångens justerskruv (Figur 20).
-
Fäst underknivsstången på vardera sidoplåt med tillhörande skruvar (muttrar på skruvar) och tre brickor (sex stycken totalt).
-
Sätt en nylonbricka på var sida om sidoplåtens nav. Placera en stålbricka utanför varje nylonbricka (Figur 22).
-
Dra åt underknivsstångens skruvar till 27–36 Nm.
-
Dra åt låsmuttrarna tills spelet försvinner från stålbrickorna, men du fortfarande kan vrida dem för hand. Det kan finnas ett mellanrum vid brickorna på insidan.
Important: Dra inte åt låsmuttrarna för hårt, eftersom det får sidoplåtarna att böjas.
-
Dra åt fjäderspänningsmuttern tills fjädern pressas ihop, och vrid sedan ut den ett halvt varv (Figur 23).

-
Justera underkniven mot cylindern. Se Justera underknivens kontakt med cylindern.
Specifikationer för underkniven
Montering av underkniv
-
Använd en skrapa för att avlägsna all rost, beläggning och korrosion från underknivsstångens yta.
-
Stryk ett tunt lager olja på underknivsstångens yta innan du monterar underkniven.
-
Se till att alla underknivsstångens skruvgängor är rena.
-
Montera nya skruvar (5/16–18UNC–2A) för att fästa underkniven mot underknivsstången, men dra inte åt dem. Stryk på monteringssmörjmedel på skruvarnas gängor.
Important: Stryk inte på monteringssmörjmedel på den koniska delen av skruvhuvudena.
-
Dra åt de två yttre skruvarna till 1 Nm med hjälp av en momentnyckel och underknivsskruvverktyget (TOR510880).
-
Följ ordningen i Figur 24 och dra åt skruvarna till 25,4 Nm.

-
Slipa underkniven efter monteringen.
Förbereda cylindern för slipning
-
Se till att klippenhetens alla komponenter är i gott skick, och åtgärda eventuella problem innan slipningen.
-
Följ cylindervässartillverkarens instruktioner för att slipa klippcylindern enligt följande specifikationer.
Specifikationer för cylinderslipning Ny cylinderdiameter 128,5 mm Servicegräns för cylinderdiametern 114,3 mm Knivens ställvinkel 30° ± 5° Knivens landbredd 1,0 mm Knivens landbredd, omkrets 0,8 till 1,2 mm Servicegräns för cylinderdiameterns avsmalning 0,25 mm
Slipa cylinderns ställvinkel
Den nya cylindern har en landbredd på 1,3–1,5 mm och en ställvinkel på 30°.
Gör följande när landbredden blir över 3 mm bred:
-
Slipa en ställvinkel på 30° på alla cylinderknivar tills landbredden är 1,3 mm (Figur 25).

-
Rundslipa cylindern för att uppnå en precisionsminskning för cylindern på < 0,025 mm.
Note: Detta gör att landbredden ökar något.
-
Justera klippenheten. Se klippenhetens bruksanvisning.
Note: För att cylinderkanten och underkniven ska vara vassa längre ska du – efter att ha slipat cylindern och/eller underkniven – kontrollera kontakten mellan cylindern och underkniven igen när du har klippt två fairways eftersom alla grader (”skägg”) tas bort vilket kan skapa felaktigt spel mellan cylindern och underkniven och därmed få dem att slitas ut snabbare.
Specifikationer för att slipa underkniven

| Ställvinkel för underkniv, standard | 3° minimum |
| Ställvinkel för underkniv, förlängd | 7° minimum |
| Framvinkelsområde | 13° till 17° |
Kontrollera toppslipningsvinkeln
Det är viktigt vilken vinkel du använder när du slipar underknivarna.
Använd vinkelindikatorn (Toro-artikelnr 131-6828) och vinkelindikatorfästet (Toro-artikelnr 131-6829) för att kontrollera vinkeln som slipmaskinen skapar. Åtgärda vid felaktiga resultat.
-
Placera vinkelindikatorn på underknivens undersida enligt Figur 27.

-
Tryck på Alt Zero-knappen på vinkelindikatorn.
-
Placera vinkelindikatorfästet på underknivens egg så att magnetens kant får kontakt med underknivens kant (Figur 28).
Note: Den digitala displayen ska under detta steg vara synlig från samma sida som den var i steg 1.

-
Placera vinkelindikatorn på fästet enligt Figur 28.
Note: Detta är den vinkel som slipmaskinen skapar, och den ska ligga inom två grader från den rekommenderade toppslipningsvinkeln.
Slipa klippenheten
Fara
Att vidröra cylindrarna eller andra rörliga delar kan orsaka personskador.
Håll fingrar, händer och kläder på avstånd från cylindrarna och andra rörliga delar.
-
Kom inte nära cylindern när du slipar.
-
En borste med kort skaft får aldrig användas vid slipning. Artikelnr 29-9100 Handtag, kompletta eller individuella delar är tillgängliga hos din lokala auktoriserade Toro-återförsäljare.
-
Ställ maskinen på en ren och plan yta, sänk ner klippenheterna, stäng av motorn, dra åt parkeringsbromsen och ta ut nyckeln ur tändningslåset.
-
Ta bort cylindermotorerna från klippenheterna och koppla ur och ta bort klippenheterna från lyftarmarna.
-
Anslut slipmaskinen till klippenheten genom att föra in en fyrkantsprofil på 9,5 mm i den räfflade kopplingen på klippenhetens ände.
Note: Ytterligare anvisningar och procedurer för slipning finns i traktorenhetens bruksanvisning och i Toros bruksanvisning för slipning av cylinder- och rotorklippare, formulärnummer 80-300PT.
Note: Dra en fil över underknivens framsida och cylindern när slipningen är klar så blir skäreggen bättre. Detta avlägsnar eventuella grader ("skägg") eller ojämna kanter som kan uppstå på skäreggen.









