Manutenzione
Note: Stabilite i lati sinistro e destro della macchina dalla normale posizione di guida.
Supporto dell'apparato di taglio
Ogni volta che dovete inclinare l'apparato di taglio per esporre la controlama o il cilindro, supportate la parte posteriore dell'apparato di taglio per evitare che i dadi sul retro delle viti di regolazione della barra di appoggio tocchino il piano di lavoro (Figura 8).

Regolazione del contatto tra controlama e cilindro
Regolazione giornaliera della controlama
Prima dell’uso ogni giorno, o in base alle necessità, verificate il corretto contatto controlama/cilindro. Effettuate questa procedura anche se la qualità del taglio è accettabile.
-
Abbassate gli apparati di taglio su una superficie rigida, spegnete il motore e togliete la chiave di accensione.
-
Ruotate lentamente il cilindro in direzione contraria e verificate il contatto cilindro/controlama.
-
Se non risulta evidente alcun contatto, regolate la controlama nel modo seguente:
-
Ruotate le viti di regolazione della barra di appoggio in senso orario (Figura 9), uno scatto alla volta, fino ad avvertire e udire un leggero contatto.
Note: Le viti di regolazione della controlama sono dotate di denti di arresto che corrispondono a uno spostamento della controlama di 0,018 mm per ogni posizione indicizzata.

-
Inserite una lunga striscia di carta di verifica del taglio (n. cat. Toro 125-5610) tra il cilindro e la controlama, perpendicolarmente alla controlama (Figura 10), poi lentamente ruotate il cilindro in avanti: dovrebbe tagliare la carta; in caso contrario, ripetete i passaggi 1 e 2 finché non la taglia.
-
-
Se la resistenza del cilindro o il contatto sono eccessivi, dovete lappare, rimettere a nuovo la parte anteriore della controlama o levigare l'apparato di taglio per ottenere l'affilatura che consente di eseguire un taglio preciso (fate riferimento al Manuale per l'affilatura dei cilindri e dei tosaerba rotanti Toro, libretto n. 09168SL).
Important: È sempre preferibile un leggero contatto. Se non viene mantenuto un leggero contatto, i taglienti controlama/cilindro non si autoaffileranno sufficientemente e dopo un certo periodo di funzionamento risulteranno smussati. Se mantenete un contatto eccessivo, si accelererà l’usura della controlama/del cilindro, che causerà un’usura irregolare compromettendo la qualità del taglio.
Note: Mentre le lame del cilindro continuano a girare contro la controlama, una leggera bava comparirà sulla superficie anteriore del tagliente su tutta la lunghezza della controlama. Occasionalmente ponete una lima sul bordo anteriore per eliminare questa bava e migliorare il taglio.Dopo un funzionamento prolungato, alla fine si formerà una cresta ad entrambe le estremità della controlama. Per garantire un funzionamento regolare, arrotondate o limate questi incavi con il tagliente della controlama.
-
Regolazione della controlama rispetto al cilindro
Seguite questa procedura durante la configurazione iniziale dell'apparato di taglio e dopo la levigatura, la lappatura o lo smontaggio del cilindro. Non si tratta di una regolazione quotidiana.
-
Collocate l'apparato di taglio su una superficie piana e orizzontale.
-
Inclinate l'apparato di taglio per accedere alla controlama e al cilindro.
Note: Accertatevi che i dadi o le viti di regolazione sul retro della barra di appoggio non poggino sul piano di lavoro (Figura 8).
-
Ruotate il cilindro in modo che una delle lame intersechi il tagliente della controlama tra la prima e la seconda testa della vite della controlama sul lato destro dell'apparato di taglio.
-
Tracciate un segno identificativo sulla lama nel punto in cui interseca il tagliente della controlama.
Note: Ciò faciliterà le regolazioni.
-
Inserite uno spessore da 0,05 mm tra la lama e il tagliente della controlama nel punto contrassegnato nel passaggio 4.
-
Ruotate la vite di regolazione della barra di appoggio destra (Figura 9) fino a quando non sentite una leggera pressione sullo spessore facendolo scorrere da lato a lato. Rimuovete lo spessore.
-
Dal lato sinistro dell'apparato di taglio, ruotate lentamente il cilindro in modo che la lama più vicina intersechi il tagliente della controlama tra la prima e la seconda testa della vite.
-
Ripetete i passaggi da 4 a 6 per il lato sinistro dell'apparato di taglio e la vite di regolazione della barra di appoggio sinistra.
-
Ripetete i passaggi 5 e 6 fino a quando non avvertite una leggera pressione nei punti di contatto sui lati sinistro e destro dell'apparato di taglio.
-
Per ottenere il contatto tra cilindro e controlama, ruotate ciascuna vite di regolazione della barra di appoggio in senso orario di 3 scatti.
Note: Ciascuno scatto sulla vite di regolazione della barra di appoggio sposta la controlama di 0,018 mm. Non serrate eccessivamente le viti di regolazione.Ogni volta che girate la vite di regolazione in senso orario, la controlama si avvicina al cilindro. Ogni volta che girate la vite di regolazione in senso antiorario, la controlama si allontana dal cilindro.
-
Inserite una lunga striscia di carta di verifica del taglio (n. cat. Toro 125-5610) tra il cilindro e la controlama, perpendicolarmente alla controlama (Figura 10), poi lentamente ruotate il cilindro in avanti: dovrebbe tagliare la carta; in caso contrario, ruotate ciascuna vite di regolazione della barra di appoggio di uno scatto e ripetete questo passaggio fino a quando la carta non viene tagliata.

Note: Se la resistenza del cilindro o il contatto sono eccessivi, dovete lappare, rimettere a nuovo la parte anteriore della controlama o levigare l'apparato di taglio per ottenere l'affilatura che consente di eseguire un taglio preciso (fate riferimento al Manuale per l'affilatura dei cilindri e dei tosaerba rotanti Toro, libretto n. 09168SL).
Regolazione dell'altezza del rullo posteriore
In base all'altezza di taglio desiderata occorrerà regolare le staffe del rullo posteriore (Figura 11 o Figura 12) nella posizione bassa o alta:
-
Posizionate il distanziale sopra la flangia di montaggio della piastra laterale (impostazione di fabbrica) quando l'intervallo di impostazione dell'altezza di taglio è compreso tra 1,5 mm e 6 mm (1/16" - ⅜"), come illustrato nella Figura 11.

-
Collocate il distanziale sotto la flangia di montaggio della piastra laterale se l'altezza di taglio è compresa tra 3 mm e 25 mm, come illustrato nella Figura 12.

-
Alzate l'apparato di taglio posteriore e inserite un blocco sotto la controlama.
-
Rimuovete i 2 dadi che fissano ogni staffa del rullo e ogni distanziale a ciascuna flangia di montaggio della piastra laterale.
-
Abbassate e allontanate il rullo e le viti dalle flange e dai distanziali di montaggio della piastra laterale.
-
Collocate i distanziali sulle viti al di sopra o al di sotto delle staffe del rullo, come opportuno (Figura 11 o Figura 12).
-
Fissate la staffa del rullo e i distanziali sulla parte inferiore delle flange di montaggio con i dadi precedentemente rimossi.
Note: La posizione del rullo posteriore rispetto al cilindro viene controllata mediante le tolleranze di lavorazione dei componenti assemblati, pertanto non è necessario eseguire la messa in parallelo.
Regolazione dell'altezza di taglio
Usate la seguente tabella per scegliere la controlama più adatta all'altezza di taglio preferita.
| Controlama | N. cat. | Altezza di taglio |
| Taglio micro Edgemax (Standard) | 115-1880 | da 1,5 a 4,7 mm |
| Torneo Edgemax (opzionale) | 115-1881 | da 3,1 a 12,7 mm |
| Taglio micro (opzionale) | 93-4262 | da 1,5 a 4,7 mm |
| Torneo (opzionale) | 93-4263 | da 3,1 a 12,7 mm |
| Taglio micro esteso (opzionale) | 108-4303 | da 1,5 a 4,7 mm |
| Torneo esteso (opzionale) | 108-4302 | da 3,1 a 12,7 mm |
| Taglio basso (opzionale) | 93-4264 | da 4,7 a 25,4 mm |
| Taglio alto (opzionale) | 94-6392 | da 7,9 a 25,4 mm |
| Fairway (opzionale) | 63-8600 | da 9,5 a 25,4 mm |
| Fairway EdgeMax (opzionale) | 112–7475 | da 9,5 a 25,4 mm |
Note: Per altezze di taglio superiori a 9,5 mm, montate il kit per altezze di taglio superiori.
Regolazione dell'indicatore dell'altezza di taglio
Prima di regolare l'altezza di taglio, impostate l'indicatore dell'altezza di taglio nel modo seguente:
-
Allentate il dado sulla barra di misura e posizionate la vite di regolazione all'altezza di taglio opportuna (Figura 13).
Note: La distanza tra l'estremità inferiore della testa della vite e la parte frontale della barra corrisponde all'altezza di taglio.

-
Serrate il dado.
Regolazione dell'altezza di taglio
-
Allentate i dadi di bloccaggio che fissano i bracci dell'altezza di taglio alle piastre laterali dell'apparato di taglio (Figura 14).

-
Agganciate la testa della vite dell'indicatore dell'altezza di taglio sul lato destro del tagliente della controlama e appoggiate la parte posteriore della barra sul rullo posteriore (Figura 15).

-
Girate la vite di regolazione finché il rullo non tocca la parte anteriore della barra di misura.
-
Ripetete i passaggi 2 e 3 per il lato sinistro.
-
Regolate entrambi i lati del rullo finché quest'ultimo non sarà completamente parallelo alla controlama.
Important: Quando la regolazione è corretta, i rulli anteriore e posteriore toccano la barra di misura e la vite tocca la controlama senza gioco. Ciò garantisce che l'altezza di taglio sia identica da ambo i lati della controlama.
-
Serrate i dadi per fissare la regolazione a sufficienza in modo da eliminare il gioco dalla rondella.
-
Verificate che l'impostazione dell'altezza di taglio sia corretta; ripetete questa procedura se necessario.
Regolazione dell'impostazione di taglio
Sull'apparato di taglio sono presenti 6 impostazioni di taglio che potete regolare a seconda delle condizioni del tappeto erboso. Iniziate a regolare l'impostazione di taglio in funzione dell'altezza di taglio, poi eseguite una prova e regolate l'impostazione in modo da ottenere la qualità di taglio desiderata.
-
Spegnete la macchina come indicato di seguito:
-
Macchine a benzina: spegnete il motore e staccate il cappellotto dalla candela.
-
Macchine elettriche: spegnete la macchina e staccate il connettore della batteria (impugnatura a T).
-
-
Allentate il bullone della flangia che fissa il copricinghia, e togliete il copricinghia per accedere alla cinghia (Figura 16).

-
Allentate il dado dell'alloggiamento dei cuscinetti (Figura 17).

-
Con una chiave da 16 mm girate la sede del cuscinetto in modo che funzioni senza ostruzioni.
-
Rimuovete la cinghia (Figura 17).
-
Servendovi della tabella sull'adesivo illustrato in Figura 18, determinate l'impostazione di taglio desiderata e quali pulegge dovrete spostare.
Note: Ciascuna puleggia è numerata (22, 24 e 25). Spostate le pulegge nelle posizioni indicate nella tabella per ottenere l'impostazione di taglio desiderata.

-
Allentate le 2 viti di fermo su ciascuna delle pulegge che dovete spostare servendovi di una chiave esagonale.
-
Rimuovete ciascuna puleggia.
-
Montate ciascuna puleggia secondo la configurazione indicata sull'adesivo (Figura 18).
Note: Accertatevi di posizionare le viti di fermo su ciascuna puleggia in modo tale che siano allineate alla chiavetta e alla superficie piatta dell'albero.
-
Serrate le viti di fermo a un valore compreso tra 8,3 e 8,9 N·m.
-
Montate la cinghia.
-
Accertatevi che la molla di compressione metta in tensione la cinghia (Figura 17).
-
Serrate il dado dell'alloggiamento dei cuscinetti.
-
Montate il copricinghia.
Regolazione della barra di scarico
Regolate la barra di scarico in modo da garantire che lo sfalcio venga completamente scaricato dall'area del cilindro, come qui di seguito:
Note: La barra è regolabile per compensare le varie condizioni del tappeto erboso. Avvicinatela al cilindro quando il tappeto erboso è molto asciutto, ed allontanatela dal cilindro quando il tappeto erboso è bagnato. Otterrete prestazioni ottimali quando la barra è parallela al cilindro. Regolatela dopo aver affilato il cilindro su un'apposita mola.
-
Allentate le viti che fissano la barra superiore (Figura 19) all'apparato di taglio.

-
Inserite uno spessimetro da 1,5 mm tra la parte superiore del cilindro e la barra, quindi serrate le viti.
Important: Accertatevi che la distanza tra la barra e il cilindro sia identica lungo tutto il cilindro.
Note: Regolate la distanza in base alle condizioni del vostro tappeto erboso.
Revisione della barra di appoggio
Solo un meccanico appositamente addestrato deve effettuare la manutenzione della barra di appoggio e della controlama per evitare danni a cilindro, barra di appoggio o controlama. Se possibile, portate l'apparato di taglio dal vostro Distributore Toro autorizzato per la manutenzione. Fate riferimento al Manuale di manutenzione del vostro trattorino per le istruzioni complete, strumenti speciali e schemi per la manutenzione della controlama. Se dovete rimuovere o montare la barra di appoggio da soli, di seguito sono fornite le istruzioni, così come le specifiche per la manutenzione della controlama.
Important: Seguite sempre le procedure per la controlama indicate nel vostro Manuale di manutenzione quando effettuate la manutenzione della controlama. Se il montaggio e l'affilatura della controlama vengono effettuati in modo non idoneo, cilindro, barra di appoggio o controlama possono subire danni.
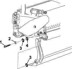
Rimozione della barra di appoggio
-
Ruotate la vite di regolazione della barra di appoggio in senso antiorario per allontanare la controlama dal cilindro (Figura 20).

-
Allentate il dado di tensione della molla, finché la rondella non sarà più in tensione contro la barra di appoggio (Figura 20).
-
Su ciascun lato della macchina, allentate il dado di bloccaggio che fissa il bullone della barra di appoggio (Figura 21).

-
Togliete i bulloni della barra di appoggio perché quest'ultima possa essere tirata in giù e tolta dall'apparato di taglio (Figura 21).
Tenete in considerazione le 2 rondelle di nylon e la rondella in acciaio su ciascun'estremità della barra di appoggio (Figura 22).

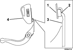
Montaggio della barra di appoggio
-
Montate la barra di appoggio posizionando i supporti di montaggio tra le rondelle e la vite di regolazione della barra di appoggio (Figura 20).
-
Fissate la barra di appoggio su ciascuna piastra laterale mediante gli appositi bulloni (dadi sui bulloni) e 3 rondelle (6 in tutto).
-
Collocate una rondella di nylon su ciascun lato del risalto della piastra laterale. Posizionate una rondella di acciaio all’esterno di ciascuna rondella di nylon (Figura 22).
-
Serrate i bulloni della barra di appoggio a un valore compreso tra 27 e 36 N∙m.
-
Serrate i dadi di bloccaggio fino a eliminare il gioco all'estremità delle rondelle in acciaio ma mantenendo la possibilità di ruotarle a mano. Le rondelle all’interno possono avere del gioco.
Important: Non serrate eccessivamente i dadi di bloccaggio, altrimenti devierete le piastre laterali.
-
Serrate il dado di tensionamento della molla finché questa non è a riposo, quindi allentatelo di mezzo giro (Figura 23).

-
Regolate la controlama rispetto al cilindro; fate riferimento a Regolazione del contatto tra controlama e cilindro.
Specifiche della controlama
Montaggio della controlama
-
Utilizzate un raschietto per rimuovere ogni traccia di ruggine, incrostazioni e corrosione dalla superficie della barra di appoggio.
-
Oliate leggermente la superficie della barra di appoggio prima di montare la controlama.
-
Assicuratevi che tutte le filettature delle viti della barra di appoggio siano pulite.
-
Montate, senza serrarle, le nuove viti (5/16-18UNC-2A) per fissare la controlama alla barra di appoggio. Applicate un composto antigrippaggio sulle filettature delle viti.
Important: Non applicate un composto antigrippaggio sulla rastrematura delle teste delle viti.
-
Utilizzando una chiave torsiometrica e lo strumento di rimozione delle viti della controlama (TOR510880), serrate le 2 viti esterne a 1 N∙m.
-
Seguendo l'ordine indicato nella Figura 24, serrate le viti a 25,4 N∙m.

-
Molate la controlama dopo il montaggio.
Preparazione del cilindro per l'affilatura
-
Assicuratevi che tutti i componenti degli apparati di taglio siano in buone condizioni e correggete eventuali problemi prima della molatura.
-
Seguite le istruzioni del produttore della mola per cilindri per molare il cilindro di taglio in base alle seguenti specifiche.
Specifiche di affilatura del cilindro Nuovo diametro del cilindro 128,5 mm Limite di servizio del diametro del cilindro 114,3 mm Angolo di spoglia della lama 30° ± 5° Larghezza della superficie della lama 1,0 mm Intervallo delle larghezze della superficie della lama Da 0,8 a 1,2 mm Limite di servizio della rastrematura del diametro del cilindro 0,25 mm
Rettifica del cilindro
Il nuovo cilindro ha una larghezza di superficie compresa tra 1,3 e 1,5 mm e un angolo di spoglia di 30°.
Quando la larghezza della superficie diventa superiore a 3 mm, effettuate le seguenti operazioni:
-
Applicate un angolo di spoglia di 30° su tutte le lame del cilindro fino a quando la larghezza della superficie non è pari a 1,3 mm (Figura 25).

-
Molate a rotazione il cilindro per ottenere un'eccentricità del cilindro di <0,025 mm.
Note: Questo determina un leggero incremento della larghezza della superficie.
-
Regolate l'apparato di taglio; fate riferimento al Manuale dell'operatore del vostro apparato di taglio.
Note: Per estendere la longevità dell'affilatura del tagliente di cilindro e controlama, dopo la molatura del cilindro e/o della controlama, verificate il nuovamente il contatto cilindro-controlama dopo il taglio di 2 fairway, dal momento che eventuali bave verranno rimosse, creando potenzialmente un gioco errato tra cilindro e controlama e, di conseguenza, accelerando l'usura.
Specifiche di affilatura della controlama

| Angolo di spoglia della controlama standard | 3° minimo |
| Angolo di spoglia della controlama estesa | 7° minimo |
| Intervallo dell'angolo anteriore | Da 13° a 17° |
Verifica dell'angolo di molatura superiore
L'angolo che utilizzate per molare le vostre controlame è molto importante.
Utilizzate il goniometro (n. cat. Toro 131-6828) e il supporto del goniometro (n. cat. Toro 131-6829) per verificare l'angolo prodotto dalla vostra mola e, quindi, correggete eventuali imprecisioni della mola.
-
Posizionate il goniometro sul lato inferiore della controlama, come illustrato nella Figura 27.

-
Premete il pulsante Alt Zero sul goniometro.
-
Posizionate il supporto del goniometro sul tagliente della controlama, in modo che il bordo del magnete si accoppi con il tagliente della controlama (Figura 28).
Note: Durante questo passaggio, il display digitale deve essere visibile dallo stesso lato del passaggio 1.

-
Posizionate il goniometro sul supporto, come illustrato nella Figura 28.
Note: Questo è l'angolo prodotto dalla vostra mola e deve essere compreso entro 2 gradi dall'angolo di molatura superiore raccomandato.
Lappatura dell'apparato di taglio
Pericolo
Il contatto con il cilindro o altre parti in movimento può causare infortuni.
Non avvicinate dita, mani o abiti ai cilindri o ad altre parti in movimento.
-
Non avvicinatevi al cilindro mentre è in corso la lappatura.
-
Per la lappatura, non usate mai un pennello dal manico corto. Il manico n. cat. 29-9100 completo, o le singole parti, sono reperibili dal Distributore Toro autorizzato di zona.
-
Parcheggiate la macchina su una superficie pulita e pianeggiante, abbassate gli apparati di taglio, spegnete il motore, inserite il freno di stazionamento e togliete la chiave di accensione.
-
Rimuovete i motorini dei cilindri dagli apparati di taglio, quindi scollegate e staccate gli apparati di taglio dai bracci di sollevamento.
-
Collegate il dispositivo di lappatura all'apparato di taglio inserendo un piccolo ceppo quadrato di 9,5 mm nell'accoppiamento scanalato all'estremità dell'apparato di taglio.
Note: Ulteriori istruzioni e procedure di lappatura sono disponibili nel Manuale dell'operatore e nel Manuale Toro relativo all'affilatura cilindri e tosaerba rotativi, Modulo n. 80-300PT.
Note: Al termine della lappatura passate una lima sulla superficie anteriore della controlama e del cilindro e otterrete un tagliente migliore. La limatura rimuove possibili sbavature e irregolarità del tagliente.









