Onderhoud
Note: Bepaal vanuit de normale bedieningspositie de linker- en rechterzijde van de machine.
Maaidek ondersteunen
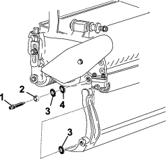
Als u het maaidek moet kantelen om bij het ondermes/messenkooi te kunnen komen, moet u de achterkant van het maaidek ondersteunen om te controleren of de moeren op het achtereind van de stelschroeven van de snijbalk niet op het werkvlak rusten (Figuur 8).

Contact tussen snijplaat en messenkooi afstellen
Dagelijkse afstelling van het ondermes
Elke dag voordat u gaat maaien of telkens als het nodig is, moet u controleren of het contact tussen het ondermes en de messenkooi correct is afgesteld. Voer deze procedure uit, ook al is de maaikwaliteit aanvaardbaar.
-
Laat de maaidekken neer op een stevig oppervlak, zet de motor af en haal het sleuteltje uit het contact.
-
Draai de messenkooi langzaam in de tegenovergestelde richting en luister of de messenkooi en het ondermes contact maken.
-
Indien er geen contact is, moet u het ondermes als volgt afstellen:
-
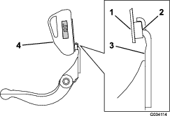
Draai de stelknoppen van de snijbalk (Figuur 9) telkens 1 klik naar rechts, totdat u voelt en hoort dat er licht contact wordt gemaakt.
Note: De stelschroeven van de snijbalk hebben pallen waarmee elke aangegeven stand van het ondermes telkens met 0,018 mm kan worden veranderd.

-
Steek een lange strip maaiprestatiepapier (Toro onderdeelnr. 125-5610) tussen de messenkooi en het ondermes, loodrecht op het ondermes (Figuur 10) en draai vervolgens langzaam de messenkooi naar voren. De messenkooi moet in het papier snijden. Als de messenkooi niet in het papier snijdt, moet u stap 1 en 2 herhalen totdat dit wel zo is.
-
-
Als het contact tussen het ondermes en messenkooi te zwaar wordt, moet u de voorrand van het ondermes vernieuwen of het maaidek slijpen om de scherpe snijranden te krijgen die nodig zijn om met grote precisie te kunnen maaien (zie de handleiding Slijpen van Toro-maaimachine met messenkooien en roterende messen, documentnr. 09168SL).
Important: Zorg ervoor dat er altijd een licht contact tussen het ondermes en de messenkooi is. Als er geen licht contact is, zullen de snijranden van het ondermes/messenkooi zichzelf onvoldoende slijpen. Dit zal ertoe leiden dat de snijranden na verloop van tijd bot worden als gevolg van het gebruik. Als het contact te zwaar is, zullen het ondermes en de messenkooi sneller of ongelijkmatig slijten en kan de maaikwaliteit achteruitgaan.
Note: Als de messen van de messenkooi voortdurend tegen het ondermes aan lopen, zal er op het oppervlak van de voorste snijrand van het ondermes over de gehele lengte een lichte braam ontstaan. Vijl de voorste snijrand af en toe bij om de braam te verwijderen en de maairesultaten te verbeteren.Na langdurig gebruik zal er uiteindelijk aan beide uiteinden van het ondermes een groef ontstaan. Voor een soepele werking moet u deze groeven afronden of gelijk vijlen met de snijrand van het ondermes.
-
Contact tussen snijplaat en messenkooi afstellen
Gebruik deze procedure tijdens het afstellen van het maaidek en na het slijpen, wetten of demonteren van de messenkooi. Dit is geen dagelijks onderhoud.
-
Plaats het maaidek op een vlak, horizontaal oppervlak.
-
Kantel het maaidek zodat u bij het ondermes en de messenkooi kunt.
Note: Zorg ervoor dat de moeren op het achtereind van de stelschroeven van de snijbalk niet op het werkvlak rusten (Figuur 8).
-
Draai de messenkooi zodanig dat 1 van de messen de rand van het ondermes kruist tussen de eerste en de tweede schroefkop van het ondermes aan de rechterkant van het maaidek.
-
Breng een markering aan waar het mes de rand van het ondermes kruist.
Note: Dit maakt latere afstellingen eenvoudiger.
-
Steek een afstandsring (0,05 mm) tussen het mes en de rand van het ondermes op de plaats waar u de markering hebt aangebracht in stap 4.
-
Draai aan de rechter afstelschroef van de snijbalk (Figuur 9) tot u een lichte druk voelt als u de afstandsring heen en weer schuift. Verwijder de afstandsring.
-
Voor de linkerzijde van het maaidek draait u de messenkooi langzaam tot het dichtstbijzijnde mes de rand van het ondermes kruist tussen de eerste en de tweede schroefkop.
-
Herhaal stap 4 tot 6 voor de linkerkant van het maaidek en de linkerstelschroef van de snijbalk.
-
Herhaal stappen 5 en 6 tot er lichte druk is op de contactpunten aan de linker- en rechterkant van het maaidek.
-
Om een licht contact tussen het ondermes en de messenkooi te verkrijgen dient u elke stelschroef van de snijbalk 3 klikstanden rechtsom te draaien.
Note: Elke klikstand van de stelschroef van de snijbalk beweegt het ondermes 0,018 mm. Draai de stelschroeven niet te vast.Draai de stelschroef rechtsom om de rand van het ondermes dichter bij de messenkooi te brengen. Draai de stelschroef linksom om de afstand van de rand van het ondermes tot de messenkooi te vergroten.
-
Steek een lange strip maaiprestatiepapier (Toro onderdeelnr. 125-5610) tussen de messenkooi en het ondermes, loodrecht op het ondermes (Figuur 10) en draai vervolgens langzaam de messenkooi naar voren. De messenkooi moet in het papier snijden. Als de messenkooi niet in het papier snijdt, moet u alle stelschroeven van de snijbalk 1 slag rechtsom draaien en deze stap herhalen totdat de messenkooi wel in het papier snijdt.

Note: Als het contact tussen het ondermes en messenkooi te zwaar wordt, moet u de voorrand van het ondermes vernieuwen of het maaidek slijpen om de scherpe snijranden te krijgen die nodig zijn om met grote precisie te kunnen maaien (zie de handleiding Slijpen van Toro-maaimachine met messenkooien en roterende messen, documentnr. 09168SL).
De hoogte van de achterrol afstellen
Afhankelijk van het gewenste maaihoogtebereik moet u de beugels van de achterrol (Figuur 11 of Figuur 12) in de hoge of lage stand zetten:
-
Plaats het afstandsstuk boven de montageflens van de zijplaat (fabrieksinstelling) bij maaihoogte-instellingen van 1,5 mm tot 6 mm zoals getoond in Figuur 11.

-
Plaats het afstandsstuk onder de montageflens van de zijplaat bij maaihoogte-instellingen van 3 mm tot 25 mm zoals getoond in Figuur 12.

-
Hef de achterkant van het maaidek op en plaats een blok onder het ondermes.
-
Verwijder de 2 moeren waarmee de beugels van beide rollen en het afstandsstuk zijn bevestigd aan de montageflens van beide snijplaten.
-
Verwijder de rol en de schroeven uit de montageflenzen van de zijplaat en de afstandsstukken.
-
Plaats de afstandsstukken op de schroeven zoals gewenst, onder of boven de rolbeugels (Figuur 11 of Figuur 12).
-
Zet de beugel van de rol en afstandsstukken vast aan de onderkant van de montageflenzen met de schroeven die u eerder hebt verwijderd.
Note: De stand van de achterrol ten opzichte van de messenkooi wordt bepaald door de bewerkingstolerantie van de geassembleerde onderdelen en evenwijdig stellen is niet nodig.
De maaihoogte instellen
Gebruik onderstaande tabel om te bepalen welke snijplaat het best geschikt is voor de gewenste maaihoogte.
| Snijplaat | Onderdeelnr. | Maaihoogte |
| Edgemax Micro-cut (standaard) | 115-1880 | 1,5 tot 4,7 mm |
| Edgemax Tournament (optioneel) | 115-1881 | 3,1 tot 12,7 mm |
| Micro-cut (optioneel) | 93-4262 | 1,5 tot 4,7 mm |
| Tournament (optioneel) | 93-4263 | 3,1 tot 12,7 mm |
| Extended Micro-cut (optioneel) | 108-4303 | 1,5 tot 4,7 mm |
| Extended Tournament (optioneel) | 108-4302 | 3,1 tot 12,7 mm |
| Low-cut (optioneel) | 93-4264 | 4,7 tot 25,4 mm |
| High-cut (optioneel) | 94-6392 | 7,9 tot 25,4 mm |
| Fairway (optioneel) | 63-8600 | 9,5 tot 25,4 mm |
| Fairway EdgeMax (optioneel) | 112–7475 | 9,5 tot 25,4 mm |
Note: Voor maaihoogten van meer dan 9,5 mm moet de set voor een hoge maaistand worden gemonteerd.
De maaihoogtelat afstellen
Voordat u de maaihoogte gaat instellen, moet u als volgt de maaihoogtelat afstellen:
-
Draai de moer op de hoogtelat los en draai de stelschroef op de gewenste maaihoogte (Figuur 13).
Note: De afstand tussen de onderkant van de schroefkop en de lat is de maaihoogte.

-
Draai de moer vast.
De maaihoogte instellen
-
Draai de borgmoeren los waarmee de maaihoogtearmen zijn bevestigd aan de zijplaten van het maaidek (Figuur 14).

-
Haak de schroefkop van de maaihoogtelat aan de rechterkant van de zijrand van het ondermes en laat de achterzijde van de lat op de achterrol rusten (Figuur 15).

-
Draai aan de stelschroef totdat de rol contact maakt met de voorkant van de hoogtelat.
-
Herhaal stap 2 en 3 voor de linkerkant.
-
Stel beide uiteinden van de rol af totdat de hele rol evenwijdig aan het ondermes is.
Important: Bij een correcte afstelling zullen de achter- en voorrol contact maken met de hoogtelat en zal de schroef goed tegen het ondermes aan zitten. Hierdoor hebben beide uiteinden van het ondermes dezelfde maaihoogte.
-
Draai de moeren vast om ervoor te zorgen dat de afstelling geborgd is en de ring geen speling meer heeft.
-
Controleer of de maaihoogte-instelling correct is en herhaal indien nodig deze procedure.
De triminstelling wijzigen
Het maaidek beschikt over 6 triminstellingen die u kunt wijzigen naargelang de gazonomstandigheden. Begin met een instelling die overeenkomt met de maaihoogte-instelling, en test vervolgens het maaidek en pas de triminstelling aan om de gewenste maaikwaliteit te verkrijgen.
-
Schakel de machine als volgt uit:
-
Benzinemodellen: zet de motor af en maak de bougiekabel los.
-
Elektrische modellen: schakel de machine uit en koppel de accu af (T-handgreep).
-
-
Zet de flensbout los waarmee de riemkap bevestigd is en verwijder de riemkap zodat de riem zichtbaar wordt (Figuur 16).

-
Draai de moer van de lagerbehuizing los (Figuur 17).

-
Gebruik een sleutel van 16 mm om de lagerbehuizing te draaien zodat deze vrij kan bewegen.
-
Verwijder de riem (Figuur 17).
-
Gebruik de tabel op de sticker in Figuur 18 om de gewenste triminstelling te bepalen en na te gaan welke poelies u moet verwijderen.
Note: Elke poelie heeft een nummer: 22, 24 of 25. Verplaats de poelies naar de standen die de tabel aangeeft voor uw triminstelling.

-
Draai de 2 stelschroeven van elke poelie die u moet verplaatsen los. Gebruik een inbussleutel.
-
Verwijder de poelies.
-
Monteer alle poelies volgens de nieuwe configuratie op de sticker (Figuur 18).
Note: Zorg ervoor dat de stelschroeven van elke poelie uitgelijnd zijn met de spie en het platte oppervlak van de as.
-
Draai de stelschroeven vast met een torsie van 8,3 tot 8,9 N·m.
-
Monteer de riem.
-
Zorg ervoor dat de drukveer de riem onder spanning zet (Figuur 17).
-
Draai de moer van de lagerbehuizing vast.
-
Plaats de riemkap terug.
Stopbalk instellen
Stel de stopbalk af om ervoor te zorgen dat het maaisel op behoorlijke wijze wordt afgevoerd uit de omgeving van de messenkooi. Ga als volgt te werk:
Note: De balk kan worden aangepast om veranderingen in de gazonomstandigheden te compenseren. De afstand tussen de balk en de messenkooi moet worden verkleind als het gazon uitzonderlijk droog is. Als het gazon vochtig is, moet de afstand tussen de balk en de messenkooi echter vergroot worden. De balk moet evenwijdig aan de messenkooi zijn om de beste prestaties te verkrijgen. De balk moet altijd worden ingesteld als de messenkooi is geslepen.
-
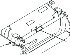
Draai de schroeven los waarmee de bovenbalk (Figuur 19) is gemonteerd aan het maaidek.

-
Steek een voelermaat van 1,5 mm tussen de bovenzijde van de messenkooi en de balk en draai vervolgens de schroeven vast.
Important: Zorg ervoor dat de afstand tussen de balk en de messenkooi over de gehele lengte van de messenkooi gelijk is.
Note: Stel de opening af indien dit nodig is voor de gazonomstandigheden.
Onderhoud van de snijbalk
Het onderhoud aan de snijbalk en snijplaat mag uitsluitend worden uitgevoerd door een goed opgeleide monteur om schade aan de messenkooi, snijbalk en snijplaat te voorkomen. In het ideale geval laat u het maaidek onderhouden door een erkende Toro-dealer. Zie de Onderhoudshandleiding van uw tractie-eenheid voor volledige instructies, speciaal gereedschap en schema's voor het onderhouden van het ondermes. Als u ooit zelf de snijbalk moet verwijderen of monteren, vindt u de instructies daarvoor hieronder en ook de specificaties voor het onderhoud van het ondermes.
Important: Volg bij onderhoudswerkzaamheden aan het ondermes altijd de procedures in de Onderhoudshandleiding. Als het ondermes niet correct wordt gemonteerd of geslepen, kan dit leiden tot schade aan de messenkooi, snijbalk en snijplaat.
De snijbalk verwijderen
-
Draai de stelschroef van de snijbalk linksom om de snijbalk weg te trekken van de messenkooi (Figuur 20).

-
Draai de veerspanningsmoer uit totdat de drukring niet meer tegen de snijbalk is geklemd (Figuur 20).
-
Draai de borgmoer van de snijbalkbout op beide zijden van de machine los (Figuur 21).

-
Verwijder beide snijbalkbouten zodat de snijbalk omlaag kan worden getrokken en uit het maaidek kan worden verwijderd (Figuur 21).
Bewaar de 2 nylon ringen en 1 stalen ring op beide uiteinden van de snijbalk (Figuur 22).

De snijbalk monteren
-
Plaats de snijbalk en zorg ervoor dat de montagelippen zich tussen de ringen en de stelschroef van de snijbalk bevinden (Figuur 20).
-
Zet de snijbalk vast aan beide zijplaten met de snijbalkbouten (moeren op de bouten) en 3 ringen (6 in totaal).
-
Plaats een nylon ring aan beide zijden van de naaf van de zijplaat. Plaats een stalen ring op de buitenkant van beide nylon ringen (Figuur 22).
-
Draai de bouten van de snijbalk vast met een torsie van 27 tot 36 N·m.
-
Draai de borgmoeren vast tot de buitenste stalen ringen net kunnen worden gedraaid met de hand, maar er geen eindspeling is. De ringen aan de binnenkant mogen speelruimte hebben.
Important: Draai de borgmoeren niet te vast of de zijplaten worden vervormd.
-
Draai de veerspanningsmoer vast totdat de veer is ingedrukt; draai deze vervolgens een 1/2 slag terug (Figuur 23).

-
Stel het contact tussen het ondermes en de messenkooi af, zie Contact tussen snijplaat en messenkooi afstellen.
Specificaties ondermes
Montage van het ondermes
-
Verwijder roest, aanslag , en corrosie met een schraper van het oppervlak van de snijbalk.
-
Smeer een dun laagje olie op het oppervlak van de snijbalk voordat u het ondermes monteert.
-
Zorg ervoor dat de schroefdraad van de schroeven van de snijbalk schoon is.
-
Monteer de nieuwe schroeven (5/16–18UNC–2A) om het ondermes aan de snijbalk te bevestigen. Draai ze nog niet vast. Breng anti-seize smeermiddel aan op de schroefdraad van de schroeven.
Important: Breng geen anti-seize smeermiddel aan op de versmalling van de schroefkoppen.
-
Gebruik een momentsleutel en het schroefgereedschap voor het ondermes (TOR510880) om de 2 buitenste schroeven vast te draaien tot 1 Nm.
-
Volg de volgorde in Figuur 24 en draai de schroeven vast met een torsie van 25,4 Nm.

-
Slijp het ondermes na montage.
De messenkooi voorbereiden om te slijpen
-
Zorg ervoor dat alle onderdelen van de maai-eenheid in goede staat zijn en herstel problemen voordat u gaat slijpen.
-
Volg de instructies van de fabrikant van de messenkooislijper om de messenkooi te slijpen volgens de volgende specificaties.
Specificaties voor het slijpen van de messenkooi Nieuwe diameter messenkooi 128,5 mm Onderhoudslimiet diameter messenkooi 114,3 mm Vrijloophoek van mes 30° ± 5° Breedte mesvlak 1,0 mm Bereik van breedte mesvlak 0,8 tot 1,2 mm Onderhoudslimiet versmalling diameter messenkooi 0,25 mm
Hoekslijpen van de messenkooi
De nieuwe messenkooi heeft een platte zijkant van 1,3 tot 1,5 mm en een hoek van 30 graden.
Wanneer de platte zijkant groter dan 3 mm wordt, doe dan het volgende:
-
Slijp alle messen onder een hoek van 30 graden tot de platte zijkant 1,3 mm breed is (Figuur 25).

-
Draaislijp de messenkooi tot de onregelmatigheid van de messen niet meer dan 0,025 mm bedraagt.
Note: Hierdoor wordt de platte zijkant een beetje groter.
-
Stel de maai-eenheid in; raadpleeg de Gebruikershandleiding van uw maai-eenheid.
Note: Om de messenkooi en de snijplaat langer scherp te houden - na het slijpen van de messenkooi en/of de snijplaat - controleert u het contact tussen de messenkooi en de snijplaat opnieuw nadat u 2 fairways gemaaid hebt; bramen zullen immers worden verwijderd, wat onjuiste speling tussen de messenkooi en de snijplaat tot gevolg kan hebben en de slijtage kan versnellen.
Specificaties voor het slijpen van het ondermes

| Vrijloophoek standaard ondermes | 3° minimaal |
| Vrijloophoek verlengd ondermes | 7° minimaal |
| Bereik hoek voorzijde | 13° tot 17° |
De bovenste slijphoek controleren
De hoek die u gebruikt om uw ondermessen te slijpen is erg belangrijk.
Gebruik de hoekindicator (Toro onderdeelnr. 131-6828) en de steun van de hoekindicator (Toro onderdeelnr. 131-6829) om de hoek die uw slijpmachine produceert te controleren en corrigeer vervolgens de onnauwkeurigheid van de slijpmachine.
-
Plaats de hoekindicator op de onderkant van het ondermes zoals getoond in Figuur 27.

-
Druk op de knop alt zero op de hoekindicator.
-
Plaats de steun van de hoekindicator op de rand van het ondermes zodat de rand van de magneet aansluit op de rand van het ondermes (Figuur 28).
Note: De digitale display dient tijdens deze stap zichtbaar te zijn van dezelfde zijde als in stap 1.

-
Plaats de hoekindicator op de steun zoals getoond in Figuur 28.
Note: Dit is de hoek die uw slijpmachine produceert, en deze dient niet meer dan 2 graden te verschillen van de aanbevolen bovenste slijphoek.
Het maaidek wetten
Gevaar
Contact met de messenkooi of andere bewegende onderdelen kan lichamelijk letsel veroorzaken.
Houd vingers, handen of kleding uit de buurt van de messenkooien of andere bewegende onderdelen.
-
Blijf op een afstand van de messenkooi tijdens het wetten.
-
U wordt geadviseerd bij het wetten geen borstel met een korte steel te gebruiken. Een complete set stelen (onderdeelnr. 29-9100 ) of losse stelen zijn verkrijgbaar bij een erkende Toro-dealer.
-
Plaats de machine op een schoon, horizontaal oppervlak, laat de maaidekken neer, zet de motor af, stel de parkeerrem in werking en verwijder het sleuteltje uit het contact.
-
Verwijder de messenkooimotoren van de maaidekken, koppel de maaidekken los en verwijder deze van de hefarmen.
-
Sluit de wetmachine aan op het maaidek door een vierkant stuk van 3/8" in de gesleufde koppeling aan het uiteinde van het maaidek te steken.
Note: Aanvullende instructies en procedures met betrekking tot wetten kunt u vinden in de Gebruikershandleiding en de Handleiding Slijpen van Toro-maaimachine met messenkooien en roterende messen, documentnr. 80-300PT.
Note: Voor een betere snijrand moet u de voorkant van het ondermes en de messenkooi bijvijlen als u klaar bent met wetten. Hiermee verwijdert u bramen of ruwe randen die kunnen zijn ontstaan op de snijrand.









