Kunnossapito
Note: Koneen vasen ja oikea puoli määritellään normaalista käyttöasennosta käsin.
Leikkuuyksikön tukeminen
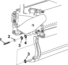
Jos leikkuuyksikköä on kallistettava kiinteän terän / kelan esiin saamiseksi, nosta leikkuuyksikön takaosa siten, että runkopalkin säätöruuvien takaosan mutterit eivät nojaa työpintaan (Kuva 8).

Kiinteän terän ja kelan kosketuksen säätö
Kiinteän terän päivittäinen säätö
Ennen ruohonleikkuuta (päivittäin tai tarvittaessa) on tarkistettava, että kiinteän terän ja kelan kosketus on oikea. Suorita tämä toimenpide, vaikka leikkuujäljen laatu on hyväksyttävä.
-
Laske leikkuuyksiköt tasaiselle alustalle, sammuta moottori ja irrota avain virtalukosta.
-
Pyöritä kelaa varovasti vastakkaiseen suuntaan ja kuuntele samalla, koskettaako kela kiinteään terään.
-
Jos kosketusta ei ole, säädä kiinteää terää seuraavalla tavalla:
-
Käännä runkopalkin säätöruuveja myötäpäivään (Kuva 9) yksi pykälä kerrallaan, kunnes lievä kosketus tuntuu ja kuuluu.
Note: Runkopalkin säätöruuvien hampaat vastaavat kiinteän terän 0,018 mm:n liikettä kussakin osoitetussa asennossa.

-
Aseta pitkä liuska leikkaustuloksen testauspaperia (Toro-osanro 125-5610) kelan ja kiinteän terän väliin kohtisuoraan kiinteän terän suhteen (Kuva 10). Kierrä sitten kelaa hitaasti eteenpäin. Sen pitäisi leikata paperia. Jos näin ei tapahdu, toista vaiheet 1 ja 2, kunnes kela leikkaa paperia.
-
-
Jos kosketus / kelan vastus on voimakas, voidaan joko läpätä, hioa kiinteän terän etureuna tai hioa leikkuuyksikkö, kunnes saadaan tarkassa leikkuussa tarvittavat terävät särmät (katso Toron opas Sharpening Reel and Rotary Mowers, lomakenro 09168SL).
Important: Suosittelemme jatkuvaa kevyttä kosketusta. Jos kevyttä kosketusta ei säilytetä, kiinteän terän / kelan särmät eivät teroitu riittävästi, ja leikkuusärmät tylsistyvät jonkin ajan kuluttua. Jos kosketus on jatkuvasti liian voimakas, kiinteä terä / kela kuluvat nopeammin ja epätasaisesti, jolloin leikkuulaatu saattaa heikentyä.
Note: Kun kelaterät käyvät jatkuvasti kiinteää terää vasten, leikkuusärmän etupinnalle muodostuu jäystettä kiinteän terän koko pituudelle. Leikkuujälkeä voi parantaa poistamalla ajoittain jäysteet etureunasta viilaamalla.Pitkään jatkuneen käytön jälkeen kiinteän terän molempiin päihin muodostuu harjanne. Pyöristä tai hio nämä pykälät samalle tasolle kiinteän terän leikkuusärmän kanssa, jotta laite toimisi tasaisesti.
-
Kiinteän terän kohdistus kelaan
Noudata näitä ohjeita leikkuuyksikön alkuasennuksen ja kelan hionnan, läppäyksen tai purkamisen jälkeen. Tämä ei ole päivittäinen säätö.
-
Aseta leikkuuyksikkö tasaiselle työskentelyalustalle.
-
Tuo kiinteä terä ja kela esiin kallistamalla leikkuuyksikköä.
Note: Varmista, että runkopalkin säätöruuvien takaosan mutterit eivät ole työpintaa vasten (Kuva 8).
-
Käännä kelaa siten, että yksi teristä ylittää kiinteän terän särmän ensimmäisen ja toisen kiinteän terän ruuvin kannan välissä leikkuuyksikön oikealla puolella.
-
Merkitse terä kohdassa, jossa se ylittää kiinteän terän särmän.
Note: Tämä helpottaa myöhempien säätöjen tekemistä.
-
Aseta 0,05 mm:n välilevy merkityn terän ja kiinteän terän särmän väliin kohdassa, joka on merkitty vaiheessa 4.
-
Käännä runkopalkin oikeanpuoleista säätöruuvia, kunnes tunnet kevyen paineen välilevyssä, kun liikutat sitä sivulta toiselle (Kuva 9). Irrota välilevy.
-
Siirry leikkuuyksikön vasemmalle puolelle ja käännä kelaa hitaasti siten, että lähin terä ylittää kiinteän terän särmän ensimmäisen ja toisen ruuvin kannan välistä.
-
Toista vaiheet 4–6 leikkuuyksikön vasemmalla puolella ja runkopalkin vasemmanpuoleiselle säätöruuville.
-
Toista vaiheet 5 ja 6, kunnes tunnet kontaktikohdissa kevyen vastuksen sekä leikkuuyksikön oikealla että vasemmalla puolella.
-
Luo kelan ja kiinteän terän välille kevyt kosketus kääntämällä kumpaakin runkopalkin säätöruuvia myötäpäivään kolme pykälää.
Note: Yksi runkopalkin säätöruuvin pykälä liikuttaa kiinteää terää 0,018 mm. Älä kiristä säätöruuveja liikaa.Säätöruuvin myötäpäivään kääntäminen siirtää kiinteän terän reunaa lähemmäksi kelaa. Säätöruuvin vastapäivään kääntäminen siirtää kiinteän terän reunaa kauemmaksi kelasta.
-
Aseta pitkä liuska leikkaustuloksen testauspaperia (Toro-osanro 125-5610) kelan ja kiinteän terän väliin kohtisuoraan kiinteän terän suhteen (Kuva 10). Kierrä sitten kelaa hitaasti eteenpäin. Sen pitäisi leikata paperia. Jos näin ei tapahdu, käännä jokaista runkopalkin säätöruuvia myötäpäivään yhden pykälän verran ja toista tämä vaihe, kunnes kela leikkaa paperia.

Note: Jos kosketus / kelan vastus on voimakas, voidaan joko läpätä, hioa kiinteän terän etureuna tai hioa leikkuuyksikkö, kunnes saadaan tarkassa leikkuussa tarvittavat terävät särmät (katso Toron opas Sharpening Reel and Rotary Mowers, lomakenro 09168SL).
Takarullan korkeuden säätö
Säädä takarullan kannattimet (Kuva 11 tai Kuva 12) ylempään tai alempaan asentoon halutun leikkuukorkeuden mukaan:
-
Aseta välikappale sivulevyn kiinnityslaipan yläpuolelle (tehdasasetus), kun leikkuukorkeusasetus on 1,5–6 mm, kuvan mukaisesti (Kuva 11).

-
Aseta välikappale sivulevyn kiinnityslaipan alapuolelle, kun leikkuukorkeusasetus on 3–25 mm kuvan mukaisesti (Kuva 12).

-
Nosta leikkuuyksikön takaosa ja aseta kiinteän terän alle puukappale.
-
Irrota kaksi mutteria, joilla rullan kannattimet ja välikappaleet on kiinnitetty sivulevyn kiinnityslaippoihin.
-
Laske rulla ja ruuvit sivulevyn kiinnityslaipoista ja välikappaleista.
-
Aseta välikappaleet tarpeen mukaan rullan kannattimien ylä- tai alapuolella oleviin ruuveihin (Kuva 11 tai Kuva 12).
-
Kiinnitä rullan kannatin ja välikappaleet kiinnityslaippojen alapuolelle aiemmin irrotetuilla muttereilla.
Note: Takarullan kohdistus kelaan määräytyy kokoonpanon osien työstötoleranssien mukaan, ja kohdistusta ei tarvitse tehdä.
Leikkuukorkeuden säätö
Valitse halutulle leikkuukorkeudelle sopivin kiinteä terä seuraavan taulukon avulla.
| Kiinteä terä | Osanro | Leikkuukorkeus |
| Edgemax-mikroleikkuu (vakio) | 115-1880 | 1,5–4,7 mm |
| Edgemax Tournament (lisävaruste) | 115-1881 | 3,1–12,7 mm |
| Mikroleikkuu (lisävaruste) | 93-4262 | 1,5–4,7 mm |
| Tournament (lisävaruste) | 93-4263 | 3,1–12,7 mm |
| Pitkä mikroleikkuu (lisävaruste) | 108-4303 | 1,5–4,7 mm |
| Pitkä Tournament (lisävaruste) | 108-4302 | 3,1–12,7 mm |
| Matalaleikkuu (lisävaruste) | 93-4264 | 4,7–25,4 mm |
| Korkealeikkuu (lisävaruste) | 94-6392 | 7,9–25,4 mm |
| Väyläleikkuu (lisävaruste) | 63-8600 | 9,5–25,4 mm |
| Fairway EdgeMax (lisävaruste) | 112–7475 | 9,5–25,4 mm |
Note: Jos leikkuukorkeus on yli 9,5 mm, asenna suuren leikkuukorkeuden välineet.
Leikkuukorkeuden mittarin säätö
Aseta leikkuukorkeuden mittari seuraavalla tavalla ennen leikkuukorkeuden säätöä:
-
Löysää mittapalkin mutteria ja aseta säätöruuvi haluamaasi leikkuukorkeuteen (Kuva 13).
Note: Ruuvin kannan alaosan ja palkin etupuolen välinen etäisyys ilmaisee leikkuukorkeuden.

-
Kiristä mutteri.
Leikkuukorkeuden säätö
-
Löysää lukkomuttereita, jotka kiinnittävät leikkuukorkeusvarret leikkuuyksikön sivulevyihin (Kuva 14).

-
Kiinnitä leikkuukorkeuden mittarin ruuvin kanta kiinteän terän leikkuureunaan oikealle puolelle ja aseta palkin takapää takarullalle (Kuva 15).

-
Pyöritä säätöruuvia, kunnes rulla koskettaa mittapalkin etuosaa.
-
Toista vaiheet 2 ja 3 vasemmalle puolelle.
-
Säädä rullan molempia päitä, kunnes koko rulla on yhdensuuntainen kiinteän terän kanssa.
Important: Kun asetus on oikein, etu- ja takarullat koskettavat mittapalkkia ja ruuvi on tiiviisti kiinteää terää vasten. Näin varmistetaan, että leikkuukorkeus on sama kiinteän terän kummassakin päässä.
-
Lukitse säätö kiristämällä muttereita sen verran, että aluslaatassa ei ole välystä.
-
Varmista, että leikkuukorkeuden asetus on oikea. Toista menettely tarvittaessa.
Leikkuuasetuksen säätö
Leikkuuyksikössä on kuusi leikkuuasetusta, jotka voi säätää nurmiolosuhteiden mukaan. Aloita säätämällä leikkuuasetus ensin leikkuukorkeuden mukaan. Tämän jälkeen leikkuuyksikköä on testattava ja leikkuuasetusta säädettävä halutun leikkuujäljen mukaan.
-
Sammuta kone seuraavasti:
-
Bensiiniyksiköt: sammuta moottori ja irrota sytytystulpan johto.
-
Sähköyksiköt: katkaise koneesta virta ja irrota akun kytkentä (T-liitin).
-
-
Avaa hihnasuojusta kiinnittävä laippakantapultti ja irrota hihnasuojus, jotta hihna tulee näkyviin (Kuva 16).

-
Löysää laakeripesän mutteria (Kuva 17).

-
Kierrä laakeripesää 16 mm:n (5/8 tuuman) kiintoavaimella ja varmista, että se pyörii esteettä.
-
Irrota hihna (Kuva 17).
-
Määritä haluttu leikkuuasetus ja siirrettävät hihnapyörät tarran taulukon (Kuva 18) avulla.
Note: Hihnapyörät on numeroitu (22, 24 ja 25). Siirrä hihnapyörät taulukossa osoitettuihin sijainteihin leikkuuasetuksen mukaan.

-
Löysää siirrettävien hihnapyörien kahta säätöruuvia kuusioavaimella.
-
Irrota hihnapyörät.
-
Asenna hihnapyörät uuteen asetukseen tarran mukaan (Kuva 18).
Note: Varmista, että hihapyörien säätöruuvit ovat kohdakkain kiilan ja akselin tasaisen alueen kanssa.
-
Kiristä säätöruuvit momenttiin 8,3–8,9 N·m.
-
Asenna hihna.
-
Varmista, että painejousi kiristää hihnaa (Kuva 17).
-
Kiristä laakeripesän mutteri.
-
Asenna hihnasuojus paikalleen.
Leikkuutangon säätö
Säädä leikkuutanko seuraavasti, jotta leikkuujätteet poistuisivat siististi kelan alueelta:
Note: Tankoa voidaan säätää vastaamaan nurmen olosuhteissa tapahtuvia muutoksia. Tanko on säädettävä lähemmäs kelaa, kun nurmi on erittäin kuivaa. Vastaavasti tanko on säädettävä kauemmas kelasta, kun nurmi on märkää. Tangon on oltava yhdensuuntainen kelan kanssa, jotta lopputulos olisi paras mahdollinen. Säädä se, kun kela on teroitettu hiomalla.
-
Löysää ruuveja, jotka kiinnittävät ylätangon leikkuuyksikköön (Kuva 19).

-
Aseta 1,5 mm:n (0,060 tuuman) rakotulkki kelan yläosan ja tangon väliin ja kiristä sitten ruuvit.
Important: Varmista, että tangon ja kelan etäisyys pysyy samana koko kelan pituudelta.
Note: Säädä väliä tarvittaessa nurmen olosuhteiden mukaan.
Runkopalkin huolto
Vain asianmukaisesti koulutettu mekaanikko saa huoltaa runkopalkin ja kiinteän terän, jotta kela, runkopalkki tai kiinteä terä eivät vaurioidu. Leikkuuyksikkö on paras huollattaa valtuutetulla Toro-jälleenmyyjällä. Kattavat ohjeet, erikoistyökalut ja kaaviot kiinteän terän huoltoon ovat ajoyksikön huolto-oppaassa. Jos runkopalkki on irrotettava tai koottava itse, alla on tähän ohjeet sekä lisäksi kiinteän terän huoltotiedot.
Important: Noudata huolto-oppaan kiinteän terän huoltomenettelyä sitä huollettaessa. Jos kiinteää terää ei asenneta ja hiota oikein, kela, runkopalkki tai kiinteä terä saattavat vaurioitua.
Runkopalkin irrotus
-
Käännä runkopalkin säätöruuvia vastapäivään, jotta kiinteä terä siirtyy etäämmälle kelasta (Kuva 20).

-
Löysää jousen kiristysmutteria, kunnes aluslaatta ei ole enää painunut runkopalkkia vasten (Kuva 20).
-
Löysää runkopalkin pultin lukkomutteria koneen molemmilta puolilta (Kuva 21).

-
Irrota kaikki runkopalkin pultit, jotta runkopalkki voidaan vetää alaspäin ja irrottaa leikkuuyksiköstä (Kuva 21).
Ota talteen kaksi nailonista aluslaattaa ja yksi teräsaluslaatta runkopalkin kummastakin päästä (Kuva 22).

Runkopalkin kokoaminen
-
Asenna runkopalkki asettamalla asennuskorvakkeet aluslaattojen ja runkopalkin säätöruuvien väliin (Kuva 20).
-
Kiinnitä runkopalkki molempiin sivulevyihin runkopalkin pulteilla (pulteissa mutterit) ja kolmella aluslaatalla (kuusi yhteensä).
-
Aseta nailoninen aluslaatta sivulevyn keskiön kummallekin puolelle. Aseta teräksinen aluslaatta jokaisen nailonisen aluslaatan ulkopuolelle (Kuva 22).
-
Kiristä runkopalkin pultit momenttiin 27–36 N m.
-
Kiristä lukkomuttereita, kunnes teräsaluslaattojen päittäisvälys katoaa, mutta niitä voidaan kääntää käsin. Sisäpuolella olevissa aluslaatoissa saa olla rako.
Important: Älä kiristä lukkomuttereita liikaa, sillä muuten sivulevyt voivat taipua.
-
Kiristä jousen kiristysmutteria, kunnes jousi on painunut kokoon, ja löysää sitten mutteria puoli kierrosta (Kuva 23).

-
Säädä kiinteä terä kelaan. Katso kohta Kiinteän terän ja kelan kosketuksen säätö.
Kiinteän terän tiedot
Kiinteän terän asennus
-
Poista ruoste, karsta ja korroosio kaapimella runkopalkin pinnasta.
-
Öljyä runkopalkin pinta kevyesti ennen kiinteän terän asennusta.
-
Varmista, että kaikki runkopalkin ruuvikierteet ovat puhtaita.
-
Kiinnitä kiinteä terä runkopalkkiin asentamalla uudet ruuvit (5/16–18UNC–2A), mutta älä kiristä niitä. Levitä lukkiintumisenestoainetta ruuvien kierteisiin.
Important: Älä levitä lukkiintumisenestoainetta ruuvien kantojen kaventumiin.
-
Kiristä kaksi ulompaa ruuvia momenttiin 1 N·m momenttiavaimella ja kiinteän terän ruuvaustyökalulla (TOR510880).
-
Noudata kuvan järjestystä ja kiristä ruuvit momenttiin 25,4 N·m (Kuva 24).

-
Hio kiinteä terä asennuksen jälkeen.
Kelan valmistelu hiomista varten
-
Varmista, että kaikki leikkuuyksikön osat ovat kunnossa, ja korjaa mahdolliset ongelmat ennen hiomista.
-
Noudata kelahiomakoneen valmistajan ohjeita ja hio leikkuukela seuraavien määritysten mukaan.
Kelan hiomistiedot Uusi kelan läpimitta 128,5 mm Kelan läpimitan huoltoraja 114,3 mm Terän takakulma 30° ± 5° Terän kierreleveys 1,0 mm Terän kierreleveyden alue 0,8–1,2 mm Kelan läpimitan kaventuman huoltoraja 0,25 mm
Kelan takatahkoaminen
Uudessa kelassa on 1,3–1,5 mm:n kierreleveys ja 30 asteen takatahkous.
Kun kierreleveys on suurempi kuin 3 mm, on tehtävä seuraavat toimenpiteet:
-
Tee kaikkiin kelan lehtiin 30 asteen takatahkous, kunnes kierreleveys on 1,3 mm (Kuva 25).

-
Hio kelaa, kunnes sen jättö on <0,025 mm.
Note: Tämä kasvattaa hieman kierreleveyttä.
-
Säädä leikkuuyksikkö. Katso lisätietoja leikkuuyksikön käyttöoppaasta.
Note: Kelan ja kiinteän terän leikkuureunan pysymistä terävänä voi pidentää tarkistamalla kelan ja/tai kiinteän terän hionnan jälkeen kelan ja kiinteän terän kosketuksen uudelleen kahden väylän leikkaamisen jälkeen. Tämä poistaa mahdolliset jäysteet, jotka voivat aiheuttaa virheellisen kelan ja kiinteän terän välyksen ja siten nopeuttaa kulumista.
Kiinteän terän hiomistiedot

| Vakiomallisen kiinteän terän takakulma | Vähintään 3° |
| Jatketun kiinteän terän takakulma | Vähintään 7° |
| Etukulman alue | 13–17° |
Yläosan hiontakulman tarkistus
Kiinteän terän hiontakulma on erittäin tärkeä.
Hiontalaitteen kulma on tarkistettava kulman osoittimella (Toro-osanro 131-6828) ja kulman osoittimen kiinnittimellä (Toro-osanro 131-6829) ja mahdollinen epätarkkuus on korjattava.
-
Aseta kulman osoitin kiinteän terän alaosaan kuvan mukaisesti (Kuva 27).

-
Paina kulman osoittimen Alt Zero -painiketta.
-
Aseta kulman osoittimen kiinnitin kiinteän terän reunaan siten, että magneetin reuna kiinnittyy kiinteän terän reunaan (Kuva 28).
Note: Digitaalinäytön tulee näkyä samalta puolelta tämän vaiheen aikana kuin vaiheessa 1.

-
Aseta kulman osoitin kiinnittimeen kuvan mukaisesti (Kuva 28).
Note: Tämä on hiontalaitteen kulma, joka saa poiketa enintään kaksi astetta suositellusta yläosan hiontakulmasta.
Leikkuuyksikön läppäys
Hengenvaara
Kelan tai muiden liikkuvien osien koskettaminen saattaa johtaa loukkaantumiseen.
Pidä sormet, kädet ja vaatteet etäällä keloista ja muista liikkuvista osista.
-
Pysy etäällä kelasta, kun läppäät.
-
Älä koskaan käytä läppäykseen lyhytvartista pensseliä. Osanro 29-9100 kahvakokoonpano kokonaisuudessaan tai sen yksittäisiä osia on saatavana valtuutetuilta Toro-jälleenmyyjiltä.
-
Pysäköi kone puhtaalle tasaiselle alustalle, laske leikkuuyksiköt alas, sammuta moottori, kytke seisontajarru ja irrota avain virtalukosta.
-
Irrota kelamoottorit leikkuuyksiköistä sekä irrota ja poista leikkuuyksiköt nostovarsista.
-
Kytke läppäyskone leikkuuyksikköön asettamalla 9,5 mm:n neliölevy uraliitokseen leikkuuyksikön päähän.
Note: Lisäohjeita läppäyksestä ja siihen liittyvistä menettelyistä on ajoyksikön käyttöoppaassa ja Toro Sharpening Reel & Rotary Mowers -oppaassa, lomakenro 80-300PT.
Note: Saat paremman leikkuusärmän, jos pyyhkäiset kiinteän terän ja kelan etusivua viilalla läppäyksen jälkeen. Tämä poistaa mahdolliset jäysteet ja särmät, joita on saattanut muodostua leikkuusärmään.









