Mantenimiento
Note: Los lados derecho e izquierdo de la máquina se determinan desde la posición normal del operador.
Soporte de la unidad de corte
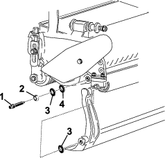
Cuando sea necesario inclinar la unidad de corte para tener acceso a la contracuchilla/el molinete, apoye la parte trasera de la unidad de corte para asegurarse de que las tuercas de los tornillos de ajuste de la barra de asiento no estén apoyadas en la superficie de trabajo (Figura 8).

Ajuste del contacto entre la contracuchilla y el molinete
Ajuste diario de la contracuchilla
Cada día, antes de segar, o cuando sea necesario, compruebe el contacto entre la contracuchilla y el molinete. Realice este procedimiento aunque la calidad de corte sea aceptable.
-
Baje las unidades de corte sobre una superficie dura, pare el motor y retire la llave de contacto.
-
Gire el molinete lentamente en dirección contraria, escuchando el ruido del contacto entre molinete y contracuchilla.
-
Si no se nota ningún contacto, ajuste la contracuchilla como se indica a continuación:
-
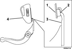
Gire los tornillos de ajuste de la barra de asiento en sentido horario (Figura 9), un clic a la vez, hasta que se note y se oiga un contacto ligero.
Note: Los tornillos de ajuste de la barra de asiento tienen trinquetes; cada posición corresponde a un movimiento de la contracuchilla de 0,018 mm.

-
Inserte una tira larga de papel de prueba del rendimiento de corte (Pieza Toro Nº 125-5610) entre el molinete y la contracuchilla, perpendicular a la contracuchilla (Figura 10), y gire el molinete lentamente hacia adelante; debe cortar el papel. Si no lo hace, repita los pasos 1 y 2 hasta que corte el papel.
-
-
Si se nota una resistencia excesiva del molinete, realice un autoafilado, rectifique la cara delantera de la contracuchilla, o amuele la unidad de corte, para conseguir los filos necesarios para un corte de precisión (consulte el Manual de afilado de molinetes de Toro, Impreso Nº 09168SL).
Important: Es preferible tener un contacto ligero en todo momento. Si no se mantiene dicho contacto ligero, los filos de la contracuchilla/molinete no se afilarán lo suficiente y después de cierto tiempo de uso, quedarán romos. Si se mantiene un contacto excesivo, el desgaste de contracuchilla/molinete será acelerado, puede haber un desgaste desigual, y la calidad de corte puede verse afectada negativamente.
Note: A medida que giran las cuchillas del molinete contra la contracuchilla, aparecerá una ligera rebaba en la superficie delantera del filo de corte, en toda la longitud de la contracuchilla. Pase una lima de vez en cuando sobre el borde delantero para eliminar esta rebaba y mejorar la calidad de corte.Después de un uso prolongado, se desarrollará una muesca en ambos extremos de la contracuchilla. Estas muescas deben ser redondeadas o limadas a ras del filo de corte de la contracuchilla para asegurar una operación suave.
-
Ajuste de la contracuchilla contra el molinete
Utilice este procedimiento durante la configuración inicial de la unidad de corte, y después de amolar, autoafilar o desmontar el molinete. Este no es un ajuste diario.
-
Coloque la máquina en una superficie de trabajo plana y nivelada.
-
Incline la unidad de corte para tener acceso a la contracuchilla y el molinete.
Note: Asegúrese de que las tuercas de la parte de atrás de los tornillos de ajuste de la barra de asiento no descansan sobre la superficie de trabajo (Figura 8).
-
Gire el molinete hasta que una de las cuchillas cruce el filo de la contracuchilla entre la cabeza del primer tornillo de la contracuchilla y la cabeza del segundo tornillo, situado en el lado derecho de la unidad de corte.
-
Haga una marca de identificación en la cuchilla, en el punto en que cruza el filo de la contracuchilla.
Note: Esto facilitará los ajustes posteriores.
-
Inserte un suplemento de 0,05 mm entre la cuchilla y el filo de la contracuchilla, en el punto marcado en el paso 4.
-
Gire el tornillo de ajuste derecho de la barra de asiento (Figura 9) hasta que note una ligera presión en el suplemento al moverlo de un lado a otro. Retire el suplemento.
-
En el lado izquierdo de la unidad de corte, gire el molinete lentamente hasta que la cuchilla más próxima cruce el filo de la contracuchilla entre las cabezas del primer y segundo tornillo.
-
Repita los pasos 4 a 6 con el lado izquierdo de la unidad de corte y el tornillo de ajuste izquierdo de la barra de asiento.
-
Repita los pasos 5 y 6 hasta que haya una ligera presión en los puntos de contacto en los lados derecho e izquierdo de la unidad de corte.
-
Para obtener un contacto ligero entre el molinete y la contracuchilla, gire cada tornillo de ajuste de la barra de asiento 3 'clics' en sentido horario.
Note: Cada clic del tornillo de ajuste de la barra de asiento desplaza la contracuchilla 0,018 mm. No apriete demasiado los tornillos de ajuste.Al girar el tornillo de ajuste en sentido horario, se acerca la contracuchilla al molinete. Al girar el tornillo de ajuste en sentido antihorario, se aleja la contracuchilla al molinete.
-
Inserte una tira larga de papel de prueba del rendimiento de corte (Pieza Toro Nº 125-5610) entre el molinete y la contracuchilla, perpendicular a la contracuchilla (Figura 10), y gire el molinete lentamente hacia adelante; debe cortar el papel. Si no lo hace, gire cada tornillo de ajuste de la barra de asiento 1 clic en sentido horario y repita este paso hasta que corte el papel.

Note: Si se nota una resistencia excesiva del molinete, realice un autoafilado, rectifique la cara delantera de la contracuchilla, o amuele la unidad de corte, para conseguir los filos necesarios para un corte de precisión (consulte el Manual de afilado de molinetes de Toro, Impreso Nº 09168SL).
Ajuste de la altura del rodillo trasero
Dependiendo del intervalo de alturas de corte deseado, será necesario ajustar los soportes del rodillo trasero (Figura 11 o Figura 12) a la posición superior o inferior:
-
Coloque el espaciador encima de la brida de montaje de la chapa lateral (ajuste de fábrica) para obtener un intervalo de alturas de corte de 1,5 a 6 mm, como se muestra en la Figura 11.

-
Coloque el espaciador debajo de la brida de montaje de la chapa lateral para alturas de corte de 3 mm a 25 mm, según se muestra en Figura 12.

-
Eleve la parte trasera de la unidad de corte y coloque un bloque debajo de la contracuchilla.
-
Retire las 2 tuercas que sujetan cada soporte de rodillo con sus espaciadores a las bridas de montaje de las chapas laterales.
-
Separe el rodillo y los tornillos de las bridas de montaje de las chapas laterales y los espaciadores.
-
Coloque los espaciadores sobre los tornillos, encima o debajo de los soportes de los rodillos, según sea necesario (Figura 11 o Figura 12).
-
Vuelva a sujetar los soportes de los rodillos y los espaciadores a la parte inferior de las bridas de montaje con las tuercas que se retiraron anteriormente.
Note: La posición del rodillo trasero respecto al molinete es controlada por las tolerancias de mecanizado de los componentes ensamblados, y no requiere ajuste de paralelismo.
Ajuste de la altura de corte
Utilice la tabla siguiente para determinar qué contracuchilla se adapta mejor a la altura de corte deseada.
| Contracuchilla | Nº de pieza | Altura de corte |
| Microcorte EdgeMax (de serie) | 115-1880 | 1,5 a 4,7 mm |
| Competición Edgemax (opcional) | 115-1881 | 3,1 a 12,7 mm |
| Microcorte (Opcional) | 93-4262 | 1,5 a 4,7 mm |
| Competición (opcional) | 93-4263 | 3,1 a 12,7 mm |
| Microcorte extendida (opcional) | 108-4303 | 1,5 a 4,7 mm |
| Competición extendida (opcional) | 108-4302 | 3,1 a 12,7 mm |
| Corte bajo (Opcional) | 93-4264 | 4,7 a 25,4 mm |
| Corte alto (Opcional) | 94-6392 | 7,9 a 25,4 mm |
| Calle (Opcional) | 63-8600 | 9,5 a 25,4 mm |
| EdgeMax para calles (opcional) | 112–7475 | 9,5 a 25,4 mm |
Note: Para alturas de corte de más de 9,5 cm, instale el Kit de altura de corte alta.
Ajuste del indicador de altura de corte
Antes de ajustar la altura de corte, ajuste el indicador de altura de corte como se indica a continuación:
-
Afloje la tuerca de la barra de ajuste y ajuste el tornillo para la altura de corte deseada (Figura 13).
Note: La distancia entre la cara inferior de la cabeza del tornillo y la cara de la barra es la altura de corte.

-
Apriete la tuerca.
Ajuste de la altura de corte
-
Afloje las contratuercas que sujetan los brazos de altura de corte a las chapas laterales de la unidad de corte (Figura 14).

-
Enganche la cabeza del tornillo del indicador de altura de corte sobre el lado derecho del filo de la contracuchilla y apoye el extremo trasero de la barra sobre la parte trasera del rodillo (Figura 15).

-
Gire el tornillo de ajuste hasta que el rodillo entre en contacto con la barra de ajuste.
-
Repita los pasos 2 y 3 en el lado izquierdo.
-
Ajuste ambos extremos del rodillo hasta que el rodillo esté paralelo a la contracuchilla en toda su longitud.
Important: Con el ajuste correcto, los rodillos delantero y trasero tocarán la barra de ajuste y el tornillo estará apretado contra la contracuchilla. Esto asegura una altura de corte idéntica en ambos extremos de la contracuchilla.
-
Apriete las tuercas para fijar el ajuste lo suficiente para eliminar la holgura de la arandela.
-
Compruebe que la altura de corte es correcta; repita este procedimiento si es necesario.
Ajuste de la frecuencia de corte
Puede utilizar una de seis frecuencias de corte en la unidad de corte, dependiendo de las condiciones de su césped. Empiece ajustando la frecuencia de corte para que corresponda con la altura de corte, pero luego pruebe la unidad de corte y ajuste la frecuencia para obtener la calidad de corte deseada.
-
Desconecte la máquina de la forma siguiente:
-
Unidades de gasolina: pare el motor y desconecte el cable de la bujía.
-
Unidades eléctricas: apague la máquina y desenchufe el conector de la batería (asa en T).
-
-
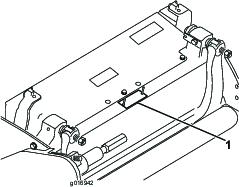
Afloje el perno que sujeta la cubierta de la correa y retire la cubierta de la correa para tener acceso a la correa (Figura 16).

-
Afloje la tuerca del alojamiento del cojinete (Figura 17).

-
Usando una llave de 16 mm (⅝"), gire el alojamiento del cojinete para verificar que funciona libremente.
-
Retire la correa (Figura 17).
-
Usando la tabla de la pegatina ilustrada en Figura 18, determine la frecuencia de corte deseada y las poleas que tendrá que reubicar.
Note: Cada polea está numerada (22, 24 y 25). Mueva las poleas a las posiciones indicadas en la tabla para la frecuencia de corte deseada.

-
Afloje los dos tornillos de fijación de cada polea que tiene que mover usando una llave hexagonal.
-
Retire cada polea.
-
Instale cada polea en la configuración nueva según lo indicado en la pegatina (Figura 18).
Note: Asegúrese de que los tornillos de fijación de cada polea están alineados con la chaveta y la zona plana de cada eje.
-
Apriete los tornillos de fijación a 8,3–8,9 N·m.
-
Instale la correa.
-
Asegúrese de que el muelle de compresión aplica tensión a la correa (Figura 17).
-
Apriete la tuerca del alojamiento del cojinete.
-
Instale la cubierta de la correa.
Ajuste de la barra de recortes
Ajuste la barra de recortes para que los recortes salgan limpiamente de la zona del molinete, de la forma siguiente:
Note: La barra es ajustable para compensar cambios en la condición del césped. Acerque la barra más al molinete si el césped está extremadamente seco. Por el contrario, aleje la barra más del molinete cuando el césped está húmedo. La barra debe estar paralela al molinete para un rendimiento óptimo. Debe ajustarse cada vez que se afila el molinete en una máquina de afilado.
-
Afloje los tornillos que sujetan la barra superior (Figura 19) a la unidad de corte.

-
Inserte una galga de 1,5 mm entre la parte superior del molinete y la barra, y luego apriete los tornillos.
Important: Asegúrese de que la barra y el molinete están separados por la misma distancia en toda la longitud del molinete.
Note: Ajuste el espacio según las condiciones del césped.
Mantenimiento de la barra de asiento
Solamente los mecánicos debidamente formados deben realizar el mantenimiento de la barra de asiento y de la contracuchilla, para evitar daños en el molinete, la contracuchilla o la barra de asiento. Lo ideal sería llevar la unidad de corte a su Distribuidor Toro Autorizado para el mantenimiento. Consulte el Manual de mantenimiento de su unidad de tracción para obtener instrucciones detalladas, herramientas especiales y diagramas para el mantenimiento de la contracuchilla. Si alguna vez necesita desmontar o montar la barra de asiento usted mismo, a continuación se ofrecen instrucciones, así como las especificaciones de mantenimiento de la contracuchilla.
Important: Siga siempre los procedimientos descritos en el Manual de mantenimiento al realizar el mantenimiento de la contracuchilla. Instalar o rectificar la contracuchilla de forma incorrecta puede provocar daños en el molinete, la contracuchilla o la barra de asiento.
Desmontaje de la barra de asiento
-
Gire el tornillo de ajuste de la barra de asiento en el sentido contrario a las agujas del reloj para alejar la contracuchilla del molinete (Figura 20).

-
Afloje la tuerca de tensado del muelle hasta que el muelle deje de presionar la arandela contra la barra de asiento (Figura 20).
-
En cada lado de la máquina, afloje la contratuerca que sujeta el perno de la barra de asiento (Figura 21).

-
Retire cada perno, para poder tirar de la barra hacia abajo y retirarla de la unidad de corte (Figura 21).
Guarde las 2 arandelas de nylon y la arandela de acero troquelado de cada extremo de la barra de asiento (Figura 22).

Ensamblaje de la barra de asiento
-
Instale la barra de asiento, posicionando las pestañas de montaje entre las arandelas y el tornillo de ajuste de la barra de asiento (Figura 20).
-
Sujete la barra de asiento a cada chapa lateral con los pernos de la barra (con tuercas en los pernos) y 3 arandelas (6 en total).
-
Coloque una arandela de nylon en cada lado del saliente de la chapa lateral. Coloque una arandela de acero por fuera de cada arandela de nylon (Figura 22).
-
Apriete los pernos de la barra de asiento a 27–36 N·m.
-
Apriete las contratuercas hasta que no quede holgura en las arandelas de acero, pero aún pueda girarlas a mano. Las arandelas del interior pueden tener cierta holgura.
Important: No apriete demasiado las contratuercas o desviarán las chapas laterales.
-
Apriete la tuerca de tensado del muelle hasta que el muelle esté comprimido del todo, luego aflójela 1/2 vuelta (Figura 23).

-
Ajuste la contracuchilla contra el molinete; consulte Ajuste del contacto entre la contracuchilla y el molinete.
Especificaciones de la contracuchilla
Instalación de la contracuchilla
-
Utilice un rascador para eliminar todo el óxido, las incrustaciones y la corrosión de la superficie de la barra de asiento.
-
Engrase ligeramente la superficie de la barra de asiento antes de instalar la contracuchilla.
-
Asegúrese de que las roscas de todos los tornillos de la barra de asiento están limpias.
-
Instale los tornillos pero no los apriete (5/16–18UNC–2A) para fijar la contracuchilla a la barra de asiento. Aplique compuesto antiadherente a las roscas de los tornillos.
Important: No aplique compuesto antiadherente al cono de las cabezas de los tornillos.
-
Con una llave de apriete y la herramienta de tornillos de contracuchilla (TOR510880), apriete los 2 tornillos externos a 1 N∙m.
-
Siguiendo el orden en la Figura 24, apriete los tornillos a 25,4 N∙m.

-
Realice el amolado de la contracuchilla tras la instalación.
Preparación del molinete para el amolado
-
Asegúrese de que todos los componentes de la unidad de corte están en condiciones óptimas y corrija cualquier problema antes del amolado.
-
Siga las instrucciones del fabricante de la máquina sobre el amolado del molinete para amolar la unidad de corte según las especificaciones indicadas a continuación.
Especificaciones de amolado del molinete Diámetro del nuevo molinete 128,5 mm Límite de ajuste de diámetro del molinete 114,3 mm Ángulo de rebajo de la cuchilla 30° ± 5° Anchura de superficie de incidencia de la cuchilla 1,0 mm Rango de anchura de superficie de incidencia de la cuchilla De 0,8 a 1,2 mm Límite de ajuste de cono de diámetro del molinete 0,25 mm
Amolado de rebajo del molinete
El nuevo molinete presenta una anchura de superficie de incidencia de entre 1,3 y 1,5 mm y un amolado de rebajo de 30°.
Si la superficie de incidencia supera los 3 mm de ancho, realice lo siguiente:
-
Afile todas las cuchillas con un rebajo de 30° hasta que la anchura de la superficie de incidencia sea de 1,3 mm (Figura 25).

-
Amole el molinete girándolo para lograr una excentricidad del molinete de <0,025 mm.
Note: Esto hace que aumente ligeramente la anchura de la superficie de incidencia.
-
Ajuste la unidad de corte; consulte el Manual del operador de la unidad de corte.
Note: Para que los filos del molinete y de la contracuchilla duren más, después de amolar el molinete y/o la contracuchilla, vuelva a comprobar el contacto entre el molinete y la contracuchilla después de segar 2 calles, porque esto eliminará la rebaba, posiblemente creando un contacto incorrecto entre el molinete y la contracuchilla y por tanto acelerando el desgaste.
Especificaciones de rectificado de la contracuchilla

| Ángulo de rebajo de la contracuchilla de serie | 3° mínimo |
| Ángulo de rebajo de la contracuchilla extendida | 7° mínimo |
| Ángulo delantero – rango | 13° a 17° |
Comprobación del ángulo de amolado superior
El ángulo que utilice para amolar las contracuchillas es muy importante.
Utilice el indicador de ángulo (Pieza Toro N.º 131-6828) y el soporte del indicador de ángulo (Pieza Toro N.º 131-6829) para comprobar el ángulo que produce la máquina de amolado y corrija cualquier imprecisión de dicha máquina.
-
Coloque el indicador de ángulo en el lateral inferior de la contracuchilla, tal y como se muestra en la Figura 27.

-
Pulse el botón Alt Zero en el indicador de ángulo.
-
Coloque el soporte del indicador de ángulo en el borde de la contracuchilla, de modo que el borde del imán coincida con el borde de la contracuchilla (Figura 28).
Note: La pantalla digital debe estar visible desde el mismo lado durante este paso, al igual que lo estaba en el paso 1.

-
Coloque el indicador de ángulo en el soporte, tal y como se muestra en la Figura 28.
Note: Este es el ángulo que produce la máquina de amolado y debe encontrarse en un margen de 2 grados del ángulo de amolado superior recomendado.
Autoafilado de la unidad de corte
Peligro
El contacto con el molinete u otras piezas en movimiento puede causar lesiones personales.
Mantenga las manos, los pies y la ropa alejados de los molinetes u otras piezas en movimiento.
-
Manténgase alejado del molinete durante el afilado.
-
No utilice nunca una brocha de mango corto para el afilado. Su Distribuidor Toro Autorizado dispone del conjunto completo de mango, Pieza Nº 29-9100, y de las piezas individuales.
-
Coloque la máquina en una superficie nivelada y limpia, baje las unidades de corte, pare el motor, ponga el freno de estacionamiento y retire la llave de contacto.
-
Retire los motores del molinete de las unidades de corte y desconecte y retire las unidades de corte de los brazos de elevación.
-
Conecte la máquina de autoafilado a la unidad de corte insertando una barra cuadrada de metal de 9,5 x 9,5 mm en el acoplamiento acanalado del extremo de la unidad de corte.
Note: El Manual del operador de la unidad de tracción y el Manual de Afilado de Cortacéspedes de Molinete y Giratorios de Toro, Impreso Nº 80-300PT, contienen instrucciones y procedimientos adicionales relacionados con el afilado.
Note: Para obtener un filo de corte mejor, pase una lima por la cara delantera de la contracuchilla y del molinete cuando se termine la operación de afilado. Esto eliminará cualquier rebaba o aspereza que pueda haber aparecido en el filo de corte.









