Údržba
Note: Levou a pravou stranu sekačky určete vzhledem k běžné provozní poloze.
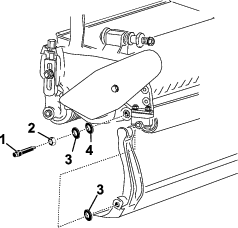
Podepření žací jednotky
Pokud potřebujete žací jednotku naklopit, abyste získali přístup k plochému noži či vřetenu, podepřete zadní stranu žací jednotky tak, aby matice na zadním konci seřizovacích šroubů držáku plochého nože nespočívaly na pracovním povrchu (Obrázek 8).

Seřízení kontaktu plochého nože a vřetene
Každodenní nastavení plochého nože
Před každým zahájením sekání, prováděným denně či podle potřeby, je nutné zkontrolovat správný kontakt vřetena a plochého nože. Tento postup proveďte, i když je kvalita sekání přijatelná.
-
Spusťte žací jednotky na pevný povrch, vypněte motor a vyjměte klíček ze zapalování.
-
Pomalu otáčejte vřetenem opačným směrem a poslechem kontrolujte kontakt vřetena a plochého nože.
-
Není-li patrný řádný kontakt, nastavte plochý nůž následujícím způsobem.
-
Otočte seřizovacími šrouby držáku plochého nože doprava (Obrázek 9) (vždy po jednom cvaknutí), dokud neucítíte a neuslyšíte lehký kontakt.
Note: Seřizovací šrouby držáku plochého nože mají aretaci odpovídající pohybu plochého nože o 0,018 mm pro jednu indexovanou polohu.

-
Vložte dlouhý pásu papíru pro kontrolu žacího výkonu (objednací číslo Toro 125-5610) mezi vřeteno a plochý nůž kolmo k plochému noži (Obrázek 10). Poté pomalu otočte vřeteno dopředu. Mělo by dojít k uříznutí papíru. Pokud se tak nestalo, opakujte krok 1 a 2, dokud se papír neuřízne.
-
-
Pokud je patrný nadměrný kontakt/odpor vřetena, žací jednotku buď přelapujte, povrchově upravte přední stranu plochého nože nebo přebruste žací jednotku, aby okraje byly ostré a docílilo se tak přesného sekání (viz Návod na broušení vřeten a rotačních sekaček Toro, formulář č. 09168SL).
Important: Za všech okolností je preferován lehký kontakt. Pokud není udržován lehký kontakt, nedochází k dostatečnému samočinnému broušení ostří plochého nože / vřetena a po určité době provozu dojde k jejich otupení. Pokud je kontakt nadměrný, dochází k rychlejšímu a nerovnoměrnému opotřebovávání plochého nože / vřetena a kvalita sekání může být nepříznivě ovlivněna.
Note: Jelikož žací nože vřetena působí na plochý nůž, objeví se na povrchu předního ostří mírné otřepení po celé délce plochého nože. Příležitostně odstraňte otřepení na předním ostří přetažením pilníku.Po delší době provozu se na obou koncích plochého nože mohou vytvořit rýhy. Tyto rýhy je nutné zaoblit nebo vybrousit a zarovnat s ostřím plochého nože, aby byl zajištěn bezproblémový provoz.
-
Seřízení plochého nože k vřetenu
Použijte tento postup při prvním nastavení žací jednotky a po nabroušení, přelapování nebo demontáži vřetene. Nejedná se o každodenní nastavování.
-
Umístěte žací jednotku na plochý vodorovný povrch.
-
Nakloňte žací jednotku, abyste získali přístup k plochému noži a vřetenu.
Note: Matice na zadní straně šroubů pro nastavení držáku plochého nože nesmí spočívat na pracovním povrchu (Obrázek 8).
-
Otočte vřetenem tak, aby jeden z žacích nožů překřížil hranu plochého nože mezi první a druhou hlavou šroubu plochého nože, nacházející se na pravé straně žací jednotky.
-
Na žacím noži si vyznačte identifikační značku v místě, kde se kříží s hranou plochého nože.
Note: Tím si usnadníte pozdější nastavování.
-
Mezi žací nůž a hranu plochého nože zasuňte 0,05mm podložku v místě, jež jste vyznačili v kroku 4.
-
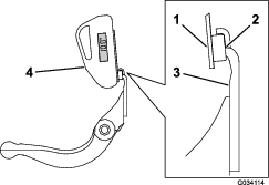
Otáčejte pravým seřizovacím šroubem držáku plochého nože (Obrázek 9), dokud neucítíte mírný tlak na podložku při jejím posunování z jedné strany na druhou. Vyjměte podložku.
-
Na levé straně žací jednotky pomalu otáčejte vřetenem tak, aby nejbližší žací nůž překřížil hranu plochého nože mezi hlavami prvního a druhého šroubu.
-
Opakujte kroky 4 až 6 na levé straně žací jednotky a u levého seřizovacího šroubu držáku plochého nože.
-
Opakujte kroky 5 a 6, dokud na stykové body na levé a pravé straně žací jednotky nebude působit mírný tlak.
-
Chcete-li dosáhnout volného kontaktu mezi vřetenem a plochým nožem, otočte každým seřizovacím šroubem držáku plochého nože ve směru hodinových ručiček o 3 cvaknutí.
Note: Každé cvaknutí seřizovacího šroubu držáku plochého nože posune plochý nůž o 0,018 mm. Seřizovací šrouby neutahujte nadměrně.Při otáčení seřizovacího šroubu ve směru hodinových ručiček se hrana plochého nože posunuje blíže ke vřetenu. Při otáčení seřizovacího šroubu proti směru hodinových ručiček se hrana plochého nože odsunuje od vřetena.
-
Vložte dlouhý pásu papíru pro kontrolu žacího výkonu (objednací číslo Toro 125-5610) mezi vřeteno a plochý nůž kolmo k plochému noži (Obrázek 10). Poté pomalu otočte vřeteno dopředu. Mělo by dojít k uříznutí papíru. Pokud se tak nestalo, otáčejte jednotlivými nastavovacími šrouby držáku žacího nože doprava o 1 cvaknutí a opakujte tento krok, dokud se papír neuřízne.

Note: Pokud je patrný nadměrný kontakt/odpor vřetena, žací jednotku buď přelapujte, povrchově upravte přední stranu plochého nože nebo přebruste žací jednotku, aby okraje byly ostré a docílilo se tak přesného sekání (viz Návod na broušení vřeten a rotačních sekaček Toro, formulář č. 09168SL).
Seřízení výšky zadního válce
V závislosti na požadovaném rozsahu výšky sekání je třeba nastavit držáky zadního válce (Obrázek 11 nebo Obrázek 12) do dolní nebo horní polohy:
-
Rozpěrku umístěte nad montážní přírubu boční desky (nastavení z výroby), je-li výška sekání nastavena v rozsahu 1,5–6 mm, viz Obrázek 11.

-
Umístěte rozpěrku pod montážní přírubu boční desky, je-li výška sekání nastavena v rozsahu 3–25 mm, viz Obrázek 12.

-
Zvedněte zadní stranu žací jednotky a podložte plochý nůž podpěrným blokem.
-
Demontujte 2 matice upevňující jednotlivé držáky válce a rozpěrky k montážním přírubám bočních desek.
-
Spusťte válec a šrouby z montážních přírub bočních desek a rozpěrek.
-
Rozpěrky umístěte podle potřeby na šrouby nad nebo pod držáky válce (Obrázek 11 nebo Obrázek 12).
-
Upevněte držák válce s rozpěrkami ke spodní straně montážních přírub pomocí dříve odšroubovaných matic.
Note: Poloha zadního válce k vřetenu je určována tolerancemi obroušení sestavených součástí a vyrovnání není nutné.
Seřízení výšky sekání
Pomocí následující tabulky lze určit vhodný plochý nůž pro požadovanou výšku sekání.
| Plochý nůž | Objednací číslo | Výška sekání |
| Edgemax Micro-cut (standardně) | 115-1880 | 1,5 až 4,7 mm |
| Edgemax Tournament (volitelně) | 115-1881 | 3,1 až 12,7 mm |
| Micro-cut (volitelně) | 93-4262 | 1,5 až 4,7 mm |
| Tournament (volitelně) | 93-4263 | 3,1 až 12,7 mm |
| Extended Micro-cut (volitelně) | 108-4303 | 1,5 až 4,7 mm |
| Extended Tournament (volitelně) | 108-4302 | 3,1 až 12,7 mm |
| Pro nízké sekání (volitelně) | 93-4264 | 4,7 až 25,4 mm |
| Pro vysoké sekání (volitelně) | 94-6392 | 7,9 až 25,4 mm |
| Pro ferveje (na přání) | 63-8600 | 9,5 až 25,4 mm |
| Pro ferveje EdgeMax (volitelně) | 112–7475 | 9,5 až 25,4 mm |
Note: V případě výšky sekání větší než 9,5 mm nainstalujte sadu pro vysokou výšku sekání.
Seřízení měřidla výšky sekání
Před nastavením výšky sečení seřiďte měřidlo výšky sekání následovně:
-
Povolte matici na stavěcí liště a nastavte seřizovací šroub na požadovanou výšku sekání (Obrázek 13).
Note: Vzdálenost mezi spodní stranou hlavy šroubu a lícem stavěcí lišty představuje výšku sekání.

-
Utáhněte matici.
Seřízení výšky sekání
-
Povolte pojistné matice upevňující ramena nastavení výšky sekání k bočním deskám žací jednotky (Obrázek 14).

-
Zavěste hlavu šroubu měřidla výšky sekání na pravou stranu řezné hrany plochého nože a opřete zadní konec stavěcí lišty o zadní stranu válce (Obrázek 15).

-
Otáčejte seřizovacím šroubem, až se válec dotkne přední strany stavěcí lišty.
-
Zopakujte kroky 2 a 3 na levé straně.
-
Seřiďte oba konce válce tak, aby byl celý válec rovnoběžný s plochým nožem.
Important: Při správném nastavení se zadní i přední válec budou dotýkat stavěcí lišty a šroub bude zarovnaný s plochým nožem. Tím zajistíte, že výška sekání bude na obou koncích plochého nože stejná.
-
Dostatečným dotažením matic zajistěte nastavení tak, aby podložka neměla žádnou vůli.
-
Přesvědčte se, zda je správně nastavena výška sečení a v případě potřeby zopakujte tento postup.
Nastavení stupně těsného obepnutí
Žací jednotka je vybavena šesti stupni těsného obepnutí, které můžete nastavit v souladu se stavem travnaté plochy. Stupeň těsného obepnutí nejprve nastavte podle výšky sekání, potom vyzkoušejte žací jednotku a upravte stupeň obepnutí, abyste dosáhli požadované kvality sekání.
-
Vypněte stroj následovně:
-
Benzínové jednotky: vypněte motor a odpojte kabel zapalovací svíčky.
-
Elektrické jednotky: Zastavte stroj a odpojte konektor baterie (rukojeť tvaru T).
-
-
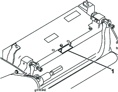
Povolte šroub s nákružkem, pomocí něhož je zajištěn kryt řemenu, a sejmutím krytu umožněte přístup k řemenu (Obrázek 16).

-
Povolte matici ložiskového pouzdra (Obrázek 17).

-
Pomocí klíče o velikosti 16 mm otočte ložiskovým pouzdrem a zkontrolujte, zda se volně pohybuje.
-
Demontujte řemen (Obrázek 17).
-
Pomocí tabulky na štítku na Obrázek 18 určete požadovaný stupeň těsného obepnutí a které řemenice chcete přemístit.
Note: Každá řemenice má číslo (22, 24 a 25). Řemenice přemístěte do poloh uvedených v tabulce pro nastavení stupně těsného obepnutí.

-
Pomocí imbusového klíče povolte dva stavěcí šrouby na každé řemenici, kterou chcete přemístit.
-
Řemenice demontujte.
-
Namontujte řemenice v novém uspořádání podle štítku (Obrázek 18).
Note: Stavěcí šrouby na každé řemenici musí být umístěny tak, aby byly vyrovnány s perem a ploškou na hřídeli.
-
Utáhněte stavěcí šrouby na utahovací moment 8,3 až 8,9 N·m.
-
Osaďte řemen.
-
Tlačná pružina musí napínat řemen (Obrázek 17).
-
Utáhněte matici ložiskového pouzdra.
-
Namontujte kryt řemene.
Seřízení lišty pro posekanou trávu
Nastavením lišty pro posekanou trávu zajistíte bezproblémový odklon posekané trávy z oblasti vřetena následovně:
Note: Lišta je nastavitelná a umožňuje kompenzaci změn stavu trávníku. Pokud je trávník extrémně suchý, nastavte lištu blíže k vřetenu. Naopak v případě mokrého trávníku nastavte lištu dále od vřetena. Lišta by měla být rovnoběžně s vřetenem, aby byl zajištěn optimální výkon. Nastavení proveďte až po naostření vřetene na vřetenové brusce.
-
Povolte šrouby upevňující horní lištu (Obrázek 19) k žací jednotce.

-
Vložte spárovou měrku o velikosti 1,5 mm mezi horní okraj vřetena a lištu, poté utáhněte šrouby.
Important: Lišta a vřeteno musí být od sebe stejně vzdáleny po celé délce vřetena.
Note: Podle potřeby nastavte vzdálenost podle typu trávníku.
Údržba držáku plochého nože
Údržbu držáku plochého nože a plochého nože smí provádět pouze řádně školený technik, aby nedošlo k poškození vřetene, držáku plochého nože nebo plochého nože. V ideálním případě nechejte údržbu žací jednotky provést u autorizovaného prodejce Toro. Úplné pokyny, potřebné zvláštní nářadí a obrázky pro údržbu držáku plochého nože naleznete v servisní příručce. Pokud budete demontovat nebo montovat držák plochého nože svépomocí, níže jsou uvedeny pokyny a specifikace pro údržbu držáku plochého nože.
Important: Při údržbě držáku plochého nože se vždy řiďte postupy uvedenými ve vaší servisní příručce. V případě nesprávné montáže a zabroušení plochého nože hrozí nebezpečí poškození vřetene, držáku plochého nože nebo plochého nože.
Demontáž držáku plochého nože
-
Otočením seřizovacího šroubu držáku plochého nože proti směru hodinových ručiček posuňte plochý nůž dále od vřetena (Obrázek 20).

-
Vyšroubujte matici pro napnutí pružiny, aby pružina netlačila podložku k držáku plochého nože (Obrázek 20).
-
Na obou stranách stroje povolte pojistnou matici zajišťující šroub držáku plochého nože (Obrázek 21).

-
Demontujte jednotlivé šrouby držáku plochého nože, aby bylo možné stáhnout držák plochého nože dolů a sejmout jej z žací jednotky (Obrázek 21).
Dávejte pozor na dvě nylonové a jednu ocelovou podložku na obou koncích držáku plochého nože (Obrázek 22).

Montáž držáku plochého nože
-
Namontujte držák plochého nože; montážní výstupky umístěte mezi podložky a seřizovací šroub držáku plochého nože (Obrázek 20).
-
Upevněte držák plochého nože k oběma bočním deskám pomocí šroubů držáku plochého nože (matice na šroubech) a 3 podložek (celkem 6).
-
Umístěte nylonovou podložku na obě strany výčnělku boční desky. Na vnější stranu nylonových podložek umístěte ocelovou podložku (Obrázek 22).
-
Šrouby držáku plochého nože utáhněte na utahovací moment 27 až 36 N·m.
-
Utáhněte pojistné matice tak, abyste eliminovali koncovou vůli na ocelových podložkách tak, aby s nimi bylo možné ručně otáčet. U podložek uvnitř může vzniknout mezera.
Important: Pojistné matice nadměrně neutahujte, jinak vychýlí boční desky.
-
Utáhněte matici pro napnutí pružiny, dokud nedojde ke stlačení pružiny, a poté ji povolte o 1/2 otáčky (Obrázek 23).

-
Proveďte seřízení plochého nože a vřetena, viz Seřízení kontaktu plochého nože a vřetene.
Specifikace plochého nože
Montáž plochého nože
-
Pomocí stěrky odstraňte z povrchu držáku plochého nože veškerou korozi a usazeniny.
-
Před montáží plochého nože mírně potřete povrch držáku plochého nože olejem.
-
Přesvědčte se, zda jsou všechny závity šroubů držáku plochého nože čisté.
-
Namontováním nových šroubů (5/16–18UNC–2A) připevněte plochý nůž k držáku plochého nože, šrouby však neutahujte. Na závity šroubů aplikujte přípravek proti zadírání.
Important: Přípravek proti zadírání nenanášejte na kuželové části hlav šroubů.
-
Pomocí momentového klíče a šroubového nástroje na plochý nůž (TOR510880) utáhněte dva vnější šrouby na utahovací moment 1 Nm.
-
V uvedeném pořadí (viz Obrázek 24) utáhněte šrouby na utahovací moment 25,4 Nm.

-
Po montáži plochý nůž zabruste.
Příprava vřetena na zabroušení
-
Před zabrušováním se přesvědčte, zda jsou všechny součásti žací jednotky v dobrém stavu, a odstraňte veškeré závady.
-
Zabroušení žacího vřetena na následující specifikace proveďte podle pokynů výrobce vřetenové brusky.
Pokyny k broušení vřetena Nový průměr vřetena 128,5 mm Provozní limit průměru vřetena 114,3 mm Úhel podbroušení nože 30° ± 5° Šířka krajní plochy nože 1,0 mm Rozmezí šířky krajní plochy nože 0,8 až 1,2 mm Provozní limit průměru kuželu vřetena 0,25 mm
Podbroušení vřetena
Nové vřeteno má šířku krajní plochy 1,3 až 1,5 mm a 30° podbroušení.
Pokud se šířka krajní plochy zvětší nad 3 mm, postupujte následovně:
-
Všechny nože vřetena podbruste na 30° tak, aby byla krajní plocha široká 1,3 mm (Obrázek 25.

-
Rotačním zbroušením vřetena dosáhnete házivost vřetena <0,025 mm.
Note: To způsobí mírný nárůst šířky krajní plochy.
-
Nastavte žací jednotku (viz provozní příručka k žací jednotce).
Note: Chcete-li zvýšit životnost ostří hrany vřetena a plochého nože – po zabroušení vřetena a/nebo plochého nože – po posečení 2 fervejí znovu zkontrolujte kontakt plochého nože a vřetena. Dojde tak k odstranění veškerých otřepů, které mohou způsobit nesprávnou vzdálenost mezi vřetenem a plochým nožem a tím rychlejší opotřebení.
Pokyny k broušení plochého nože

| Úhel podbroušení standardního plochého nože | 3° minimálně |
| Úhel podbroušení prodlouženého plochého nože | 7° minimálně |
| Rozsah předního úhlu | 13° až 17° |
Kontrola úhlu horního zbroušení
Úhel, pod kterým brousíte ploché nože, je velmi důležitý.
Pro kontrolu úhlu brusky použijte ukazatel úhlu (č. dílu Toro 131-6828) a úchyt ukazatele úhlu (č. dílu Toro 131-6829), a poté upravte veškeré odchylky brusky.
-
Ukazatel úhlu umístěte na spodní stranu plochého nože, viz Obrázek 27.

-
Na ukazateli úhlu stiskněte tlačítko Alt Zero“.
-
Držák ukazatele úhlu umístěte na hranu plochého nože tak, aby byla hrana magnetu slícovaná s okrajem plochého nože (Obrázek 28).
Note: Během tohoto kroku by měl být digitální displej vidět ze stejné strany jako v kroku 1.

-
Ukazatel úhlu umístěte na úchyt, viz Obrázek 28.
Note: Uvedená hodnota zachycuje úhel brusky. Ten by měl být v rozmezí 2 stupňů doporučeného horního zbroušení.
Přelapování žací jednotky
Nebezpečí
Při styku s vřetenem nebo jinými pohyblivými díly může dojít ke zranění osob.
Nepřibližujte prsty, ruce ani oděv k vřetenům ani jiným pohyblivým dílům.
-
Během přelapování se nepřibližujte k vřetenu.
-
K přelapování nepoužívejte kartáč s krátkou rukojetí. Sestava rukojeti, obj. č. 29-9100, je k dispozici celá nebo po jednotlivých dílech od autorizovaného distributora Toro.
-
Umístěte stroj na rovný povrch, spusťte žací jednotky na zem, vypněte motor, zatáhněte parkovací brzdu a vyjměte klíček ze zapalování.
-
Demontujte motory vřetene z žacích jednotek, odpojte žací jednotky od zvedacích ramen a vyjměte je.
-
Připojte přelapovací stroj k žací jednotce vložením kusu 9,5mm čtvercové oceli do drážkované spojky na konci žací jednotky.
Note: Další pokyny a postupy při přelapování jsou popsány v provozní příručce hnací jednotky a návodu na broušení vřeten a rotačních sekaček Toro, formulář č. 80-300PT.
Note: Chcete-li dosáhnout lepšího ostří, po přelapování přejeďte brouskem přes přední stranu plochého nože a vřeteno. Odstraníte tak otřepy a nerovnosti, které mohly na ostří vzniknout.









