Vedligeholdelse
Note: Maskinens venstre og højre side er som set fra den normale betjeningsposition.
Understøttelse af klippeenheden
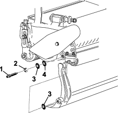
Når det er nødvendigt at vippe klippeenheden, så bundkniven/knivcylinderen kommer til syne, skal bagenden af klippeenheden understøttes for at sikre, at møtrikkerne på den bageste del af bundtværstangens justeringsskruer ikke hviler på arbejdsfladen (Figur 8).

Justering af kontakten mellem bundkniv og knivcylinder
Daglig justering af bundkniven
Før den daglige plæneklipning eller efter behov skal det undersøges, om der er nok kontakt mellem bundkniven og knivcylinderen. Denne procedure skal udføres, selv når klippekvaliteten er acceptabel.
-
Sænk klippeenhederne ned på en hård overflade, sluk motoren, og tag nøglen ud af tændingen.
-
Drej langsomt knivcylinderen i den modsatte retning, og lyt efter, hvornår der er kontakt mellem cylinderkniven og bundkniven.
-
Hvis der ikke er nogen kontakt, skal bundkniven justeres som følger.
-
Drej bundtværstangens justeringsskruer i urets retning (Figur 9) 1 klik ad gangen, indtil du hører og mærker let kontakt.
Note: Bundtværstangens justeringsskruer har låse, der svarer til en bevægelse af bundkniven på 0,018 mm for hver angivet position.

-
Indsæt en lang stribe klippeydelsespapir (Toro-delnr. 125-5610) mellem knivcylinderen og bundkniven vinkelret med bundkniven (Figur 10). Drej langsomt knivcylinderen fremad. Den bør klippe papiret. Hvis det ikke er tilfældet, skal du gentage trin 1 og 2, indtil den gør.
-
-
Hvis kontakten/knivcylinderens modstand er for stor, skal du baglappe, slibe bundknivens front eller slibe klippeenheden for at opnå de skarpe kanter, der er nødvendige til præcisionsklipning (se Toro-manualen om slibning af knivcylinderen og rotorplæneklippere, formularnr. 09168SL).
Important: Let kontakt er altid at foretrække. Hvis du ikke opretholder let kontakt, vil bundknivens/knivcylinderens kanter ikke slibe sig selv tilstrækkeligt, og der vil derfor opstå sløve kanter efter en vis tidsperiode. Hvis du opretholder for stor kontakt, vil slitagen på bundkniven/knivcylinderen optrappes, hvilket kan medføre ujævnt slid, og klippekvaliteten kan også blive negativt påvirket.
Note: Når cylinderens knive bliver ved med at løbe mod bundkniven, vil der vise sig lidt grat på den skarpe side langs hele bundkniven. Kør af og til en fil hen over forkanten for at fjerne grat og forbedre klipningen.Efter lang tids kørsel vil der dannes en kant i begge ender af bundkniven. Rund disse hakker af, eller fil dem ned, så de flugter med bundknivens skarpe side for at sikre jævn drift.
-
Justering af bundkniven mod knivcylinderen
Anvend denne procedure under den første opsætning af klippeenheden og efter slibning, baglapning eller afmontering af knivcylinderen. Det er ikke en daglig justering.
-
Placer klippeenheden på en flad og plan arbejdsflade.
-
Vip klippeenheden for at frilægge bundkniven og knivcylinderen.
Note: Sørg for, at møtrikkerne på den bageste del af bundtværstangens justeringsskruer ikke hviler mod arbejdsfladen (Figur 8).
-
Drej knivcylinderen, så én af skæreknivene krydser bundknivens kant mellem det første og det andet bundknivsskruehoved, som sidder på højre side af klippeenheden.
-
Sæt et mærke på skærekniven, der hvor den krydser bundknivens kant.
Note: Det gør det nemmere at foretage justeringer senere.
-
Indsæt et afstandsstykke på 0,05 mm mellem skærekniven og bundknivens kant på det punkt, der blev markeret i trin 4.
-
Drej den højre bundtværstangs justeringsskrue (Figur 9), indtil du mærker et let tryk på afstandsstykket, når det bevæges fra side til side. Fjern afstandsstykket.
-
I venstre side af klippeenheden skal du langsomt dreje knivcylinderen, så den skærekniv, der er tættest på, krydser bundknivens kant mellem første og anden hovedskrue.
-
Gentag trin 4 til 6 for venstre side af klippeenheden og venstre bundtværstangs justeringsskrue.
-
Gentag trin 5 og 6, indtil der er et let tryk på kontaktpunkterne på både venstre og højre side af klippeenheden.
-
Drej hver bundtværstangs justeringsskrue 3 klik med uret for at opnå let kontakt mellem knivcylinderen og bundkniven.
Note: Ved hvert klik på bundtværstangens justeringsskrue bevæger bundkniven sig 0,018 mm. Stram ikke justeringsskruerne for meget.Når justeringsskruen drejes med uret, bevæges bundknivens kant tættere på skærekniven. Når justeringsskruen drejes mod uret, bevæges bundknivens kant væk fra skærekniven.
-
Indsæt en lang stribe klippeydelsespapir (Toro-delnr. 125-5610) mellem knivcylinderen og bundkniven vinkelret med bundkniven (Figur 10). Drej langsomt knivcylinderen fremad. Den bør klippe papiret. Hvis det ikke er tilfældet, skal du dreje hver justeringsskrue på bundtværstangen 1 klik i urets retning og gentage dette trin, indtil den klipper papiret.

Note: Hvis kontakten/knivcylinderens modstand er for stor, skal du baglappe, slibe bundknivens front eller slibe klippeenheden for at opnå de skarpe kanter, der er nødvendige til præcisionsklipning (se Toro-manualen om slibning af knivcylinderen og rotorplæneklippere, formularnr. 09168SL).
Justering af bagrullens højde
Afhængigt af den ønskede klippehøjde skal du justere bagrullens holdere (Figur 11 eller Figur 12) til høj eller lav position:
-
Placer afstandsbøsningen over sidepladens monteringsflange (fabriksindstilling), når klippehøjdeindstillingerne ligger på 1,5 til 6 mm som vist i Figur 11.

-
Placer afstandsklodsen under sidepladens monteringsflange, når klippehøjdeindstillingerne er på 3 til 25 mm som vist i Figur 12.

-
Hæv den bageste del af klippeenheden, og placer en blok under bundkniven.
-
Fjern møtrikkerne (2), der fastgør hver rulleholder og afstandsklods til hver af sidepladens monteringsflanger.
-
Sænk rullen og skruerne fra sidepladens monteringsflanger og afstandsklodser.
-
Placer afstandsklodser på skruerne over eller under rulleholderne efter behov (Figur 11 eller Figur 12).
-
Fastgør rulleholderen og afstandsklodserne på undersiden af monteringsflangerne med de møtrikker, du fjernede tidligere.
Note: Bagrullens position i forhold til knivcylinderen styres af maskintolerancerne for de samlede komponenter, og synkronisering er ikke nødvendig.
Justering af klippehøjden
Brug følgende skema til at vurdere, hvilken bundkniv der egner sig bedst til den ønskede klippehøjde.
| Bundkniv | Delnr. | Klippehøjde |
| Edgemax-mikroklipning (standard) | 115-1880 | 1,5 til 4,7 mm |
| Edgemax Tournament (ekstraudstyr) | 115-1881 | 3,1 til 12,7 mm |
| Mikroklipning (ekstraudstyr) | 93-4262 | 1,5 til 4,7 mm |
| Tournament (ekstraudstyr) | 93-4263 | 3,1 til 12,7 mm |
| Forlænget mikroklipning (ekstraudstyr) | 108-4303 | 1,5 til 4,7 mm |
| Forlænget Tournament (ekstraudstyr) | 108-4302 | 3,1 til 12,7 mm |
| Lav klippehøjde (ekstraudstyr) | 93-4264 | 4,7 til 25,4 mm |
| Høj klippehøjde (ekstraudstyr) | 94-6392 | 7,9 til 25,4 mm |
| Fairway (ekstraudstyr) | 63-8600 | 9,5 til 25,4 mm |
| Fairway EdgeMax (ekstraudstyr) | 112–7475 | 9,5 til 25,4 mm |
Note: Ønskes klippehøjder på over 9,5 mm, skal du montere sættet til høj klippehøjde.
Justering af måleren til klippehøjden
Før du justerer klippehøjden, skal du indstille måleren til klippehøjden som følger:
-
Løsn møtrikken på målestangen, og indstil justeringsskruen til den ønskede klippehøjde (Figur 13).
Note: Afstanden mellem bunden af skruehovedet og stangens flade udgør klippehøjden.

-
Stram møtrikken.
Justering af klippehøjden
-
Løsn de låsemøtrikker, der fastgør klippehøjdearmene på klippeenhedens sideplader (Figur 14).

-
Hægt skruehovedet til måleren til klippehøjde på højre side af bundknivens æg, og lad den bageste ende af stangen hvile på bagrullen (Figur 15).

-
Drej justeringsskruen, indtil rullen rører ved målestangens forside.
-
Gentag trin 2 og 3 for venstre side.
-
Juster begge rullens ender, indtil hele rullen er parallel med bundkniven.
Important: Når indstillingen er korrekt, vil bag- og frontrullerne berøre målestangen, og skruen vil ligge pænt tæt op ad bundkniven. Således sikres det, at klippehøjden er den samme i begge ender af bundkniven.
-
Spænd møtrikkerne for at låse justeringen tilstrækkeligt til, at der ikke er slør i spændeskiven.
-
Kontroller, at klippehøjden har den korrekte indstilling. Gentag proceduren om nødvendigt.
Justering af klippeindstilling
Der er seks klippeindstillinger på klippeenheden, som kan indstilles efter plæneforholdene. Start med en klippeindstilling, der svarer til klippehøjden, men afprøv derefter klippeenheden, og juster klippeindstillingen til den ønskede klippekvalitet.
-
Sluk maskinen på følgende måde:
-
Benzindrevne enheder: Sluk motoren, og frakobl tændrørskablet.
-
Elektriske enheder: Sluk for maskinen, og afbryd batteristikket (T-håndtag).
-
-
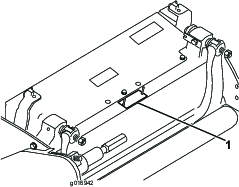
Løsn flangebolten, der fastgør remskærmen, og afmonter remskærmen, så remmen kommer til syne (Figur 16).

-
Løsn lejehusmøtrikken (Figur 17).

-
Brug en 16 mm skruenøgle til at dreje lejehuset for at sikre, at det bevæger sig frit.
-
Fjern remmen (Figur 17).
-
Ved hjælp af skemaet på mærkaten i Figur 18 bestemmes den ønskede klippeindstilling, og hvilke remskiver der skal flyttes.
Note: Hver remskive er nummereret (22, 24 og 25). Flyt remskiverne til de positioner, der er vist i skemaet for den ønskede klippeindstilling.

-
Løsn de to sætskruer på hver remskive, der er nødvendig at flytte, ved hjælp af en sekskantet nøgle.
-
Fjern hver remskive.
-
Monter hver remskive i den nye konfiguration, som vist på mærkaten (Figur 18).
Note: Sørg for, at sætskruerne på hver remskive er placeret, så de flugter med nøglen og det flade område på akslen.
-
Tilspænd sætskruerne til 8,3 til 8,9 Nm.
-
Monter remmen.
-
Sørg for, at fjedertrykket påfører spænding til bæltet (Figur 17).
-
Spænd lejehusmøtrikken.
-
Monter remskærmen.
Justering af klippestangen
Juster klippestangen for at sikre, at græsafklippet kastes ordentligt ud af knivcylinderen, som følger:
Note: Tværstangen kan justeres for at kompensere for forandringer i grønsværforholdene. Juster stangen, så den kommer tættere på knivcylinderen, når græsset er ekstremt tørt. Ved våde grønsværforhold skal tværstangen derimod flyttes længere væk fra cylinderen. Stangen skal være parallel med cylinderen for at sikre en optimal ydeevne. Juster den, efter knivcylinderen slibes på knivcylindersliberen.
-
Løsn skruerne, som fastholder den øverste stang (Figur 19) til klippeenheden.

-
Indsæt en søgelære på 1,5 mm mellem den øverste del af knivcylinderen og tværstangen, og stram skruerne.
Important: Sørg for, at afstanden mellem tværstangen og cylinderen er lige stor over hele cylinderen.
Note: Juster mellemrummet i henhold til plæneforholdene.
Serviceeftersyn af bundtværstangen
Bundtværstangen og bundkniven må kun efterses af en korrekt uddannet mekaniker for at forhindre beskadigelse af knivcylinderen, bundtværstangen eller bundkniven. Ideelt bør du få klippeenheden efterset hos en autoriseret Toro-forhandler. Du kan finde de fuldstændige anvisninger, oplysninger om særlige redskaber og diagrammer vedrørende serviceeftersyn af bundtværstangen i servicevejledningen for din traktionsenhed. Hvis du på et tidspunkt får brug for selv at fjerne eller montere bundtværstangen, er der anvisninger og specifikationer vedrørende serviceeftersyn af bundkniven herunder.
Important: Følg altid procedurerne for bundkniven, der er beskrevet i servicevejledningen, når du efterser bundkniven. Hvis bundkniven ikke monteres og slibes på korrekt vis, kan det beskadige knivcylinderen, bundtværstangen eller bundkniven.
Afmontering af bundtværstangen
-
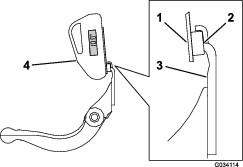
Drej bundtværstangens justeringsskrue mod uret for at føre bundkniven væk fra knivcylinderen (Figur 20).

-
Før fjederspændingsmøtrikken bagud, indtil skiven ikke længere sidder stramt mod bundtværstangen (Figur 20).
-
Løsn den låsemøtrik, som fastgør bundtværstangens bolt, på hver side af maskinen (Figur 21).

-
Afmonter bundtværstangens bolte, så bundtværstangen kan trækkes nedad og fjernes fra klippeenheden (Figur 21).
Der skal være to nylonspændeskiver og en stålspændeskive på hver ende af bundtværstangen (Figur 22).

Montering af bundtværstangen
-
Monter bundtværstangen, idet monteringsørerne placeres mellem spændeskiverne og bundtværstangens justeringsskrue (Figur 20).
-
Fastgør bundtværstangen på hver sideplade med bundtværstangens bolte (møtrikker på bolte) og 3 spændeskiver (6 i alt).
-
Placer en nylonspændeskive på hver side af sidepladens nav. Anbring en stålskive på ydersiden af hver nylonskive (Figur 22).
-
Tilspænd bundtværstangens bolte til 27-36 N∙m.
-
Stram låsemøtrikkerne, indtil endesløret er fjernet fra spændeskiverne af stål, men du stadig kan dreje dem med hånden. Indvendige skiver har muligvis et mellemrum.
Important: Overspænd ikke låsemøtrikkerne, da du risikerer, at de bøjer sidepladerne.
-
Stram fjederspændingsmøtrikken, indtil fjederen er trykket sammen, og derefter ud igen med en halv omgang (Figur 23).

-
Juster bundkniven mod knivcylinderen. Se Justering af kontakten mellem bundkniv og knivcylinder.
Specifikationer for bundkniven
Montering af bundkniv
-
Brug en skraber til at fjerne al rust, afskallet materiale og korrosion fra bundtværstangens overflade.
-
Smør lidt olie på bundtværstangens overflade, inden bundkniven monteres.
-
Sørg for, at alle gevind på bundtværstangens skruer er rene.
-
Monter, men undlad at stramme, de nye skruer (5/16–18UNC–2A), der fastgør bundkniven til bundtværstangen. Påfør anti-seize-middel på skruernes gevind.
Important: Påfør ikke anti-seize-middel på skruehovedernes konus.
-
Brug en momentnøgle og bundknivens skrueværktøj (TOR510880) til at stramme de 2 yderste skruer til et moment på 1 Nm.
-
Følg rækkefølgen, der vises i Figur 24, og stram skruerne til et moment på 25,4 Nm.

-
Slib bundkniven efter montering.
Klargøring af knivcylinder til slibning
-
Sørg for, at alle klippeenhedens komponenter er i god stand, og afhjælp eventuelle problemer inden slibning.
-
Følg anvisninger fra producenten af cylinderslibemaskinen, og slib knivcylinderen til følgende specifikationer.
Specifikationer for knivcylinderslibning Ny knivcylinderdiameter 128,5 mm Knivcylinderdiameterens servicegrænse 114,3 mm Skæreknivens frigangsvinkel 30° ± 5° Skæreknivens gængebredde 1,0 mm Område for skæreknivens gængebredde 0,8 til 1,2 mm Servicegrænse for knivcylinderdiameterens konus 0,25 mm
Bagslibning af knivcylinderen
Den nye knivcylinder har en gængebredde på 1,3 til 1,5 mm og en 30 graders bagslibning.
Hvis gængebredden overskrider 3 mm i bredden, skal følgende udføres:
-
Foretag en 30 graders bagslibning på alle cylinderknive, indtil gængebredden er 1,3 mm (Figur 25.

-
Vinkelslib knivcylinderne for at opnå et cylinderudløb på <0,025 mm.
Note: Dette vil udvide gængebredden en smule.
-
Juster klippeenheden. Se klippeenhedens betjeningsvejledning.
Note: For at forlænge knivcylinderens og bundknivens skarphed – efter slibning af knivcylinderen og/eller bundkniven – skal du kontrollere knivcylinderens kontakt med bundkniven igen efter klipning af 2 fairways, eftersom eventuelle grater fjernes og kan skabe forkert afstand mellem knivcylinder og bundkniv med skærpet slid til følge.
Specifikationer for slibning af bundkniven

| Standard bundkniv, frigangsvinkel | mindst 3° |
| Forlænget bundkniv, frigangsvinkel | mindst 7° |
| Frontvinkels område | 13° til 17° |
Kontrol af slibevinkel for den øverste bundkniv
Vinklen, som du bruger til at slibe bundknivene med, er meget vigtig.
Brug vinkelindikatoren (Toro-delnr. 131-6828) og vinkelindikatorbeslaget (Toro-delnr. 131-6829) til at kontrollere og eventuelt rette vinklen.
-
Placer vinkelindikatoren på undersiden af bundkniven som vist i Figur 27.

-
Tryk på Alt Zero-knappen på vinkelindikatoren.
-
Placer vinkelindikatorbeslaget på kanten af bundkniven, så magnetens kant er afstemt i forhold til bundknivens kant (Figur 28).
Note: Det digitale display skal kunne aflæses fra samme side under dette trin som i trin 1.

-
Placer vinkelindikatoren på beslaget som vist i Figur 28.
Note: Dette er vinklen, som din slibemaskine producerer, og den bør være inden for 2 grader af den anbefalede slibevinkel for den øverste bundkniv.
Baglapning af klippeenheden
Fare
Berøring af knivcylinderen eller andre bevægelige dele kan medføre personskader.
Hold fingre, hænder og beklædningsgenstande væk fra knivcylindrene eller andre bevægelige dele.
-
Hold afstand til knivcylinderen under baglapningen.
-
Der må under ingen omstændigheder bruges en kortskaftet børste til baglapning. Delnr. 29-9100, komplette eller individuelle håndtagsdele, kan fås hos din lokale, autoriserede Toro-forhandler.
-
Placer maskinen på en ren, plan flade, sænk klippeenhederne, stop motoren, aktiver parkeringsbremsen, og tag nøglen ud af tændingen.
-
Fjern cylindermotorerne fra klippeenhederne, kobl klippeenhederne fra løftearmene, og fjern dem.
-
Slut baglapningsmaskinen til klippeenheden ved at indsætte en kvadratisk blok på 9,5 mm i notkoblingen i klippeenhedens ende.
Note: Der findes yderligere instruktioner om og fremgangsmåder for baglapning i betjeningsvejledningen for din traktionsenhed og Toro-manualen om slibning af knivcylindere og rotorplæneklippere, formularnr. 80-300PT.
Note: For at få et bedre skær skal der føres en fil hen over forsiden af bundkniven og knivcylinderen, når baglapningen er afsluttet. Derved fjernes eventuel grat eller ru kanter, som kan være blevet dannet på skæret.









