![]() |
任何潜在危险区附近均贴有操作员清晰可见的安全标贴和说明。更换受损或丢失的标贴。 |



将机器停在水平地面上。
接合驻车刹车。
关闭发动机并拔下钥匙。

使用吊运装置吊起塑料货斗。
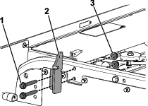
从支撑杆上卸下 3 个凸缘头螺丝(5/16 x 英寸),从支撑杆上卸下 U 形架(Figure 2)。
Note: 保留五金件,以备以后安装塑料货斗。

将支撑杆向前滑出止动槽,然后卸下(Figure 3)。

使用吊运装置放下货斗。
从机器后部的枢轴支架拧下 2 个枢轴螺栓( x 4 英寸)和 2 个锁紧螺母( 英寸)(Figure 4)。
Note: 保留所有五金件,以备安装后向座椅的 1 中的平板组件安装之用。

松开货斗操纵杆,然后用吊运装置吊起并卸下货斗。
如Figure 5 所示,卸下 4 个凸缘头螺丝( x 2 英寸)和 4 个螺母( 英寸),从而将 2 个货斗闩锁从机器机架上卸下。
Note: 保留 2 个凸缘头螺丝( x 2 英寸)和 2 个螺母( 英寸),以备在安装后向座椅中第 1 的平板组件安装之用。保留剩余五金件,以备以后安装塑料货斗。

此程序中需要的物件:
| 平板 | 1 |
| 搁脚板 | 1 |
| 托架螺栓( x 3 英寸) | 10 |
| 六角螺母 ( 英寸) | 17 |
| 圆头螺丝( x 1 英寸) | 7 |
| 后座椅扶手 | 1 |
| 压紧箍带 | 1 |
| 埋头螺丝( 英寸) | 2 |
| 锁紧螺母( 英寸) | 2 |
| 侧轨 | 2 |
| 铆钉 | 10 |
| 橡胶垫 | 8 |
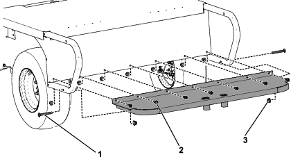
用之前在卸下塑料货斗的步骤 6 和 8 中卸下的 2 个枢轴螺栓( x 4 英寸)、2 个锁紧螺母( 英寸)、2 个凸缘头螺丝( x 2 英寸)和 2 个螺母( 英寸),将平板安装到机器机架上。请参阅Figure 6。

如Figure 7 所示,用 2 个托架螺栓( x 3 英寸)、7 个圆头螺丝( x 1 英寸)和 9 个六角螺母( 英寸)将搁脚板连接到平板上。

把 4 个橡胶套环安装到后座椅扶手上(Figure 8 中的 A)。
把 2 个埋头螺丝( 英寸)和 2 个锁紧螺母( 英寸)安装到后座椅扶手上(Figure 8 中的 B)。
使压紧箍带穿过搁脚板的底部(Figure 8 中的 C)。
将后座椅扶手安装到搁脚板上(Figure 8 中的 D)。
向上拉压紧箍带并绕到埋头螺丝上,将后座椅扶手固定到搁脚板上(Figure 8 中的 E)。

如Figure 9 所示,用 8 个托架螺栓( x 3 英寸)和 8 个六角头螺母( 英寸)将侧轨安装到平板组件。

如Figure 10 所示,把 4 个橡胶套环安装到座椅底座的边缘。

将座椅组件安装到平板上,将平板上的孔与铰链中的孔对齐,将铆钉座椅组件固定到平板上(Figure 11)。

此程序中需要的物件:
| 标贴 120-0625 | 2 |
| 标贴 138-5554 | 2 |
使用如Figure 15 中所示的测量值将 2 个夹点警告标贴(120-0625)和 2 个翻车危险标贴(138-5554)粘贴到后向座椅框架上。
