Техника безопасности

Наклейки с правилами техники безопасности и инструкциями

Graphic

. .

decal120-0625
decal138-5554
decal138-9231

Сборка

  1. .

  2. .

  3. .

g038447

  1. , .

  2. 3 (5/16 x ) U- (Figure 2).

    Note: , .

    g244196
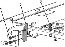
  3. , , (Figure 3).

    g037393
  4. , .

  5. ( x 4) () , (Figure 4).

    Note: , 1 , .

    g037303
  6. , .

  7. , 4 ( x 2 ) 4 ( ), Figure 5.

    Note: 2 ( x 2 ) 2 ( ) , 1 , . , .

    g243577

,

Детали, требуемые для этой процедуры:

1
1
( x 3 )10
( )17
( x 1 )7
1
1
( )2
( )2
2
10
8
  1. 2 ( x 4), 2 ( ), 2 ( x 2 ) 2 ( ), 68. . Figure 6.

    g243601
  2. 2 ( x 3 ), 7 ( x 1 ) 9 ( ), Figure 7.

    g243647
  3. 4 ( Figure 8).

  4. 2 () 2 () ( Figure 8).

  5. ( Figure 8).

  6. ( D Figure 8).

  7. , ( Figure 8).

    g243744
  8. 8 ( x 3) 8 ( ), Figure 9.

    g258079
  9. 4 , Figure 10.

    g258080
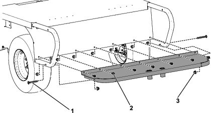
  10. , , (Figure 11).

    g243870

,

  1. , , (Figure 12).

  2. , (Figure 12).

    g244241
  3. (Figure 13).

    g244252
  4. , Figure 14.

    Note: .

    g244254

Детали, требуемые для этой процедуры:

120-06252
138-55542

(120-0625) (138-5554) , , , Figure 15.

g258505