![]() |
Sikkerhetsmerker og -instruksjoner er lett synlige for freren og er plassert i nrheten av alle omrder som representerer en potensiell fare. Skift ut alle merker som er delagte eller mangler. |



Parker maskinen p en jevn flate.
Sett p parkeringsbremsen.
Sl av motoren og ta ut nkkelen.

Bruk en kran til heve lasteplanet i plast.
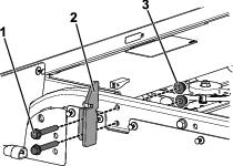
Fjern de tre flenshodeskruene (5/16xtomme) og U-braketten fra stttestangen (Figure 2).
Note: Ta vare p delene for kunne montere plastlasteplanet i fremtiden.

Skyv stttestangen forover ut av sperresporet, og fjern stttestangen (Figure 3).

Bruk en kran til senke lasteplanet.
Fjern de to svingboltene (1/2x 41/2tomme) og de to lsemutterne (1/2tomme) fra svingbraketten plassert bak p maskinen (Figure 4).
Note: Ta vare p monteringsdelene for montering av lasteplanenheten i 1 i Montere det bakovervendte setet.

Frigjr lasteplanspaken, dernest lft og fjern lasteplanet ved hjelp av en kran.
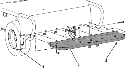
Fjern de to planlsene fra maskinrammen ved fjerne de fire flenshodeskruene (x2tomme) og de fire mutrene (tomme), som vist i Figure 5.
Note: Ta vare p to flenshodeskruer (x 2tomme) og to muttere (tomme) for montering av lasteplanenheten i trinn 1 i Montere det bakovervendte setet. Ta vare p delene hvis du vil montere plastlasteplanet i fremtiden.

Deler som er nødvendige for dette trinnet:
| Lasteplan | 1 |
| Fotsttte | 1 |
| Lsebolt (x 3tommer) | 10 |
| Sekskantmutter (tomme) | 17 |
| Skrue med halvrundt hode (x 1tomme) | 7 |
| Bakre setehndtak | 1 |
| Festestropp | 1 |
| Forsenket skrue (tomme) | 2 |
| Lsemutter (1/4tomme) | 2 |
| Sideskinne | 2 |
| Nagle | 10 |
| Gummitetning | 8 |
Monter lasteplanet p maskinrammen ved hjelp av de to svingboltene (x 4tomme), tolsemutterne (tomme), to flenshodeskruene (x2tomme) og to mutterne (tomme) som du fjernet i trinn 6 og 8 av Fjerne lasteplanet i plast. Se Figure 6.

Fest fotsttten p lasteplanet med to lsebolter (x3tommer), syv skruer med halvrundt hode (x1tomme) og ni sekskantmuttere (tomme), som vist i Figure 7.

Monter fire gummitetninger p det bakre setehndtaket (A i Figure 8).
Monter to forsenkede skruer (tomme) og to lsemuttere (tomme) p det bakre setehndtaket (B i Figure 8).
Tr festestroppen gjennom bunnen av fotsttten (C i Figure 8).
Monter det bakre setehndtaket p fotsttten (D i Figure 8).
Fest bakre setehndtak til fotsttten ved dra festestroppen opp og rundt den forsenkede skruen (E i Figure 8).

Monter sideskinnene til lasteplanenheten med tte lseskruer (x3tommer), tte sekskantbolter (tomme), som vist i Figure 9.

Monter fire gummitetninger p kantene av setebasen, som vist i Figure 10.

Monter seteenheten p lasteplanet, med hullene p lasteplanet likt med hullene p hengslene, og fest seteenhetsnaglene til lasteplanet (Figure 11).

Fjern det bakre setehndtaket, og legg det flatt p fotsttten, med hakket p hndtaket p linje med hndtakshullet p fotsttten (Figure 12).
Fest hndtaket til fotsttten med festestroppen og den forsenkede skruen p det bakre setehndtaket (Figure 12).

Roter setet fremover, og fjern lsepinnen (Figure 13).

Vipp seteryggsttten opp, og sett p plass lsepinnen, som vist i Figure 14.
Note: Den bakre hvilesttten fungerer som en baklem.

Deler som er nødvendige for dette trinnet:
| Merke 120-0625 | 2 |
| Merke 138-5554 | 2 |
Fest de to klempunktvarselmerkene (120-0625) og de to veltefaremerkene (138-5554) p den bakovervendte seterammen, med mlene vist i Figure 15.
