![]() |
Os autocolantes de segurana e de instrues so facilmente visveis e situam-se prximo das zonas de potencial perigo. Substitua todos os autocolantes danificados ou em falta. |



Estacione a mquina numa superfcie nivelada.
Engate o travo de estacionamento.
Desligue o motor e retire a chave da ignio.

Utilizando um guincho suspenso, eleve a plataforma de carga de plstico.
Retire os trs parafusos de cabea flangeada (5/16 pol. x pol.) e suporte em U da barra de apoio (Figure 2).
Note: Guarde as ferragens para instalar a plataforma de carga de plstico no futuro.

Deslize a barra de apoio para fora da ranhura de bloqueio e retire a barra de apoio (Figure 3).

Utilizando um guincho suspenso, desa a plataforma de carga de plstico.
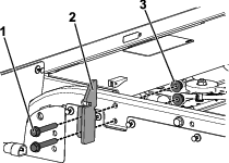
Retire os dois parafusos da articulao ( pol. x 4 pol.) e as duas porcas de bloqueio ( pol.) do suporte da articulao localizado na traseira da mquina (Figure 4).
Note: Guarde as ferragens para instalar a plataforma plana em 1 em Instalao do banco virado para a traseira.

Liberte a alavanca da plataforma de carga e, em seguida, eleve e retire a plataforma de carga utilizando um guincho suspenso.
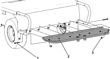
Retire os dois trincos da plataforma da estrutura da mquina removendo os quatro parafusos de cabea flangeada (pol. x2 pol.) e quatro porcas ( pol.) como se mostra na Figure 5.
Note: Guarde os dois parafusos de cabea flangeada ( pol. x 2 pol.) e duas porcas ( pol.) para instalar a plataforma plana no passo 1 em Instalao do banco virado para a traseira. Guarde as ferragens restantes para instalar a plataforma de carga de plstico no futuro.

Peças necessárias para este passo:
| Plataforma plana | 1 |
| Apoio de p | 1 |
| Parafuso de carroaria ( pol. x 3pol.) | 10 |
| Porca hexagonal ( pol.) | 17 |
| Parafuso de cabea de tremoo (pol. x1 pol.) | 7 |
| Pega do banco traseiro | 1 |
| Correia de fixao | 1 |
| Parafuso de cabea embutida (pol.) | 2 |
| Porca de bloqueio ( pol.) | 2 |
| Calha lateral | 2 |
| Rebite | 10 |
| Olhal de borracha | 8 |
Instale a plataforma plana na estrutura da mquina utilizando dois parafusos da articulao ( pol. x 4pol.), duas porcas de bloqueio ( pol.), dois parafusos de cabea flangeada ( pol. x 2pol.) e 2 porcas ( pol.) previamente removidas nos passos 6 e 8 de Remoo da plataforma de carga de plstico. Consulte Figure 6.

Coloque o apoio de p na plataforma plana utilizando dois parafusos de carroaria ( pol. x 3 pol.) e sete parafusos de cabea de tremoo ( pol. x 1 pol.) e nove porcas hexagonais, como se mostra na Figure 7.

Instale quatro olhais de borracha na pega do banco traseiro (A de Figure 8).
Instale dois parafusos de cabea embutida ( pol.) e duas porcas de bloqueio ( pol.) na pega do banco traseiro (B de Figure 8).
Passe a correia de fixao pela parte inferior do apoio de p (C de Figure 8).
Instale a pega do banco traseiro no apoio de p (D de Figure 8).
Prenda a pega do banco traseiro ao apoio de p empurrando a correia de fixao para cima e em redor do parafuso de cabea embutida (E de Figure 8).

Instale as calhas laterais no conjunto da plataforma plana com oito parafusos de carroaria ( pol. x 3 pol.) e oito porcas hexagonais ( pol.) como se mostra na Figure 9.

Instale quatro olhais de borracha nas extremidades da base do banco como se mostra na Figure 10.

Instale o conjunto do banco na plataforma plana, alinhando os furos na plataforma plana nas dobradias e prenda o conjunto do banco com rebites na plataforma plana (Figure 11).

Retire a pega do banco traseiro e coloque-a no apoio de p alinhando a patilha na pega com o furo da pega no apoio de p (Figure 12).
Prenda a pega ao apoio de p utilizando a correia de fixao e parafuso de cabea embutida na pega do banco traseiro (Figure 12).

Rode o banco para a frente e retire o pino de ligao rpida (Figure 13).

Dobre o suporte do encosto do banco para cima e substitua o pino de ligao rpida como se mostra na Figure 14.
Note: O suporte do encosto do banco age como porta traseira.

Peças necessárias para este passo:
| Autocolante 120-0625 | 2 |
| Autocolante 138-5554 | 2 |
Aplique os dois autocolantes de aviso de ponto de aperto (120-0625) e dois autocolantes de perigo de capotamento (138-5554) na estrutura do banco virado para a traseira utilizando as medies mostradas na Figure 15.
