![]() |
Las pegatinas de seguridad e instrucciones estn a la vista del operador y estn ubicadas cerca de cualquier zona de peligro potencial. Sustituya cualquier pegatina que est daada o que falte. |



Aparque la mquina en una superficie nivelada.
Accione el freno de estacionamiento.
Apague el motor y retire la llave.

Eleve con una gra la plataforma de carga de plstico.
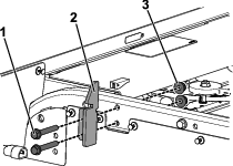
Retire los 3 tornillos con arandela prensada (5/16" x ") y el soporte en U de la varilla de sujecin (Figure 2).
Note: Guarde las fijaciones para instalar la plataforma de carga de plstico en el futuro.

Deslice hacia fuera la varilla de sujecin hasta que se salga de la muesca y retire la varilla (Figure 3).

Baje con una gra la plataforma de carga.
Retire los 2 pernos de pivote (" x 4") y las 2 contratuercas (") del soporte de pivote situado en la parte trasera de la mquina (Figure 4).
Note: Guarde todas las fijaciones para la instalacin del conjunto de plataforma plana 1 en Instalacin del asiento orientado hacia atrs.

Libere la palanca de la plataforma de carga y, a continuacin, eleve y retire la plataforma de carga con una gra.
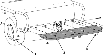
Retire los 2 enganches de la plataforma del bastidor de la mquina retirando los 4 tornillos con arandela prensada (" x 2") y 4 tuercas ("), tal y como se muestra en Figure 5.
Note: Guarde 2 tornillos con arandela prensada (" x 2") y 2 tuercas (") para la instalacin del conjunto de la plataforma plana en el paso 1 en Instalacin del asiento orientado hacia atrs. Guarde el resto de fijaciones para instalar la plataforma de carga de plstico en el futuro.

Piezas necesarias en este paso:
| Plataforma plana | 1 |
| Reposapis | 1 |
| Perno de cuello cuadrado (" x 3") | 10 |
| Tuerca hexagonal (") | 17 |
| Tornillo con cabeza de botn (" x 1") | 7 |
| Asa del asiento trasero | 1 |
| Pletina de sujecin | 1 |
| Tornillo avellanado (") | 2 |
| Contratuerca (") | 2 |
| Ral lateral | 2 |
| Remache | 10 |
| Anillo de goma | 8 |
Instale la plataforma plana en el bastidor de la mquina con los 2 pernos de pivote (" x 4"), 2 contratuercas ("), 2 tornillos con arandela prensada (" x 2") y 2 tuercas (") retirados anteriormente en los pasos 6 y 8 de Retirada de la plataforma de carga de plstico. Consulte Figure 6.

Conecte el reposapis en la plataforma plana con 2 pernos de cuello cuadrado (" x 3"), 7 tornillos con cabeza de botn (" x 1") y 9 tuercas hexagonales ("), tal y como se muestra en la Figure 7.

Instale 4 anillos de goma en el asa del asiento trasero (A de la Figure 8).
Instale 2 tornillos avellanados (") y 2 contratuercas (") en el asa del asiento trasero (B de la Figure 8).
Introduzca la pletina de sujecin a travs de la parte inferior del reposapis (C de la Figure 8).
Instale el asa del asiento trasero en el reposapis (D de la Figure 8).
Fije el asa del asiento trasero en el reposapis tirando de la pletina de sujecin hacia arriba y alrededor del tornillo avellanado (E de la Figure 8).

Instale los rales laterales en el conjunto de la plataforma plana con 8 pernos de cuello cuadrado (" x 3") y 8 tuercas hexagonales ("), tal y como se muestra en Figure 9.

Instale 4 anillos de goma en los bordes de la base del asiento, tal y como se muestra en la Figure 10.

Instale el conjunto de asientos en la plataforma plana, alineando los taladros de la plataforma con los taladros de las bisagras y fije el conjunto de asientos con ribete a la plataforma plana (Figure 11).

Retire el asa del asiento trasero y colquela horizontalmente sobre el reposapis, alineando la muesca en el asa con el taladro del asa en el reposapis (Figure 12).
Fije el asa al reposapis con la pletina de sujecin y el tornillo avellanado en el asa del asiento trasero (Figure 12).

Gire el asiento hacia delante y retire el pasador rpido (Figure 13).

Pliegue hacia arriba el soporte del respaldo y sustituya el pasador rpido tal y como se muestra en la Figure 14.
Note: El soporte del respaldo acta como portn trasero.

Piezas necesarias en este paso:
| Pegatina 120-0625 | 2 |
| Pegatina 138-5554 | 2 |
Coloque las pegatinas de advertencia de 2 puntos de aprisionamiento (120-0625) y las 2 pegatinas de peligro de vuelco (138-5554) en el bastidor del asiento orientado hacia atrs con las medidas que se muestran en Figure 15.
