![]() |
Des autocollants de scurit et des instructions bien visibles par l'oprateur sont placs prs de tous les endroits potentiellement dangereux. Remplacez tout autocollant endommag ou manquant. |



Garez la machine sur un sol plat et horizontal.
Serrez le frein de stationnement.
Coupez le moteur et enlevez la cl.

Avec un palan, levez le plateau de chargement en plastique.
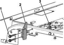
Retirez les 3 vis embase (5/16"x") et le support en U de la bquille (Figure 2).
Note: Conservez les fixations pour installer le plateau de chargement en plastique ultrieurement.

Faites glisser la bquille en avant hors de la fente de verrouillage et retirez-la (Figure 3)

Avec un palan, abaissez le plateau de chargement.
Retirez les 2 boulons de pivot ("x4") et les 2 contre-crous (") du support de pivot situ l'arrire de la machine (Figure 4).
Note: Conservez les fixations pour monter le plateau de chargement; voir 1 sous Montage du sige face l'arrire.

Relchez le levier du plateau de chargement, puis dposez le plateau au moyen d'un palan.
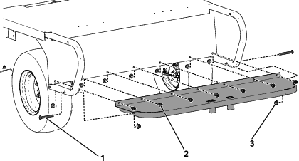
Dposez les 2 loquets du cadre de la machine en retirant les 4 vis embase ("x2") et les 4 crous (") comme montr la Figure 5.
Note: Conservez les 2 vis embase ("x2") et les 2 crous (") pour monter le plateau l'opration 1 de Montage du sige face l'arrire. Conservez les fixations restantes pour installer le plateau de chargement en plastique ultrieurement.

Pièces nécessaires pour cette opération:
| Plateau | 1 |
| Repose-pieds | 1 |
| Boulon de carrosserie ("x3") | 10 |
| crou hexagonal (") | 17 |
| Vis tte bombe ("x1") | 7 |
| Poigne de sige arrire | 1 |
| Sangle de maintien | 1 |
| Vis tte fraise (") | 2 |
| Contre-crou (") | 2 |
| Longeron | 2 |
| Rivet | 10 |
| Bague en caoutchouc | 8 |
Fixez le plateau au cadre de la machine l'aide des 2 boulons de pivot ("x4"), 2 contre-crous ("), 2 vis embase ("x2") et 2 crous (") retirs aux oprations 6 et 8 de Retrait du plateau de chargement en plastique. Voir Figure 6.

Fixez le repose-pieds au plateau l'aide de 2 boulons de carrosserie ("x3"), 7 vis tte bombe ("x1") et 9 crous hexagonaux ("), comme montr la Figure 7.

Montez 4 bagues en caoutchouc sur la poigne de sige arrire (A de Figure 8).
Montez 2 vis tte fraise (") et 2 contre-crous (") sur la poigne de sige arrire (B de Figure 8).
Faites passer la sangle de maintien au bas du repose-pieds (C de Figure 8).
Montez la poigne de sige arrire sur le repose-pieds (D de Figure 8).
Fixez-la au repose-pieds en tirant la sangle de maintien vers le haut et en l'engageant sur la vis tte fraise (E de Figure 8).

Fixez les longerons au plateau l'aide de 8 boulons de carrosserie ("x3") et 8 crous hexagonaux ("), comme montr la Figure 9.

Montez 4 bagues en caoutchouc sur les bords de la base du sige, comme montr la Figure 10.

Montez le sige sur le plateau, en alignant les trous du plateau et les trous des charnires, et fixez le sige rivets sur le plateau (Figure 11).

Dposez la poigne du sige arrire et posez-la plat sur le repose-pieds en alignant la languette de la poigne et le trou prvu pour la poigne sur le repose-pieds (Figure 12).
Fixez la poigne au repose-pieds en utilisant la sangle de maintien et la vis tte fraise sur la poigne (Figure 12).

Basculez le sige en avant et retirez la goupille rapide (Figure 13).

Rabattez le support du dossier et remettez la goupille rapide en place, comme montr la Figure 14.
Note: Le support du dossier tient lieu de hayon.

Pièces nécessaires pour cette opération:
| Autocollant 120-0625 | 2 |
| Autocollant 138-5554 | 2 |
Apposez les 2 autocollants d'avertissement de pincement (120-0625) et les 2 autocollants d'avertissement de renversement (138-5554) sur le cadre de sige face l'arrire en vous aidant des mesures indiques la Figure 15.
