![]() |
Die Sicherheits- und Bedienungsaufkleber sind gut sichtbar; sie befinden sich in der Nhe der mglichen Gefahrenbereiche. Tauschen Sie beschdigte oder verloren gegangene Aufkleber aus. |



Parken Sie die Maschine auf einer ebenen Flche.
Aktivieren Sie die Feststellbremse.
Stellen Sie den Motor ab und ziehen Sie den Schlssel ab.

Heben Sie die Kunststoff-Ladepritsche mit einem Deckenhebezug an.
Entfernen Sie die drei Bundkopfschrauben (5/16" x ") und den U-Bgel von der Sttzstange (Figure 2).
Note: Bewahren Sie die Befestigungen fr die zuknftige Montage der Kunststoff-Ladepritsche auf.

Schieben Sie die Sttzstange nach vorne aus der Auskerbung und entfernen Sie die diese (Figure 3).

Richten Sie die Ladepritsche mit Hilfe des Hebezeug (Flaschenzug) aus.
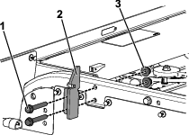
Entfernen Sie die beiden Lagerschrauben (" x 4") und die beiden Sicherungsmuttern (") aus der Schwenkhalterung an der Rckseite der Maschine (Figure 4).
Note: Bewahren Sie die Befestigungen fr den Einbau des Pritschenbodens in 1 in Einbauen des rckwrtsgerichteten Sitzes auf.

Lsen Sie den Ladepritschenhebel und heben Sie die Ladepritsche mit einem Deckenhebezug an und nehmen sie ab.
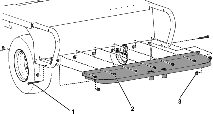
Entfernen Sie die zwei Ladepritschenriegel vom Rahmen der Maschine. Entfernen Sie hierfr die vier Bundbolzen (" x 2") und die vier Muttern ("), wie in Figure 5 abgebildet.
Note: Bewahren Sie zwei Bundbolzen (" x 2") und zwei Muttern (") fr den Einbau des Pritschenbodens in Schritt 1 in Einbauen des rckwrtsgerichteten Sitzes auf. Bewahren Sie die restlichen Befestigungen fr die zuknftige Montage der Kunststoff-Ladepritsche auf.

Für diesen Arbeitsschritt erforderliche Teile:
| Pritschenboden | 1 |
| Fuplattform | 1 |
| Schlossschraube (" x 3") | 10 |
| Sechskantmutter (") | 17 |
| Halbrundschraube (" x 1") | 7 |
| Rcksitzgriff | 1 |
| Befestigungsriemen | 1 |
| Senkschraube (") | 2 |
| Sicherungsmutter (") | 2 |
| Seitenschiene | 2 |
| Niete | 10 |
| Gummidichtung | 8 |
Befestigen Sie den Pritschenboden mit zwei Drehschrauben (" x 4"), zwei Sicherungsbundmuttern ("), zwei Bundbolzen (" x 2") und zwei Muttern ("), die Sie vorher in den Schritten 6 und 8 in Abnehmen der Kunststoff-Ladepritsche entfernt haben, am Rahmen der Maschine. Siehe Figure 6.

Befestigen Sie die Fuplattform mit zwei Schlossschrauben (" x 3"), sieben Halbrundschrauben (" x 1") und neun Sechskantmuttern (") am Pritschenboden, wie in Figure 7 abgebildet.

Legen Sie vier Gummidichtungen auf den Rcksitzgriff (A in Figure 8).
Befestigen Sie zwei Senkschrauben (") und zwei Sicherungsmuttern (") am Rcksitzgriff (B in Figure 8).
Fhren Sie den Befestigungsriemen durch den Boden der Fuplattform (C in Figure 8).
Befestigen Sie den Rcksitzgriff an der Fuplattform (D in Figure 8).
Befestigen Sie den Rcksitzgriff an der Fuplattform; ziehen Sie hierfr den Befestigungsriemen nach oben und um die Senkschraube (E in Figure 8).

Befestigen Sie die Seitenschienen mit acht Schlossschrauben (" x 3") und acht Sechskantmuttern (") an der Ladepritsche, wie in Figure 9 abgebildet.

Legen Sie vier Gummidichtungen auf die Kanten des Sitzunterteils, wie in Figure 10 abgebildet.

Montieren Sie den Sitz auf der Ladepritsche; fluchten Sie die Lcher an der Ladepritsche mit den Lchern an den Scharnieren aus und befestigen Sie den Nietensitz an der Ladepritsche (Figure 11).

Entfernen Sie den Rcksitzgriff und legen Sie ihn flach auf die Fuplattform; fluchten Sie die Nase am Griff mit dem Griffloch an der Fuplattform aus (Figure 12).
Befestigen Sie den Griff mit dem Vergurtungsriemen und der Senkschraube am Rcksitzgriff an der Fuplattform (Figure 12).

Drehen Sie den Sitz nach vorne und nehmen Sie den Schnelllsestift ab (Figure 13).

Klappen Sie die Rckenlehnensttze nach oben und setzen Sie den Schnelllsestift ein, wie in Figure 14 abgebildet.
Note: Die Rckenlehnensttze agiert als Heckklappe.

Für diesen Arbeitsschritt erforderliche Teile:
| Aufkleber 120-0625 | 2 |
| Aufkleber 138-5554 | 2 |
Bringen Sie die Warnaufkleber fr die zwei Quetschstellen (120-0625) und die zwei Warnaufkleber fr die Kippgefahr (138-5554) am Rahmen des rckwrtsgerichteten Sitzes an; verwenden Sie die Werte, die in Figure 15 abgebildet sind.
