![]() |
Gli adesivi di sicurezza e di istruzione sono chiaramente visibili e sono affissi accanto a zone particolarmente pericolose. Sostituite eventuali adesivi se danneggiati o mancanti. |



Parcheggiate la macchina su terreno pianeggiante.
Inserite il freno di stazionamento.
Spegnete il motore e togliete la chiave.

Utilizzando un paranco superiore, sollevate il pianale di carico in plastica.
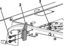
Rimuovete le 3 viti a testa flangiata (5/16" x ") e la staffa a U dall'asta di supporto (Figure 2).
Note: Conservate la bulloneria per rimontare il pianale di carico in plastica in futuro.

Fate scorrere l'asta di supporto in avanti, fuori dalla fessura di arresto e rimuovete l'asta di supporto (Figure 3).

Utilizzando un paranco superiore, abbassate il pianale di carico.
Rimuovete i 2 bulloni orientabili (" x 4") e i 2 dadi di bloccaggio (") dalla staffa orientabile situata sulla parte posteriore della macchina (Figure 4).
Note: Conservate la bulloneria per l'installazione del gruppo pianale al punto 1 di Montaggio del sedile rivolto all'indietro.

Rilasciate la leva del pianale di carico, quindi sollevate e rimuovete il pianale di carico utilizzando un paranco superiore.
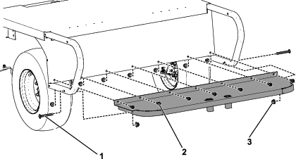
Rimuovete i 2 fermi del pianale dal telaio della macchina rimuovendo le 4 viti a testa flangiata ("x 2") e 4 dadi (”) come indicato nella Figure 5.
Note: Conservate 2 viti a testa flangiata (" x 2") e 2 dadi (") per l'installazione del gruppo pianale al passaggio 1 di Montaggio del sedile rivolto all'indietro. Conservate la bulloneria rimanente per rimontare il pianale di carico in plastica in futuro.

Parti necessarie per questa operazione:
| Pianale | 1 |
| Poggiapiedi | 1 |
| Bullone a testa tonda (" x 3") | 10 |
| Dado esagonale (") | 17 |
| Vite a testa tonda (" x 1") | 7 |
| Maniglia del sedile posteriore | 1 |
| Fascetta di tenuta | 1 |
| Vite a testa svasata (") | 2 |
| Dado di bloccaggio (") | 2 |
| Guida laterale | 2 |
| Ribattino | 10 |
| Anello passacavi in gomma | 8 |
Montate il pianale sul telaio della macchina utilizzando i 2 bulloni orientabili (" x 4"), 2 dadi di bloccaggio ("), 2 viti a testa flangiata (" x 2") e 2 dadi (") precedentemente rimossi ai passaggi 6 e 8 di Rimozione del pianale di carico in plastica. Fate riferimento alla Figure 6.

Fissate il poggiapiedi al pianale utilizzando 2 bulloni a testa tonda (" x 3"), 7 viti a testa tonda (" x 1") e 9 dadi esagonali ("), come illustrato nella Figure 7.

Montate 4 anelli passacavi in gomma sulla maniglia del sedile posteriore (A della Figure 8).
Montate 2 viti a testa svasata (") e 2 dadi di bloccaggio (") sulla maniglia del sedile posteriore (B della Figure 8).
Inserite la fascetta di tenuta attraverso la parte inferiore del poggiapiedi (C della Figure 8).
Montate la maniglia del sedile posteriore sul poggiapiedi (D della Figure 8).
Fissate la maniglia del sedile posteriore al poggiapiedi tirando la fascetta di tenuta verso l'alto e attorno alla vite a testa svasata (E della Figure 8).

Montate le guide laterali sul gruppo del pianale utilizzando 8 bulloni a testa tonda (” x 3”) e 8 dadi esagonali (”) come illustrato nella Figure 9.

Montate 4 anelli passacavi in gomma sui bordi della base del sedile, come illustrato nella Figure 10.

Montate il gruppo sedile sul pianale, allineando i fori del pianale con quelli delle cerniere, e fissate il gruppo rivetti al pianale (Figure 11).

Rimuovete la maniglia del sedile posteriore e poggiatela piatta sul poggiapiedi, allineando la linguetta sulla maniglia con il foro della maniglia sul poggiapiedi (Figure 12).
Fissate la maniglia al poggiapiedi utilizzando la fascetta di tenuta e la vite a testa svasata sulla maniglia del sedile posteriore (Figure 12).

Ruotate in avanti il sedile e rimuovete il perno ad attacco rapido (Figure 13).

Chiudete il supporto dello schienale e riposizionate il perno ad attacco rapido, come illustrato nella Figure 14.
Note: Il supporto dello schienale funge da sponda posteriore.

Parti necessarie per questa operazione:
| Adesivo 120-0625 | 2 |
| Adesivo 138-5554 | 2 |
Applicate i 2 adesivi di avvertenza per le aree critiche (120-0625) e i 2 adesivi per il pericolo di ribaltamento (138-5554) al telaio del sedile rivolto verso il retro attenendovi alle misure indicate nella Figure 15.
