![]() |
Turva- ja ohjetarrat on sijoitettu hyvin nkyville paikoille mahdollisten vaara-alueiden lhettyville. Korvaa vioittuneet tai kadonneet tarrat uusilla. |



Pyski kone tasaiselle alustalle.
Kytke seisontajarru.
Sammuta moottori ja irrota virta-avain.

Nosta muovinen kuljetuslava kattonosturin avulla.
Irrota kolme laippakantaruuvia (5/16tuumaa) ja U-kiinnike kannatintangosta (Figure 2).
Note: Silyt kiinnitystarvikkeet silt varalta, ett muovinen kuljetuslava asennetaan joskus takaisin.

Liu’uta kannatintankoa eteenpin pois urasta ja irrota se (Figure 3).

Laske kuljetuslava kattonosturin avulla.
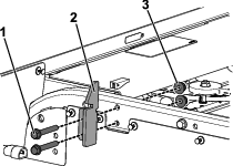
Irrota kaksi olkatappia (1/2 4-1/2tuumaa) ja kaksi lukkomutteria (1/2tuumaa) kntkannattimesta, joka sijaitsee koneen takaosassa (Figure 4).
Note: Silyt kiinnitystarvikkeet lavan asennusta varten (kohta Taaksepin osoittavan istuimen asennus, vaihe 1).

Vapauta kuljetuslavan vipu ja irrota kuljetuslava kattonosturin avulla.
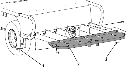
Irrota kaksi lavan salpaa koneen rungosta irrottamalla nelj laippakantaruuvia (2-tuumaa) ja nelj mutteria (tuumaa) kuvan mukaisesti (Figure 5).
Note: Silyt kaksi laippakantaruuvia (2-tuumaa) ja kaksi mutteria (tuumaa) lavan asennusta varten (kohta Taaksepin osoittavan istuimen asennus, vaihe 1). Silyt loput kiinnitystarvikkeet silt varalta, ett muovinen kuljetuslava asennetaan joskus takaisin.

Vaiheeseen tarvittavat osat:
| Lava | 1 |
| Jalkatuki | 1 |
| Lukkopultti (3tuumaa) | 10 |
| Kuusiomutteri (tuumaa) | 17 |
| Pyrekantainen ruuvi (1tuumaa) | 7 |
| Istuimen takakahva | 1 |
| Pidikehihna | 1 |
| Uppokantaruuvi (tuumaa) | 2 |
| Lukkomutteri (1/4tuumaa) | 2 |
| Sivukaide | 2 |
| Niitti | 10 |
| Kuminen lpivientisuojus | 8 |
Asenna lava koneen runkoon kahdella olkatapilla (4-tuumaa), kahdella lukkomutterilla (tuumaa), kahdella laippakantaruuvilla (2-tuumaa) ja kahdella mutterilla (tuumaa), jotka irrotettiin kohdan Muovisen kuljetuslavan irrotus vaiheissa 6 ja 8. Katso Figure 6.

Asenna jalkatuki lavaan kahdella lukkopultilla (3tuumaa), seitsemll pyrekantaisella ruuvilla (1tuumaa) ja yhdeksll kuusiomutterilla (tuumaa) kuvan mukaisesti (Figure 7).

Asenna nelj kumista lpivientisuojusta istuimen takakahvaan (Figure 8, A).
Asenna kaksi uppokantaruuvia (tuumaa) ja kaksi lukkomutteria (tuumaa) istuimen takakahvaan (Figure 8, B).
Syt pidikehihna jalkatuen pohjan lpi (Figure 8, C).
Asenna istuimen takakahva jalkatukeen (Figure 8, D).
Asenna istuimen takakahva jalkatukeen vetmll pidikehihna yls ja uppokantaruuvin ympri (Figure 8, E).

Asenna sivukaiteet lavakokoonpanoon kahdeksalla lukkopultilla (3tuumaa) ja kahdeksalla kuusiomutterilla (tuumaa) kuvan mukaisesti (Figure 9).

Asenna nelj kumista lpivientisuojusta istuimen jalustaan kuvan mukaisesti (Figure 10).

Asenna istuinkokoonpano lavaan niin, ett lavan reit on kohdistettu saranoiden reikiin, ja kiinnit niitti-istuinkokoonpano lavaan (Figure 11).

Irrota istuimen takakahva, aseta se jalkatukea vasten ja kohdista kahvan kieleke jalkatuen kahvan aukkoon (Figure 12).
Asenna kahva jalkatukeen istuimen takakahvan pidikehihnalla ja uppokantaruuvilla (Figure 12).

Knn istuin eteenpin ja irrota tappi (Figure 13).

Taita selknojan tukikannatin yls ja asenna tappi uudelleen kuvan mukaisesti (Figure 14).
Note: Selknoja on samalla mys perlauta.

Vaiheeseen tarvittavat osat:
| Tarra 120-0625 | 2 |
| Tarra 138-5554 | 2 |
Kiinnit kaksi puristuskohtien varoitustarraa (120-0625) ja kaksi kaatumisvaaran tarraa (138-5554) taaksepin osoittavan istuimen runkoon kuvassa (Figure 15) nkyvien mittojen mukaisesti.
