![]() |
Sikkerheds- og instruktionsmrkaterne kan nemt ses af operatren og er placeret tt p potentielle risikoomrder. Udskift eventuelle beskadigede eller manglende mrkater. |



Parker maskinen p en plan flade.
Aktiver parkeringsbremsen.
Sluk motoren, og tag nglen ud.

Brug en lbekran til at hve plastikladet.
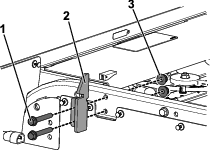
Fjern de 3flangehovedskruer (5/16"x") og bjlebeslaget fra stttepinden (Figure 2).
Note: Gem metaldelene til fremtidig montering af plastikladet.

Skub stttepinden fremad ud af den forsnkede bning, og fjern stttepinden (Figure 3).

Brug en lbekran til at snke ladet.
Fjern de to drejebolte (1/2x 4-1/2tomme) og to lsemtrikker (1/2tomme) fra drejebeslaget bagest p maskinen (Figure 4).
Note: Gem metaldelene til montering af ladet i 1 i Montering af det bagudvendte sde.

Slip ladgrebet, og hv og afmonter derefter ladet med en lbekran.
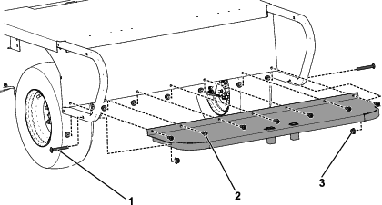
Tag de 2ladlse af maskinens stel ved at fjerne de 4flangehovedskruer ("x 2") og 4mtrikker (") som vist i Figure 5.
Note: Gem 2flangehovedskruer ("x 2") og 2mtrikker (") til montering af ladet i trin1 i Montering af det bagudvendte sde. Gem de resterende metaldele til fremtidig montering af plastikladet.

Dele, der skal bruges til dette trin:
| Lad | 1 |
| Fodsttte | 1 |
| Brddebolt ("x3") | 10 |
| Sekskantmtrik (") | 17 |
| Rundhovedet skrue ("x1") | 7 |
| Bagsdehndtag | 1 |
| Tilholderrem | 1 |
| Underforsnket skrue (") | 2 |
| Lsemtrik (") | 2 |
| Gelnder | 2 |
| Nitte | 10 |
| Gummikrans | 8 |
Monter ladet p maskinens stel med de 2drejebolte ("x4"), 2lsemtrikker ("), 2flangehovedskruer ("x2") og 2mtrikker ("), du fjernede i trin6 og 8 i Afmontering af plastikladet. Se Figure 6.

Monter fodsttten p ladet med 2brddebolte ("x3"), 7rundhovedede skruer ("x1") og 9sekskantmtrikker (") som vist iFigure 7.

Monter 4gummikranse p bagsdehndtaget (A i Figure 8).
Monter 2underforsnkede skruer (") og 2lsemtrikker (") p bagsdehndtaget (B i Figure 8).
Fr tilholderremmen igennem bunden af fodsttten (C i Figure 8).
Monter bagsdehndtaget p fodsttten (D i Figure 8).
Fastgr bagsdehndtaget til fodsttten ved at trkke tilholderremmen op og omkring den underforsnkede skrue (E i Figure 8).

Monter gelnderne p ladet med 8brddebolte ("x3") og 8sekskantmtrikker (") som vist i Figure 9.

Monter 4gummikranse p sdesoklens kanter som vist i Figure 10.

Monter sdet p ladet, ret hullerne p ladet ind efter hullerne p hngslerne, og fastgr nittesdet p ladet (Figure 11).

Fjern bagsdehndtaget, og lg det fladt p fodsttten, s tappen p hndtaget flugter med hndtagshullet p fodsttten (Figure 12).
Fastgr hndtaget til fodsttten med tilholderremmen og den underforsnkede skrue p bagsdehndtaget (Figure 12).

Drej sdet fremad, og fjern kvikbolten (Figure 13).

Fold ryglnssttten op, og udskift kvikbolten som vist i Figure 14.
Note: Ryglnssttte fungerer som en bagklap.

Dele, der skal bruges til dette trin:
| Mrkat 120-0625 | 2 |
| Mrkat 138-5554 | 2 |
St de 2 advarselsmrkater om klempunkter (120-0625) og 2 mrkater om fare for vltning (138-5554) p den bagudvendte sderamme ved at bruge mlene vist i Figure 15.
