Zestaw zraszania z układem GeoLink™ stanowi element dodatkowy przeznaczony dla pojazdu do zraszania trawników i jest przeznaczony do użytku przez profesjonalnych operatorów do zastosowań komercyjnych. Służy on głównie do zraszania starannie utrzymanych trawników w parkach, na polach golfowych, boiskach sportowych oraz na terenach komercyjnych.
Aby uzyskać więcej informacji, w tym dotyczących bezpieczeństwa, materiałów szkoleniowych, informacji na temat akcesoriów, pomocy w znalezieniu autoryzowanego sprzedawcy lub rejestracji produktu odwiedź www.Toro.com.
Używanie produktu w celach niezgodnych z jego przeznaczeniem może okazać się niebezpieczne dla operatora i dla osób postronnych.
Note: Przeczytaj uważnie poniższe informacje, aby zapoznać się z zasadami właściwej obsługi i konserwacji urządzenia, nie doprowadzić do jego uszkodzenia i uniknąć obrażeń ciała. Odpowiedzialność za prawidłowe i bezpieczne użytkowanie produktu spoczywa na użytkowniku.
Aby skorzystać z serwisu, zakupić oryginalne części firmy Toro lub uzyskać dodatkowe informacje, należy skontaktować się z autoryzowanym przedstawicielem serwisowym lub biurem obsługi klienta firmy Toro. Prosimy o przygotowanie numeru modelu i numeru seryjnego produktu. Rysunek 1 przedstawia położenie oznaczenia modelu oraz numeru seryjnego na urządzeniu. Należy zapisać je w przewidzianym na to miejscu.
Important: Urządzeniem mobilnym zeskanuj kod QR (jeśli występuje) na tabliczce z numerem seryjnym, aby uzyskać informacje o gwarancji, częściach zamiennych i innych kwestiach związanych z produktem.

Niniejsza instrukcja zawiera opis potencjalnych zagrożeń, a zawarte w niej ostrzeżenia zostały oznaczone symbolem ostrzegawczym (Rysunek 2), który sygnalizuje niebezpieczeństwo mogące spowodować poważne obrażenia lub śmierć w razie zlekceważenia zalecanych środków ostrożności.

W niniejszej instrukcji występują dwa słowa podkreślające wagę informacji. Ważne zwraca uwagę na szczególne informacje techniczne, a Uwaga podkreśla informacje ogólne wymagające uwagi.
Substancje chemiczne używane w układzie zraszania mogą być niebezpieczne i toksyczne dla operatora, osób postronnych, zwierząt, roślin, gleby oraz innego mienia.
Uważnie przeczytaj etykiety przedstawiające zagrożenia chemiczne oraz karty charakterystyki substancji (SDS) dla wszystkich używanych środków chemicznych i stosuj się do nich, a także stosuj zabezpieczenia osobiste zgodne z zaleceniami producenta środków chemicznych. Na przykład, należy korzystać z właściwego sprzętu ochrony osobistej, łącznie z ochroną twarzy i oczu, rękawicami oraz innym sprzętem w celu ochrony przed kontaktem ze środkami chemicznymi.
Używany może być więcej niż jeden środek chemiczny i należy ocenić informacje na temat każdego z nich.
Zrezygnuj z używania zraszacza lub pracy z nim, jeżeli takie informacje nie są dostępne.
Przed rozpoczęciem pracy z systemem zraszania należy upewnić się, że układ został trzykrotnie wypłukany i zneutralizowany zgodnie z zaleceniami producenta środków chemicznych, a wszystkie zawory zostały otwarte i zamknięte po 3 razy.
Upewnij się, że w pobliżu znajduje się wystarczający zapas czystej wody i mydła. Natychmiast zmyj wszelkie substancje chemiczne, z jakimi będzie miało styczność Twoje ciało.
![]() |
Etykiety dotyczące bezpieczeństwa oraz instrukcje są wyraźnie widoczne dla operatora i znajdują się w pobliżu wszystkich miejsc potencjalnego zagrożenia. Uszkodzone i brakujące etykiety należy wymienić. |




Oczyść zraszacz; zapoznaj się z rozdziałem Czyszczenie Zraszacza” w Instrukcji Obsługi maszyny.
Important: Przed zainstalowaniem zestawu wykończeniowego do zraszacza Geolink należy całkowicie opróżnić zbiornik zraszacza.
W maszynach wyposażonych w opcjonalny zestaw do płukania zbiornika należy wykonać następujące czynności:
Przepompować wodę ze zbiornika płuczącego do zbiornika zraszacza; postępować zgodnie z rozdziałem Obsługa Zestawu Płuczącego” w Instrukcji Instalacji Zestawu Płuczącego Zbiornik.
Spuścić wodę ze zbiornika zraszacza; postępować zgodnie z rozdziałem Czyszczenie Zraszacza” w Instrukcji Obsługi maszyny.
Rozłożyć lewą i prawą sekcję zraszacza do pozycji poziomej.
Ustawić maszynę na równej nawierzchni, załączyć hamulec postojowy, wyłączyć silnik i wyjąć kluczyk z wyłącznika zapłonu; postępować zgodnie z Instrukcją obsługi.
Important: Przed zamontowaniem zestawu GeoLink należy zaparkować maszynę na równej powierzchni.
Obrócić przełącznik kluczykowy do POZYCJIOFF” i wyjąć kluczyk; odnieść się do Instrukcji Obsługi.
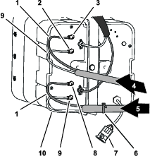
Odblokować fotel popychając rączkę blokady fotela do tyłu (Rysunek 3).

Obrócić fotel i płytę fotela w przód aż do chwili, gdy koniec drążka podpórki na jej wsporniku znajdzie się na dnie rowka wspornika (Rysunek 3).
Odkręcić śrubę z nakrętką mocujące zacisk ujemnego przewodu akumulatora do ujemnego bieguna akumulatora.
Iskry elektryczne mogą spowodować wybuch gazów akumulatorowych, co będzie skutkowało obrażeniami ciała.
Nieprawidłowo poprowadzony przewód akumulatora może spowodować uszkodzenie zraszacza i przewodów, powodując iskrzenie.
Zawsze odłączaj najpierw ujemny przewód akumulatora (czarny), a następnie przewód dodatni (czerwony).
Zawsze podłączaj najpierw przewód dodatni (czerwony), a następnie przewód ujemny akumulatora (czarny).
Zaciski akumulatora i metalowe narzędzia mogą powodować zwarcie z komponentami metalowymi zraszacza, wywołując iskrzenie.
Podczas demontażu lub montażu akumulatora nie dopuść, aby doszło do zetknięcia się zacisków akumulatora z metalowymi częściami zraszacza.
Nie dopuść, aby metalowe narzędzia spowodowały zwarcie między zaciskami akumulatora a metalowymi częściami zraszacza.
Pasek mocujący akumulator musi być zawsze założony, gdyż chroni on i mocuje akumulator.
Odsuń osłonę izolującą i odkręć śrubę z nakrętką mocujące zacisk dodatniego przewodu akumulatora do dodatniego bieguna akumulatora (Rysunek 4).
Note: Należy upewnić się, że zaciski przewodów akumulatora nie dotykają biegunów.

Wystudzić całkowicie maszynę.
Odłącz złącze 2-stykowe gniazdowe wiązki przewodów maszyny podłączone do złącza czujnika fotela (Rysunek 5).

Odłącz zawleczkę mocującą podpórkę do wspornika pod spodem płyty fotela (Rysunek 6).

Odłącz 2 zawleczki przytrzymujące mocowanie osi obrotu na płycie fotela do wsporników na ramie (Rysunek 7).


Wyjmij 2 sworznie osi obrotu mocujące fotel z płytą fotela do ramy (Rysunek 7).
Unieś fotel z płytą fotela i wyjmij je z maszyny (Rysunek 8).

Odłącz 2 łączniki wciskane mocujące lewy przedni błotnik do dolnego kanału pałąka zabezpieczającego (Rysunek 10).
Note: Zdjęte łączniki wciskane należy wyrzucić.

Wykręć 3 śruby (5/16 x 1 cal) z 3 podkładkami (5/16 cala) mocujące błotnik do ramy maszyny (Rysunek 11).

Zdejmij błotnik z maszyny.
Note: Zdjęte łączniki wciskane należy wyrzucić.; zachowaj błotnik, śruby i podkładki - zostaną one użyte do montażu w kroku Montaż przedniego lewego i prawego błotnika.
Odłącz 6 łączników wciskanych i 5 podkładek (9/16 x ½ cala) mocujących osłonę wewnętrzną błotnika do ramy maszyny (Rysunek 12).

Wyjmij osłonę wewnętrzną błotnika z maszyny (Rysunek 13).
Note: Zdjęte łączniki wciskane należy wyrzucić.

Powtórz czynności od 1 do 5 dla błotnika i osłony wewnętrznej błotnika po przeciwnej stronie maszyny.
Odłącz 2 złącza elektryczne (złącza 2-stykowe gniazdowe) wiązki przewodów maszyny od złączy 2-stykowych lewego i prawego reflektora przedniego (Rysunek 14).

Odłącz 9 łączników wciskanych mocujących pokrywę przednią do tablicy rozdzielczej i ramy maszyny (Rysunek 15).
Note: Zachowaj łączniki wciskane, będą one używane do montażu w kroku Zakładanie pokrywy.

Zdjąć pokrywę przednią z pojazdu (Rysunek 15).
Note: Zdjęte łączniki wciskane należy wyrzucić.
Części potrzebne do tej procedury:
| Zespół rur — część Toro nr 114-9553 | 2 |
| Opaska zaciskowa | 8 |
Przy panelu połączeniowym sprężarki zestawu znaczników pianowych zamocuj opaskę kablową wokół przezroczystego i niebieskiego przewodu rurowego prawej sekcji zraszania (Rysunek 16).


Wciśnij pierścień blokujący (Rysunek 17).

Wyciągnij przewód rurowy ze złącza (Rysunek 17).
Powtórz kroki 2 oraz 3 dla 3 pozostałych przewodów rurowych sekcji zraszania.
Przy panelu połączeniowym sprężarki zestawu znaczników pianowych zamocuj opaskę kablową wokół przezroczystego i niebieskiego przewodu rurowego prawej sekcji zraszania (Rysunek 18).


Poluzuj nakrętki ściskające dla 2 przezroczystych i 2 niebieskich przewodów rurowych dysz pianowych dla lewej i prawej sekcji zraszania (Rysunek 18).
Odłącz 4 przewody od złączy ściskanych sekcji zraszania (Rysunek 18).
Przy zewnętrznych sekcjach zraszania oznaczyć za pomocą kawałków taśmy lewe przewody cieczy i powietrza dla lewej sekcji zraszania i prawe przewody cieczy i powietrza dla prawej sekcji zraszania.
Przenieś przewody rurowe dysz pianowych z lewej i prawej sekcji zraszania do tyłu i przez obejmy w kształcie R” w pobliżu punktów obrotu sekcji zraszania (Rysunek 19).

Jeżeli maszyna jest wyposażona w zestaw przedłużający środkowego wysięgnika, należy luźno zamocować swobodne końce przewodów cieczy i powietrza do zewnętrznej sekcji zraszania. i pominąć procedury dla Przygotowanie nowych zespołów przewodów rurowych dysz znacznika pianowego oraz Montaż nowego zespołu przewodów.
Zdejmij opaski zaciskowe mocujące przewody cieczy i powietrza zestawu znaczników pianowych do zewnętrznych sekcji zraszania (Rysunek 20).

Przy dyszy znacznika pianowego poluzuj nakrętkę ściskającą mocującą niebieski przewód rurowy (woda) do niebieskiego złącza ściskanego dyszy znacznika pianowego (Rysunek 21).

Poluzuj nakrętkę ściskającą mocującą przezroczysty przewód rurowy (powietrze) do białego złącza ściskanego dyszy znacznika pianowego (Rysunek 21).
Zabierz przewody cieczy i powietrza z maszyny.
Odkręć nakrętki ściskające na końcach przewodów rurowych (Rysunek 21).
Note: Zachowaj nakrętki ściskające, zostaną one użyte do montażu w kroku 1 procedury Montaż nowego zespołu przewodów.
Przyłożyć dotychczasowe przewody cieczy i powietrza (Rysunek 22) do nowego zespołu przewodów (część Toro numer 114-9553).

Za pomocą odcinka taśmy zaznacz na nowym zespole rur długość dotychczasowych przewodów cieczy i powietrza.
Na nowym zespole rur dodaj do zaznaczenia z kroku 7 26 cm długości i wykonaj zaznaczenie na zespole rur, po czym przytnij rury według wykonanego drugiego (dłuższego) zaznaczenia (Rysunek 22).
Jeżeli dotychczasowe przewody cieczy i powietrza są zaznaczone opaską kablową, wykonaj zaznaczenie na nowym zespole rur za pomocą opaski kablowej, w przeciwnym razie przejdź do kroku 10.
Note: Dotychczasowe przewody rurowe cieczy i powietrza nie będą już potrzebne.
Usuń od 77 do 102 mm osłonki z każdego końca zespołu przewodów (Rysunek 22).
Powtórz kroki od 1 do 10 dla przewodów cieczy i powietrza po drugiej strony maszyny.
Nasuń niebieską nakrętkę ściskającą na końce niebieskiego przewodu rurowego, a białą nakrętkę na przezroczysty przewód (Rysunek 23).

Przyłóż koniec przezroczystego przewodu z białą nakrętką ściskającą do białego złącza dyszy znacznika pianowego, po czym dokręć nakrętkę ściskającą palcami (Rysunek 23).
Przyłóż koniec niebieskiego przewodu z niebieską nakrętką ściskającą do niebieskiego złącza dyszy znacznika pianowego, po czym dokręć nakrętkę ściskającą palcami (Rysunek 23).
Poprowadź zespół przewodów wzdłuż tylnej strony górnego słupa wsporczego zewnętrznej sekcji zraszania w sposób pokazany na Rysunek 24.
Important: Poprowadzenie zespołu przewodów wzdłuż niewłaściwej strony górnego słupa wsporczego grozi przytrzaśnięciem przewodów między łożem a zewnętrzną sekcją zraszania po złożeniu wysięgników do pozycji transportowej.

Za pomocą opaski kablowej zamocuj zespół przewodów do otworu we wsporniku dyszy w sposób pokazany na Rysunek 25.

Za pomocą opasek kablowych zamocuj zespół przewodów do zewnętrznej sekcji zraszania w sposób pokazany na Rysunek 24.
Luźno zamocuj swobodny koniec zespołu przewodów do zewnętrznej sekcji zraszania.
Powtórz kroki od 1 do 6 dla zespołu przewodów po drugiej stronie maszyny.
Odłącz złącze 3-stykowe wiązki przewodów zestawu ultradźwiękowego poziomowania wysięgników od złącza 3-stykowego gniazdowego wiązki przewodów maszyny (Rysunek 26).

Powtórzyć krok 1 dla złącza 3-stykowego wiązki przewodów ultradźwiękowego wysięgnika po drugiej stronie maszyny.
Przytrzymując pokrywę sekcji środkowej (11-dyszowej) wykręć 4 śruby kołnierzowe (5/16 x 1¼ cala) i 2 paski pokrywy mocujące pokrywę do wspornika pokrywy (Rysunek 27).

Zdejmij pokrywę środkowej sekcji z maszyny (Rysunek 28).
Note: Zachowaj pokrywę, paski pokrywy i śruby kołnierzowe do instalacji w krokach 1 oraz 2 procedury Montaż pokrywy środkowej sekcji.

Note: Jeżeli maszyna jest wyposażona w opcjonalny zestaw pistoletowy, należy postępować zgodnie z Odłączanie rurki czujnika ciśnienia i węża doprowadzającego.
Wciśnij kołnierz złączki rury w kolanko 90° prawego zaworu sekcji zraszania (Rysunek 30).

Wyciągnąć rurkę czujnika ciśnienia do wskaźnika liniowego ze złączki rurki (Rysunek 30).
Note: Nie odłączaj kolanka 90° zaworu odcinającego węża doprowadzającego przy bębnie węża od kołnierza zaworu prawej sekcji wysięgnikowej.
Odłącz złącza 3-stykowe gniazdowe oznaczone jako LEWY ZAWóR ZRASZANIA, śRODKOWY ZAWóR ZRASZANIA oraz PRAWY ZAWóR ZRASZANIA wiązki przewodów maszyny od złączy 3-stykowych 3 siłowników zaworów zraszania (Rysunek 31).

Odłącz złącze 4-stykowe gniazdowe wiązki przewodów maszyny oznaczone ZAWóR REGULACJI DAWKI od złącza 4-stykowego siłownika zaworu regulacji dawki (Rysunek 32).

Odłącz złącze 3-stykowe gniazdowe wiązki przewodów maszyny oznaczone GłóWNY ZAWóR ZRASZANIA od złącza 3-stykowego siłownika głównego zaworu zraszania (Rysunek 32).
Części potrzebne do tej procedury:
| Opaska zaciskowa | 1 |
| Zaślepka przełącznika | 1 |
Odkręć cztery śruby kołnierzowe (¼ x ½ cala) mocujące panel 3 przełączników do konsoli sterowania (Rysunek 33).

Ściśnij do siebie wypustki blokujące przełącznika regulacji dawki i wypchnij przełącznik z panelu 3 przełączników (Rysunek 34).

Odłącz złącze 8-stykowe gniazdowe wiązki przewodów maszyny (oznaczone Przełącznik regulacji dawki) od złącza 8-stykowego przełącznika (Rysunek 33).
Note: Przełącznik regulacji dawki zdemontowany z maszyny nie będzie już potrzebny.
Poprowadź odgałęzienie przedniej wiązki przewodów przełącznika regulacji dawki przez otwór w panelu 3 przełączników i zamocuj odgałęzienie przewodów za pomocą opaski kablowej do sąsiedniego odgałęzienia.
Zamocuj panel 3 przełączników do konsoli sterowania (Rysunek 34) używając 4 śrub kołnierzowych (¼ x ½ cala) odkręconych wcześniej w kroku 1.
Dopasuj zaślepkę przełącznika do otworu w panelu 3 przełączników w miejscu odkręconego przełącznika regulacji dawki (Rysunek 33).
Wciskaj zaślepkę przełącznika w panel 3 przełączników, aż zatrzaśnie się bezpiecznie w panelu (Rysunek 33).
Przy zewnętrznej sekcji zraszania odłącz zacisk węża mocujący przewód sekcji zraszacza do trójnika z występem (Rysunek 35).

Zdjąć wąż z trójnika (Rysunek 35).
Zdjąć wolny koniec węża z zacisku R (Rysunek 35).
Powtórz kroki od 1 do 3 dla węża doprowadzającego na drugiej zewnętrznej sekcji zraszania.
Pod środkową sekcją zraszania odłączyć zacisk węża mocujący wąż doprowadzający dla środkowej sekcji zraszania do trójnika z występem (Rysunek 36).

Odłącz elementy ustalające mocujące szybkozłącza lewego, środkowego i prawego przewodu doprowadzającego od szybkozłączy zaworów sekcji zraszania (Rysunek 37).
Note: Zachować zapinki do instalacji w Zamocowanie węży do zaworów dysz o numerach od 7 do 10.

Odłącz lewy, środkowy i prawy wąż doprowadzający od szybkozłączy zaworów sekcji zraszania, a następnie zabierz węże z maszyny (Rysunek 37).
Note: Przewody doprowadzające: lewy, środkowy i prawy nie będą już potrzebne.
Odłącz przewody hydrauliczne od złączy wysuwania lewego i prawego siłownika podnoszenia (Rysunek 39).


Odłącz przewody hydrauliczne od złączy C2 i C4 na rozdzielaczu siłowników podnoszenia (Rysunek 39).
Odłącz przewody hydrauliczne od złączy wsuwania lewego i prawego siłownika podnoszenia (Rysunek 39).
Odłącz przewody hydrauliczne od złączy C1 i C3 na rozdzielaczu siłowników podnoszenia (Rysunek 39).
Note: Przewody nie będą już potrzebne.
Nośność sprzętu do podnoszenia: 91 kg
Note: Zachowaj wszystkie odkręcane elementy mocujące za wyjątkiem wskazanych, będą one użyte przy montażu przedłużenia środkowego wysięgnika.
Do podtrzymania środkowej sekcji zraszania użyj sprzętu do podnoszenia o podanej nośności.
Wyjmij zawleczkę, a następnie sworzeń mocujący siłownik od strony tłoczyska do wspornika osi obrotu (Rysunek 40).
Note: Zachowaj sworzeń i zawleczkę do instalacji w kroku Montaż siłowników podnoszenia.

Odkręć nakrętkę kołnierzową zabezpieczającą (5/16 cala) oraz śrubę kołnierzową (5/16 x ¾ cala) mocujące sworzeń osi obrotu do mocowania siłownika (Rysunek 41).

Wyjmij sworzeń osi obrotu i siłownik podnoszenia z maszyny (Rysunek 41).
Wykonaj czynności w rozdziale Demontaż zewnętrznych sekcji zraszania.
Nośność sprzętu do podnoszenia: 91 kg
Note: Jeżeli maszyna jest wyposażona w opcjonalny zestaw wysięgników zakrytych, pozostaw pokrywy założone na zewnętrzne sekcje zraszania.
Podnoszenie ciężkich maszyn i osprzętu w nieprawidłowy sposób może doprowadzić do poważnych obrażeń, a nawet śmierci.
Podczas podnoszenia ciężkich maszyn i osprzętu należy stosować wyposażenie do podnoszenia, takie jak łańcuchy i pasy, o nośności dostosowanej do masy urządzeń.
Note: Zachowaj wszystkie odkręcane elementy mocujące za wyjątkiem wskazanych, będą one użyte przy montażu przedłużenia środkowego wysięgnika.
Odkręć śrubę kołnierzową (5/16 x 1 cal) oraz nakrętkę kołnierzową zabezpieczającą (5/16 cala) mocujące sworzeń osi obrotu do wspornika obrotowego (Rysunek 42).

Wyjmij sworzeń osi obrotu ze wspornika obrotowego środkowej sekcji zraszania i mocowania osi obrotu na zewnętrznej sekcji zraszania (Rysunek 42).
Note: Zachowaj śrubę kołnierzową, nakrętkę kołnierzową i sworzeń osi obrotu, zostaną one użyte do montażu w kroku Demontaż zewnętrznych sekcji zraszania.
Odłącz zewnętrzną sekcję zraszania ze środkowej sekcji zraszania i wyjmij zewnętrzną sekcję zraszania z maszyny (Rysunek 42).
Wyjmij 2 poliamidowe tuleje kołnierzowe z mocowania osi obrotu na zewnętrznej sekcji zraszania (Rysunek 42).
Note: Wyrzuć tuleje.
Powtórz czynności od 1 do 3 procedury Demontaż siłowników podnoszenia dla zewnętrznej sekcji zraszania po przeciwnej stronie maszyny.
Powtórz czynności od 1 do 4 z tego rozdziału dla zewnętrznej sekcji zraszania po przeciwnej stronie maszyny.
Zdemontuj rozdzielacz podnoszenia sekcji z mocowania siłownika wykonując następujące czynności:
W przypadku maszyn bez opcjonalnego zestawu ultradźwiękowego poziomowania wysięgników: wykręć 2 nakrętki zabezpieczające kołnierzowe (5/16 cala) i 2 śruby kołnierzowe (5/16 x 1 cal) mocujące wspornik rozdzielacza podnoszenia sekcji do mocowania siłownika i odłącz rozdzielacz i wspornik od mocowania siłownika (Rysunek 43).

W przypadku maszyn z opcjonalnym zestawem ultradźwiękowego poziomowania wysięgników: wykręć 2 nakrętki zabezpieczające kołnierzowe (5/16 cala) i 2 śruby kołnierzowe (5/16 x 1 cal) mocujące wspornik rozdzielacza podnoszenia sekcji i wspornik regulatora termoelektrycznego do mocowania siłownika i odłącz rozdzielacz i wspornik od mocowania siłownika (Rysunek 44).

Podtrzymać rozdzielacz podnoszenia sekcji przywiązując wspornik montażowy zaworu spryskiwacza za pomocą odcinka linki.
Note: Zachowaj wspornik i rozdzielacz podnoszenia, a także śruby i nakrętki do montażu w rozdziale Montaż rozdzielacza siłownika podnoszenia do mocowania siłownika.
Nośność sprzętu do podnoszenia: 41 kg
Jeżeli maszyna jest wyposażona w opcjonalny zestaw wysięgników zakrytych, zdejmij pokrywę ze środkowych sekcji zraszania.
Podtrzymaj środkową sekcję zraszania za pomocą sprzętu do podnoszenia o podanej nośności (Rysunek 45).

Za pomocą kawałka taśmy zaznacz otwory w miejscach, w których znajdują się 4 śruby kołnierzowe (½ x 1¼ cala) i 4 nakrętki zabezpieczające kołnierzowe (½ cala) mocujące wsporniki środkowej sekcji zraszania do płyty montażowej maszyny (Rysunek 46).

Odkręć 4 śruby kołnierzowe (½ x 1¼ cala) i 4 nakrętki kołnierzowe (½ cala) mocujące wsporniki środkowej sekcji zraszania do płyty montażowej na ramie maszyny i wyjmij środkową sekcję zraszania z maszyny (Rysunek 47).
Note: Zachowaj śruby i nakrętki zabezpieczające do montażu nowej środkowej sekcji zraszania.

Części potrzebne do tej procedury:
| Śruba z łbem kołnierzowym (⅜ x 1 cal) | 2 |
| Przeciwnakrętka kołnierzowa (⅜ cala) | 2 |
| Przedłużenie środkowego wysięgnika | 1 |
| Mocowanie siłownika (szerokie) | 1 |
| Płyta mocowania (szeroka) | 1 |
| Śruba zamkowa (½ x 1¼ cala) | 4 |
| Przeciwnakrętka kołnierzowa (½ cala) | 4 |
Na środkowej sekcji zraszania odkręć nakrętkę kołnierzową zabezpieczającą mocującą dyszę zraszacza do mocowania dyszy (Rysunek 48 oraz Rysunek 49).
Note: Zachowaj nakrętkę zabezpieczającą do montażu w kroku 6 procedury Instalowanie dysz i węży zraszacza do środkowej sekcji zraszania.


Odkręć śrubę ze stali nierdzewnej (nr 12 x 1¼ cala) mocującą górną część obejmy i króciec węża z pojedynczym lub podwójnym występem (¾ cala) do korpusu dyszy zraszacza, po czym odłącz wąż i króciec węża z występem od dyszy (Rysunek 50).
Note: Śruba z łbem sześciokątnym (5/16 x ¾ cala — stal nierdzewna) służy do oddzielenia górnej części obejmy po jej otwarciu. Należy ją zachować do montażu.

Odłącz dyszę od środkowej sekcji zraszania (Rysunek 48 oraz Rysunek 49).
Powtórz kroki 1 oraz 2 dla dwóch pozostałych dysz zraszacza.
Note: Zachowaj dysze zraszacza, śruby ze stali nierdzewnej i śruby z łbami kołnierzowymi do montażu w krokach 6 oraz 7 procedury Montaż dysz i węży zraszacza środkowej sekcji zraszania.
Odłącz węże (średnica wewnętrzna ¾ cala), króćce węży z występem, obejmy i trójnik z występem od środkowej sekcji zraszania (Rysunek 48).
Note: Wąż, króćce węży, obejmy i trójnik nie będą już potrzebne.
Nośność sprzętu do podnoszenia: 41 kg
Podtrzymaj środkową sekcję zraszania za pomocą sprzętu do podnoszenia o podanej nośności.
Odkręć 2 śruby kołnierzowe (⅜ x 1 cal) i 2 nakrętki kołnierzowe zabezpieczające (⅜ cala) mocujące wspornik do środkowej sekcji zraszania, a następnie zdejmij wspornik (Rysunek 51).

Odkręć 2 śruby kołnierzowe (⅜ x 1 cal) i 2 nakrętki kołnierzowe zabezpieczające (⅜ cala) mocujące drugi wspornik do środkowej sekcji zraszania, a następnie zdejmij wspornik (Rysunek 51).
Note: Zachowaj wsporniki, śruby i nakrętki zabezpieczające do montażu w krokach 3 oraz 4 procedury Montaż wsporników do środkowej sekcji zraszania.
Odkręć 2 śruby kołnierzowe (⅜ x 1 cal) i 2 nakrętki zabezpieczające (⅜ cala) mocujące pionowe kołnierze lewej i prawej ramy kratownicowej (Rysunek 52).

Odkręć 2 śruby zamkowe (½ x 1¼ cala) i 2 nakrętki zabezpieczające (½ cala) mocujące wąskie mocowanie siłownika, lewą i prawą ramę kratownicową oraz wąską płytę mocowania (Rysunek 53).

Note: Zachowaj śruby kołnierzowe, śruby zamkowe i nakrętki zabezpieczające do montażu w krokach 2 oraz 7 procedury Montaż przedłużenia środkowego wysięgnika. Wąskie mocowanie siłownika i wąska płyta mocowania nie będą już potrzebne.
Oddziel od siebie lewą i prawą ramę kratownicową.
Ustaw otwory w pionowych kołnierzach przedłużenia środkowego wysięgnika równo z otworami w ramie kratownicowej (Rysunek 54).

Luźno zamocuj przedłużenie środkowego wysięgnika do ramy kratownicy (Rysunek 54) używając 2 śrub kołnierzowych (⅜ x 1 cala) i 2 nakrętek kołnierzowych zabezpieczających (⅜ cala) odkręconych w kroku 1 procedury Rozdzielanie kratownic środkowej sekcji zraszania.
Ustaw otwory w pionowych kołnierzach przedłużenia środkowego wysięgnika równo z otworami w drugiej ramie kratownicowej (Rysunek 54).
Luźno zamocuj przedłużenie środkowego wysięgnika do drugiej ramy kratownicy (Rysunek 54) używając 2 śrub kołnierzowych (⅜ x 1 cala) i 2 nakrętek kołnierzowych zabezpieczających (⅜ cala) z zestawu wykończeniowego systemu zraszania GeoLink (Rysunek 54).
Ustaw otwory w mocowaniu siłownika równo z otworami na linii środkowej ramy kratownicowej i przedłużenia środkowego wysięgnika (Rysunek 55).

Włóż płytę mocowania w ramę kratownicową i przedłużenie środkowego wysięgnika, po czym ustaw otwór w płycie mocowania równo z otworami na linii środkowej kratownic i przedłużenia wysięgnika (Rysunek 55).
Skręć mocowanie siłownika, kratownice, przedłużenie środkowego wysięgnika i płytę mocowania za pomocą 2 śrub zamkowych (½ x 1¼ cala) i 2 nakrętek kołnierzowych zabezpieczających (½ cala) odkręconych w kroku 2 procedury Rozdzielanie kratownic środkowej sekcji zraszania oraz 4 śrub zamkowych (½ x 1¼ cala) i 4 nakrętek kołnierzowych zabezpieczających (½ cala) z zestawu wykończeniowego systemu zraszania GeoLink (Rysunek 55).
Dokręć śruby kołnierzowe i nakrętki zabezpieczające kołnierzowe o średnicy ⅜ cala z momentem od 37 do 45 N-m.
Dokręć nakrętki zabezpieczające kołnierzowe ½ cala z momentem od 91 do 113 N∙m.
Części potrzebne do tej procedury:
| Dysza zraszacza | 2 |
| Zespół węża (zawór zraszacza 5 lub 6) | 2 |
| Przeciwnakrętka kołnierzowa (5/16 cala) | 2 |
Nośność sprzętu do podnoszenia: 55 kg
Podtrzymaj środkową sekcję zraszania za pomocą sprzętu do podnoszenia o podanej nośności.
Ustaw otwory w prawym wsporniku równo z otworami w prawej ramie kratownicowej w sposób pokazany na (Rysunek 56).

Zamocuj prawy wspornik do prawej ramy kratownicy (Rysunek 56) używając 2 śrub kołnierzowych (⅜ x 1 cala) i 2 nakrętek kołnierzowych zabezpieczających (⅜ cala) odkręconych w krokach 2 i 3 procedury Demontaż wsporników środkowej sekcji zraszania.
Powtórz kroki 2 oraz 3 dla lewego wspornika przy lewej ramie kratownicowej (Rysunek 56).
Dokręć śruby kołnierzowe i nakrętki zabezpieczające kołnierzowe z momentem od 37 do 45 N-m.
Za pomocą sprzętu do podnoszenia unieś nową środkową sekcję zraszania na wysokość komfortowej pracy.
W 2 dyszach zraszacza z zestawu wykończeniowego systemu zraszania GeoLink odkręć śrubę ze stali nierdzewnej mocującą górną część obejmy dyszy do łoża (Rysunek 57).

Zlokalizuj otwór z boku króćca węża z jednym występem na końcu węża o długości 25 cm z zespołu węży (zawór zraszacza 5 lub 6) środkowej sekcji zraszania (Rysunek 57 oraz Rysunek 58).

Ustaw rurę doprowadzającą w łożu dyszy zraszacza (Rysunek 57) równo z otworem z boku króćca węża z pojedynczym występem (½ cala).
Załóż górną część obejmy wokół króćca węża z występem i zamocuj część obejmy i korpus dyszy zraszacza (Rysunek 57) za pomocą śruby ze stali nierdzewnej (nr 12 x 1¼ cala). Dokręć śrubę ze stali nierdzewnej z momentem od 14 do 18 N∙m.
Important: Nie dokręcaj śruby ze stali nierdzewnej z momentem większym niż podany w kroku 5.
Note: Przy dociskaniu obejmy upewnij się, że śruba z łbem sześciokątnym (5/16 x ¾ cala) jest osadzona we wgłębieniu górnej części obejmy.
Używając dyszy zraszacza, śruby z łbem sześciokątnym i śruby ze stali nierdzewnej odkręconych w krokach 1 oraz 2 procedury Demontaż dyszy zraszacza powtórz kroki od 3 do 5 z króćcem węża z pojedynczym występem (Rysunek 57 oraz Rysunek 58) na końcu drugiego węża o długości 25 cm.
Używając 2 dysz zraszacza odkręconych w kroku 4 procedury Demontaż dyszy zraszacza powtórz kroki od 3 do 5 z króćcami węża z pojedynczym występem drugiego zespołu węży (zawór zraszacza 5 lub 6) środkowej sekcji zraszania (Rysunek 57 oraz Rysunek 58).
Poprowadź zespół węża 13 mm i dyszy między poprzeczkami kratownicy zewnętrznej (Rysunek 59).

Poprowadź wąż i dyszę nad poprzeczką kratownicy i od zewnątrz zewnętrznego mocowania dyszy (Rysunek 59).
Przełóż śrubę z łbem sześciokątnym (5/16 x ¾ cala) dyszy zraszacza przez otwór w mocowaniu dyszy i luźno zamocuj dyszę do mocowania nakrętką kołnierzową zabezpieczającą (5/16 cala) z zestawu wykończeniowego systemu zraszania GeoLink (Rysunek 60).

Poprowadź drugi zespół węża 13 mm i dyszy między poprzeczkami kratownicy zewnętrznej (Rysunek 59).
Poprowadź wąż i dyszę nad poprzeczką kratownicy i od wewnątrz wewnętrznego mocowania dyszy (Rysunek 59).
Przełóż śrubę z łbem sześciokątnym (5/16 x ¾ cala) dyszy zraszacza przez otwór w mocowaniu dyszy (Rysunek 60) i luźno zamocuj dyszę do mocowania nakrętką kołnierzową zabezpieczającą (5/16 cala) odkręconą w krokach 1 oraz 4 procedury Demontaż dyszy zraszacza.
Dokręć nakrętkę kołnierzową zabezpieczającą z momentem od 19,78 do 25,42 N∙m.
Poprowadź wąż i złącze z występem 13 x 810 mm do boku środkowej sekcji zraszania w kierunku strony z lewym i prawym wspornikiem (Rysunek 59).
Powtórz kroki od 1 do 8 dla drugiego zespołu węża i dyszy przy drugiej kratownicy zewnętrznej (Rysunek 59 oraz Rysunek 60).
Części potrzebne do tej procedury:
| Pokrywa końcowa (szybkozłącze) | 3 |
| Element ustalający | 3 |
Wyjmij górny koniec węża obejściowego w sposób opisany poniżej:
W przypadku maszyny bez opcjonalnego zestawu lancy do zraszania ręcznego lub opcjonalnego zestawu elektrycznego zwijania węża, odłącz małą zapinkę mocującą szybkozłącze węża obejściowego do szybkozłącza prawego zaworu obejścia sekcji (Rysunek 61).

W maszynach z opcjonalnym zestawem pistoletu natryskowego lub opcjonalnym zestawem elektrycznego zwijaka węża wykonaj następujące czynności:
Zdejmij zapinkę mocującą złącze szybkozłączne zaworu odcinającego do gniazda szybkozłącznego zaworu obejścia prawej sekcji i odłącz zawór od gniazda (Rysunek 62).

Zdejmij zapinkę mocującą złącze szybkozłączne zaworu odcinającego do gniazda szybkozłącznego łącznik 90° z występem i odłącz zawór od gniazda (Rysunek 62).
Note: Zachowaj zawór odcinający i zapinki do momentu montażu w kroku Montaż zaworów odcinających do węża obejściowego.
Zdejmuj dużą zapinkę mocującą złącze kątowe 90° z występem na dolnym końcu węża obejściowego do oprawki grodziowej na zbiorniku zraszacza (Rysunek 63).
Note: Zachowaj dużą zapinkę do montażu w kroku Montaż węży obejściowych do zbiornika.

Wyjmij wąż obejściowy z maszyny.
Note: Wąż obejściowy i mała zapinka nie będą już potrzebne.
Zdejmij 3 zapinki mocujące 3 siłowniki zaworów do zaworów lewej, środkowej i prawej sekcji (Rysunek 64).

Odłącz siłowniki zaworów od zaworów lewej, środkowej i prawej sekcji (Rysunek 64).
Zdejmij zapinkę mocującą pokrywę końcową do szybkozłącza zaworu obejścia i zdejmij pokrywę (Rysunek 65).
Note: Pokrywa końcowa nie będzie już potrzebna.

Zdejmij 3 zapinki mocujące 3 zawory obejścia do zaworów lewej, środkowej i prawej sekcji (Rysunek 66).

Unieś zawory obejścia z zaworów sekcji (Rysunek 66).
Przekręć zawory obejścia o 180° i zamontuj je do szybkozłączy zaworów sekcji (Rysunek 66).
Zamocuj 3 zawory obejścia do zaworów sekcji za pomocą 3 zapinek zdjętych w kroku 4 (Rysunek 66).
Zamocuj korek do gniazda szybkozłącza zaworu obejścia (Rysunek 67).

Zamocuj korek do szybkozłącza za pomocą zapinki zdjętej w kroku 3 (Rysunek 67).
Zamocuj 3 siłowniki zaworów do zaworów lewej, środkowej i prawej sekcji (Rysunek 64) za pomocą zapinek zdjętych w kroku 1.
Note: Zawory sekcji zostaną dołączone do zaworów 10-zaworowego systemu zraszania GeoLink w kroku Montaż 3 zaworów sekcji do wspornika zaworów.
Odkręć 2 śruby kołnierzowe (¼ x ¾ cala) i 2 nakrętki zabezpieczające (¼ cala) mocujące zawór lewej sekcji wysięgnikowej do mocowania rozdzielacza (Rysunek 68).
Note: 2 śruby kołnierzowe i nakrętki kołnierzowe nie będą już potrzebne.

Odkręć 2 śruby kołnierzowe (¼ x ¾ cala) i 2 nakrętki zabezpieczające (¼ cala) mocujące zawór prawej sekcji wysięgnikowej do mocowania rozdzielacza (Rysunek 68).
Zdejmij zacisk kołnierzowy 40 do 64 mm i uszczelkę 25 x 35 mm mocujące kołnierz lewego zaworu sekcji do adaptera (Rysunek 68).
Note: Zachowaj 2 śruby kołnierzowe, 2 nakrętki zabezpieczające, zacisk kołnierzowy do montażu w kroku Montaż 3 zaworów sekcji do wspornika zaworów.

Wyjmij 3 zawory sekcji z maszyny (Rysunek 69).
Zdejmij etykiety z siłowników 3 zaworów sekcji (Rysunek 70).

Zdejmij obejmę kołnierzową 51 mm i uszczelkę 38 mm mocującą kołnierz adaptera do kołnierza przepływomierza (Rysunek 71).
Note: Zachowaj zacisk kołnierzowy i uszczelkę do montażu w kroku Montaż rozdzielacza do przepływomierza.

Części potrzebne do tej procedury:
| Mocowanie przepływomierza | 1 |
| Połówka obejmy mocującej | 4 |
| Śruba (¼ x 4½ cala) | 4 |
| Przeciwnakrętka kołnierzowa (¼ cala) | 4 |
Odłącz złącze 3-stykowe gniazdowe wiązki przewodów maszyny oznaczone PRZEPłYWOMIERZ od złącza 3-stykowego przepływomierza (Rysunek 72).

Wyjmij 2 łączniki wciskane wiązki przewodów maszyny z dolnego kołnierza wspornika zaworu sekcji (Rysunek 72).
Odkręć 4 śruby kołnierzowe (5/16 x ¾ cala) mocujące wspornik zaworu sekcji od mocowania zaworu i wyjmij wspornik zaworu z maszyny (Rysunek 73).
Note: Zachowaj 4 śruby kołnierzowe do montażu w kroku Montaż mocowania i obejm przepływomierza, wspornik zaworu sekcji nie będzie już potrzebny.

Ustaw otwory we wsporniku przepływomierza równo z otworami we wsporniku zaworu (Rysunek 74).

Zamontuj wspornik przepływomierza do wspornika zaworu za pomocą 4 śrub kołnierzowych odkręconych w kroku 3 procedury Demontaż wspornika zaworu sekcji i dokręć śruby z momentem od 19,78 do 25,42 N·m.
Ustaw 2 połówki obejmy mocującej między przepływomierzem a wspornikiem przepływomierza i zrównaj otwory w połówkach obejm z otworami we wsporniku (Rysunek 75).

Ustaw połówkę obejmy mocującej z tyłu przepływomierza równo z jedną z połówek obejmy zamontowanej w kroku 3 (Rysunek 75).
Zamocuj parę połówek obejmy do wspornika przepływomierza (Rysunek 75) używając 2 śrub (¼ x 4½ cala) i 2 nakrętek kołnierzowych zabezpieczających (¼ cala).
Powtórz kroki 4 oraz 5 dla drugiej połówki obejmy zamontowanej w kroku 3.
Dokręć śruby i nakrętki z momentem od 10,17 do 12,43 N∙m.
Części potrzebne do tej procedury:
| Tylna wiązka przewodów | 1 |
| Opaska zaciskowa | 7 |


Zlokalizuj odgałęzienie 84 cm, odgałęzienie 60 cm oraz odgałęzienie 66 cm wiązki przewodów z zestawu (Rysunek 76 oraz Rysunek 77).
Poprowadź odgałęzienia 84 cm, 60 cm oraz 66 cm wiązki przewodów z zestawu do lewej strony maszyny wzdłuż wiązki przewodów maszyny (Rysunek 78 oraz Rysunek 79).


Poprowadź odgałęzienia 84 cm, 60 cm oraz 66 cm wiązki przewodów z zestawu do przodu wzdłuż lewego kanału ramy (Rysunek 81 oraz Rysunek 82).



Poprowadź odgałęzienia 84 cm, 60 cm oraz 66 cm wiązki przewodów z zestawu wzdłuż wiązki przewodów maszyny, od zewnętrznej strony zespołu hamulca postojowego (Rysunek 83).

Poprowadź odgałęzienia 84 cm, 60 cm oraz 66 cm wiązki przewodów z zestawu w poprzek rury wspornika amortyzatora, w sposób pokazany na Rysunek 84.

Zamocuj wiązkę przewodów z zestawu do wiązki przewodów maszyny w sposób pokazany na Rysunek 82, Rysunek 83 oraz Rysunek 84.
Z tyłu maszyny poprowadź odgałęzienie wiązki przewodów 89 cm od przedniej strony rozdzielacza podnoszenia i po prawej stronie przepływomierza, w sposób pokazany na Rysunek 85.

Poprowadź odgałęzienie wiązki przewodów 102 cm od tylnej strony rozdzielacza podnoszenia i w prawą stronę w sposób pokazany na Rysunek 85.
Podłącz złącze 3-stykowe gniazdowe odgałęzienia wiązki przewodów 89 cm oznaczone LEWY ZRASZACZ do złącza 3-stykowego gniazdowego wiązki przewodów maszyny oznaczonego LEWY ZAWóR ZRASZANIA (Rysunek 86).

Podłącz złącze 3-stykowe wiązki przewodów z zestawu oznaczone śRODKOWY ZRASZACZ do złącza 3-stykowego gniazdowego wiązki przewodów maszyny oznaczonego śRODKOWY ZAWóR ZRASZANIA (Rysunek 86).
Podłącz złącze 3-stykowe wiązki przewodów z zestawu oznaczone PRAWY ZRASZACZ do złącza 3-stykowego gniazdowego wiązki przewodów maszyny oznaczonego PRAWY ZAWóR ZRASZANIA (Rysunek 86).
Włóż łącznik wciskany wiązki przewodów z zestawu w otwór w kołnierzu wspornika przepływomierza (Rysunek 86).
Podłącz elektryczne złącze 3-stykowe gniazdowe odgałęzienia wiązki przewodów 89 cm oznaczone PRZEPłYWOMIERZ do złącza 3-stykowego przepływomierza (Rysunek 87).

Podłącz złącze 3-stykowe odgałęzienia wiązki przewodów 89 cm oznaczone ZAWóR GłóWNY do złącza 3-stykowego gniazdowego wiązki przewodów maszyny oznaczonego GłóWNY ZAWóR ZRASZANIA (Rysunek 88).

Podłącz złącze 3-stykowe siłownika głównego zaworu zraszania do złącza 3-stykowego gniazdowego odgałęzienia wiązki przewodów 89 cm oznaczonego ZAWóR GłóWNY (Rysunek 88).
Podłącz złącze 4-stykowe siłownika zaworu regulacji dawki do złącza 4-stykowego gniazdowego odgałęzienia wiązki przewodów 89 cm oznaczonego ZAWóR REGULACJI DAWKI (Rysunek 89).

Części potrzebne do tej procedury:
| Złącze proste węża z występem (1 x 2 cale) | 1 |
| Zacisk węża (¾ do 1½ cala) | 3 |
| Wąż (1 x 5¾ cala) | 1 |
| Rozdzielacz | 1 |
| Wąż (1 x 16 cali) | 1 |
Zamocuj wąż (1 x 5¾ cala) do złącza prostego węża z występem (1 x 2 cale) używając zacisku węża (¾ do 1½ cala), zacisk dokręć palcami (Rysunek 90).

Zamocuj drugi koniec węża (1 x 5¾ cala) do złącza z występem na rozdzielaczu, używając zacisku węża w sposób pokazany na Rysunek 90, zacisk węża dokręć palcami.
Zamocuj wąż (1 x 16 cali) do drugiego złącza z występem na rozdzielaczu, używając zacisku węża, zacisk węża dokręć palcami (Rysunek 90).
Zamocuj złącze proste węża z występem (1 x 2 cale) do kołnierza przepływomierza, używając uszczelki 38 mm i obejmy kołnierzowej 51 mm odłączonej w kroku 6 procedury Demontaż zaworów sekcji z mocowania rozdzielacza.

Obejmę kołnierzową dokręć palcami (Rysunek 91).
Części potrzebne do tej procedury:
| Złącze szybkozłączne 90° (gniazdo — 1 cal) | 2 |
| Wąż (1 x 26 cali) | 2 |
| Zacisk węża (¾ x 1 1/5 cala) | 5 |
| Trójnik (1 x 1 x 1 cal) | 1 |
| Zespół złącza kątowego 90° z występem i węża | 1 |
| Zawór odcinający | 1 |
Zamontuj złącze szybkozłączne 90° (gniazdo — 1 cal) do węża (1 x 26 cali), a następnie zamocuj wąż do złącza za pomocą zacisku węża w sposób pokazany na Rysunek 92.

Zamocuj swobodny koniec węża do trójnika w sposób pokazany na Rysunek 92 i zamocuj wąż do złącza za pomocą zacisku węża.
Powtórz kroki od 1 do 2 dla drugiego złącza kątowego 90° z występem, szybkozłącza i węża.
Zamocuj zespół złącza kątowego 90° z występem i węża do trójnika i zamocuj wąż do złącza używając zacisku węża (Rysunek 92).
Postępując zgodnie z Rysunek 93 zdejmij zapinkę ze złącza szybkozłącznego 90° zamontowanego w kroku Montaż węży obejściowych.

Zamontuj zawór odcinający do gniazda szybkozłącza (Rysunek 93).
Zamocuj zawór do złącza za pomocą zapinki zdjętej w kroku 1.
Zamontuj zawór odcinający i zapinkę zdemontowane w kroku 1 procedury Wyjmowanie węża obejściowego sekcji do drugiego gniazda złącza szybkorozłącznego (Rysunek 93).
Przyłóż zespół węża obejściowego do zbiornika zraszacza (Rysunek 94).


Zamocuj złącze kątowe 90° z występem do złączki grodziowej zbiornika zraszacza i zamocuj złącza za pomocą zapinki zdjętej w kroku 2 procedury Wyjmowanie węża obejściowego sekcji.
Nośność sprzętu do podnoszenia: 55 kg
Za pomocą sprzętu do podnoszenia o podanej nośności należy unieść środkową sekcję zraszania i ustawić otwory we wsporniku nośnym sekcji zraszania (Rysunek 95) równo z otworami w płycie montażowej na ramie maszyny zlokalizowanymi w kroku 3 procedury Demontaż środkowej sekcji zraszania.

Zamocuj środkową sekcję zraszania do kanałów montażowych (Rysunek 95) używając 4 śrub kołnierzowych (½ x 1¼ cala) i 4 nakrętek kołnierzowych zabezpieczających (½ cala) odkręconych w kroku 4 procedury Demontaż środkowej sekcji zraszania.
Dokręć nakrętki i śruby z momentem od 91 do 113 N·m.
Odwiąż rozdzielacz podnoszenia od wspornika mocowania zaworu.
Zamontuj rozdzielacz podnoszenia sekcji do mocowania siłownika w następujący sposób:
W przypadku maszyn bez opcjonalnego zestawu ultradźwiękowego poziomowania wysięgników:
Ustaw otwory we wsporniku rozdzielacza podnoszenia sekcji równo z otworami w mocowaniu siłownika (Rysunek 96).

Zamocuj wspornik do mocowania siłownika (Rysunek 96) używając 2 śrub kołnierzowych (5/16 x 1 cal) i 2 nakrętek kołnierzowych zabezpieczających (5/16 cala) odkręconych w kroku 1 procedury Demontaż rozdzielacza podnoszenia sekcji ze środkowej sekcji zraszania.
W przypadku maszyn z opcjonalnym zestawem ultradźwiękowego poziomowania wysięgników:
Ustaw otwory we wsporniku rozdzielacza podnoszenia sekcji i wsporniku regulatora termoelektrycznego równo z otworami w mocowaniu siłownika.

Zamocuj wspornik i wspornik regulatora termoelektrycznego do mocowania siłownika (Rysunek 97) używając 2 śrub kołnierzowych (5/16 x 1 cal) i 2 nakrętek kołnierzowych zabezpieczających (5/16 cala) odkręconych w kroku 1 procedury Demontaż rozdzielacza podnoszenia sekcji ze środkowej sekcji zraszania.
Dokręć śruby i nakrętki z momentem od 19,78 do 25,42 N∙m.
Części potrzebne do tej procedury:
| Zespół wspornika zaworów i zaworów zraszacza | 1 |
| Śruba (4 x 10 mm) | 3 |
| Regulator zraszacza ASC 10 | 1 |
| Nakrętka zabezpieczająca kołnierzowa (4 mm) | 3 |
| Pokrywa końcowa (szybkozłącze) | 2 |
| Śruby kołnierzowe (5/16 x ¾ cala) | 8 |
| Przeciwnakrętka kołnierzowa (5/16 cala) | 8 |
| Zacisk przewodowy | 1 |
| Łącznik wciskany (opaska kablowa) | 1 |
| Łącznik wciskany (uchwyt złącza) | 3 |
Ustaw regulator zraszacza ASC 10 równo z przednią stroną wspornika zaworów tak, aby złącze 4-stykowe było skierowane na zewnątrz (Rysunek 98).

Zamontuj regulator zraszacza na wsporniku zaworów (Rysunek 98) używając 3 śrub (4 x 10 mm) i 3 nakrętek kołnierzowych zabezpieczających (4 mm).
Note: Nie używaj górnego, zewnętrznego otworu w regulatorze zraszacza ASC 10.
Dokręć śruby i nakrętki z momentem od 2,34 do 2,86 N∙m.
Zdejmij zapinki mocujące siłownik zaworów dla zaworów dysz o numerach od 1 do 7 (Rysunek 99).

Zdejmij siłowniki zaworów z zaworów dysz od 1 do 7 (Rysunek 99).
Zdjąć zapinki mocujące korki w gniazdach szybkozłączy przy zaworze dyszy 5 i zaworze dyszy 6, po czym wyjąć korki (Rysunek 100).
Note: Korki nie będą już potrzebne, natomiast zapinki należy zachować do montażu w kroku Instalowanie węża obejściowego sekcji‑maszyny z opcjonalnym zestawem lancy do zraszania ręcznego lub opcjonalnym zestawem elektrycznego zwijania węża.

Zdejmij zapinki mocujące zawory obejścia do zaworów dysz o numerach od 1 do 7 (Rysunek 101).

Unieś zawory obejścia z zaworów sekcji o numerach od 1 do 5 (Rysunek 101).
Przekręć zawory obejścia o 180° i zamontuj je do szybkozłączy zaworów sekcji (Rysunek 102).

Zamocuj zawory obejścia do zaworów sekcji za pomocą zapinek (Rysunek 102) zdjętych w kroku 4.
Powtórz kroki od 5 do 7 dla zaworów obejścia zaworu dyszy 6 i zaworu dyszy 7 (Rysunek 103).

Zamocuj pokrywy końcowe na szybkozłącza zaworów obejścia dla zaworu dyszy 5 i zaworu dyszy 6 używając zapinek dostarczonych z pokrywami (Rysunek 102).

Zamocuj siłowniki zaworów do zaworów dysz o numerach od 1 do 7 (Rysunek 99) za pomocą zapinek zdjętych w kroku 1.
Zamontuj 3 zawory sekcji (Rysunek 105) zdemontowane w kroku 8 procedury Demontaż zaworów sekcji z mocowania rozdzielacza do kołnierza zaworu 7 zespołu zaworów zraszacza używając obejmy kołnierzowej i uszczelki zdemontowanych w kroku 4 procedury Demontaż zaworów sekcji z mocowania rozdzielacza.
Important: Zawory sekcji lewej, środkowej i prawej są identyfikowane przez system zraszacza GeoLink w następujący sposób: zawór lewej sekcji — zawór dyszy 8, środkowy zawór sekcji — zawór dyszy 9 oraz prawej sekcji — zawór dyszy 10.

Zamocuj gniazdo szybkozłącza zaworu obejścia zaworu dyszy 8 do szybkozłącza zaworu obejścia zaworu dyszy 7 używając zapinki zdjętej w kroku 8 procedury Demontaż zaworów sekcji z mocowania rozdzielacza.

Zamocuj zawór dyszy 10 do wspornika zaworów (Rysunek 107 lub Rysunek 108) używając 2 śrub kołnierzowych (¼ x ¾ cala) i 2 nakrętek zabezpieczających (¼ cala) odkręconych w kroku 2 procedury Demontaż zaworów sekcji z mocowania rozdzielacza.


Dokręcić śruby kołnierzowe i nakrętki zabezpieczające kołnierzowe z momentem od 10,17 do 12,43 N∙m.
Nośność sprzętu do podnoszenia: 23 kg
Za pomocą sprzętu do podnoszenia o podanej nośności unieś zespół wspornika zaworów i zaworów zraszacza, a następnie ustaw go nad środkową sekcją zraszania (Rysunek 109).

Ustaw otwory w uchwycie montażowym wspornika zaworów równo z otworami w ramie kratownicowej środkowej sekcji zraszacza (Rysunek 110).

Zamocuj wspornik zaworów do ramy kratownicowej (Rysunek 110 oraz Rysunek 111) za pomocą 4 śrub (5/16 x ¾ cala) i 4 nakrętek zabezpieczających kołnierzowych (5/16 cala).

Powtórz kroki od 2 do 3 dla drugiego uchwytu montażowego wspornika zaworów przy drugiej ramie kratownicowej.
Dokręć śruby kołnierzowe i nakrętki kołnierzowe zabezpieczające z momentem od 19,78 do 25,42 N∙m.
Zamocuj wąż (1 x 16 cali) do kolanka kołnierzowego 90° (1 cal) w sposób pokazany na Rysunek 112.

Zamocuj wąż do złącza kołnierzowego za pomocą zacisku węża (Rysunek 112).
Zamocuj opaskę kablową/łącznik wciskany do otworu u góry wspornika zaworów w sposób pokazany na Rysunek 112.
Zamocuj opaskę kablową/łącznik wciskany (Rysunek 112) wokół węża (1 x 16 cali).
Wyjmij zapinki z gniazd szybkozłączy zamocowanych wcześniej do węży obejściowych w kroku 1 procedury Montaż węży obejściowych.
Zamocuj szybkozłącze węża obejściowego do szybkozłącza przy zaworze obejścia zaworu dyszy 10 (Rysunek 113).

Zamocuj za pomocą zapinki szybkozłącza węża obejściowego i zaworu obejścia (Rysunek 113).
Powtórz kroki od 1 do 3 dla szybkozłączy przy zaworze dyszy 1.
Zamocuj szybkozłącze zaworu odcinającego obejścia do szybkozłącza (gniazda) zaworu obejścia (Rysunek 114).

Zamocuj szybkozłącza zaworu odcinającego obejścia i zaworu obejścia za pomocą zapinki (Rysunek 114) zdjętej w kroku 3 procedury Ustawianie zaworów obejścia — Maszyny z opcjonalnym zestawem lancy do zraszania ręcznego lub opcjonalnym zestawem elektrycznego zwijania węża.
Powtórz kroki od 1 do 2 dla zaworu odcinającego obejścia i zaworu obejścia po drugiej stronie maszyny.
Zamocuj łączniki wciskane uchwytów złączy w otworach wspornika zaworów (Rysunek 115).


Podłącz złącze 3-stykowe gniazdowe (Rysunek 116) odgałęzienia wiązki przewodów 89 cm z zestawu oznaczone ZAWóR DYSZY 1) do złącza 3-stykowego siłownika zaworu umieszczonego po lewej skrajnej stronie (pozycja 1).
Note: Pozycje siłowników zaworów o numerach od 1 do 10 są rozmieszczone od lewej do prawej strony patrząc na maszynę od tyłu.
Podłącz złącze 3-stykowe gniazdowe (Rysunek 116) odgałęzienia wiązki przewodów 89 cm oznaczone ZAWóR DYSZY 2) do złącza 3-stykowego siłownika zaworu (pozycja 2).
Podłącz pozostałe złącza 3-stykowe gniazdowe odgałęzienia wiązki przewodów 89 cm do 3-stykowych złączy siłowników zaworów (Rysunek 116).
Note: Upewnij się, że złącze 3-stykowe gniazdowe jest podłączone do siłownika zaworu na odpowiedniej pozycji.
Części potrzebne do tej procedury:
| Przewód hydrauliczny (¼ x 24¾ cala) | 4 |
Ustaw nieruchomy koniec siłownika podnoszenia zdemontowany w kroku 3 procedury Demontaż siłowników podnoszenia równo z otworem 16 mm w mocowaniu siłownika (Rysunek 117).
Note: Upewnij się, że złącza wysuwania i wsuwania siłownika są ustawione w jednej linii.

Zamocuj siłownik do jego mocowania używając sworznia osi obrotu, śruby kołnierzowej i nakrętki kołnierzowej (Rysunek 117).
Dokręć śrubę i nakrętkę z momentem od 19,78 do 25,42 N∙m.
Powtórz kroki od 1 do 3 dla drugiego siłownika podnoszenia po drugiej stronie mocowania siłownika.
Luźno zamocuj nowy przewód hydrauliczny (¼ x 24¾ cala) między złączem wysuwania lewego siłownika podnoszenia wysięgnika a złączem C3 rozdzielacza podnoszenia wysięgników (Rysunek 118).

Luźno zamocuj nowy przewód hydrauliczny (¼ x 24¾ cala) między złączem wsuwania lewego siłownika podnoszenia wysięgnika a złączem C4 rozdzielacza podnoszenia wysięgników (Rysunek 118).
Luźno zamocuj nowy przewód hydrauliczny (¼ x 24¾ cala) między złączem wysuwania prawego siłownika podnoszenia wysięgnika a złączem C1 rozdzielacza podnoszenia wysięgników (Rysunek 119).

Luźno zamocuj nowy przewód hydrauliczny (¼ x 24¾ cala) między złączem wsuwania prawego siłownika podnoszenia wysięgnika a złączem C2 rozdzielacza podnoszenia wysięgników (Rysunek 119).
Dokręć złącza przewodów przy króćcach wysuwania i wsuwania siłowników podnoszenia (Rysunek 118 oraz Rysunek 119) z momentem od 21 do 26 N∙m.
Dokręć nakrętki przechylne przewodów przy rozdzielaczu podnoszenia wysięgników (Rysunek 118 oraz Rysunek 119) z momentem od 24 do 30 N·m.
Części potrzebne do tej procedury:
| Poliamidowa tuleja kołnierzowa | 4 |
| Opaska zaciskowa | 1 |
| Zespół węża doprowadzającego 188 cm | 1 |
| Zespół węża doprowadzającego 234 cm | 1 |
| Zespół węża doprowadzającego 279 cm | 1 |
Przetnij wąż między 2 dyszami zraszacza (Rysunek 120).

Odkręć nakrętkę kołnierzową zabezpieczającą (5/16 cala) mocującą dyszę zraszacza do wspornika dyszy (Rysunek 120).
Powtórz kroki 2 oraz 1 dla 3 pozostałych dysz.
Note: Zachowaj nakrętkę kołnierzową zabezpieczającą i dyszę zraszacza do montażu w kroku Montaż dysz zraszacza na zewnętrznych sekcjach zraszania.
Note: Wyrzuć węże, obejmy i trójnik odkręcony od maszyny.
Powtórz kroki od 2 do 3 przy drugiej zewnętrznej sekcji zraszania.
Dla każdej z 8 dysz zraszacza zdemontowanych w kroku 1 odkręć śrubę ze stali nierdzewnej (nr 12 x 1¼ cala) mocującą górną część obejmy i króciec węża z pojedynczym lub podwójnym występem (¾ cala) do korpusu dyszy zraszacza, po czym odłącz króciec węża z występem (Rysunek 121).
Note: Śruba z łbem sześciokątnym (5/16 x ¾ cala — stal nierdzewna) służy do oddzielenia górnej części obejmy po jej otwarciu. Należy ją zachować do montażu.

Nośność sprzętu do podnoszenia: 91 kg
Unieś zewnętrzny wysięgnik za pomocą sprzętu do podnoszenia o wymaganej nośności.
Z każdej strony złącza osi obrotu (Rysunek 122) włóż poliamidowe tuleje kołnierzowe w otwór 31,8 mm.

Ustaw tuleje w złączu osi obrotu równo z otworami w kołnierzach wspornika obrotowego na końcu środkowej sekcji zraszania (Rysunek 123).

Zamocuj złącze osi obrotu do wspornika obrotowego używając sworznia osi obrotu, śruby kołnierzowej (5/16 x 1 cal) i nakrętki kołnierzowej zabezpieczającej (5/16 cala) odkręconych w kroku 2 procedury Demontaż zewnętrznych sekcji zraszania.
Dokręć śrubę i nakrętkę z momentem od 19,78 do 25,42 N∙m.
Ustaw stronę tłoczyska siłownika podnoszenia równo z otworem 25 mm na końcu ramienia złącza osi obrotu (Rysunek 124).

Zamocuj siłownik podnoszenia do złącza osi obrotu za pomocą sworznia z łbem płaskim i zawleczki (Rysunek 124) zdjętych w kroku 2 procedury Demontaż siłowników podnoszenia.
Powtórz czynności od 1 do 7 przy zewnętrznej sekcji zraszania po przeciwnej stronie maszyny.
Części potrzebne do tej procedury:
| Wąż doprowadzający 279 cm | 2 |
| Wąż doprowadzający 234 cm | 2 |
| Wąż doprowadzający 188 cm | 4 |
| Wąż doprowadzający 81 cm | 2 |
Zidentyfikuj węże doprowadzające dla każdej pozycji dysz zraszacza na podstawie długości (Rysunek 125) zgodnie z poniższą tabelą:
| Pozycje dysz zraszacza — lewa sekcja zraszania | Pozycje dysz zraszacza — środkowa sekcja zraszania | Pozycje dysz zraszacza — prawa sekcja zraszania |
|---|---|---|
| Dysza zraszacza 1 (zawór dyszy 1) — wąż doprowadzający 279 cm | Dysze zraszacza 5 i 6 (zawór dyszy 5) — wąż doprowadzający 81 cm z 2 odgałęzieniami węża | Dysza zraszacza 9 (zawór dyszy 7) — wąż doprowadzający 188 cm |
| Dysza zraszacza 2 (zawór dyszy 2) — wąż doprowadzający 234 cm | Dysze zraszacza 7 i 8 (zawór dyszy 6) — wąż doprowadzający 81 cm z 2 odgałęzieniami węża | Dysza zraszacza 10 (zawór dyszy 8) — wąż doprowadzający 188 cm |
| Dysza zraszacza 3 (zawór dyszy 3) — wąż doprowadzający 188 cm | Dysza zraszacza 11 (zawór dyszy 9) — wąż doprowadzający 234 cm | |
| Dysza zraszacza 4 (zawór dyszy 4) — wąż doprowadzający 188 cm | Dysza zraszacza 12 (zawór dyszy 10) — wąż doprowadzający 279 cm |
Note: Pozycje zaworów dysz są podane na Rysunek 126 w rozdziale Zamocowanie węży do zaworów dysz o numerach od 1 do 4, Rysunek 127 w rozdziale Zamocowanie węży do zaworów dysz 5 i 6 oraz Rysunek 128 w rozdziale Zamocowanie węży do zaworów dysz o numerach od 7 do 10.

Zamocuj złącze proste z występem węża doprowadzającego 279 cm do złącza zaworu dyszy 1 (Rysunek 126).
Note: Upewnij się, że złącze z występem jest całkowicie osadzone w złączu.

Zamocuj złączkę z występem złącza używając zapinki (Rysunek 126).
Zamocuj złącze proste z występem węża doprowadzającego 234 cm do złącza zaworu dyszy 2 (Rysunek 126).
Note: Upewnij się, że złącze z występem jest całkowicie osadzone w złączu.
Zamocuj złączkę z występem złącza używając zapinki (Rysunek 126).
Zamocuj złącze proste z występem węża doprowadzającego 188 cm do złącza zaworu dyszy 3 (Rysunek 126).
Note: Upewnij się, że złącze z występem jest całkowicie osadzone w złączu.
Zamocuj złączkę z występem złącza używając zapinki (Rysunek 126).
Zamocuj złącze proste z występem węża doprowadzającego 188 cm do złącza zaworu dyszy 4 (Rysunek 126).
Note: Upewnij się, że złącze z występem jest całkowicie osadzone w złączu.
Zamocuj złączkę z występem złącza używając zapinki (Rysunek 126).
Note: Zespół węża doprowadzającego 81 cm posiada trójnik z dwoma odgałęzieniami i 2 prostymi króćcami węża z występem.
Zamocuj złącze proste z występem węża doprowadzającego 81 cm do złącza zaworu dyszy 5 (Rysunek 127).
Note: Upewnij się, że złącze z występem jest całkowicie osadzone w złączu.

Zamocuj złączkę z występem złącza używając zapinki (Rysunek 127).
Zamocuj złącze proste z występem węża doprowadzającego 81 cm do złącza zaworu dyszy 6 (Rysunek 127).
Note: Upewnij się, że złącze z występem jest całkowicie osadzone w złączu.
Zamocuj złączkę z występem złącza używając zapinki (Rysunek 127).
Zamocuj złącze proste z występem węża doprowadzającego 188 cm do złącza zaworu dyszy 7 (Rysunek 128).
Note: Upewnij się, że złącze z występem jest całkowicie osadzone w złączu.

Zamocuj złączkę z występem złącza używając zapinki (Rysunek 128).
Zamocuj złącze proste z występem węża doprowadzającego 188 cm do złącza zaworu dyszy 8 (Rysunek 128).
Note: Upewnij się, że złącze z występem jest całkowicie osadzone w złączu.
Zamocuj złączkę z występem złącza używając zapinki (Rysunek 128).
Zamocuj złącze proste z występem węża doprowadzającego 234 cm do złącza zaworu dyszy 9 (Rysunek 128).
Note: Upewnij się, że złącze z występem jest całkowicie osadzone w złączu.
Zamocuj złączkę z występem złącza używając zapinki (Rysunek 128).
Zamocuj złącze proste z występem węża doprowadzającego 279 cm do złącza zaworu dyszy 10 (Rysunek 128).
Note: Upewnij się, że złącze z występem jest całkowicie osadzone w złączu.
Zamocuj złączkę z występem złącza używając zapinki (Rysunek 128).
Poprowadź węże dysz zraszacza 1, 2, 3 oraz 4 przez zacisk R przy lewym zewnętrznym końcu środkowej sekcji zraszania (Rysunek 129 oraz Rysunek 130).


Poprowadź węże dysz zraszacza 7, 8, 9 oraz 10 przez zacisk R przy prawym zewnętrznym końcu środkowej sekcji zraszania (Rysunek 129 oraz Rysunek 130).
Poprowadź węże doprowadzające 279 cm oraz króćce węża z występem (¾ cala) wzdłuż sekcji zraszania do dysz zraszacza 1 i 10 w sposób pokazany na (Rysunek 129 oraz Rysunek 130).
Poprowadź węże doprowadzające 234 cm oraz króćce węża z występem (¾ cala) wzdłuż sekcji zraszania do dysz zraszacza 2 i 9 wzdłuż sekcji zraszania, w sposób pokazany na Rysunek 129 oraz Rysunek 130.
Poprowadź węże doprowadzające 188 cm oraz króćce węża z występem (¾ cala) wzdłuż sekcji zraszania do dysz zraszacza 3 i 8 w sposób pokazany na Rysunek 129 oraz Rysunek 130.
Note: Poprowadź węże wzdłuż dolnych tylnych pierścieni we wspornikach ramy kratownicowej.
Poprowadź węże doprowadzające 188 cm oraz króćce węża z występem (¾ cala) wzdłuż sekcji zraszania do dysz zraszacza 4 i 7 w sposób pokazany na Rysunek 129 oraz Rysunek 130.
Note: Poprowadź węże wzdłuż dolnych tylnych pierścieni we wspornikach ramy kratownicowej.
Zbierz razem 4 węże dysz zraszacza i zamocuj je opaską kablową w sposób pokazany na Rysunek 130.
Ustaw rurę doprowadzającą w łożu dyszy zraszacza (Rysunek 131) równo z otworem z boku króćca węża z pojedynczym występem (½ cala).

Załóż górną część obejmy wokół króćca węża z występem i zamocuj część obejmy i korpus dyszy zraszacza (Rysunek 131) za pomocą śruby ze stali nierdzewnej (nr 12 x 1¼ cala). Dokręć śrubę ze stali nierdzewnej z momentem od 14 do 18 N∙m.
Note: Przy dociskaniu obejmy upewnij się, że śruba z łbem sześciokątnym (5/16 x ¾ cala) jest osadzona we wgłębieniu górnej części obejmy.
Zamocuj dysze zraszacza do zewnętrznej sekcji zraszania w następujący sposób:
Na pozycjach dysz 1 i 4 zamocuj dyszę zraszacza do mocowania dyszy (A na Rysunek 132) za pomocą nakrętki kołnierzowej zabezpieczającej (5/16 cala) odkręconej w kroku 2 procedury Demontaż dyszy zraszacza z zewnętrznych sekcji zraszania.
Na pozycjach dysz 2 i 3 zamocuj dyszę zraszacza do mocowania dyszy (A i B na Rysunek 132) za pomocą nakrętki kołnierzowej zabezpieczającej (5/16 cala) odkręconej w kroku 2 procedury Demontaż dyszy zraszacza z zewnętrznych sekcji zraszania.

Dokręć nakrętkę kołnierzową zabezpieczającą z momentem od 19,78 do 25,42 N∙m.
Powtórz kroki od 1 do 4 dla drugiej dyszy zraszania w sekcji zraszania.
Powtórz czynności od 1 do 5 dla zewnętrznej sekcji zraszania po przeciwnej stronie maszyny.
Włóż złącze 3-stykowe gniazdowe odgałęzienia wiązki przewodów 61 cm z zestawu oznaczone PRESSURE TRANSDUCER GREEN WEDGE w złącze 3-stykowe przetwornika ciśnienia (Rysunek 133).

Włóż złącze 40-stykowe gniazdowe odgałęzienia wiązki przewodów 102 cm z zestawu do złącza 40-stykowego regulatora zraszania ASC 10 (Rysunek 134).

Wkręć palcami śrubę radełkowaną złącza 40-stykowego gniazdowego w złącze regulatora ASC 10 (Rysunek 134).
Włóż złącze 4-stykowe gniazdowe oznaczone DO ASC 10 do 4-stykowego złącza regulatora zraszania ASC 10 (Rysunek 135).

Zdejmij obejmę kołnierzową z uszczelką mocujące pokrywę płaską do kołnierza zaworu dyszy 10 (Rysunek 137).

Zdejmij obejmę kołnierzową i uszczelkę mocujące pokrywę końcową i złącze rurki do kołnierza rozdzielacza przepływomierza (Rysunek 137).

Zamontuj pokrywę płaską do kołnierza rozdzielacza przepływomierza, używając obejmy kołnierzowej i uszczelki zdemontowanych w kroku 2, po czym dokręć obejmę palcami (Rysunek 138).
Zamontuj kolanko ° zaworu odcinającego opcjonalnego zestawu lancy do zraszania ręcznego lub zestawu elektrycznego zwijania węża do kołnierza zaworu dyszy 10 i zamocuj za pomocą obejmy kołnierzowej i uszczelki zdemontowanych w kroku 1, po czym dokręć obejmę palcami (Rysunek 139).

Ustaw koniec rurki czujnika ciśnienia (z tworzywa) do wskaźnika ciśnienia w tablicy rozdzielczej równo z pierścieniem blokującym złącza kolanka 90° zaworu odcinającego lancy do zraszania ręcznego lub zestawu elektrycznego zwijania węża (Rysunek 140).

Wsuń rurkę czujnika do końca w pierścień blokujący (Rysunek 140).
Części potrzebne do tej procedury:
| Opaska zaciskowa | 6 |
Przenieś przewody rurowe dysz pianowych z lewej i prawej sekcji zraszania do wewnątrz i przez obejmy w kształcie R” w pobliżu punktów obrotu każdej zewnętrznej sekcji zraszania (Rysunek 142).


Poprowadź przewody rurowe do przodu, wzdłuż lewej strony zbiornika zraszacza (Rysunek 142).
Zamocuj przewody rurowe lewych i prawych dysz znaczników pianowych do węży zraszacza za pomocą 4 opasek kablowych w sposób pokazany na Rysunek 142.
Zamocuj przewody rurowe lewych i prawych dysz znaczników pianowych do węży mieszania za pomocą 2 opasek kablowych w sposób pokazany na Rysunek 142.
Poprowadź przewody pianowe prawego wysięgnika w sposób pokazany na Rysunek 143.


Wsuń przewód przezroczysty w złącze powietrza z boku płyty sprężarki (Rysunek 143 oraz Rysunek 144).

Wsuń przewód niebieski w złącze cieczy z boku płyty sprężarki (Rysunek 143 oraz Rysunek 144).
Poprowadź przewody pianowe lewego wysięgnika w sposób pokazany na Rysunek 143.
Wsuń przewód przezroczysty w złącze powietrza z boku płyty sprężarki (Rysunek 143 oraz Rysunek 144).
Wsuń przewód niebieski w złącze cieczy z boku płyty sprężarki (Rysunek 143 oraz Rysunek 144).
Podłącz przewód z opaską kablową przygotowany w kroku 9 procedury Przygotowanie nowych zespołów przewodów rurowych dysz znacznika pianowego, przykładając niebieski przewód prawej sekcji zraszania do złącza ściskanego obwodu wody prawej sekcji zraszania (Rysunek 145).

Zamocuj nakrętkę ściskającą rurki do złącza i dokręć nakrętkę palcami (Rysunek 145).
Przyłóż przezroczysty przewód prawej sekcji zraszania do złącza ściskanego obwodu powietrza prawej sekcji zraszania (Rysunek 145).
Zamocuj nakrętkę ściskającą rurki do złącza i dokręć nakrętkę palcami (Rysunek 145).
Podłącz nieoznaczony przewód (bez opaski kablowej), przykładając niebieski przewód lewej sekcji zraszania do złącza ściskanego obwodu wody lewej sekcji zraszania (Rysunek 146).

Zamocuj nakrętkę ściskającą rurki do złącza i dokręć nakrętkę palcami (Rysunek 146).
Przyłóż przezroczysty przewód lewej sekcji zraszania do złącza ściskanego obwodu powietrza lewej sekcji zraszania (Rysunek 146).
Zamocuj nakrętkę ściskającą rurki do złącza i dokręć nakrętkę palcami (Rysunek 146).
Zamocuj przewód znacznika pianowego do dyszy zraszacza przy użyciu 2 opasek kablowych (Rysunek 142).
Podłącz złącze 3-stykowe gniazdowe wiązki przewodów ultradźwiękowego poziomowania wysięgników do złącza 3-stykowego na przewodzie prawego czujnika ultradźwiękowego (A na Rysunek 147).

Podłącz złącze 3-stykowe gniazdowe wiązki przewodów ultradźwiękowego poziomowania wysięgników do złącza 3-stykowego na przewodzie lewego czujnika ultradźwiękowego (B na Rysunek 147).
Części potrzebne do tej procedury:
| Zespół przedłużenia pokrywy (12-dyszowy — Toro 120-0621) | 1 |
| Nit zamykany trzpieniem (część Toro nr 114439) | 22 |
| Wspornik montażowy (pokrywa sekcji środkowej — część Toro nr 131-3703-03) | 4 |
| Nakrętka zaciskowa (część Toro nr 94-2413) | 4 |
| Śruby kołnierzowe (⅜ x 1¼ cala — część Toro nr 110-5050) | 16 |
| Nakrętki kołnierzowe zabezpieczające (⅜ cala — część Toro nr 104-8301) | 16 |
| Pasek pokrywy (część Toro nr 120-0629) | 2 |
| Śruby kołnierzowe (5/16 x 1¼ cala — część Toro nr 323-36) | 4 |
Za pomocą wiertarki z wiertłem 5 mm rozwierć 11 nitów (Rysunek 148) mocujących płytę usztywniającą (z pojedynczym rzędem nitów) i osłonę gumową do jednego z końców pokrywy sekcji 11-dyszowej środkowej sekcji zraszania, zdemontowanej w kroku 2 procedury Demontaż pokrywy sekcji środkowej (11-dyszowej) opcjonalnego zestawu wysięgnika zakrytego.


Zdejmij płytę usztywniającą, 11 podkładek (3/16 cala) i osłonę gumową z pokrywy wysięgnika 11-dyszowego (Rysunek 148).
Note: Zachowaj płytę usztywniającą, podkładki i osłonę gumową do montażu w krokach 5 oraz 6.
Ustaw otwory w płycie usztywniającej (dwa rzędy otworów) na przedłużeniu pokrywy równo z otworami na jednym końcu pokrywy wysięgnika 11-dyszowego (Rysunek 149).

Zamocuj przedłużenie pokrywy do pokrywy sekcji 11-dyszowej (Rysunek 150) używając 11 nitów zamykanych trzpieniem (część Toro nr 114439).

Ustaw otwory w osłonie gumowej i płycie usztywniającej (jeden rząd otworów) zdemontowanej w kroku 2 równo z otworami na końcu przedłużenia pokrywy (Rysunek 151).

Zamocuj płytę usztywniającą i gumową osłonę do przedłużenia pokrywy używając 11 nitów zamykanych trzpieniem (część Toro nr 114439) oraz 11 podkładek (3/16 cala) wyjętych w kroku 5.
Note: Przyłóż podkładki (3/16 cala) po wewnętrznej stronie przedłużenia pokrywy.
Załóż 4 nakrętki zaciskowe (część Toro nr 94-2413) na 2 wsporniki pokrywy środkowej sekcji (część Toro nr 131-3703-03) w sposób pokazany na (Rysunek 152).

Na przedłużeniu środkowej sekcji zraszania zlokalizuj 2 pary otworów na pionowej powierzchni ramy kratownicowej umieszczone w odstępie 25 mm (Rysunek 153).


Ustaw otwory we wsporniku (część Toro nr 131-3703-03) równo z otworami w przedłużeniu środkowej sekcji zraszania zidentyfikowanymi w kroku 2 tak, aby szeroki kołnierz wspornika był skierowany w lewo, patrz Rysunek 153.
Zamocuj wspornik do ramy kratownicowej (Rysunek 153) używając 4 śrub kołnierzowych (⅜ x 1¼ cala — część Toro nr 110-5050) oraz 4 nakrętek kołnierzowych zabezpieczających (⅜ cala — część Toro nr 104-8301).
Powtórz kroki od 2 do 4 przy pozostałych 2 parach otworów w przedłużeniu środkowej sekcji zraszania, przy użyciu drugiego wspornika, śrub kołnierzowych i nakrętek kołnierzowych zabezpieczających.
Dokręć nakrętki i śruby z momentem od 37 do 45 N·m.
Ustaw otwory w pokrywie środkowej sekcji równo z otworami we wspornikach pokrywy środkowej sekcji (Rysunek 154).

Ustaw otwory w 2 paskach pokryw zdemontowanych w kroku 1 procedury Demontaż pokrywy sekcji środkowej (11-dyszowej) opcjonalnego zestawu wysięgnika zakrytego równo z otworami w pokrywie i 2 wspornikami montażowymi (Rysunek 154).
Zamocuj paski pokrywy i pokrywę do wsporników używając 4 śrub kołnierzowych (5/16 x 1¼ cala) odkręconych wcześniej w kroku 1 procedury Demontaż pokrywy sekcji środkowej (11-dyszowej) opcjonalnego zestawu wysięgnika zakrytego.
Ustaw otwory w 2 paskach pokrywy (część Toro nr 120-0629) równo z pozostałymi 4 otworami w pokrywie i pozostałymi 4 otworami we wspornikach (Rysunek 154).
Zamocuj paski pokrywy i pokrywę do wsporników (Rysunek 154) używając 4 śrub kołnierzowych (5/16 x 1¼ cala — część Toro nr 323-36).
Dokręć śruby z momentem od 19,78 do 25,42 N∙m.
Części potrzebne do tej procedury:
| Płyta odbiornika | 1 |
| Tuleja dystansowa (⅜ x 1 cal) | 1 |
| Mocowanie odbiornika | 1 |
| Śruba (⅜ x 3¼ cala) | 1 |
| Podkładka zabezpieczająca (⅜ cala) | 1 |
| Podkładka (⅜ x 13/16 cala) | 1 |
| Przeciwnakrętka kołnierzowa (⅜ cala) | 1 |
| Śruba kołnierzowa (5/16 x ¾ cala) | 1 |
| Przeciwnakrętka kołnierzowa (5/16 cala) | 1 |
| Śruba kołnierzowa (⅜ x 1½ cala) | 2 |
| Podkładka dystansowa (⅜ x 7/16 cala) | 2 |
| Odbiornik nawigacyjny — Zestaw systemu precyzyjnego zraszania X25 GeoLink, baza, system WAAS (model 41630) | 1 |
| Śruba z łbem sześciokątnym (5 x 16 mm) | 3 |
| Podkładka (5 mm) | 3 |
| Adapter grodziowy (opcjonalny zestaw modemu korekcyjnego CDMA RTK lub zestaw modemu korekcyjnego GSM RTK) | 1 |
| Antena sieci komórkowej (opcjonalny zestaw modemu korekcyjnego CDMA RTK lub zestaw modemu korekcyjnego GSM RTK) | 1 |
| Przewód koncentryczny (opcjonalny zestaw modemu korekcyjnego CDMA RTK lub zestaw modemu korekcyjnego GSM RTK) | 1 |
Zrównaj ze sobą otwory w płycie odbiornika nawigacyjnego, tulei dystansowej (⅜ x 1 cal) i mocowaniu odbiornika (Rysunek 155).

Zamocuj płytę odbiornika i tuleję dystansową do mocowania za pomocą śruby (⅜ x 3¼ cala), podkładki zabezpieczającej (⅜ cala), podkładki (⅜ x 13/16 cala) i nakrętki kołnierzowej zabezpieczającej (⅜ cala) w sposób pokazany na Rysunek 155.
Przełóż śrubę kołnierzową (5/16 x ¾ cala) i nakrętkę kołnierzową zabezpieczającą (5/16 cala) przez mniejszy z otworów w mocowaniu odbiornika i podłużny otwór w płycie odbiornika (Rysunek 155).
Dokręć śruby i nakrętki na tyle, aby umożliwić obrót płyty odbiornika z niewielkim oporem.
Za pomocą śruby kołnierzowej (⅜ x 1½ cala) zamontuj mocowanie odbiornika z podkładką dystansową (⅜ x 7/16 cala) do pałąka zabezpieczającego w sposób pokazany na Rysunek 156.

Dokręć śruby na tyle, aby umożliwić obrót płyty odbiornika z niewielkim oporem.
Wypoziomuj płytę odbiornika w kierunku poprzecznym (Rysunek 157).

Dokręć śrubę kołnierzową (5/16 x ¾ cala) i nakrętkę kołnierzową zabezpieczającą (5/16 cala) z momentem od 19,78 do 25,42 N∙m.
Wypoziomuj płytę odbiornika w kierunku podłużnym (Rysunek 157).
Dokręć śrubę (⅜ x 3¼ cala) i nakrętkę kołnierzową zabezpieczającą (⅜ cala) z momentem od 37 do 45 N∙m.
Note: Antenę sygnału RTK należy zamontować, jeżeli maszyna jest wyposażona w modem korekcyjny CDMA RTK lub GSM RTK.
Przełóż łącznik koncentryczny przez otwór w wypustce pod antenę RTK tak, aby gwint mocujący łącznika był skierowany w dół (Rysunek 159).
Note: Obróć łącznik koncentryczny tak, aby płaska część gwintu mocującego przylegała do płaskiej powierzchni w otworze wypustki pod antenę RTK.

Zamontuj łącznik koncentryczny do wypustki w płycie odbiornika używając podkładki zabezpieczającej i nakrętki zabezpieczającej, po czym dokręć nakrętkę zabezpieczającą palcami (Rysunek 159).
Zamocuj antenę RTK do górnego złącza łącznika koncentrycznego i dokręć palcami nakrętkę radełkowaną anteny (Rysunek 160).

Luźno zamocuj przewód anteny do dolnego złącza łącznika koncentrycznego (Rysunek 160).
Poprowadź przewód wzdłuż tylnej strony odbiornika nawigacyjnego i do złącza koncentrycznego modemu komórkowego CDMA lub GSM (Rysunek 160).
Podłącz przewód anteny do złącza koncentrycznego modemu komórkowego CDMA lub GSM (Rysunek 160).
Dokręć palcami nakrętki radełkowane na przewodzie anteny.
Części potrzebne do tej procedury:
| Mocowanie monitora | 1 |
| Śruba kołnierzowa (6 x 12 mm) | 3 |
| Śruba typu U” (5/16 cala) | 2 |
| Przeciwnakrętka kołnierzowa (5/16 cala) | 8 |
| Przegub kulowy | 1 |
| Śruba kołnierzowa (5/16 x ¾ cala) | 4 |
| Monitor — zestaw systemu precyzyjnego zraszania GeoLink X25, baza, system WAAS (model 41630) | 1 |
| Ramię monitora — zestaw systemu precyzyjnego zraszania GeoLink X25, baza, system WAAS (model 41630) | 1 |
Umieść mocowanie monitora w maszynie w sposób pokazany na Rysunek 162.

Zamocuj mocowanie monitora do obudowy zaworu układu kierowniczego (Rysunek 163) używając 3 śrub kołnierzowych (6 x 12 mm).

Zamocuj płytę mocowania monitora do rury nośnej ramy maszyny (Rysunek 164), używając 2 śrub typu U” i 4 nakrętek kołnierzowych zabezpieczających (5/16 cala).

Dokręć 3 śruby kołnierzowe (6 x 12 mm) na zaworze układu kierowniczego z momentem od 9,72 do 11,98 N∙m. Przy rurze nośnej dokręć nakrętki kołnierzowe zabezpieczające z momentem od 19,78 do 25,42 N∙m.
Ustaw znak z taśmy na kierownicy równo z zaznaczeniem na obudowie zaworu układu kierowniczego (Rysunek 165).

Załóż kierownicę na wał zaworu układu kierowniczego (Rysunek 165) i zamocuj zakładając podkładkę (⅝ cala) i nakrętkę (⅝ cala) odkręcone wcześniej w kroku 3 procedury Zdjęcie kierownicy.
Dokręć nakrętkę z momentem od 206 do 254 N∙m.
Załóż na kierownicę (Rysunek 171) osłonę zdjętą w kroku 2 procedury Zdjęcie kierownicy.
Zamocuj przegub kulowy do wspornika na mocowaniu monitora (Rysunek 166) za pomocą 4 kołnierzowych (5/16 x ¾ cala) 4 nakrętek kołnierzowych zabezpieczających (5/16 cala).

Dokręć śruby i nakrętki z momentem od 19,78 do 25,42 N∙m.
Zamocuj złącze kulowe monitora i przegub kulowy na mocowaniu w maszynie do ramienia monitora (Rysunek 167).

Wyreguluj ustawienie monitora tak, aby jego ekran był dobrze widoczny ze stanowiska operatora maszyny, a następnie dokręć palcami pokrętło na ramieniu monitora (Rysunek 167).
Odłącz złącze 2-stykowe gniazdowe wiązki przewodów maszyny oznaczone CEWKA POMPY ZRASZANIA od złącza 2-stykowego alternatora (Rysunek 168).

Podłącz złącze 2-stykowe odgałęzienia wiązki przewodów 84 cm oznaczone SPRZęGłO POMPY do złącza 2-stykowego gniazdowego wiązki przewodów maszyny oznaczonego CEWKA POMPY ZRASZANIA (Rysunek 169).

Podłącz złącze 2-stykowe gniazdowe wiązki przewodów z zestawu oznaczone SPRZęGłO POMPY do złącza 2-stykowego alternatora (Rysunek 169).
Poprowadź odgałęzienie wiązki przewodów — 84 cm przy silniku i pompie zraszania tak, aby wiązka była w bezpiecznej odległości od paska alternatora (Rysunek 170).

Części potrzebne do tej procedury:
| Wspornik akumulatora | 1 |
| Śruba (5/16 x 1¾ cala) | 1 |
| Podkładka (5/16 cala) | 1 |
| Akumulator (540 A) | 1 |
| Element ustalający akumulator | 1 |
| Przeciwnakrętka kołnierzowa (5/16 cala) | 1 |
| Wspornik alternatora | 1 |
| Napędowe koło pasowe 279 mm | 1 |
| Śruba (¼ x 4½ cala) | 4 |
| Podkładka zabezpieczająca (¼ cala) | 4 |
| Alternator (60 A) | 1 |
| Śruba kołnierzowa (8 x 25 mm) | 1 |
| Śruba kołnierzowa (⅜ x 1½ cala) | 1 |
| Pasek klinowy | 1 |
Odkręć 2 nakrętki kołnierzowe zabezpieczające i pręt przytrzymujący z 2 śrub J mocujących akumulator do wspornika akumulatora maszyny (Rysunek 171).

Zdemontuj akumulator z maszyny (Rysunek 171).
Note: Nakrętki kołnierzowe, pręt przytrzymujący i akumulator (300 A) nie będą już potrzebne.
Odkręć śruby (10-24 x ¾ cala) i nakrętki (10-24) mocującą bloki bezpieczników do wspornika akumulatora (Rysunek 172).
Note: Zachowaj śruby (10-24 x ¾ cala) i nakrętki (10-24) do montażu w kroku Montaż wspornika akumulatora i akumulatora (540 A).

Odkręć 2 śruby kołnierzowe (⅜ x ¾ cala) mocujące wspornik akumulatora do rury wspornika amortyzatora maszyny (Rysunek 172).
Note: Zachowaj śrubę kołnierzową (⅜ x ¾ cala) do montażu w kroku Montaż wspornika akumulatora i akumulatora (540 A).
Odłącz 2 śruby J i tacę akumulatora od wspornika akumulatora (Rysunek 173).

Wyjmij wspornik akumulatora z maszyny (Rysunek 174).
Note: Śruby J, taca akumulatora i wspornik akumulatora nie będą już potrzebne.

Przyłóż nowy wspornik akumulatora do rury wspornika amortyzatora maszyny i bloków bezpieczników (Rysunek 175).

Zamocuj wspornik akumulatora do rury wspornika amortyzatora (Rysunek 176) za pomocą 2 śrub kołnierzowych (⅜ x ¾ cala) zachowanych w kroku 4 procedury Demontaż akumulatora (300 A) i wspornika akumulatora.

Dokręć śruby kołnierzowe z momentem od 37 do 45 N·m.
Zamocuj bloki bezpieczników do wspornika amortyzatora (Rysunek 176) używając śrub (10–24 x ¾ cala) i nakrętek (10-24) odkręconych wcześniej w kroku 3 procedury Demontaż akumulatora (300 A) i wspornika akumulatora.
Zamocuj akumulator do wspornika akumulatora za pomocą śruby (5/16 x 1¾ cala), podkładki (5/16 cala), elementu ustalającego akumulator i nakrętki kołnierzowej zabezpieczającej (5/16 cala) w sposób pokazany na Rysunek 177.

Dokręć śrubę i nakrętkę z momentem od 19,78 do 25,42 N∙m.
Po ustawieniu głowicy pompy w pozycji na godzinie 11 poluzuj 2 śruby wskazane na Rysunek 178 tak, aby między łbami śrub a pompą powstał odstęp od 7 do 10 mm.
Note: Nie ma konieczności wykręcania śrub z pompy zraszania.

Umieść wspornik alternatora między śrubami odkręconymi w kroku 1 a głowicą pompy w sposób pokazany na Rysunek 179.

Dokręć śruby z momentem od 61 do 75 N·m.
Poluzuj nakrętkę na wale jałowego koła pasowego (Rysunek 180).
Note: Upewnij się, że pasek nie jest napięty.

Przekręcaj śrubę napinania paska, aby zwolnić naprężenie paska pompy zraszania (Rysunek 180).
Wykręć 4 śruby (¼ x 1 cal) z 4 podkładkami zabezpieczającymi (¼ cala) mocujące koło pasowe do pompy zraszacza (Rysunek 181).
Important: Nie demontuj koła pasowego.
Note: Śruby i podkładki zabezpieczające nie będą już potrzebne.

Ustaw otwory w kole pasowym alternatora (z zestawu) równo z otworami w kole pasowym pompy zraszacza (Rysunek 182).

Zamontuj koło pasowe alternatora do koła pasowego pompy zraszacza i pompy zraszacza za pomocą 4 śrub (¼ x 2¼ cala) i 4 podkładek zabezpieczających (¼ cala).
Dokręć śruby z momentem od 10,17 do 12,43 N∙m.
Przekręcaj śrubą napinania paska, aby zwiększyć naprężenie paska do momentu, gdy przyłożenie siły 4,5 kg w połowie odległości między silnikiem a kołami zębatymi na pompie zraszacza spowoduje ugięcie paska o 9,5 milimetra.

Dokręć nakrętkę na wale jałowego koła pasowego z momentem od 37 do 44 N∙m.
Zamontuj alternator (60 A) do gwintowanego trzpienia na wsporniku alternatora (Rysunek 184) używając śruby kołnierzowej (⅜ x 1½ cala).

Zamocuj gwintowaną wypustkę alternatora do wypustki z wycięciem podłużnym wspornika alternatora (Rysunek 184) używając śruby kołnierzowej (8 x 25 mm).
Nałóż pasek klinowy na koło napędowe 279 mm i koło pasowe alternatora (Rysunek 185).

Przekręć alternator (Rysunek 186) w górę, aby zwiększyć naprężenie paska do momentu, gdy przyłożenie siły 4,5 kg w połowie odległości między kołem pasowym alternatora a napędowym kołem pasowym 279 mm spowoduje ugięcie paska o 9,5 milimetra.

Dokręć śrubę kołnierzową (8x 25 mm) z momentem od 23 do 29 N∙m.
Dokręć śrubę kołnierzową (⅜ x 1½ cala) z momentem od 37 do 45 N∙m.
Części potrzebne do tej procedury:
| Przekaźnik | 1 |
| Wpychany element mocujący | 1 |
| Bezpiecznik (15 A) | 1 |
| Bezpiecznik (50 A) | 1 |
Podłącz złącze 2-stykowe gniazdowe na końcu różowego przewodu 57 cm wiązki przewodów z zestawu (Rysunek 187) do złącza 2-stykowego alternatora (50 A).

Poprowadź różowy przewód czujnika z dala od pasków alternatora i zamocuj go za pomocą opasek kablowych.
Odkręć nakrętkę od zacisku trzpieniowego (Rysunek 188) alternatora (50 A).

Za pomocą nakrętki zamocuj czerwony przewód alternatora do zacisku trzpieniowego alternatora (50 A) (Rysunek 188).
Poprowadź czerwony przewód alternatora do biegunów akumulatora, z dala od koła pasowego i paska alternatora.
Dokręć nakrętkę z momentem od 47 do 57 N∙m.
Nasuń osłonę izolacyjną na zacisk trzpieniowy alternatora (Rysunek 188).
Podłącz złącze 5-stykowe przekaźnika do 5-stykowego złącza gniazdowego (Rysunek 189) wiązki przewodów z zestawu oznaczonego PRZEKAźNIK WłąCZAJąCY ASC 10.

Ustaw otwór w wypustce montażowej przekaźnika równo z otworem w rurze wspornika amortyzatora i zamocuj przekaźnik do rury za pomocą łącznika wciskanego (Rysunek 189).
Ustaw miernik uniwersalny do pomiaru ciągłości obwodu.
Przy bloku bezpieczników 3 maszyny włóż sondę miernika uniwersalnego do styku 4 (prawa kolumna) gniazda bezpieczników 2 w sposób pokazany na Rysunek 190.

Przykładaj drugą sondę miernika cyfrowego z przedniej strony bloków bezpieczników i odszukaj złącze nożowe na końcu czerwonego przewodu o grubości AWG 10 (ok. 2,6 mm) podłączone do gniazda bezpiecznika 2 — styk 4.

Za pomocą kawałka taśmy oznacz złącze i przewód zlokalizowany w kroku 3 (Rysunek 191).
Podłącz złącze nożowe oznaczone w kroku 4 do złącza gniazdowego na końcu różowego przewodu 51 mm wiązki przewodów z zestawu (Rysunek 192).

Wsuń do końca bezpiecznik (15 A) do gniazda bezpiecznika 2 bloku bezpieczników 3 (Rysunek 193).

Wsuń do końca bezpiecznik (50 A) do bloku zabudowanych bezpieczników (Rysunek 194).

Części potrzebne do tej procedury:
| Wiązka przewodów danych (system nawigacyjny) — Zestaw systemu precyzyjnego zraszania GeoLink (model 41630) | 1 |
| Wiązka przewodów akumulatora (system nawigacyjny) — Zestaw systemu precyzyjnego zraszania GeoLink (model 41630) | 1 |
| Opaska zaciskowa | 8 |
| Zacisk szybkomocujący (czerwona dźwignia) | 1 |
| Zacisk szybkomocujący (czarna dźwignia) | 1 |

Important: Niektóre złącza wiązki przewodów danych nie są używane. Upewnij się, że pokrywy i zatyczki na nieużywanych złączach są porządnie założone.
Podłącz złącze 3-stykowe gniazdowe (interfejs zasilania elektrycznego) wiązki przewodów zasilania elektrycznego systemu nawigacyjnego do złącza 3-stykowego (interfejs zasilania elektrycznego) wiązki przewodów danych (Rysunek 195).


Poprowadź odgałęzienie wiązki przewodów danych 390 cm wzdłuż tylnej strony lewej, pionowej rury pałąka zabezpieczającego.

Poprowadź odgałęzienie wiązki przewodów danych 390 cm wzdłuż prawej rury pałąka ROPS złączem 12-stykowym gniazdowym (szarym) i złączem 12-stykowym gniazdowym (czarnym) w kierunku odbiornika nawigacyjnego (Rysunek 199).

Ustaw 2 wypusty na długiej krawędzi szarego i czarnego złącza 12-stykowego gniazdowego wiązki przewodów danych naprzeciwko 2 wcięć na wypust na dolnej, poziomej ściance lewego (szarego) złącza 12-stykowego odbiornika nawigacyjnego (Rysunek 200).
Note: Podczas podłączania wiązki przewodów do odbiornika nawigacyjnego zachowaj ostrożność: wypusty ustalające złączy wiązki przewodów pasują w unikalny sposób do rowków w złączach odbiornika nawigacyjnego.

Podłącz szare i czarne złącze 12-stykowe gniazdowe wiązki przewodów danych do lewego (szarego) złącza 12-stykowego odbiornika nawigacyjnego, aż złącza zatrzasną się, mocując się do siebie (Rysunek 200).
Ustaw 2 wypusty na krótkiej krawędzi czarnego złącza 12-stykowego gniazdowego wiązki przewodów danych naprzeciwko 2 wcięć na wypust na lewej, pionowej ściance prawego (czarnego) złącza 12-stykowego odbiornika nawigacyjnego (Rysunek 200).
Note: Podczas podłączania wiązki przewodów do odbiornika nawigacyjnego zachowaj ostrożność: wypusty ustalające złączy wiązki przewodów pasują w unikalny sposób do rowków w złączach odbiornika nawigacyjnego.
Podłącz całe czarne złącze 12-stykowe gniazdowe wiązki przewodów danych do lewego (szarego) złącza 12-stykowego odbiornika nawigacyjnego, aż złącza zatrzasną się, mocując się do siebie (Rysunek 200).
Za pomocą 2 opasek kablowych zamocuj odgałęzienie wiązki przewodów danych 390 cm do prawej rury pałąka ROPS w sposób pokazany na Rysunek 199.
Note: Upewnij się, że między złączami 12-stykowymi gniazdowymi a opaską kablową przewód nie jest napięty.


Poprowadź wiązkę przewodów danych i wiązkę przewodów akumulatora po tylnej stronie lewej, pionowej rury pałąka bezpieczeństwa do poprzeczki zamocowania fotela (Rysunek 203).

Zamocuj odgałęzienie wiązki przewodów danych 390 cm dla odbiornika nawigacyjnego do pałąka bezpieczeństwa w sposób pokazany na Rysunek 203.
Podłącz złącze 1-stykowe wiązki przewodów akumulatora oznaczone ***WAżNE*** TEN PRZEWóD MOżNA PODłąCZAć TYLKO DO źRóDłA ZASILANIA IMPULSOWEGO 12 V do złącza 1-stykowego gniazdowego odgałęzienia 66 cm wiązki przewodów z zestawu (Rysunek 204) oznaczonego (SW’D PWR FOR GEN 2 TOPCON).

Podłącz złącze 4-stykowe odgałęzienia wiązki przewodów 66 cm z zestawu oznaczone ZASILANIE ASC 10 ORAZ POłąCZENIE CAN Z MODUłU X30 do złącza 4-stykowego gniazdowego odgałęzienia wiązki przewodów danych oznaczonego MAGISTRALA CAN 2/ASC 10 (Rysunek 204).
Poprowadź wiązkę przewodów danych i wiązkę przewodów akumulatora wzdłuż poprzeczki zamocowania fotela i zamocuj odgałęzienie wiązki przewodów danych 390 cm do poprzeczki za pomocą 2 opasek kablowych (Rysunek 203 oraz Rysunek 205).

Poprowadź odgałęzienie wiązki przewodów akumulatora 220 cm wzdłuż prawej, górnej rury ramy (Rysunek 205).
Poprowadź odgałęzienie wiązki przewodów akumulatora 220 cm wzdłuż rury wspornika amortyzatora w stronę akumulatora (Rysunek 205).
Note: Upewnij się, że elektryczne odgałęzienie łączące 100 cm (zasilanie impulsowe) jest poprowadzone wzdłuż prawej, górnej rury ramy.
Poprowadź odgałęzienie wiązki przewodów danych 220 cm (odgałęzienie wiązki ze złączem 26-stykowym gniazdowym) pod konsolą sterowania i do przodu w kierunku tablicy rozdzielczej (Rysunek 205).

Poprowadź odgałęzienie wiązki przewodów danych 220 cm (odgałęzienie wiązki ze złączem 26-stykowym gniazdowym) do przodu i pod tablicą rozdzielczą (Rysunek 207).

Poprowadź odgałęzienie wiązki przewodów danych 220 cm wzdłuż rury nośnej monitora (Rysunek 207).
Przyłóż złącze 26-stykowe gniazdowe wiązki przewodów danych do złącza 26-stykowego monitora zraszacza i dociśnij złącze gniazdowe do złącza stykowego, aż zatrzaski złącza zaskoczą (Rysunek 208).

Upewnij się, że odgałęzienie wiązki przewodów danych 220 cm ma zapas długości umożliwiający operatorowi dostosowanie pozycji monitora, a następnie za pomocą opasek kablowych zamocuj wiązkę do rury nośnej monitora w sposób pokazany na Rysunek 207.
Odkręć nakrętki sześciokątne z podkładkami z zacisków szybkomocujących z czerwoną i czarną dźwignią (Rysunek 209).

Otwórz dźwignię blokady zacisku szybkomocującego z czarną dźwignią (Rysunek 210).

Zamocuj zacisk szybkomocujący do ujemnego bieguna akumulatora tak, aby kołek gwintowany zacisku był skierowany do środka akumulatora, jak pokazano na Rysunek 209.
Zamknij dźwignię blokady zacisku szybkomocującego (Rysunek 210).
Note: W celu dostosowania siły zaciskania zacisku szybkomocującego otwórz dźwignię, przekręć nakrętkę radełkowaną dla zwiększenia lub zmniejszenia siły zaciskania, a następnie zamknij dźwignię zacisku.
Potwórz kroki od 2 do 4 dla zacisku szybkomocującego z czerwoną dźwignią przy dodatnim biegunie akumulatora.
Iskry elektryczne mogą spowodować wybuch gazów akumulatorowych, co będzie skutkowało obrażeniami ciała.
Nieprawidłowo poprowadzony przewód akumulatora może spowodować uszkodzenie zraszacza i przewodów, powodując iskrzenie.
Zawsze odłączaj najpierw ujemny przewód akumulatora (czarny), a następnie przewód dodatni (czerwony).
Zawsze podłączaj najpierw przewód dodatni (czerwony), a następnie przewód ujemny akumulatora (czarny).
Zaciski akumulatora i metalowe narzędzia mogą powodować zwarcie z komponentami metalowymi zraszacza, wywołując iskrzenie.
Podczas demontażu lub montażu akumulatora nie dopuść, aby doszło do zetknięcia się zacisków akumulatora z metalowymi częściami zraszacza.
Nie dopuść, aby metalowe narzędzia spowodowały zwarcie między zaciskami akumulatora a metalowymi częściami zraszacza.
Pasek mocujący akumulator musi być zawsze założony, gdyż chroni on i mocuje akumulator.

Przetnij osłonę izolacyjną dodatniego przewodu od akumulatora do rozrusznika w sposób pokazany na Rysunek 212.

Zamocuj do gwintowanego kołka na dodatnim biegunie akumulatora (Rysunek 213) przewody i styki kablowe w następującej kolejności:
Note: Upewnij się, że styk przewodu (dodatni) od akumulatora do rozrusznika jest ustawiony u góry stosu styków na gwintowanym kołku.
Styk pierścieniowy — wiązka przewodów maszyny 22 cm oznaczona AKUMULATOR (+)
Styk pierścieniowy — odgałęzienie wiązki przewodów akumulatora 220 cm oznaczone ***WAżNE*** PODłąCZ TEN PRZEWóD DO PLUSA AKUMULATORA
Styk pierścieniowy — odgałęzienie wiązki przewodów 60 cm oznaczone DO DODATNIEGO BIEGUNA AKUMULATORA
Styk przewodu akumulatora (dodatni) — do alternatora (50 A)
Styk przewodu akumulatora (dodatni) — do rozrusznika silnika

Załóż nakrętkę sześciokątną (¼ cala) z podkładką (¼ cala) na gwintowany kołek i dokręć nakrętkę z momentem od 10,17 do 12,34 N∙m.
Nasuń na gwintowany kołek osłonę izolacyjną dodatniego przewodu od akumulatora do rozrusznika (Rysunek 213).
Zamocuj do gwintowanego kołka na ujemnym biegunie akumulatora (Rysunek 214) przewody i styki kablowe w następującej kolejności:
Note: Upewnij się, że styk przewodu (ujemny) do silnika i masy podwozia jest ustawiony u góry stosu styków na gwintowanym kołku.
Styk pierścieniowy — odgałęzienie wiązki przewodów akumulatora 220 cm oznaczone (***WAżNE*** PODłąCZ TEN PRZEWóD DO UJEMNEGO BIEGUNA AKUMULATORA, PODłąCZONEGO DO RAMY MASZYNY)
Styk pierścieniowy — odgałęzienie wiązki przewodów z zestawu 60 cm — ujemny biegun akumulatora
Styk przewodu akumulatora (ujemny) — do silnika i masy podwozia

Nadmierną długość wiązki przewodów danych zbierz przy prawej, górnej rurze ramy (Rysunek 215).

Przyłóż wiązkę przewodów danych do rury wspornika amortyzatora i zamocuj wiązkę opaską kablową do ramy (Rysunek 215).
Zwiniętą wiązkę przewodów danych przyłóż do prawej, górnej rury ramy i zamocuj ją opaską kablową do rury ramy (Rysunek 215).
Upewnij się, że między kołami pasowymi i paskami a wiązką przewodów danych, akumulatora, zestawem i przewodami akumulatora jest wystarczający odstęp.
Zamocuj wiązkę przewodów i przewody za pomocą opasek kablowych z dala od pasków i kół pasowych.
Części potrzebne do tej procedury:
| Wpychany element mocujący | 13 |
Ustaw otwory przedniej pokrywy równo z otworami w tablicy rozdzielczej i ramie maszyny (Rysunek 216).

Zamocuj przednią pokrywę do tablicy i ramy maszyny za pomocą 9 łączników wciskanych (Rysunek 216).
Podłącz 2 złącza elektryczne (złącza 2-stykowe gniazdowe) wiązki przewodów maszyny do złączy 2-stykowych lewego i prawego reflektora przedniego (Rysunek 217).

Ustaw osłonę wewnętrzną błotnika równo z lewą górną i lewą dolną rurą ramy (Rysunek 217).

Zamocuj osłonę wewnętrzną błotnika do rur ramy za pomocą 6 łączników wciskanych (Rysunek 218).
Ustaw otwory w błotniku równo z otworami w ramie maszyny w sposób pokazany na Rysunek 218.

Luźno zamontuj błotnik do ramy (Rysunek 219) za pomocą 3 śrub (5/16 x 1 cal) i 3 podkładek (5/16 cala) zdemontowanych w kroku 2 procedury Demontaż przedniego lewego i prawego błotnika.
Zamocuj błotnik do kanału ramy za pomocą 2 łączników wciskanych (Rysunek 220).

Dokręć śrubę (5/16 x 1 cal) z momentem od 19,78 do 25,42 N∙m.
Powtórz kroki od 1 do 6 dla osłony wewnętrznej błotnika i błotnika po drugiej stronie maszyny.
Ustaw fotel z płytą fotela na ramie maszyny (Rysunek 222).

Ustaw otwory w mocowaniu osi obrotu wgłębienia fotela równo z otworami we wsporniku na ramie (Rysunek 223).


Zamocuj wgłębienie fotela do wsporników na ramie za pomocą 2 sworzni osi obrotu (Rysunek 223).
Zamocuj sworznie osi obrotu do maszyny za pomocą 2 zawleczek (Rysunek 223).
Zamocuj podpórkę do wspornika fotela za pomocą podkładki i zawleczki (Rysunek 224).

Podłącz złącze 2-stykowe gniazdowe wiązki przewodów maszyny do złącza czujnika fotela tak, aby złącza dobrze się zatrzasnęły (Rysunek 225).

Przekręć fotel lekko do przodu, wyjmij podpórkę z zapadki i przekręć fotel w dół, aż zostanie bezpiecznie zablokowany w zatrzasku.
Wsuń kluczyk do wyłącznika zapłonu i obróć go do położenia ZAPłONU.
Na wyświetlaczu InfoCenter pojawi się ekran powitalny, lampka wskaźnika zaświeci się na krótko (Rysunek 226).
Note: Nie uruchamiaj silnika.

Będąc na ekranie głównym naciśnij środkowy przycisk wyświetlacza InfoCenter, aby przejść do ekranu nawigacji (Rysunek 227).

Naciśnij środkowy przycisk na wyświetlaczu InfoCenter, aby przejść do menu głównego (Rysunek 227).
Będąc na ekranie MENU GłóWNEGO naciśnij środkowy przycisk, aby przejść do pozycji USTAWIENIA i naciśnij prawy przycisk, aby wybrać opcję (Rysunek 228).

Będąc na ekranie USTAWIEń naciśnij środkowy przycisk, aby przejść do pozycji USTAWIENIA CHRONIONE i naciśnij prawy przycisk, aby wybrać opcję.

Wprowadź kod PIN w następujący sposób:
Naciskaj środkowy przycisk tyle razy, ile trzeba, aby wprowadzić wartość pierwszej cyfry kodu PIN (Rysunek 230).

Naciśnij prawy przycisk, aby przejść do pozycji kolejnej cyfry kodu PIN (Rysunek 230).
Powtórz kroki 1 i 2 dla trzech pozostałych cyfr kodu PIN.
Po wprowadzeniu wszystkich cyfr kodu PIN naciśnij prawy przycisk (Rysunek 230), a następnie środkowy przycisk w celu wprowadzenia kodu PIN (Rysunek 231).
Lampka wskaźnika zaświeci się na krótko.

Naciśnij środkowy przycisk, aby przejść do pozycji GEOLINK i naciśnij prawy przycisk, aby ustawić opcję (Rysunek 232).

Na ekranie InfoCenter pojawi się ekran potwierdzenia GeoLink (Rysunek 233).

Przekręć wyłącznik zapłonu do położenia WYłąCZENIA, a następnie do pozycji WłąCZENIA.
Od razu po przekręceniu wyłącznika zapłonu do pozycji WłąCZENIA pojawi się ekran powitalny GEOLINK.
