GeoLink™-sprutsystemsatsen är ett specialredskap för ett sprutfordon och är avsedd att användas av yrkesutövare som har anlitats för kommersiellt arbete. Den är främst konstruerad för att spruta på välunderhållna parkgräsmattor, golfbanor, sportanläggningar och kommersiella anläggningar.
Besök www.Toro.com för mer produktsäkerhetsinformation inklusive säkerhetsråd, utbildningsmaterial, information om tillbehör, hjälp med att hitta en återförsäljare eller för att registrera din produkt.
Det kan medföra fara för dig och kringstående om maskinen används i andra syften än vad som avsetts.
Note: Läs den här informationen noga så att du lär dig att använda och underhålla produkten på rätt sätt, och för att undvika person- och produktskador. Du är ansvarig för att produkten används på ett korrekt och säkert sätt.
Kontakta en auktoriserad återförsäljare eller Toros kundservice och ha produktens modell- och serienummer till hands om du har behov av service, Toro originaldelar eller ytterligare information. Figur 1 visar var du finner produktens modell- och serienummer. Skriv in numren i det tomma utrymmet.
Important: Skanna rutkoden på serienummerplåten (i förekommande fall) med en mobil enhet för att få tillgång till information om garanti, reservdelar och annan produktinformation.

I den här bruksanvisningen anges potentiella risker och alla säkerhetsmeddelanden har markerats med en varningssymbol (Figur 2), som anger fara som kan leda till allvarliga personskador eller dödsfall om föreskrifterna inte följs.

Två ord används också i den här bruksanvisningen för att markera information. Viktigt anger speciell teknisk information och Observera anger allmän information värd att notera.
De kemiska substanser som används i sprutsystemet kan vara farliga och giftiga för dig, omkringstående personer, djur, växter, jorden och annan egendom.
Läs varningsetiketterna och säkerhetsdatabladen för alla kemikalier som används och följ dem noga. Använd skyddsutrustning i enlighet med kemikalietillverkarnas rekommendationer. Använd till exempel lämplig personlig skyddsutrustning som ansiktsmask och skyddsglasögon, handskar och annan utrustning som skyddar om du skulle komma i kontakt med en kemikalie.
Fler än en kemikalie kan förekomma och information om varje enskild kemikalie ska bedömas för sig.
Använd aldrig sprutsystemet om informationen inte finns tillgänglig.
Innan du börjar arbeta med ett sprutsystem måste du se till att systemet har sköljts ur tre gånger och neutraliserats enligt kemikalietillverkarens rekommendationer samt att alla ventiler har genomgått sköljcykeln tre gånger.
Kontrollera att det finns rinnande vatten och tvål i närheten och tvätta omedelbart bort alla kemikalier efter kontakt med huden.
![]() |
Säkerhetsdekalerna och säkerhetsinstruktionerna är fullt synliga för föraren och finns nära alla potentiella farozoner. Ersätt dekaler som har skadats eller saknas. |




Rengör grässprutan. Se Rengöra grässprutan i maskinens bruksanvisning.
Important: Du måste tömma spruttanken helt innan du monterar finputsningssatsen för GeoLink-sprutsystemet.
Om maskinen är utrustad med tillvalet tanksköljningssats gör du på följande vis:
Pumpa vattnet från sköljtanken till spruttanken. Se Använda sköljsatsen i tanksköljningssatsens monteringsanvisningar.
Töm ut vattnet ur spruttanken. Se Rengöra grässprutan i maskinens bruksanvisning.
Dra ut vänster och höger sprutsektion till horisontalläget.
Parkera maskinen på ett plant underlag, koppla in parkeringsbromsen, stäng av motorn och ta ut nyckeln. Se bruksanvisningen.
Important: Parkera maskinen på ett plant underlag innan du monterar GeoLink-satsen.
Vrid TäNDNINGSNYCKELN till det AVSTäNGDA läget och ta ut nyckeln. Mer information finns i bruksanvisningen.
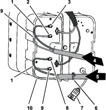
Lossa sätet genom att trycka sätets spärrhandtag bakåt (Figur 3).

Vrid sätet och sätesplattan framåt tills stöttans ände i fästet hamnar längst ned i fästets skåra (Figur 3).
Ta bort skruven och muttern som fäster batteriets minuskabelanslutning till batteriets minuspol.
Elgnistor kan få batterigaserna att explodera, vilket kan leda till personskador.
Felaktig dragning av batterikabeln kan skada grässprutan och kablarna och orsaka gnistor.
Lossa alltid batteriets minuskabel (svart) innan du lossar pluskabeln (röd).
Anslut alltid pluskabeln (röd) innan du ansluter minuskabeln (svart).
Batterianslutningar eller verktyg av metall kan kortslutas mot metalldelar på grässprutan och orsaka gnistor.
När batteriet installeras eller tas bort får batterianslutningarna inte komma i kontakt med några av grässprutans metalldelar.
Låt inte metallverktyg kortsluta mellan batterianslutningarna och grässprutans metalldelar.
Håll alltid batteriremmen på plats för att skydda och säkra batteriet.
Dra tillbaka det isolerade höljet och ta bort skruven och muttern som fäster batteriets pluskabelanslutning till batteriets pluspol (Figur 4).
Note: Se till att batterikablarnas anslutningar inte rör vid batteripolerna.

Låt motorn svalna helt.
Ta bort maskinkablagets kontakt med två uttag som är ansluten till sätesbrytarkontakten (Figur 5).

Ta bort hårnålssprinten som håller fast stöttan i fästet under sätesplattan (Figur 6).

Ta bort de två (2) hårnålssprintarna som håller fast sätesplattans svängkoppling i chassits fästen (Figur 7).


Ta bort de två (2) svängtapparna som håller fast sätet och sätesplattan på chassit (Figur 7).
Lyft upp sätet och sätesplattan ur maskinen (Figur 8).

Ta bort de två tryckfästelement som fäster den vänstra främre stänkskärmen vid den nedre vältskyddskanalen (Figur 10).
Note: Kassera tryckfästelementen som du tog bort.

Ta bort de tre skruvar (5/16 × 1 tum) och tre brickor (5/16 tum) som fäster stänkskärmen mot maskinramen (Figur 11).

Ta bort stänkskärmen från maskinen.
Note: Kassera tryckfästelementen som du tog bort. Spara stänkskärmen, skruvarna och brickorna för montering i Montera vänster och höger främre stänkskärmar.
Ta bort de sex tryckfästelement och fem brickor (9/16 × 1/2 tum) som fäster den inre stänkskärmens hölje mot maskinramen (Figur 12).

Ta bort den inre stänkskärmens hölje från maskinen (Figur 13).
Note: Kassera tryckfästelementen som du tog bort.

Upprepa steg 1–5 för stänkskärmen och den inre stänkskärmens hölje på maskinens andra sida.
Koppla loss de två elkontakterna (två uttag) på maskinkablaget från kontakten med två stift på vänster och höger strålkastare (Figur 14).

Ta bort de nio tryckfästelementen som fäster huven på instrumentbrädan och maskinramen (Figur 15).
Note: Spara tryckfästelementen för montering i Montera motorhuven.

Avlägsna huven från maskinen (Figur 15).
Note: Kassera tryckfästelementen som du tog bort.
Delar som behövs till detta steg:
| Rörsystem – Toro-artikelnr 114-9553 | 2 |
| Kabelband | 8 |
Vid anslutningspanelen på skummarkörssatsens kompressor fäster du ett kabelband runt de genomskinliga och blå rören för höger sprutsektion (Figur 18).


Lossa kompressionsmuttrarna på de två blå och två genomskinliga rören till munstyckena på vänster och höger sprutsektion (Figur 18).
Ta bort de fyra rören från kompressionskopplingarna för sprutsektionerna (Figur 18).
Vid den yttre sprutsektionen markerar du de vänstra vätske- och luftrören för den vänstra sprutsektionen och de högra vätske- och luftrören för den högra sprutsektionen med en tejpbit.
Flytta rören för skummunstyckena vid vänster och höger sprutsektion bakåt och genom R-klämman nära vridpunkten för sprutsektionen (Figur 19).

Om maskinen har förlängningssatsen för mittramp monterad fäster du den fria änden av vätske- och luftrören löst på den yttre sprutsektionen, och hoppar över procedurerna Förbered de nya rören för skummarkörmunstyckena och Montera det nya rörsystemet.
Ta bort kabelbanden som fäster skummarkörssatsens vätske- och luftrör på den yttre sprutsektionen (Figur 20).

Lossa kompressionsmuttern som fäster det blå röret (vatten) vid skummarkörsmunstyckets blå kompressionskoppling (Figur 21).

Lossa kompressionsmuttern som fäster det genomskinliga röret (luft) vid skummarkörsmunstyckets vita kompressionskoppling (Figur 21).
Ta bort vätske- och luftrören från maskinen.
Ta bort kompressionsmuttrarna vid rörändarna (Figur 21).
Note: Spara kompressionsmuttrarna för montering i steg 1 i Montera det nya rörsystemet.
Rikta in de gamla vätske- och luftrören (Figur 22) mot det nya rörsystemet (Toro-artikelnr 114-9553).

Markera längden på de gamla vätske- och luftrören med en tejpbit på det nya rörsystemet.
På det nya rörsystemet lägger du till 26 cm längd från märket som du gjorde i steg 7, markerar rörsystemet och kapar rören vid den andra (längre) markeringen (Figur 22).
Om de gamla vätske- och luftrören är markerade med ett kabelband markerar du även det nya rörsystemet med ett kabelband. I annat fall går du vidare till steg 10.
Note: Du behöver inte de gamla vätske- och luftrören längre.
Ta bort 77 till 102 mm av hylsan från varje ände av rörsystemet (Figur 22).
Upprepa steg 1 till och med 10 för vätske- och luftrören på andra sidan maskinen.
Trä den blå kompressionsmuttern över ändarna på det blåa röret och den vita kompressionsmuttern över det genomskinliga röret (Figur 23).

Rikta in det genomskinliga rörets ände med den vita kompressionsmuttern mot skummarkörsmunstyckets vita koppling och dra åt kompressionsmuttern för hand (Figur 23).
Rikta in det blå rörets ände med den blå kompressionsmuttern mot skummarkörsmunstyckets blå koppling och dra åt kompressionsmuttern för hand (Figur 23).
Dra rörsystemet längs baksidan av den övre stödstången på den yttre sprutsektionen enligt Figur 24.
Important: Om rörsystemet monteras på fel sida av den övre stödstången kan rören komma i kläm mellan hållaren och den yttre sprutsektionen när sprutramperna är i transportläge.

Fäst rörsystemet mot hålet i munstycksstödet med ett kabelband enligt Figur 25.

Fäst rörsystemet mot den yttre sprutsektionen med kabelband enligt Figur 24.
Fäst den fria änden av rörsystemet löst på den yttre sprutsektionen.
Upprepa steg 1 till och med 6 för rörsystemet på andra sidan av maskinen.
Koppla loss kontakten med tre stift på kablaget för utjämningssatsen för Ultra Sonic Boom från kontakten med tre uttag på maskinkablaget (Figur 26).

Upprepa steg 1 för kontakten med tre stift på kablaget för utjämningssatsen för Ultra Sonic Boom på maskinens andra sida.
Stötta upp centersektionskåpan (elva munstycken) samtidigt som du tar bort de fyra flänsskruvar (5/16 x 1 1/4 tum) och två kåpremmar som fäster kåpan på kåpstödfästet (Figur 27).

Ta bort centersektionskåpan från maskinen (Figur 28).
Note: Spara kåpan för montering, och kåpremmarna och flänsskruvarna för montering i steg 1 och 2 i Montera centersektionskåpan.

Note: Om maskinen är utrustad med en sprutpistolsats (tillval). Se Koppla loss tryckgivarröret och tillförselslangen.
Tryck in rörkopplingens krage i 90-gradersknäröret på höger sprutsektionsventil (Figur 30).

Dra ut tryckgivarröret för instrumentbrädans mätare ur rörkopplingen (Figur 30).
Note: Ta inte bort 90-gradersknäröret för avstängningsventilen till slangvindans tillförselslang från flänsen på den högra sprutrampssektionsventilen.
Koppla loss kontakten med tre uttag märkt LEFT SPRAY VALVE (vänster sprutventil), CENTER SPRAY VALVE (centersprutventil) och RIGHT SPRAY VALVE (höger sprutventil) på maskinkablaget från sprutventilens manövreringsorgans kontakt med tre stift (Figur 31).

Koppla loss kontakten med fyra uttag på maskinens kablage märkt RATE VALVE (reglerventil) från kontakten med fyra stift på regleringsventilens manövreringsorgan (Figur 32).

Koppla loss kontakten med tre uttag på maskinens kablage märkt MASTER SPRAY VALVE (huvudsprutventil) från huvudsprutventilens manövreringsorgans kontakt med tre stift (Figur 32).
Delar som behövs till detta steg:
| Kabelband | 1 |
| Omkopplarplugg | 1 |
Ta bort de fyra flänsskruvar (1/4 × 1/2 tum) som fäster treomkopplarpanelen till styrkonsolen (Figur 33).

Kläm ihop låsflikarna på flödeshastighetsomkopplaren och tryck ut omkopplaren ur treomkopplarpanelen (Figur 34).

Koppla loss kontakten med åtta uttag på maskinens främre kablage (märkt Rate Switch (hastighetsomkopplare)) från kontakten med åtta stift på omkopplaren (Figur 33).
Note: Du behöver inte flödesomkopplaren som du tog bort från maskinen längre.
Dra hastighetsomkopplardelen av det främre kablaget genom öppningen i treomkopplarpanelen och fäst kablagedelen mot det intilliggande kablaget med ett kabelband.
Montera treomkopplarpanelen till styrkonsolen (Figur 34) med de fyra flänsskruvarna (1/4 × 1/2 tum) som du tog bort i steg 1.
Rikta in omkopplarpluggen mot öppningen i treomkopplarpanelen som du tog bort hastighetsomkopplaren från (Figur 33).
För in omkopplarpluggen i treomkopplarpanelen tills den snäpper fast ordentligt (Figur 33).
Ta bort slangklämman som fäster sprutsektionsslangen till T-kopplingen med hullingar vid den yttre sprutsektionen (Figur 35).

Ta bort slangen från T-kopplingen (Figur 35).
Ta bort den fria änden av slangen från R-klämman (Figur 35).
Upprepa steg 1–3 för tillförselslangen i den andra yttre sprutsektionen.
Under centersprutsektionen tar du bort slangklämman som fäster sprutsektionens tillförselslang vid T-kopplingen med hulling (Figur 36).

Ta bort hållarna som fäster snabbkopplingarna på tillförselslangarna till vänster, mitten och höger från sprutsektionsventilernas snabbkopplingar (Figur 37).
Note: Spara hållarna för montering i Montera slangarna på munstycksventilerna 7 till 10.

Ta bort de vänstra, mellersta och högra sektionstillförselslangarna från snabbkopplingen på sprutsektionsventilerna och ta bort slangarna från maskinen (Figur 37).
Note: Slangarna för de vänstra, mellersta och högra sektionstillförselslangarna behövs inte längre.
Ta bort slangarna från utskjutningsportarna på de vänstra och högra lyftcylindrarna (Figur 39).


Ta bort slangarna från portarna på C2 och C4 på lyftcylinderns grenrör (Figur 39).
Ta bort slangarna från indragningsportarna på vänster och höger lyftcylindrar (Figur 39).
Ta bort slangarna från portarna på C1 och C3 på lyftcylinderns grenrör (Figur 39).
Note: Slangarna behövs inte längre.
Lyftutrustningens kapacitet: 91 kg
Note: Om inget annat anges ska du alltid spara fästelement som du tar bort. De ska användas för att montera förlängningen till centersprutrampen.
Använd lyftutrustning med angiven kapacitet för att stödja den yttre sprutsektionen.
Ta bort hårnålssprinten och sprintbulten som fäster stångänden av lyftcylindern på tappfästet (Figur 40).
Note: Spara sprintbulten och hårnålssprinten för montering i Montera lyftcylindrarna.

Ta bort flänslåsmuttern (5/16 tum) och flänsskruven (5/16 x 3/4 tum) som fäster svängtappen på cylinderfästet (Figur 41).

Ta bort svängtappen och lyftcylindern från maskinen (Figur 41).
Utför stegen i Ta bort de yttre sprutsektionerna.
Lyftutrustningens kapacitet: 91 kg
Note: Om maskinen är utrustad med tillvalet täckt rampsats lämnar du kåporna monterade på de yttre sprutsektionerna.
Om tunga maskiner och redskap lyfts på fel sätt kan det leda till allvarliga personskador eller till och med dödsfall.
När du lyfter tunga maskiner och redskap ska du använda lyftutrustning, såsom kedjor och remmar, som är klassad för utrustningens vikt.
Note: Om inget annat anges ska du alltid spara fästelement som du tar bort. De ska användas för att montera förlängningen till centersprutrampen.
Ta bort flänsskruven (5/16 x 1 tum) och flänslåsmuttern (5/16 tum) som fäster svängtappen på tappfästet (Figur 42).

Ta bort svängtappen från tappfästet för centersprutsektionen och svängkopplingen för den yttre sprutsektionen (Figur 42).
Note: Spara flänsskruven, flänsmuttern och svängtappen för montering i Ta bort de yttre sprutsektionerna.
Separera den yttre sprutsektionen från centersprutsektionen och ta bort den yttre sektionen från maskinen (Figur 42).
Ta bort de två nylonflänsbussningarna från svängkopplingen för den yttre sprutsektionen (Figur 42).
Note: Kasta bussningarna.
Upprepa steg 1–3 i Ta bort lyftcylindrarna för den yttre sprutsektionen på maskinens andra sida.
Upprepa steg 1–4 i det här avsnittet för den yttre sprutsektionen på maskinens andra sida.
Ta bort sektionslyftgrenröret från cylinderfästet på följande sätt:
För maskiner utan utjämningssats för Ultra Sonic Boom (tillval): Ta bort de två flänslåsmuttrar (5/16 tum) och två flänsskruvar (5/16 × 1 tum) som fäster sektionslyftgrenrörets stödfäste på cylinderfästet och ta bort grenröret och fästet från cylinderfästet (Figur 43).

För maskiner med utjämningssats för Ultra Sonic Boom (tillval): Ta bort de två flänslåsmuttrar (5/16 tum) och två flänsskruvar (5/16 × 1 tum) som fäster sektionslyftgrenrörets stödfäste och TEC-styrenhetsfästet på cylinderfästet och ta bort grenröret och fästet från cylinderfästet (Figur 44).

Stötta sektionslyftgrenröret genom att knyta fast det på sprutans ventilmonteringsfäste med ett snöre.
Note: Spara stödfästet och lyftgrenröret, skruvarna och muttrarna för montering i steg Montera lyftcylinderns grenrör på cylinderns monteringsplatta.
Lyftutrustningens kapacitet: 41 kg
Om maskinen är utrustad med tillvalet täckt sprutrampssats tar du bort kåpan från centersprutsektionen.
Stötta centersprutsektionen med lyftutrustning med angiven kapacitet (Figur 45).

Tejpmarkera hålen där de fyra flänsskruvarna (1/2 × 1 1/4 tum) och fyra flänslåsmuttrarna (1/2 tum) fäster stödfästena till centersprutsektionen mot maskinens monteringsplatta (Figur 46).

Ta bort de fyra flänsskruvar (1/2 × 1 1/4 tum) och fyra flänslåsmuttrar (1/2 tum) som fäster stödfästena till centersprutsektionen mot monteringsplattan på maskinramen, och ta bort centersprutsektionen från maskinen (Figur 47).
Note: Spara skruvarna och låsmuttrarna för montering av den nya centersprutsektionen.

Delar som behövs till detta steg:
| Flänsskruv (⅜ x 1 tum) | 2 |
| Flänslåsmuttrar (3/8 tum) | 2 |
| Förlängning till centersprutramp | 1 |
| Cylinderfäste (brett) | 1 |
| Förankringsplatta (bred) | 1 |
| Vagnskruv (1/2 x 1 1/4 tum) | 4 |
| Flänslåsmutter (1/2 tum) | 4 |
Vid centersprutsektionen tar du bort flänslåsmuttern som fäster sprutmunstycket på munstycksfästet (Figur 48 och Figur 49).
Note: Spara låsmuttern för montering i steg 6 i Montera sprutmunstyckena och slangarna på centersprutsektionen.


Ta bort skruven av rostfritt stål (#12 x 1 1/4 tum) som fäster den övre halvan av klämman och slangskaftet med en eller dubbel hulling (3/4 tum) på sprutmunstyckshuset och ta loss slangskaftet med hulling och slangen från munstycket (Figur 50).
Note: Sexkantsskruven (5/16 x 3/4 tum – rostfritt stål) lossnar från den övre halvan av klämman när du öppnar klämman. Spara skruven för monteringen.

Ta bort munstycket från centersprutsektionen (Figur 48 och Figur 49).
Upprepa steg 1 och 2 för de andra två sprutmunstyckena.
Note: Spara sprutmunstyckena, skruvarna av rostfritt stål och sexkantsskruvarna för senare montering i steg 6 och 7 i Montera sprutmunstyckena och slangarna för centersprutsektionen.
Ta bort slangarna (3/4 tums innerdiameter), slangskaften med hulling, klämmorna och T-kopplingen med hulling från centersprutsektionen (Figur 48).
Note: Du behöver inte slangen, slangskaften, klämmorna eller T-kopplingen längre.
Lyftutrustningens kapacitet: 41 kg
Stötta centersprutsektionen med lyftutrustning med angiven kapacitet.
Avlägsna de två flänsskruvar (⅜ x 1 tum) och två flänslåsmuttrar (⅜ tum) som fäster stödfästet på centersprutsektionen och ta bort fästet (Figur 51).

Avlägsna de två flänsskruvar (⅜ x 1 tum) och två flänslåsmuttrar (⅜ tum) som fäster det andra stödfästet på centersprutsektionen och ta bort fästet (Figur 51).
Note: Spara stödfästena, skruvarna och låsmuttrarna för montering i steg 3 och 4 i Montera stödfästena på centersprutsektionen.
Ta bort de två flänsskruvar (3/8 x 1 tum) och två låsmuttrar (3/8 tum) som fäster de lodräta flänsarna på de vänstra och högra fackverksramarna (Figur 52).

Ta bort de två vagnsskruvar (1/2 x 1 1/4 tum) och två låsmuttrar (1/2 tum) som fäster det smala cylinderfästet, de vänstra och högra fackverksramarna och den smala förankringsplattan (Figur 53).

Note: Spara flänsskruvarna, vagnsskruvarna och låsmuttrarna för montering i steg 2 och 7 i Montera förlängning till centersprutramp. Du behöver inte det smala cylinderfästet eller den smala förankringsplattan längre.
Separera vänster och höger fackverksramar.
Rikta in hålen i de lodräta flänsarna på förlängningen till centersprutrampen mot hålen i fackverksramen (Figur 54).

Montera förlängningen till centersprutrampen löst på fackverksramen (Figur 54) med de två flänsskruvar (3/8 x 1 tum) och två flänslåsmuttrar (3/8 tum) som du tog bort i steg 1 i Separera centersprutsektionens fackverk.
Rikta in hålen i de lodräta flänsarna på förlängningen till centersprutrampen mot hålen i den andra fackverksramen (Figur 54).
Montera förlängningen till centersprutrampen löst på den andra fackverksramen (Figur 54) med de två flänsskruvarna (3/8 x 1 tum) och två flänslåsmuttrarna (3/8 tum) från finputsningssatsen för GeoLink-sprutsystemet (Figur 54).
Rikta in hålen i cylinderfästet mot hålen i mittlinjen på fackverksramen och förlängningen till centersprutrampen (Figur 55).

För in förankringsplattan i fackverksramen och förlängningen till centersprutrampen och rikta in hålen i förankringsplattan mot hålen i mittlinjen på fackverken och sprutrampsförlängningen (Figur 55).
Montera cylinderfästet, fackverken, förlängning till centersprutrampen och förankringsplattan med de två vagnsskruvar (1/2 x 1 1/4 tum) och två flänslåsmuttrar (1/2 tum) som du tog bort i steg 2 i Separera centersprutsektionens fackverk, och de fyra vagnsskruvarna (1/2 x 1 1/4 tum) och fyra flänslåsmuttrarna (1/2 tum) från finputsningssatsen för GeoLink-sprutsystemet (Figur 55).
Dra åt flänsskruvarna och flänslåsmuttrarna (3/8 tum) till 37–45 N·m.
Dra åt flänslåsmuttrarna (1/2 tum) till 91–113 N·m.
Delar som behövs till detta steg:
| Sprutmunstycke | 2 |
| Slangsystem (sprutventil 5 eller 6) | 2 |
| Flänslåsmutter (5/16 tum) | 2 |
Lyftutrustningens kapacitet: 55 kg
Stötta centersprutsektionen med lyftutrustning med angiven kapacitet.
Rikta in hålen i det högra stödfästet mot hålen i den högra fackverksramen enligt Figur 56.

Montera höger stödfäste på den högra fackverksramen (Figur 56) med de två flänsskruvar (3/8 x 1 tum) och två flänslåsmuttrar (3/8 tum) som du tog bort i steg 2 och 3 i Ta bort stödfästena från centersprutsektionen.
Upprepa steg 2 och 3 för vänster stödfäste vid vänster fackverksram (Figur 56).
Dra åt flänsskruvarna och flänsmuttrarna till 37–45 N·m.
Använd lyftutrustning och höj den nya centersprutsektionen till en bekväm arbetshöjd.
Börja med de två sprutmunstyckena från finputsningssatsen för GeoLink-sprutsystemet och ta bort skruven av rostfritt stål som håller fast den övre halvan av klämman på sadeln (Figur 57).

Leta rätt på hålet på sidan av slangskaftet med en hulling i änden av slangen (25 cm) i slangsystemet (sprutventil 5 eller 6) för centersprutsektionen (Figur 57 och Figur 58).

Rikta in överföringsröret i sadeln på ett sprutmunstycke (Figur 57) mot hålet på sidan av slangskaftet med en hulling (1/2 tum).
Stäng den övre halvan av klämman runt slangskaftet med hulling och sätt fast klämhalvan och sprutmunstyckshuset (Figur 57) med en skruv av rostfritt stål (nr 12 x 1 1/4 tum). Dra åt skruven av rostfritt stål till 14–18 N·m.
Important: Dra inte åt skruven av rostfritt stål mer än vad som anges i steg 5.
Note: Kontrollera att sexkantsskruven (5/16 x 3/4 tum) sitter på plats i nedsänkningen på den övre halvan av klämman när klämman stängs.
Börja med sprutmunstycket, sexkantsskruven och skruven av rostfritt stål som du tog bort i steg 1 och 2 i Ta bort sprutmunstyckena, och upprepa steg 3 till och med 5 på slangskaftet med en hulling (Figur 57 och Figur 58) i änden på den andra 25 cm-slangen.
Börja med de två sprutmunstycken som du tog bort i steg 4 i Ta bort sprutmunstyckena, och upprepa steg 3–5 på slangskaften med en hulling på det andra slangsystemet (sprutventil 5 eller 6) för centersprutsektionen (Figur 57 och Figur 58).
Dra 13 mm-slangen och munstycket mellan fackverksfästena på det yttre fackverket (Figur 59).

Dra slangen och munstycket ovanför fackverksfästet och utåt till det yttre munstycksfästet (Figur 59).
Rikta in sexkantsskruven (5/16 x 3/4 tum) på sprutmunstycket genom hålet i munstycksfästet och fäst munstycket löst mot fästet med en flänslåsmutter (5/16 tum) från finputsningssatsen för GeoLink-sprutsystemet (Figur 60).

Dra den andra 13 mm-slangen och munstycket mellan fackverksfästena på det yttre fackverket (Figur 59).
Dra slangen och munstycket ovanför fackverksfästet och inåt till det inre munstycksfästet (Figur 59).
Rikta in sexkantsskruven (5/16 x 3/4 tum) på sprutmunstycket genom hålet i munstycksfästet (Figur 60) och fäst munstycket löst mot fästet med en flänslåsmutter (5/16 tum) som du tog bort i steg 1 och 4 i Ta bort sprutmunstyckena.
Dra åt flänslåsmuttern till 1 978–2 542 Ncm.
Dra slangen och kopplingen med hulling (13 × 810 mm) till sidan av centersprutsektionen med de vänstra och högra stödfästena (Figur 59).
Upprepa steg 1 till och med 8 för den andra slang- och munstycksanordningen på det andra yttre fackverket (Figur 59 och Figur 60).
Delar som behövs till detta steg:
| Lock (snabbkoppling) | 3 |
| Hållare | 3 |
Ta bort den övre änden på överströmningsslangen enligt följande:
På maskiner utan tillvalet handhållen stav eller elektrisk slangvinda ska du ta bort den lilla hållaren som fäster snabbkopplingen på överströmningsslangen till snabbkopplingen på höger sektionsöverströmningsventil (Figur 61).

Utför följande steg för maskiner med handhållen stav (tillval) eller elektrisk slangvinda (tillval):
Avlägsna hållaren som fäster avstängningsventilens snabbkoppling vid den högra sektionsöverströmningsventilens snabbkopplingsuttag och separera ventilen från uttaget (Figur 62).

Avlägsna hållaren som fäster avstängningsventilens snabbkoppling vid den hullingförsedda 90°-kopplingen och separera ventilen från uttaget (Figur 62).
Note: Spara avstängningsventilen och hållarna för montering i Montera avstängningsventilen på överströmningsslangen.
Ta bort den stora hållaren som fäster 90-graderskopplingen med hullingen i den nedre änden av överströmningsslangen på motorväggsfästet på spruttanken (Figur 63).
Note: Spara den stora hållaren för montering i Montera överströmningsslangarna till tanken.

Ta bort överströmningsslangen från maskinen.
Note: Överströmningsslangen och den lilla hållaren behövs inte längre.
Ta bort de tre hållarna som fäster de tre ventilernas manövreringsorgan vid de vänstra, mellersta och högra sektionsventilerna (Figur 64).

Ta bort ventilernas manövreringsorgan från de vänstra, mellersta och högra sektionsventilerna (Figur 64).
Avlägsna hållaren som fäster locket på överströmningsventilens snabbkoppling och avlägsna locket (Figur 65).
Note: Locket behövs inte längre.

Ta bort de tre hållarna som fäster de tre överströmningsventilerna vid de vänstra, mellersta och högra sektionsventilerna (Figur 66).

Lyft överströmningsventilerna från sektionsventilerna (Figur 66).
Vrid överströmningsventilerna 180° och montera dem på snabbkopplingarna på sektionsventilerna (Figur 66).
Fäst tre överströmningsventiler i sektionsventilerna med de tre hållarna som du tog bort i steg 4 (Figur 66).
Montera pluggen i snabbkopplingsuttaget på överströmningsventilen (Figur 67).

Fäst stiftet till snabbkopplingsuttaget med hållaren som du tog bort i steg 3 (Figur 67).
Montera tre ventilmanövreringsorgan på de vänstra, mellersta och högra sektionsventilerna (Figur 64) med hållarna som avlägsnades i steg 1.
Note: Du lägger till sektionsventilerna till ventilerna för GeoLink-sprutans system med tio ventiler i Montera de tre sektionsventilerna på ventilfästet.
Ta bort de två flänsskruvar (1/4 x 3/4 tum) och två låsmuttrar (1/4 tum) som fäster den vänstra sprutrampssektionsventilen på grenrörsfästet (Figur 68).
Note: De två flänsskruvarna och låsmuttrarna behövs inte längre.

Ta bort de två flänsskruvar (1/4 x 3/4 tum) och två låsmuttrar (1/4 tum) som fäster den högra sprutrampssektionsventilen på grenrörsfästet (Figur 68).
Ta bort flänsklämman (40–64 mm) och packningen (25 × 35 mm) som fäster sektionsventilens vänstra fläns på adaptern (Figur 68).
Note: Spara två flänsskruvar, två låsmuttrar, flänsklämman och packningen för montering i Montera de tre sektionsventilerna på ventilfästet.

Ta bort de tre sektionsventilerna från maskinen (Figur 69).
Ta bort dekalerna från de tre sektionsventilernas manövreringsorgan (Figur 70).

Ta bort flänsklämman (51 mm) och packningen (38 mm) som fäster adapterns fläns på flödesmätarens fläns (Figur 71).
Note: Spara flänsklämman och packningen för montering i Montera grenröret mot flödesmätaren.

Delar som behövs till detta steg:
| Flödesmätarens fäste | 1 |
| Stödklämmans ena halva | 4 |
| Skruv (1/2 x 4 1/4 tum) | 4 |
| Flänslåsmuttrar (¼ tum) | 4 |
Koppla loss kontakten med tre uttag på maskinkablaget märkt FLOW METER (flödesmätare) från kontakten med tre stift på flödesmätaren (Figur 72).

Avlägsna maskinkablagets två tryckfästelement från sektionsventilfästets nedre fläns (Figur 72).
Ta bort de fyra flänsskruvarna (5/16 × 3/4 tum) som fäster sektionsventilens fäste från ventilfästet och ta bort ventilfästet från maskinen (Figur 73).
Note: Spara de fyra flänsskruvarna för montering i Montera flödesmätarens fäste och klämmor. Sektionsventilens fäste behövs inte längre.

Rikta in hålen i fästet till flödesmätarens fäste med hålen i ventilfästet (Figur 74).

Montera flödesmätarens fäste på ventilfästet med de fyra flänsskruvarna som du tog bort i steg 3 i Ta bort sektionsventilens fästeoch dra åt skruvarna till 1 978–2 542 Ncm.
Rikta in stödklämmans två halvor mellan flödesmätaren och flödesmätarens fäste och rikta in hålen i klämmans halvor med hålen i fästet (Figur 75).

Rikta in en av stödklämmans halvor på baksidan av flödesmätaren med en av halvorna som du monterade i steg 3 (Figur 75).
Montera stödklämmans två halvor till flödesmätarens fäste (Figur 75) med två skruvar (1/4 × 4 1/2 tum) och två flänslåsmuttrar (1/4 tum).
Upprepa steg 4 och 5 för den andra halvan, som du monterade i steg 3.
Dra åt skruvarna och muttrarna till 1 017–1 243 Ncm.
Delar som behövs till detta steg:
| Bakre kablage | 1 |
| Kabelband | 7 |


Leta reda på kablagedelen på 84 cm, kablagedelen på 60 cm och kablagedelen på 66 cm på satskablaget (Figur 76 och Figur 77).
Dra satskablagets 84 cm, 60 cm och 66 cm långa kablagedelar till maskinens vänstra sida längs maskinkablaget (Figur 78 och Figur 79).


Dra satskablagets 84 cm, 60 cm och 66 cm långa kablagedelar framåt längs med den vänstra ramkanalen (Figur 81 och Figur 82).



Dra satskablagets 84 cm, 60 cm och 66 cm långa kablagedelar längs maskinkablaget, på utsidan av parkeringsbromsenheten (Figur 83).

Dra satskablagets 84 cm, 60 cm och 66 cm långa kablagedelar över stötdämparröret enligt Figur 84.

Fäst satskablaget till maskinkablaget enligt Figur 82, Figur 83och Figur 84.
På baksidan av maskinen drar du kablaget på 89 cm framåt längs lyftgrenröret och till höger om flödesmätaren enligt Figur 85.

Dra kablagedelen på 102 cm bakom lyftgrenröret och till höger enligt Figur 85.
Anslut kontakten med tre stift på kablagedelen på 89 cm märkt LEFT SPRAY (vänster spruta) till kontakten med tre uttag på maskinkablaget märkt LEFT SPRAY VALVE (vänster sprutventil) (Figur 86).

Anslut kontakten med tre stift på satskablagedelen märkt CENTER SPRAY (centerspruta) till kontakten med tre uttag på maskinkablaget märkt CENTER SPRAY VALVE (centersprutventil) (Figur 86).
Anslut kontakten med tre stift på satskablagedelen märkt RIGHT SPRAY (höger spruta) till kontakten med tre uttag på maskinkablaget märkt RIGHT SPRAY VALVE (höger sprutventil) (Figur 86)
För in tryckfästelementet på satskablaget i hålet i flänsen på flödesmätarens fäste (Figur 86).
Anslut elkontakten med tre uttag på kablagedelen på 89 cm märkt FLOW METER (flödesmätare) till flödesmätarens kontakt med tre stift (Figur 87).

Anslut kontakten med tre stift på satskablagedelen på 89 cm märkt MASTER VALVE (huvudventil) till kontakten med tre uttag på maskinkablaget märkt MASTER SPRAY VALVE (huvudsprutventil) (Figur 88).

Anslut kontakten med tre stift på manövreringsorganet till huvudsprutsventilen till kontakten med tre uttag på kablagedelen på 89 cm märkt MASTER VALVE (huvudventil) (Figur 88).
Anslut kontakten med fyra stift på manövreringsorganet till reglerventilen till kontakten med fyra uttag på satskablagedelen på 89 cm märkt RATE VALVE (reglerventil) (Figur 89).

Delar som behövs till detta steg:
| Rak slanghulling (1 × 2 tum) | 1 |
| Slangklämma (¾–1 ½ tum) | 3 |
| Slang (3 x 5 1/4 tum) | 1 |
| Grenrör | 1 |
| Slang (1 × 16 tum) | 1 |
Montera slangen (1 × 5–3/4 tum) på den raka slanghullingen (1 × 2 tum) med en slangklämma (3/4–1 1/2 tum) och dra åt för hand (Figur 90).

Montera slangens andra ände (1 × 5–3/4 tum) på den hullingförsedda kopplingen på grenröret med en slangklämma enligt Figur 90 och dra åt slangklämman för hand.
Montera slangen (1 × 16 tum) på den andra hullingförsedda kopplingen på grenröret med en slangklämma och dra åt klämman för hand (Figur 90).
Montera den raka slanghullingen (1 × 2 tum) vid flänsen på flödesmätaren med packningen (38 mm) och flänsklämman (51 mm) som du tog bort i steg 6 i Ta bort sektionsventilerna från grenrörsfästet.

Dra åt flänsklämman för hand (Figur 91).
Delar som behövs till detta steg:
| 90°-snabbkopplingsfäste (uttag – 1 tum) | 2 |
| Slang (1 × 26 tum) | 2 |
| Slangklämma (3/4 × 1 1/5 tum) | 5 |
| T-koppling (1 × 1 × 1 tum) | 1 |
| 90-graderskoppling med hulling och slangenhet | 1 |
| Avstängningsventil | 1 |
Montera 90 -snabbkopplingsfästet (uttag – 1 tum) i slangen (1 x 26 tum) och fäst slangen på nippeln med en slangklämma enligt Figur 92.

Montera slangens lösa ände på T-kopplingen enligt Figur 92 och fäst slangen på kopplingen med en slangklämma.
Upprepa steg 1 – 2 för den andra 90-graderskopplingen med hulling, snabbkopplingen och slangen.
Montera 90-graderskopplingen med hulling och slangenheten på T-kopplingen och fäst slangen på kopplingen med en slangklämma (Figur 92).
I enlighet med Figur 93 avlägsnar du hållaren från 90°-snabbkopplingsfästet som du monterade i Montera överströmningsslangarna.

Montera avstängningsventilen i snabbkopplingens uttag (Figur 93).
Sätt fast ventilen på kopplingen med hållaren som du tog bort i steg 1.
Montera avstängningsventilen och hållaren som du tog bort i steg 1 i Ta bort sektionsventilens överströmningsslang i den andra snabbkopplingens uttag (Figur 93).
Rikta in överströmningsslangarna på spruttanken (Figur 94).


Montera 90°-kopplingen med hulling i spruttankens motorväggsfäste och fäst kopplingarna med hållaren som du tog bort i steg 2 i Ta bort sektionsventilens överströmningsslang.
Lyftutrustningens kapacitet: 55 kg
Använd lyftutrustning med angiven kapacitet, höj centersprutsektionen och passa in hålen i stödfästet på sprutsektionen (Figur 95) med hålen i fästplattan för maskinramen som du identifierade i steg 3 i Ta bort centersprutsektionen.

Montera centersprutsektionen på monteringskanalerna (Figur 95) med de fyra flänsskruvarna (1/2 × 1 1/4 tum) och fyra flänslåsmuttrarna (1/2 tum) som du tog bort i steg 4 i Ta bort centersprutsektionen.
Dra åt skruvarna och muttrarna till 91–113 N·m.
Knyt loss lyftgrenröret från ventilens monteringsfäste.
Montera sektionslyftgrenröret på cylinderns monteringsplatta på följande sätt:
För maskiner utan utjämningssats för Ultra Sonic Boom (tillval):
Rikta in hålen i sektionsventilens fäste för sektionslyftgrenröret med hålen på cylinderfästet (Figur 96).

Montera stödfästet på cylinderfästet (Figur 96) med de två flänsskruvar (5/16 × 1 tum) och flänslåsmuttrar (5/16 tum) som du tog bort i steg 1 i Ta bort sektionslyftgrenröret från centersprutsektionen.
För maskiner med utjämningssats för Ultra Sonic Boom (tillval):
Rikta in hålen i stödfästet på sektionslyftgrenröret och TEC-styrenhetsfästet med hålen på cylinderfästet.

Montera stödfästet och TEC-fästet på cylinderfästet (Figur 97) med de två flänsskruvar (5/16 × 1 tum) och flänslåsmuttrar (5/16 tum) som du tog bort i steg 1 i Ta bort sektionslyftgrenröret från centersprutsektionen.
Dra åt skruvarna och muttrarna till 1 978–2 542 Ncm.
Delar som behövs till detta steg:
| Ventilfäste och sprutventil | 1 |
| Skruv (4 x 10 mm) | 3 |
| ASC 10-sprutreglage | 1 |
| Flänslåsmutter (4 mm) | 3 |
| Lock (snabbkoppling) | 2 |
| Flänsskruvar (5/16 x 3/4 tum) | 8 |
| Flänslåsmuttrar (5/16 tum) | 8 |
| Slangklämma | 1 |
| Tryckfästelement (kabelband) | 1 |
| Tryckfästelement (kontaktförankring) | 3 |
Rikta in ASC-sprutreglaget mot framsidan av ventilfästet med kontakten med fyra stift utåt (Figur 98).

Montera sprutreglaget på ventilfästet (Figur 98) med de fyra skruvarna (3 x 10 mm) och fyra flänslåsmuttrarna (3 mm).
Note: Använd inte det övre yttre hålet i ASC 10-sprutreglaget.
Dra åt skruvarna och muttrarna till 234–286 N·cm.
Ta bort hållarna som fäster ventilernas manövreringsorgan på munstycksventil 1–7 (Figur 99).

Ta bort ventilernas manövreringsorgan från munstycksventil 1–7 (Figur 99).
Ta bort hållarna som håller fast pluggarna i uttagen på snabbkopplingen på munstycksventil 5 och 6 och ta bort stiften (Figur 100).
Note: Pluggarna behövs inte längre. Spara hållarna för montering i Montera sektionsventilens överströmningsslangar – för maskiner med tillvalet handhållen stav eller elektrisk slangvinda.

Ta bort hållarna som fäster överströmningsventilerna till munstycksventil 1–7 (Figur 101).

Lyft överströmningsventilerna från munstycksventil 1–5 (Figur 101).
Vrid överströmningsventilerna 180° och montera dem på snabbkopplingarna på sektionsventilerna (Figur 102).

Fäst överströmningsventilerna på sektionsventilerna med hållarna (Figur 102) som du tog bort i steg 4.
Upprepa steg 5–7 för överströmningsventilerna på munstycksventil 6–7 (Figur 103).

Montera locken på snabbkopplingarna på överströmningsventilerna på munstycksventil 5–6 med hållarna som medföljer locken (Figur 102).

Montera ventilernas manövreringsorgan på munstycksventil 1–7 (Figur 99) med hållarna som avlägsnades i steg 1.
Montera de tre sektionsventilerna (Figur 105) som du tog bort i steg 8 i Ta bort sektionsventilerna från grenrörsfästet på flänsen på sprutventilens ventil 7 med flänsklämman och packningen som du tog bort i steg 4 i Ta bort sektionsventilerna från grenrörsfästet.
Important: Vänstra, mellersta och högra sektionsventilerna identifieras i GeoLinks sprutsystem på följande sätt: vänster sektionsventil – munstycksventil 8, centersektionsventil – munstycksventil 9 och höger sektionsventil – munstycksventil 10.

Fäst snabbkopplingens uttag för överströmningsventilen till munstycksventil 8 till snabbkopplingens uttag för överströmningsventilen till munstycksventil 7 med hållaren som du tog bort i steg 8 i Ta bort sektionsventilerna från grenrörsfästet.

Montera munstycksventil 10 på ventilfästet, (Figur 107 eller Figur 108) med de två flänsskruvarna (1/4 × 3/4 tum) och de två låsmuttrarna (1/4 tum) som du tog bort i steg 2 av Ta bort sektionsventilerna från grenrörsfästet.


Dra åt flänsskruvarna och låsmuttrarna till 1 017–1 243 N·m.
Lyftutrustningens kapacitet: 23 kg
Använd lyftutrustning med angiven kapacitet, lyft ventilfästet och sprutventilenheten och rikta in den över centersprutsektionen (Figur 109).

Rikta in hålen i monteringsfästet till ventilfästet mot hålen i fackverksramen på centersprutsektionen (Figur 110).

Montera ventilfästet på fackverksramen (Figur 110 och Figur 111) med fyra skruvar (5/16 x 3/4 tum) och fyra flänslåsmuttrar (5/16 tum).

Upprepa steg 2 till och med 3 för det andra monteringsfästet för ventilfästet vid den andra fackverksramen.
Dra åt flänsskruvarna och flänslåsmuttrarna till 1 978–2 542 Ncm.
Montera slangen (1 × 16 tum) över 90°-flänskopplingen (1 tum) enligt Figur 112.

Fäst slangen vid flänskopplingen med hjälp av en slangklämma (Figur 112).
Montera kabelbandet/tryckfästelementen i hålet överst på ventilfästet enligt Figur 112.
Fäst kabelbandet/tryckfästelementet (Figur 112) runt slangen (1 × 16 tum).
Ta bort hållarna från uttagen till snabbkopplingarna som du monterade på överströmningsslangarna i steg 1 i Montera överströmningsslangarna.
Montera överströmningsslangens snabbkoppling på snabbkopplingen på överströmningsventilen vid munstycksventil 10 (Figur 113).

Fäst överströmningsslangens och överströmningsventilens snabbkopplingar med hållaren (Figur 113).
Upprepa steg 1–3 för snabbkopplingarna vid munstycksventil 1.
Montera överströmningsavstängningsventilens snabbkoppling med snabbkopplingen (uttaget) på överströmningsventilen (Figur 114).

Fäst överströmningsavstängningsventilernas snabbkopplingar och överströmningsventilen med hållaren (Figur 114) som du tog bort i steg 3 i Ställa in överströmningsventilerna – för maskiner med tillvalet handhållen stav eller elektrisk slangvinda.
Upprepa steg 1 och 2 för överströmningsavstängningsventilen och överströmningsventilen på maskinens andra sida.
Montera tryckfästelementens kontaktförankring i hålen i ventilfästet (Figur 115).


Anslut kontakten med tre uttag (Figur 116) på satskablagedelen på 89 cm märkt NOZZLE VALVE 1 (munstycksventil 1) i kontakten med tre stift i ventilens manövreringsorgan längst till vänster (läge 1).
Note: Ventilens manövreringsorgans lägen 1–10 är rangordnade från vänster till höger när du står bakom maskinen.
Anslut kontakten med tre uttag (Figur 116) på satskablagedelen på 89 cm märkt NOZZLE VALVE 2 (munstycksventil 2) i kontakten med tre stift i ventilens manövreringsorgan (läge 2).
Anslut resterande kontakter med tre uttag på satskablagedelen på 89 cm i kontakten med tre stift i ventilens manövreringsorgan (Figur 116).
Note: Kontrollera att kontakten med tre uttag är ansluten till motsvarande ventils manövreringsorgans läge.
Delar som behövs till detta steg:
| Hydraulslang (1/4 x 24 3/4 tum) | 4 |
Rikta in den fasta änden av den lyftcylinder som du tog bort i steg 3 i Ta bort lyftcylindrarna mot 16 mm-hålet i cylinderfästet (Figur 117).
Note: Kontrollera att utskjutnings- och indragningsportarna på cylindern är i linje.

Montera cylindern på cylinderfästet med svängtappen, flänsskruven och flänsmuttern (Figur 117).
Dra åt skruven och muttern till 1 978–2 542 N·cm.
Upprepa steg 1 till och med 3 för den andra lyftcylindern på andra sidan av cylinderfästet.
Montera en ny hydraulslang (1/4 x 24 3/4 tum) löst mellan utskjutningsporten på den vänstra sprutrampslyftens cylinder och port C3 på sprutrampslyftens grenrör (Figur 118).

Montera en ny hydraulslang (1/4 x 24 3/4 tum) löst mellan indragningsporten på den vänstra sprutrampslyftens cylinder och port C4 på sprutrampslyftens grenrör (Figur 118).
Montera en ny hydraulslang (1/4 x 24 3/4 tum) löst mellan utskjutningsporten på den högra sprutrampslyftens cylinder och port C1 på sprutrampslyftens grenrör (Figur 119).

Montera en ny hydraulslang (1/4 x 24 3/4 tum) löst mellan indragningsporten på den högra sprutrampslyftens cylinder och port C2 på sprutrampslyftens grenrör (Figur 119).
Dra åt slangkopplingarna på utskjutnings- och indragningsportarna på lyftcylindrarna (Figur 118 och Figur 119) till 21–26 N·m.
Dra åt slangarnas löpmuttrar vid sprutrampslyftens grenrör (Figur 118 och Figur 119) till 24–30 N·m.
Delar som behövs till detta steg:
| Nylonflänsbussning | 4 |
| Kabelband | 1 |
| Tillförselslang, 188 cm | 1 |
| Tillförselslang, 234 cm | 1 |
| Tillförselslang, 279 cm | 1 |
Kapa slangen mellan två sprutmunstycken (Figur 120).

Ta bort flänslåsmuttern (5/16 tum) som fäster sprutmunstycket på munstycksstödet (Figur 120).
Upprepa steg 2 och 1 för de andra tre munstyckena.
Note: Spara flänslåsmuttern och sprutmunstycket för montering i Montera sprutmunstyckena på centersprutsektionerna.
Note: Kasta slangarna, klämmorna och T-kopplingen som du tog bort från maskinen.
Upprepa steg 2–3 på den andra yttre sprutsektionen.
Börja med de åtta sprutmunstycken som du tog bort i steg 1. Ta bort skruvarna av rostfritt stål (nr 12 x 1 1/4 tum) som fäster de övre halvorna av klämmorna och slangskaften med en eller dubbel hulling (3/4 tum) på husen till vart och ett av sprutmunstyckena och ta bort slangskaften med hulling (Figur 121).
Note: Sexkantsskruven (5/16 x 3/4 tum – rostfritt stål) lossnar från den övre halvan av klämman när du öppnar klämman. Spara skruven för monteringen.

Lyftutrustningens kapacitet: 91 kg
Använd lyftutrustning med angiven lyftkapacitet och höj den yttre sprutrampen.
För in en nylonflänsbussning i hålet på 31,8 mm på vardera sida om svängkopplingen (Figur 122).

Rikta in bussningarna i svängkopplingen mot hålen i flänsarna på tappfästet i änden av centersprutsektionen (Figur 123).

Montera svängkopplingen på tappfästet med svängtappen, flänsskruven (5/16 × 1 tum) och flänslåsmuttern (5/16 tum) som du tog bort i steg 2 i Ta bort de yttre sprutsektionerna.
Dra åt skruven och muttern till 1 978–2 542 Ncm.
Rikta in stångänden av lyftcylindern mot 25 mm-hålet i hornet på svängkopplingen (Figur 124).

Fäst lyftcylindern på svängkopplingen med sprintbulten och hårnålssprinten (Figur 124) som du tog bort i steg 2 i Ta bort lyftcylindrarna.
Upprepa steg 1–7 på den yttre sprutsektionen på maskinens andra sida.
Delar som behövs till detta steg:
| Tillförselslang, 279 cm | 2 |
| Tillförselslang, 234 cm | 2 |
| Tillförselslang, 188 cm | 4 |
| Tillförselslang, 81 cm | 2 |
Hitta rätt läge för respektive sprutmunstycke med hjälp av tillförselslangens längd (Figur 125). Se nedan:
| Sprutmunstyckeslägen – vänster sprutsektion | Sprutmunstyckeslägen – centersprutsektion | Sprutmunstyckeslägen – höger sprutsektion |
|---|---|---|
| Sprutmunstycke 1 (munstycksventil 1) – tillförselslang, 279 cm | Sprutmunstycke 5 och 6 (munstycksventil 5) – tillförselslang, 81 cm med två slangdelar | Sprutmunstycke 9 (munstycksventil 7) – tillförselslang, 188 cm |
| Sprutmunstycke 2 (munstycksventil 2) – tillförselslang, 234 cm | Sprutmunstycke 7 och 8 (munstycksventil 6) – tillförselslang, 81 cm med två slangdelar | Sprutmunstycke 10 (munstycksventil 8) – tillförselslang, 188 cm |
| Sprutmunstycke 3 (munstycksventil 3) – tillförselslang, 188 cm | Sprutmunstycke 11 (munstycksventil 9) – tillförselslang, 234 cm | |
| Sprutmunstycke 4 (munstycksventil 4) – tillförselslang, 188 cm | Sprutmunstycke 12 (munstycksventil 10) – tillförselslang, 279 cm |
Note: Du hittar munstycksventilens lägen i Figur 126 i Montera slangarna på munstycksventilerna 1 till 4, Figur 127 i Montera slangarna på munstycksventilerna 5 och 6 och Figur 128 i Montera slangarna på munstycksventilerna 7 till 10.

Montera den raka hullingförsedda kopplingen på tillförselslangen (279 cm) på kopplingen till munstycksventil 1 (Figur 126).
Note: Kontrollera att den hulllingförsedda kopplingen sitter ordentligt på kopplingen.

Sätt fast den hullingförsedda kopplingen med en hållare (Figur 126).
Montera den raka hullingförsedda kopplingen på tillförselslangen (234 cm) på kopplingen till munstycksventil 2 (Figur 126).
Note: Kontrollera att den hulllingförsedda kopplingen sitter ordentligt på kopplingen.
Sätt fast den hullingförsedda kopplingen med en hållare (Figur 126).
Montera den raka hullingförsedda kopplingen på tillförselslangen (188 cm) på kopplingen till munstycksventil 3 (Figur 126).
Note: Kontrollera att den hulllingförsedda kopplingen sitter ordentligt på kopplingen.
Sätt fast den hullingförsedda kopplingen med en hållare (Figur 126).
Montera den raka hullingförsedda kopplingen på tillförselslangen (188 cm) på kopplingen till munstycksventil 4 (Figur 126).
Note: Kontrollera att den hulllingförsedda kopplingen sitter ordentligt på kopplingen.
Sätt fast den hullingförsedda kopplingen med en hållare (Figur 126).
Note: Tillförselslangen (81 cm) har en T-koppling med två slangdelar och två slangskaft med hulling.
Montera den raka hullingförsedda kopplingen på tillförselslangen (81 cm) på kopplingen till munstycksventil 5 (Figur 127).
Note: Kontrollera att den hulllingförsedda kopplingen sitter ordentligt på kopplingen.

Sätt fast den hullingförsedda kopplingen med en hållare (Figur 127).
Montera den raka hullingförsedda kopplingen på tillförselslangen (81 cm) på kopplingen till munstycksventil 6 (Figur 127).
Note: Kontrollera att den hulllingförsedda kopplingen sitter ordentligt på kopplingen.
Sätt fast den hullingförsedda kopplingen med en hållare (Figur 127).
Montera den raka hullingförsedda kopplingen på tillförselslangen (188 cm) på kopplingen till munstycksventil 7 (Figur 128).
Note: Kontrollera att den hulllingförsedda kopplingen sitter ordentligt på kopplingen.

Sätt fast den hullingförsedda kopplingen med en hållare (Figur 128).
Montera den raka hullingförsedda kopplingen på tillförselslangen (188 cm) på kopplingen till munstycksventil 8 (Figur 128).
Note: Kontrollera att den hulllingförsedda kopplingen sitter ordentligt på kopplingen.
Sätt fast den hullingförsedda kopplingen med en hållare (Figur 128).
Montera den raka hullingförsedda kopplingen på tillförselslangen (234 cm) på kopplingen till munstycksventil 9 (Figur 128).
Note: Kontrollera att den hulllingförsedda kopplingen sitter ordentligt på kopplingen.
Sätt fast den hullingförsedda kopplingen med en hållare (Figur 128).
Montera den raka hullingförsedda kopplingen på tillförselslangen (279 cm) på kopplingen till munstycksventil 10 (Figur 128).
Note: Kontrollera att den hulllingförsedda kopplingen sitter ordentligt på kopplingen.
Sätt fast den hullingförsedda kopplingen med en hållare (Figur 128).
Dra slangarna till sprutmunstyckena 1, 2, 3 och 4 genom R-klämman på vänster yttersida av centersprutsektionen (Figur 129 och Figur 130).


Dra slangarna till sprutmunstyckena 7, 8, 9 och 10 genom R-klämman på höger yttersida av centersprutsektionen (Figur 129 och Figur 130).
Dra tillförselslangarna (279 cm) och slangskaften med hulling (3/4 tum) längs sprutsektionen till sprutmunstyckena 1 och 10 enligt (Figur 129 och Figur 130).
Dra tillförselslangarna (234 cm) och slangskaften med hulling (3/4 tum) längs sprutsektionen till sprutmunstyckena 2 och 9 enligt Figur 129 och Figur 130.
Dra tillförselslangarna (188 cm) och slangskaften med hulling (3/4 tum) längs sprutsektionen till sprutmunstyckena 3 och 8 enligt (Figur 129 och Figur 130).
Note: Dra slangarna genom de nedre, bakre hylsorna i rörramsfästena.
Dra tillförselslangarna (188 cm) och slangskaften med hulling (3/4 tum) längs sprutsektionen till sprutmunstyckena 4 och 7 enligt Figur 129 och Figur 130.
Note: Dra mittslangarna genom de nedre, bakre hylsorna i rörramfästena.
Bunta ihop de fyra slangarna till sprutmunstyckena med ett kabelband enligt Figur 130.
Rikta in överföringsröret i sadeln på ett sprutmunstycke (Figur 131) mot hålet på sidan av slangskaftet med en hulling (1/2 tum).

Stäng den övre halvan av klämman runt slangskaftet med hulling och sätt fast klämhalvan och sprutmunstyckshuset (Figur 131) med en skruv av rostfritt stål (nr 12 x 1 1/4 tum). Dra åt skruven av rostfritt stål till 14–18 N·m.
Note: Kontrollera att sexkantsskruven (5/16 x 3/4 tum) sitter på plats i nedsänkningen på den övre halvan av klämman när klämman stängs.
Montera sprutmunstyckena på de yttre sprutsektionerna på följande sätt:
Vid munstycksläge 1 och 4 monterar du sprutmunstycket på munstycksfästet (A i Figur 132) med flänslåsmuttern (5/16 tum) som du tog bort i steg 2 i Ta bort sprutmunstyckena från de yttre sprutsektionerna.
Vid munstycksläge 2 och 3 monterar du sprutmunstycket på munstycksfästet (A och B i Figur 132) med flänslåsmuttern (5/16 tum) som du tog bort i steg 2 i Ta bort sprutmunstyckena från de yttre sprutsektionerna.

Dra åt flänslåsmuttern till 1 978–2 542 Ncm.
Upprepa steg 1–4 för sprutsektionens andra sprutmunstycken.
Upprepa steg 1–5 för den yttre sprutsektionen på maskinens andra sida.
För in kontakten med tre uttag på satskablagedelen på 61 cm märkt PRESSURE TRANSDUCER GREEN WEDGE (tryckomvandlare grön kil) i kontakten med tre stift på tryckomvandlaren (Figur 133).

För in kontakten med 40 uttag på satskablagedelen på 102 cm i kontakten med 40 stift på ASC 10-sprutstyrningen (Figur 134).

Gänga vingskruven på kontakten med 40 uttag på ASC 10-kontakten för hand (Figur 134).
För in kontakten med fyra uttag märkt TO ASC 10 (till asc 10) i kontakten med fyra stift på ASC 10-sprutstyrningen (Figur 135).

Ta bort flänsklämman och packningen som fäster det vanliga locket på flänsen på munstycksventil 10 (Figur 137).

Ta bort flänsklämman och packningen som fäster locket och slangkopplingen på flänsen på flödesmätarens grenrör (Figur 137).

Montera det vanliga locket på flödesmätarens grenrörsfläns med flänsklämman och packningen som du tog bort i steg 2 och dra åt klämman för hand (Figur 138).
Montera 90-graderskopplingen på avstängningsventilen på tillvalet handhållen stav eller elektrisk slangvinda på flänsen på munstycksventil 10 med flänsklämman och packningen som du tog bort i steg 1 och dra åt klämman för hand (Figur 139).

Rikta in änden på tryckgivarröret (plast) för instrumentbrädans tryckmätare mot låskragen för rörkopplingen i 90-graderskopplingen på avstängningsventilen på tillvalet handhållen stav eller elektrisk slangvinda (Figur 140).

För in givarröret i låskragen tills röret sitter ordentligt (Figur 140).
Delar som behövs till detta steg:
| Kabelband | 6 |
Dra rören för skummunstyckena vid vänster och höger sprutsektion på insidan och genom R-klämman nära vridpunkten för den yttre sprutsektionen (Figur 142).


Dra rören framåt längs vänster sida av spruttanken (Figur 142).
Fäst rören för vänster och höger skummarkörers munstycken till sprutslangarna med fyra kabelband enligt Figur 142.
Fäst rören för vänster och höger skummarkörers munstycken till omrörningsrören med två kabelband enligt Figur 142.
Dra skumslangarna för höger sprutramp enligt Figur 143.


Sätt in det genomskinliga röret i luftförskruvningen på kompressorns sidoplåt (Figur 143 och Figur 144).

Sätt in det blå röret i vätskeförskruvningen på kompressorns sidoplåt (Figur 143 och Figur 144).
Dra skumslangarna för vänster sprutramp enligt Figur 143.
Sätt in det genomskinliga röret i luftförskruvningen på kompressorns sidoplåt (Figur 143 och Figur 144).
Sätt in det blå röret i vätskeförskruvningen på kompressorns sidoplåt (Figur 143 och Figur 144).
Anslut röret med det kabelband du förberedde i steg 9 i Förbered de nya rören för skummarkörmunstyckena genom att rikta in det blå röret till den högra sprutsektionen mot kompressionskopplingen för vattenkretsen på höger sprutsektion (Figur 145).

Montera kompressionsmuttern för röret på kopplingen och dra åt muttern för hand (Figur 145).
Rikta in det genomskinliga röret till den högra sprutsektionen mot kompressionskopplingen för luftkretsen på höger sprutsektion (Figur 145).
Montera kompressionsmuttern för röret på kopplingen och dra åt muttern för hand (Figur 145).
Anslut det omarkerade röret (utan kabelband) genom att rikta in det blå röret till vänster sprutsektion mot kompressionskopplingen för vattenkretsen på vänster sprutsektion (Figur 146).

Montera kompressionsmuttern för röret på kopplingen och dra åt muttern för hand (Figur 146).
Rikta in det genomskinliga röret till den vänstra sprutsektionen mot kompressionskopplingen för luftkretsen på vänster sprutsektion (Figur 146).
Montera kompressionsmuttern för röret på kopplingen och dra åt muttern för hand (Figur 146).
Fäst skummarkörsröret vid sprutmunstycksslangarna med två kabelband (Figur 142).
Delar som behövs till detta steg:
| Kåpförlängning (12 munstycken – Toro-artikelnr 120-0621) | 1 |
| Popnit (Toro-artikelnr 114439) | 22 |
| Stödfäste (centersektionskåpa – Toro-artikelnr 131-3703-03) | 4 |
| Klämmutter (Toro-artikelnr 94-2413) | 4 |
| Flänsskruvar (3/8 x 1 1/4 tum – Toro-artikelnr 110-5050) | 16 |
| Flänslåsmuttrar (3/8 tum – Toro-artikelnr 104-8301) | 16 |
| Kåprem (Toro-artikelnr 120-0629) | 2 |
| Flänsskruvar (5/16 x 1 1/4 tum – Toro-artikelnr 323-36) | 4 |
Använd en borr med en borrkrona på 5 mm och borra bort de elva popnitarna (Figur 148) som fäster förstärkningsplattan (med en enda rad av popnitar) och gummikåpan på änden av kåpan till sektionen med elva munstycken för centersprutsektionen som du tog bort i steg 2 i Ta bort centersektionskåpan (elva munstycken) på den täckta sprutrampssatsen (tillval).


Ta bort förstärkningsplattan, de elva brickorna (3/16 tum) och gummikåpan från kåpan till sprutrampen med elva munstycken (Figur 148).
Note: Spara förstärkningsplattan, brickorna och gummikåpan för montering i steg 5 och 6.
Rikta in hålen i förstärkningsplattan (dubbelradig) på kåpförlängningen mot hålen i änden av kåpan till sprutrampen med elva munstycken (Figur 149).

Fäst kåpförlängningen på kåpan till sektionen med elva munstycken (Figur 150) med elva popnitar (Toro-artikelnr 114439).

Rikta in hålen i gummikåpan och förstärkningsplattan (enkelradig) som du tog bort i steg 2 mot hålen i änden av kåpförlängningen (Figur 151).

Fäst förstärkningsplattan och gummikåpan på kåpförlängningen med de elva popnitar (Toro-artikelnr 114439) och elva brickor (3/16 tum) som du tog bort i steg 5.
Note: Rikta in brickorna (3/16 tum) mot insidan av kåpförlängningen.
Montera de fyra klämmuttrarna (Toro-artikelnr 94-2413) på de två stödfästena till centersektionskåpan (Toro-artikelnr 131-3703-03) enligt Figur 152.

Vid förlängningen för centersprutsektionen lokaliserar du de två hålparen på den lodräta sidan av fackverksramen med 25 mm hålavstånd (Figur 153).


Rikta in hålen i ett stödfäste (Toro-artikelnr 131-3703-03) med hålen i förlängningen för centersprutsektionen som du identifierade i steg 2 med den breda flänsen på fästet till vänster. Se Figur 153.
Montera stödfästet på fackverksramen (Figur 153) med fyra flänsskruvar (⅜ x 1 ¼ tum – Toro-artikelnr 110-5050) och fyra flänslåsmuttrar (⅜ tum – Toro-artikelnr 104-8301).
Upprepa steg 2–4 vid de andra två hålparen i förlängningen för centersprutsektionen med det andra stödfästet och de andra flänsskruvarna och flänslåsmuttrarna.
Dra åt skruvarna och muttrarna till 37–45 N·m.
Rikta in hålen i centersektionskåpan mot hålen i stödfästena för centersektionskåpan (Figur 154).

Rikta in hålen i två av kåpremmarna som du tog bort i steg 1 i Ta bort centersektionskåpan (elva munstycken) på den täckta sprutrampssatsen (tillval) mot slangen i kåpan och två av stödfästena (Figur 154).
Montera kåpremmarna och kåpan på stödfästena med de fyra flänsskruvar (5/16 x 1 1/4 tum) som du tog bort i steg 1 i Ta bort centersektionskåpan (elva munstycken) på den täckta sprutrampssatsen (tillval).
Rikta in hålen i de två kåpremmarna (Toro-artikelnr 120-0629) med de fyra återstående hålen i kåpan och de fyra återstående hålen i stödfästena (Figur 154).
Montera kåpremmarna och kåpan på stödfästena (Figur 154) med de fyra flänsskruvarna (5/16 x 1 1/4 tum – Toro-artikelnr 323-36).
Dra åt skruvarna till 1 978–2 542 N·cm.
Delar som behövs till detta steg:
| Kopplingsplatta | 1 |
| Distansbricka (⅜ x 1 tum) | 1 |
| Mottagarfäste | 1 |
| Skruv (⅜ x 3 ¼ tum) | 1 |
| Låsbricka (⅜ tum) | 1 |
| Bricka (⅜ x 13/16 tum) | 1 |
| Flänslåsmutter (3/8 tum) | 1 |
| Flänsskruv (5/16 x 3/4 tum) | 1 |
| Flänslåsmutter (5/16 tum) | 1 |
| Flänsskruv (⅜ x 1 ½ tum) | 2 |
| Distansbricka (⅜ x 7/16 tum) | 2 |
| Navigeringsmottagare – X25 GeoLink-precisionssprutsystem, bas, WAAS (modell 41630) | 1 |
| Sexkantsskruv (5 x 16 mm) | 3 |
| Bricka (5 mm) | 3 |
| Motorväggsadapter (CDMA-RTK-korrigeringsmodemsats (tillval) eller GSM-RTK-korrigeringsmodemsats (tillval)) | 1 |
| Mobilantenn (CDMA-RTK-korrigeringsmodemsats (tillval) eller GSM-RTK-korrigeringsmodemsats (tillval)) | 1 |
| Koaxialkabel (CDMA-RTK-korrigeringsmodemsats (tillval) eller GSM-RTK-korrigeringsmodemsats (tillval)) | 1 |
Rikta in hålen i navigeringsmottagarplåten, distansbrickan (3/8 × 1 tum) och mottagarfästet (Figur 155).

Montera mottagarplattan och distansbrickan på fästet med en skruv (3/8 × 3 1/4 tum), låsbrickan (3/8 tum), brickan (3/8 × 13/16 tum) och flänslåsmuttern (3/8 tum) enligt Figur 155.
Montera flänsskruven (5/16 × 3/4 tum) och flänslåsmuttern (5/16 tum) genom det mindre hålet i mottagarfästet och skåran i mottagarplåten (Figur 155).
Dra åt skruvarna och muttrarna så att du kan rotera mottagarplattan med lite motstånd.
Montera mottagarfästet och distansbrickan (3/8 × 7/16 tum) på störtbågen med flänsskruven (3/8 × 1 1/2 tum) enligt Figur 156.

Dra åt skruvarna så att du kan rotera mottagarplattan med lite motstånd.
Rikta in mottagarplattan vänster till höger (Figur 157).

Dra åt flänsskruven (5/16 × 3/4 tum) och flänslåsmuttern (5/16 tum) till 1 978–2 542 Ncm.
Rikta in mottagarplattan framifrån – bakåt (Figur 157).
Dra åt skruven (3/8 x 3 1/4 tum) och flänslåsmuttern till 37–45 N·m.
Note: Montera en RTK-antenn när maskinen är utrustad med korrigeringsmodemet CDMA RTK eller GSM RTK.
Rikta in koaxialkopplingen genom öppningen i RTK-antennflänsen med motorväggsgängorna på kopplingen nedåt (Figur 159).
Note: Vrid koaxialkopplingen vid behov för att rikta in den platta delen av motorväggsgängorna mot den platta delen i öppningen i RTK-antennflänsen.

Montera koaxialkopplingen på mottagarplattans fläns med låsbrickan och kontramuttern, och dra åt kontramuttern för hand (Figur 159).
Montera RTK-antennen på den övre nippeln på koaxialkopplingen, och dra åt antennens kordongmutter för hand (Figur 160).

Montera antennkabeln löst på den nedre nippeln på koaxialkopplingen (Figur 160).
Dra kabeln på navigeringsmottagarens baksida till koaxialkontakten på CDMA- eller GSM-mobilmodemet (Figur 160).
Montera antennkabeln på koaxialkontakten till CDMA- eller GSM-mobilmodemet (Figur 160).
Dra åt antennkabelns kordongmuttrar för hand.
Delar som behövs till detta steg:
| Skärmfäste | 1 |
| Flänsskruv (6 x 12 mm) | 3 |
| U-bult (5/16 tum) | 2 |
| Flänslåsmutter (5/16 tum) | 8 |
| Kulfäste | 1 |
| Flänsskruv (5/16 x 3/4 tum) | 4 |
| Skärm – X25 GeoLink-precisionssprutsystem, bas, WAAS (modell 41630) | 1 |
| Skärmarm – X25 GeoLink-precisionssprutsystem, bas, WAAS (modell 41630) | 1 |
Rikta in skärmfästet mot maskinen enligt Figur 162.

Montera skärmfästet vid höljet på styrventilen (Figur 163) med tre flänsskruvar (6 × 12 mm).

Montera skärmfästets platta på underredets stödrör (Figur 164) med två U-bultar och fyra flänslåsmuttrar (5/16 tum).

Dra åt de tre flänsskruvarna (6 × 12 mm) vid styrventilen till mellan 972 och 1 198 Ncm. Dra åt flänslåsmuttrarna vid stödröret till mellan 1 978 och 2 542 Ncm.
Rikta in tejpmarkeringen på ratten mot tejpmarkeringen på styrventilens hus (Figur 165).

Montera ratten på styrventilens axel (Figur 165) med brickan (5/8 tum) och muttern (5/8 tum) som du tog bort i steg 3 i Ta bort ratten.
Dra åt muttern till 206–254 N·m.
Montera kåpan som du tog bort i steg 2 i Ta bort ratten på ratten (Figur 171).
Montera kulfästet i skärmfästets fäste (Figur 166) med de fyra flänsskruvarna (5/16 × 3/4 tum) och de fyra flänslåsmuttrarna (5/16 tum).

Dra åt skruvarna och muttrarna till 1 978–2 542 Ncm.
Montera skärmens kulförskruvning och kulfästet på maskinen på skärmarmen (Figur 167).

Justera skärmen så att den kan ses från maskinoperatörens plats och dra åt vredet på skärmarmen för hand (Figur 167).
Koppla loss kontakten med två uttag på maskinkablaget märkt SPRAY PUMP COIL (sprutpumpsspole) från generatorns kontakt med två stift (Figur 168).

Anslut kontakten med två stift på satskablagedelen – på 84 cm märkt PUMP CLUTCH (pumpkoppling) i maskinkablagets kontakt med två uttag märkt SPRAY PUMP COIL (sprutpumpsspole) (Figur 169).

Anslut kontakten med två uttag på satskablagedelen märkt PUMP CLUTCH (pumpkoppling) i generatorns kontakt med två stift (Figur 169).
Dra kablagedelen på 84 cm mot motorn och sprutpumpen så att kablaget går fritt från generatorremmen (Figur 170).

Delar som behövs till detta steg:
| Batterifäste | 1 |
| Skruv (5/16 x 1 ¾ tum) | 1 |
| Bricka (5/16 tum) | 1 |
| Batteri (540 A) | 1 |
| Batterihållare | 1 |
| Flänslåsmutter (5/16 tum) | 1 |
| Generatorfäste | 1 |
| Drivskiva (279 mm) | 1 |
| Skruv (¼ x 2 ¼ tum) | 4 |
| Låsbricka (¼ tum) | 4 |
| Generator (60 A) | 1 |
| Flänsskruv (8 x 25 mm) | 1 |
| Flänsskruv (⅜ x 1 ½ tum) | 1 |
| Kilrem | 1 |
Ta bort de två flänslåsmuttrarna och låsstången från de två J-skruvarna som fäster batteriet vid maskinens batterifäste (Figur 171).

Ta bort batteriet från maskinen (Figur 171).
Note: Flänsmuttrarna, låsstången och batteriet (300 A) behövs inte längre.
Ta bort skruvarna (10–24 × 3/4 tum) och muttrarna (10–24) som fäster säkringsblocken vid batterifästet (Figur 172).
Note: Spara skruvarna (10–24 × 3/4 tum) och muttrarna (10–24) för montering i Montera batterifästet och batteriet (540 A).

Ta bort de två flänsskruvarna (⅜ × ¾ tum) som fäster batteriets fäste på maskinens stötdämparrör (Figur 172).
Note: Spara de två flänsskruvarna (3/8 × 3/4 tum) för montering i Montera batterifästet och batteriet (540 A).
Ta bort de två J-skruvarna och batterilådan från batterifästet (Figur 173).

Ta bort batterifästet från maskinen (Figur 174).
Note: J-skruvarna, batteribrickan och batterifästet behövs inte längre.

Rikta in det nya batterifästet på maskinens stötdämparrör och säkringsblocken (Figur 175).

Montera ihop batterifästet på stötdämparröret (Figur 176) med de två flänsskruvar (3/8 × 3/4 tum) som du sparade i steg 4 i Ta bort batteriet (300 A) och batterifästet.

Dra åt flänsskruvarna till 37–45 N·m.
Fäst säkringsblocken vid batterifästet (Figur 176) med skruvarna (10–24 × 3/4 tum) och muttrarna (10–24) som du tog bort i steg 3 av Ta bort batteriet (300 A) och batterifästet.
Montera batteriet vid batterifästet med skruven (5/16 × 1 3/4 tum), brickan (5/16 tum), batterihållaren och flänslåsmuttern (5/16 tum) enligt Figur 177.

Dra åt skruven och muttern till 1 978–2 542 Ncm.
Lossa de två skruvarna enligt Figur 178 vid pumphuvudet vid läge klockan 11 för att skapa ett mellanrum på 7–10 mm (1/4–3/8 tum) mellan skruvhuvudena och pumpen.
Note: Du behöver inte ta bort skruvarna från sprutpumpen.

Rikta in generatorfästet mellan skruvarna som du lossade, se steg 1, och pumphuvudet Figur 179.

Dra åt skruvarna till 61–75 N
Lossa muttern för mellanremskivans axel (Figur 180).
Note: Se till att remmen inte är spänd.

Vrid remspänningsskruven för att släppa all spänning från sprutpumpens rem (Figur 180).
Ta bort de fyra skruvarna (¼ × 1 tum) och fyra låsbrickorna (¼ tum) som fäster remskivan på sprutpumpen (Figur 181).
Important: Ta inte bort remskivan.
Note: Skruvarna och låsbrickorna behövs inte längre.

Rikta in hålen i remskivan på generatorn (sats) med hålen i sprutpumpens remskiva (Figur 182).

Montera generatorremskivan på sprutpumpens remskiva och sprutpumpen med de fyra skruvarna (¼ × 2 ¼ tum) och fyra låsbrickorna (¼ tum).
Dra åt skruvarna till 1 017–1 243 N·m.
Vrid remspänningsskruven för att öka remspänningen tills remmen böjs ned 9,5 mm när en kraft på 4,5 kg läggs på remmen mitt mellan motorn och sprutpumpens kedjehjul.

Dra åt muttern på mellanremskivans axel till 37–44 N·m.
Montera generatorn (60 A) mot de gängade naven på generatorfästet (Figur 184) med flänsskruven (3/8 × 1 1/2 tum).

Montera generatorns gängade fläns på generatorfästets (Figur 184) spårförsedda fläns med flänsskruven (8 × 25 mm).
Montera kilremmen över drivskivan (279 mm) och generatorns (Figur 185) remskiva.

Vrid generatorn (Figur 186) uppåt för att öka remspänningen tills remmen böjs ned 9,5 mm när en kraft på 4,5 kg läggs på remmen mitt mellan generatorremskivan och drivskivan (279 mm).

Dra åt flänsskruven (8 × 25 tum) till 23–29 N·m.
Dra åt flänsskruven (3/8 × 1 /2 tum) till 37–45 N·m.
Delar som behövs till detta steg:
| Relä | 1 |
| Tryckfästelement | 1 |
| Säkring (15 A) | 1 |
| Säkring (50 A) | 1 |
Anslut kontakten med två uttag i änden av den rosa kabeln 57 cm på satskablaget (Figur 187) på generatorns kontakt med två stift (50 A).

Dra den rosa sensorkabeln bort från växelriktarens remmar och säkra kabeln med ett kabelband.
Ta bort muttern från anslutningspolen (Figur 188) på generatorn (50 A).

Montera den röda generatorkabeln med tjocklek 6 på generatorns anslutningspol (50 A) med muttern (Figur 188).
Dra den röda generatorn mot batteripolerna och bort från remskivan och generatorremmen.
Dra åt muttern till 47–57 N·m.
Skär ett snitt i isoleringskåpan över generatorns anslutningspol (Figur 188).
Ställ in ett universalinstrument för ett kontinuitetsprov.
Vid maskinens säkringsblock 3 sätter du i universalinstrumentets sond i kontakt 4 (den högra spalten) på säkringsuttag 2 enligt Figur 190.

Använd universalinstrumentets andra sond på säkringsblockens framsida för att identifiera bladkontakten i änden av den röda kabeln i storlek 10 som är ansluten till säkringsuttag 2 – kontakt 4.

Använd en bit tejp för att markera kontakten och ledningen som du identifierade i steg 3 (Figur 191).
Anslut bladkontakten som du markerade i steg 4 i kontakten i slutet av den rosa kabeln (51 mm) på satsens kablage (Figur 192).

Sätt i säkringen (15 A) i säkringsuttag 2 på säkringsblock 3 tills säkringen sitter i ordentligt (Figur 193).

Sätt i säkringen (50 A) i det inbyggda säkringsblocket tills säkringen sitter i ordentligt (Figur 194).

Delar som behövs till detta steg:
| Datakablage (navigeringssystem) – GeoLink-precisionssprutsystemsats (modell 41630) | 1 |
| Batterikablage (navigeringssystem) – GeoLink-precisionssprutsystemsats (modell 41630) | 1 |
| Kabelband | 8 |
| Snabbkopplingsklämma (rött handtag) | 1 |
| Snabbkopplingsklämma (svart handtag) | 1 |

Important: Vissa kontakter på datakablaget används inte. Kontrollera att locken och pluggarna på de oanvända kontakterna sitter ordentligt.
Anslut kontakten med tre uttag (elkraftskontaktyta) på navigeringselkablaget till kontakten med tre stift (elkraftskontaktyta) på datakablaget (Figur 195).


Dra den 390 cm långa delen av datakablagedelen längs baksidan av den vänstra vertikala störtbågens rör.

Dra 390 cm-delen av datakablaget längs det högra vältskyddsröret med kontakten med tolv uttag (grå) och kontakten med tolv uttag (svart) och uppåt mot navigeringsmottagaren (Figur 199).

Rikta in de två kilarna på långsidan av den grå och svarta kontakten med tolv uttag på datakablaget med de två kilhålen i den nedre, horisontella sidan på navigeringsmottagarens vänstra (grå) kontakt med tolv stift (Figur 200).
Note: Var försiktig när du ansluter kablaget till navigeringsmottagaren. Kablagekontakternas justeringskilar är unika för stiftkontakternas kilspår på navigeringsmottagaren.

Anslut den grå och svarta kontakten med tolv uttag på datakablaget till den vänstra (grå) kontakten med tolv stift på navigeringsmottagaren så att kontaktlåsen snäpper samman ordentligt (Figur 200).
Rikta in de två kilarna på kortsidan av den svarta kontakten med tolv uttag på datakablaget med de två kilhålen i den vänstra, vertikala sidan på navigeringsmottagarens högra (svarta) kontakt med tolv stift (Figur 200).
Note: Var försiktig när du ansluter kablaget till navigeringsmottagaren. Kablagekontakternas justeringskilar är unika för stiftkontakternas kilspår på navigeringsmottagaren.
Anslut den helsvarta kontakten med tolv uttag på datakablaget till den vänstra (svarta) kontakten med tolv stift på navigeringsmottagaren så att kontaktlåsen snäpper samman ordentligt (Figur 200).
Fäst 390 cm-delen av datakablaget på höger vältskyddsrör med två kabelband enligt Figur 199.
Note: Se till att kabeln har spel mellan kontakterna med tolv uttag och kabelbandet.


Dra data- och batterikablagedelen nedåt längs baksidan av den vänstra vertikala störtbågens rör till sätesstödets tvärslå (Figur 203).

Fäst den 390 cm långa navigeringsmottagarens datakablagedel på störtbågen enligt Figur 203.
Anslut batterikablagedelens kontakt med ett stift som är märkt ***IMPORTANT*** ONLY CONNECT THIS WIRE TO SWITCHED 12V POWER SOURCE (***viktigt*** anslut endast den här ledningen till en brytarstyrd 12-voltsströmkälla) till kontakten med ett uttag på 66 cm satskablaget på (Figur 204) märkt (SW’D PWR FOR GEN 2 TOPCON) (brytarstyrd ström för gen 2 topcon).

Anslut kontakten med fyra stift på den 66 cm långa satskablagedelen märkt ASC 10 PWR & CAN FROM X30 till kontakten med fyra uttag på datakablagedelen märkt CAN 2/ASC10 BUS (Figur 204).
Dra data- och batterikablagedelen över sätesstödets tvärslå och fäst den 390 cm långa datakablagedelen på tvärslån med 2 kabelband (Figur 203 och Figur 205).

Dra den 220 cm långa batterikablagedelen längs batteriets högra övre ramrör (Figur 205).
Dra den 220 cm långa batterikablagedelen över stötdämparröret och framåt mot batteriet (Figur 205).
Note: Kontrollera att den 100 cm långa elektriska sammankopplingsdelen (brytarstyrd kraftförsörjning) förblir dragen mot det högra övre ramröret.
Dra den 220 cm långa datakablagedelen (kablagedelen med kontakten med 26 uttag) under styrkonsolen och framåt mot instrumentbrädan (Figur 205).

Dra den 220 cm långa datakablagedelen (kablagedelen med kontakten med 26 uttag) framåt och under instrumentbrädan (Figur 207).

Dra den 220 cm långa datakablagedelen längs skärmens stödrör (Figur 207)
Rikta in kontakten med 26 uttag på datakablagedelen med kontakten med 26 stift på sprutskärmen och tryck in uttagskontakten i stiftkontakten tills kontaktspärren snäpper ordentligt på plats (Figur 208).

Kontrollera att den 220 cm långa datakablagedelen har tillräckligt med spel så att sprutoperatören kan justera skärmens position, och fäst kablaget vid skärmens stödrör med kabelband enligt Figur 207.
Ta bort sexkantsmuttrarna och brickorna från de röda och svarta handtagens snabbkopplingsklämmor (Figur 209).

Öppna spärrhandtaget på snabbkopplingsklämman med det svarta handtaget (Figur 210).

Montera snabbkopplingsklämman på batteriets minuspol, med klämmans gängade pol inriktad mot mitten av batteriet enligt Figur 209.
Stäng snabbkopplingsklämmans spärrhandtag (Figur 210).
Note: Öppna handtaget, vrid den räfflade muttern för att öka eller minska klämkraften och stäng klämmans handtag om du behöver justera snabbkopplingsklämmans klämkraft.
Upprepa steg 2–4 för snabbkopplingsklämman med rött handtag på batteriets pluspol.
Elgnistor kan få batterigaserna att explodera, vilket kan leda till personskador.
Felaktig dragning av batterikabeln kan skada grässprutan och kablarna och orsaka gnistor.
Lossa alltid batteriets minuskabel (svart) innan du lossar pluskabeln (röd).
Anslut alltid pluskabeln (röd) innan du ansluter minuskabeln (svart).
Batterianslutningar eller verktyg av metall kan kortslutas mot metalldelar på grässprutan och orsaka gnistor.
När batteriet installeras eller tas bort får batterianslutningarna inte komma i kontakt med några av grässprutans metalldelar.
Låt inte metallverktyg kortsluta mellan batterianslutningarna och grässprutans metalldelar.
Håll alltid batteriremmen på plats för att skydda och säkra batteriet.

Skär ett snitt i det isolerade höljet på batteriets pluskabel till startmotorn enligt Figur 212.

Montera följande ledningar och kabelanslutningar på batteriets pluspols gängade pol (Figur 213) i följande ordning:
Note: Kontrollera att batterikabelanslutningen (positiv) till startmotorn sitter längst upp på stapeln med uttag på den gängade polen.
Ringkoppling – 22 cm lång maskinkablagedel märkt BATTERY (+) (batteri (+))
Ringkoppling – 220 cm lång batterikablagedel märkt ***IMPORTANT*** CONNECT THIS WIRE TO POSITIVE ON BATTERY (***viktigt *** anslut den här ledningen till batteriets pluspol)
Ringkoppling – 60 cm lång satskablagedel märkt TO BATTERY POSITIVE (till batteriets pluspol)
Batterikabelpol (pluspol) – till generatorn (50 A)
Batterikabelpol (pluspol) – till startmotorn

Montera sexkantsmuttern (1/4 tum) och brickan (1/4 tum) på den gängade polen och dra åt muttern till 1 017–1 234 Ncm.
Rikta in isoleringskåpan på batteriets pluskabel till startmotorn över den gängade polen (Figur 213).
Montera följande ledningar och kabelanslutningar på batteriets minuspols gängade pol (Figur 214) i följande ordning:
Note: Kontrollera att batterikabelanslutningen (negativ) till startmotorn och underredets jordning sitter längst upp på stapeln med uttag på den gängade polen.
Ringkoppling – 220 cm batterikablagedel märkt (***IMPORTANT*** CONNECT THIS WIRE TO – VE TERMINAL OF BATTERY WHICH IS CONNECTED TO TRACTOR FRAME) (***viktigt*** anslut den här ledningen till den negativa polen på batteriet som är anslutet till traktorramen)
Ringkoppling – 60 cm satskablagedel – batteriets minuspol
Batterikabelanslutning (negativ) – till motorn och underredets jordning

Samla in den överflödiga delen av datakablaget i det högra, övre ramröret (Figur 215).

Rikta in datakablaget till stötdämparröret och fäst kablaget på röret med ett kabelband (Figur 215).
Rikta in datakablaget till höger övre ramröret och fäst kablaget på ramröret med ett kabelband (Figur 215).
Kontrollera att det finns mellanrum mellan remskivorna och remmarna och datakablaget, batterikablaget, satskablaget och batterikablarna.
Fäst kablaget och kablarna med kabelband efter behov för att skapa avstånd från remmarna och remskivorna.
Delar som behövs till detta steg:
| Tryckfästelement | 13 |
Rikta in huvens hål i huven mot hålen i instrumentbrädan och maskinramen (Figur 216).

Fäst huven på instrumentbrädan och ramen med nio tryckfästelementet (Figur 216).
Anslut de två elkontakterna (tvådubbla) på maskinens kablage från kontakten med två stift på vänster och höger strålkastare (Figur 217).

Rikta in den inre stänkskärmens hölje med de vänstra, övre- och vänstra och nedre ramrören (Figur 217).

Fäst den inre stänkskärmens hölje på ramrören med de sex tryckfästelementen (Figur 218).
Rikta in hålen på stänkskärmen med hålen på maskinramen enligt Figur 218.

Montera stänkskärmen löst på ramen (Figur 219) med de tre skruvarna (5/16 × 1 tum) och två brickor (5/16 tum) som du tog bort i steg 2 i Ta bort vänster och höger främre stänkskärmar
Fäst stänkskärmen löst mot ramkanalen med de två tryckfästelementen (Figur 220).

Dra åt skruven (5/16 × 1 tum) till 1 978–2 542 Ncm.
Upprepa steg 1–6 för stänkskärmen och den inre stänkskärmens hölje på maskinens andra sida.
Rikta in sätet och sätesplattan mot maskinens underrede (Figur 222).

Rikta in hålen i svängfästena på sätets sittdel med hålen i chassifästet (Figur 223).


Montera sätets sittdel på chassifästet med de två svängtapparna (Figur 223).
Fäst svängtapparna på maskinen med de två hårnålssprintarna (Figur 223).
Montera stöttan i sätesfästet med brickan och hårnålssprinten (Figur 224).

Anslut maskinkablagets kontakt med två uttag till kontakten för sätesomkopplaren tills de fästs ordentligt (Figur 225).

Vrid sätet något framåt, ta bort stöttan från spärren och vrid sätet nedåt tills det låses.
Sätt i nyckeln i tändningslåset och vrid den till PåSLAGET läge.
Startskärmen visas på InfoCenter-skärmen och lampan tänds kortvarigt (Figur 226).
Note: Starta inte motorn.

Från startskärmen trycker du på mittknappen på InfoCenter för att öppna navigeringsskärmen (Figur 227).

Tryck två gånger på mittknappen på InfoCenter för att komma åt huvudmenyn (Figur 227).
Från skärmen HUVUDMENY trycker du på mittknappen för att gå till alternativetINSTäLLNINGAR och därefter trycker du på högerknappen för att välja alternativet (Figur 228).

Från skärmen INSTäLLNINGAR trycker du på mittknappen för att gå till alternativetLåSTA INSTäLLNINGAR och därefter trycker du på högerknappen för att välja alternativet.

Mata in din PIN-kod på följande sätt:
Tryck vid behov på mittknappen för att mata in PIN-koden för det vänstra läget (Figur 230).

Tryck på högerknappen för att gå till nästa PIN-kodssiffra (Figur 230).
Upprepa steg 1 och 2 för de tre andra PIN-kodssiffrorna.
När alla siffror i PIN-koden har angivits trycker du på högerknappen (Figur 230) och trycker sedan på mittknappen för att ange PIN-koden (Figur 231).
Indikatorlampan tänds en kort stund.

Tryck på mittknappen för att gå till alternativet GEOLINK och tryck sedan på högerknappen för att ange alternativet (Figur 232).

GeoLinks bekräftelseskärm visas i InfoCenter (Figur 233).

Vrid tändningslåset till läget AV och sedan till läget På.
Startskärmen för GEOLINK visas först när tändningsnyckeln vrids till läget På.
