De GeoLink™ is een werktuig voor gazonsproeiers en is bedoeld voor gebruik door professionele bestuurders en voor commerciële toepassingen. Het systeem is met name ontworpen voor sproeien op goed onderhouden gazons in parken, golfbanen en sportvelden.
Ga naar www.Toro.com voor meer informatie over productveiligheid, inclusief veiligheidstips, instructiemateriaal, informatie over accessoires, hulp bij het vinden van een dealer of om uw product te registreren.
Dit product gebruiken voor andere doeleinden dan het bedoelde gebruik kan gevaarlijk zijn voor u of voor omstanders.
Note: Lees deze informatie zorgvuldig door, zodat u weet hoe u dit product op de juiste wijze moet gebruiken en onderhouden en om letsel en schade aan de machine te voorkomen. U bent verantwoordelijk voor het juiste en veilige gebruik van de machine.
Als u service, originele Toro onderdelen of aanvullende informatie nodig hebt, kunt u contact opnemen met een erkende servicedealer of met de klantenservice van Toro. U dient hierbij altijd het modelnummer en het serienummer van het product te vermelden. De locatie van het plaatje met het modelnummer en het serienummer van het product is aangegeven op Figuur 1. U kunt de nummers noteren in de ruimte hieronder.
Important: U kunt met uw mobiel apparaat de QR-code (indien aanwezig) op het plaatje met het serienummer scannen om toegang te krijgen tot de garantie, onderdelen en andere productinformatie.

Er worden in deze handleiding een aantal mogelijke gevaren en een aantal veiligheidsberichten genoemd met de volgende veiligheidssymbolen (Figuur 2), die duiden op een gevaarlijke situatie die zwaar lichamelijk letsel of de dood tot gevolg kan hebben als u de veiligheidsvoorschriften niet in acht neemt.

Er worden in deze handleiding twee woorden gebruikt om uw aandacht op bijzondere informatie te vestigen. Belangrijk attendeert u op bijzondere technische informatie en Opmerking duidt algemene informatie aan die bijzondere aandacht verdient.
Chemische stoffen die worden gebruikt in het spuitsysteem kunnen gevaarlijk en giftig voor de gebruiker, omstanders, dieren, planten, de bodem of eigendommen zijn.
U moet de waarschuwingsetiketten en de veiligheidsinformatiebladen voor alle gebruikte chemische stoffen zorgvuldig lezen en in acht nemen en uzelf beschermen volgens de instructies van de fabrikant van de chemische stoffen. Bijvoorbeeld, draag geschikte persoonlijke beschermende uitrusting zoals gezichts- en oogbescherming, handschoenen of andere voorzieningen ter bescherming tegen lichamelijk contact met chemische stoffen.
Er kunnen meerdere chemische stoffen zijn gebruikt; zorg ervoor dat u informatie over elke stof krijgt.
Weiger de machine te gebruiken of te bedienen als deze informatie niet beschikbaar is.
Voordat u onderhoud uitvoert aan een spuitsysteem moet dit drie keer zijn gespoeld en geneutraliseerd volgens de instructies van de fabrikant(en) van de chemische stoffen en moeten alle kleppen 3 cyclussen hebben doorlopen.
Controleer of er voldoende water en zeep in de nabijheid is, en als u in contact komt met chemische stoffen, moet u deze onmiddellijk afspoelen.
![]() |
Veiligheidsstickers en veiligheidsinstructies zijn gemakkelijk zichtbaar voor de bestuurder en bevinden zich bij plaatsen waar gevaar kan ontstaan. Vervang alle beschadigde of ontbrekende stickers. |




Maak de spuitmachine schoon; raadpleeg het hoofdstuk De spuitmachine reinigen in de Gebruikershandleiding van de machine.
Important: Ledig de spuittank volledig alvorens de egalisatieset voor het GeoLink spuitsysteem te monteren.
Voor machines met een optionele spoeltank doet u het volgende:
Pomp het water van de spoeltank in de spuittank; raadpleeg het hoofdstuk De spoelset gebruiken in de Montage-instructies van de spoeltank.
Laat het water uit de spuittank lopen; raadpleeg het hoofdstuk De spuitmachine reinigen in de Gebruikershandleiding van de machine.
Zet de linker- en rechterspuitboom horizontaal.
Parkeer de machine op een horizontaal oppervlak, stel de parkeerrem in werking, schakel de motor uit en verwijder het sleuteltje; raadpleeg de Gebruikershandleiding.
Important: Parkeer de machine op een horizontale ondergrond voordat u de GeoLink-set monteert.
Draai het SLEUTELTJE naar UIT en verwijder het sleuteltje; raadpleeg de Gebruikershandleiding.
Ontgrendel de stoel door de stoelvergrendelingshendel naar achteren te duwen (Figuur 3).

Kantel de stoel en stoelplaat naar voren tot het uiteinde van de steunstang zich onderaan de sleuf in de beugel bevindt (Figuur 3).
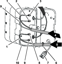
Verwijder de bout en moer waarmee de klem van de minkabel bevestigd is aan de minpool van de accu.
Vonken kunnen accugassen tot ontploffing brengen en lichamelijk letsel veroorzaken.
Als accukabels verkeerd worden geleid, kan dit schade aan de spuitmachine en de kabels tot gevolg hebben en vonken veroorzaken.
Maak altijd de minkabel (zwart) van de accu los voordat u de pluskabel (rood) losmaakt.
Sluit altijd de pluskabel (rood) van de accu aan voordat u de minkabel (zwart) aansluit.
Accupolen of metalen gereedschappen kunnen kortsluiting maken met metalen onderdelen van de machine, waardoor vonken kunnen ontstaan.
Zorg ervoor dat bij het verwijderen of installeren van de accu de accupolen niet in aanraking komen met metalen onderdelen van de machine.
Voorkom dat metalen gereedschappen kortsluiting veroorzaken tussen de accupolen en metalen onderdelen van de machine.
Zorg ervoor dat de accuhouder altijd op zijn plaats zit om de accu te beschermen en vast te zetten.
Schuif de isolatorkap terug en verwijder de bout en moer waarmee de klem van de pluskabel aan de pluspool van de accu is bevestigd. (Figuur 4).
Note: Zorg dat de klemmen van de accukabels de accupolen niet raken.

Laat de motor volledig afkoelen.
Ontkoppel de connector met 2 contacten van de machinekabelboom die aan de aansluiting van de stoelschakelaar gekoppeld is (Figuur 5).

Verwijder de R-pen waarmee de steunstang bevestigd is aan de beugel onderaan de stoelplaat (Figuur 6).

Verwijder de 2 R-pennen waarmee de kantelvoorziening van de stoelplaat is bevestigd aan de chassisbeugels (Figuur 7).


Verwijder de 2 draaipennen waarmee de stoel en stoelplaat aan het chassis zijn bevestigd (Figuur 7).
Til de stoel en stoelplaat op en neem ze van de machine (Figuur 8).

Verwijder de 2 druknagels waarmee het spatbord linksvoor bevestigd is aan het onderste rolbeugelkanaal (Figuur 10).
Note: Gooi de druknagels die u verwijderd hebt weg.

Verwijder de 3 bouten (5/16" x 1") en 3 ringen (5/16") waarmee het spatbord aan het frame van de machine bevestigd is (Figuur 11).

Neem het spatbord van de machine.
Note: Gooi de druknagels die u verwijderd hebt weg.Bewaar het spatbord, de bouten en de ringen voor montage in De spatborden links en rechts vooraan monteren.
Verwijder de 6 druknagels en 5 ringen (9/16" x ½") waarmee het binnenste spatbordscherm bevestigd is aan het frame van de machine (Figuur 12).

Verwijder het binnenste spatbordscherm van de machine (Figuur 13).
Note: Gooi de druknagels die u verwijderd hebt weg.

Herhaal stap 1 tot en met 5 voor het spatbord en het binnenste spatbordscherm aan de andere kant van de machine.
Koppel de 2 elektrische connectoren (met 2 contacten) op de machinekabelboom af van de stekkers met 2 pinnen van de linker- en rechterkoplamp (Figuur 14).

Verwijder de 9 druknagels waarmee de motorkap aan het dashboard en het frame van de machine is bevestigd (Figuur 15).
Note: Bewaar de druknagels voor montage in De motorkap plaatsen.

Verwijder de motorkap van de machine (Figuur 15).
Note: Gooi de druknagels die u verwijderd hebt weg.
Benodigde onderdelen voor deze stap:
| Leidingen – Toro onderdeelnummer 114-9553 | 2 |
| Kabelbinder | 8 |
Bevestig aan het verbindingspaneel van de compressor voor de schuimmarkeerderset een kabelbinder rond de doorzichtige en blauwe buis voor de rechterspuitboom (Figuur 16).


Druk de borgkraag in (Figuur 17).

Trek de buis uit de fitting (Figuur 17).
Herhaal stap 2 en 3 voor de andere 3 buizen voor de spuitbomen.
Bevestig aan het verbindingspaneel van de compressor voor de schuimmarkeerderset een kabelbinder rond de doorzichtige en blauwe buis voor de rechterspuitboom (Figuur 18).


Zet de klemmoeren los van de 2 doorzichtige en 2 blauwe buizen voor de schuimspuitdoppen aan de linker- en rechterspuitboom (Figuur 18).
Verwijder de 4 buizen uit de klemkoppelingen van de spuitbomen (Figuur 18).
Gebruik een stukje plakband om aan de buitenste spuitboom de linker vloeistof- en luchtbuis van de linkerspuitboom en de rechter vloeistof- en luchtbuis van de rechterspuitboom te markeren.
Verplaats de buizen van de schuimspuitdoppen van de linker- en rechterspuitboom naar achteren en door de R-klem nabij het scharnierpunt voor de spuitboom (Figuur 19).

Als uw machine uitgerust is met het verlengstuk voor de middelste spuitboom, bevestigt u het vrije uiteinde van de vloeistof- en luchtbuizen losjes aan de buitenste spuitboom. Sla de procedures voor De nieuwe buizen voorbereiden voor de spuitdoppen van de schuimmarkeerder en De nieuwe buis monteren over.
Verwijder de kabelbinders waarmee de vloeistof- en luchtbuizen van de schuimmarkeerderset vastzitten aan de buitenste spuitboom (Figuur 20).

Zet bij de spuitdop van de schuimmarkeerder de klemmoer los waarmee de blauwe buis (water) bevestigd is aan de blauwe klemkoppeling van de spuitdop van de schuimmarkeerder (Figuur 21).

Zet de klemmoer los waarmee de doorzichtige buis (lucht) bevestigd is aan de witte klemkoppeling van de spuitdop van de schuimmarkeerder (Figuur 21).
Verwijder de vloeistof- en luchtbuizen van de machine.
Verwijder de klemmoeren aan het uiteinde van de buizen (Figuur 21).
Note: Bewaar de klemmoeren voor montage in stap 1 van De nieuwe buis monteren.
Lijn de oude vloeistof- en luchtbuizen (Figuur 22) uit met de nieuwe buis (Toro onderdeelnummer 114-9553).

Gebruik een stukje plakband om de lengte van de oude vloeistof- en luchtbuizen op de nieuwe buis te markeren.
Voeg aan de nieuwe buis 26 cm toe vanaf de markering die u hebt aangebracht in stap 7, markeer de buis, en snij de buizen door op de tweede (langere) markering (Figuur 22).
Als de oude vloeistof- en luchtbuizen gemarkeerd zijn met een kabelbinder, markeer dan ook de nieuwe buis met een kabelbinder. Zo niet, gaat u verder met stap 10.
Note: U hebt de oude vloeistof- en luchtbuizen niet meer nodig.
Verwijder 77 tot 102 mm van de huls aan de uiteinden van de buis (Figuur 22).
Herhaal stap 1 tot en met 10 voor de vloeistof- en luchtbuizen aan de andere kant van de machine.
Schuif de blauwe klemmoer over de uiteinden van de blauwe buis en de witte klemmoer over de doorzichtige buis (Figuur 23).

Lijn het uiteinde van de doorzichtige buis met de witte klemmoer uit met de witte koppeling van de spuitdop van de schuimmarkeerder. Zet de klemmoer handmatig vast (Figuur 23).
Lijn het uiteinde van de blauwe buis met de blauwe klemmoer uit met de blauwe koppeling van de spuitdop van de schuimmarkeerder. Zet de klemmoer handmatig vast (Figuur 23).
Leid de buis langs de achterzijde van de bovenste steunstang van de buitenste spuitboom, zoals getoond in Figuur 24.
Important: Als de buis aan de verkeerde zijde van de bovenste steunstang wordt gemonteerd, zullen de buizen gekneld worden tussen de houder en de buitenste spuitboom wanneer de spuitbomen in de transportstand staan.

Bevestig de buis met een kabelbinder aan de opening in de spuitdopsteun; zie Figuur 25.

Bevestig de buis met kabelbinders aan de buitenste spuitboom; zie Figuur 24.
Maak het vrije uiteinde van de buis losjes vast aan de buitenste spuitboom.
Herhaal stap 1 tot en met 6 voor de buis aan de andere kant van de machine.
Koppel de stekker met 3 pinnen van de kabelboom van de nivelleerset voor de ultrasone spuitbomen af van de connector met 3 contacten van de machinekabelboom (Figuur 26).

Herhaal stap 1 voor de stekker met 3 pinnen van de kabelboom voor de ultrasone spuitboom aan de andere kant van de machine.
Ondersteun het deksel van de middelste spuitboom (11 spuitdoppen) en verwijder de 4 flenskopbouten (5/16" x 1¼") en 2 dekselbanden waarmee het deksel bevestigd is aan de steunbeugel van het deksel (Figuur 27).

Verwijder het deksel van de middelste spuitboom van de machine (Figuur 28).
Note: Bewaar het deksel, de dekselbanden en de flenskopbouten voor montage in stap 1 en 2 van De afdekking van de middelste spuitboom monteren.

Note: Als uw machine is voorzien van een optioneel spuitpistool zie dan De druksensorbuis en de toevoerslang loskoppelen.
Druk de kraag in van de buiskoppeling op de 90°-knie van de rechter spuitboomklep (Figuur 30).

Trek de druksensorbuis voor de meter op het dashboard uit de buiskoppeling (Figuur 30).
Note: U mag de knie van 90° voor de afsluitklep van de toevoerslang van de slanghaspel niet verwijderen van de flens van de klep van de rechter spuitboom.
Maak de connector met 3 contacten en aanduiding LEFT SPRAY VALVE, CENTER SPRAY VALVE, en RIGHT SPRAY VALVE (linkerspuitklep, middelste spuitklep en rechterspuitklep) van de machinekabelboom los van de stekkers met 3 pennen van de 3 spuitklepactuators (Figuur 31).

Koppel de connector met 4 contacten van de machinekabelboom met aanduiding RATE VALVE (dosisklep) af van de stekker met 4 pinnen van de dosisklepactuator (Figuur 32).

Koppel de connector met 3 contacten van de machinekabelboom met aanduiding MASTER SPRAY VALVE (hoofdspuitklep) af van de stekker met 3 pinnen van de actuator van de hoofdspuitklep (Figuur 32).
Benodigde onderdelen voor deze stap:
| Kabelbinder | 1 |
| Schakelaarplug | 1 |
Verwijder de 4 flenskopschroeven (¼" x ½") waarmee het plaatje met 3 schakelaars aan de bedieningseenheid bevestigd is (Figuur 33).

Druk de vergrendelingslipjes van de schakelaar voor de gebruiksdosis naar elkaar toe, en duw de schakelaar uit het plaatje met de 3 schakelaars (Figuur 34).

Koppel de connector met 8 contacten van de machinekabelboom (aangeduid met Rate Switch (dosisschakelaar)) af van de stekker met 8 pinnen van de schakelaar (Figuur 33).
Note: U hebt de schakelaar voor de gebruiksdosis die u van de machine verwijderd hebt niet meer nodig.
Leid de aftakking van de voorste kabelboom voor de schakelaar voor de gebruiksdosis door de opening in het plaatje met 3 schakelaars, en bevestig de kabelaftakking met een kabelbinder aan een naburige kabelboomaftakking.
Monteer het plaatje met 3 schakelaars op de bedieningseenheid (Figuur 34); gebruik hierbij de 4 flenskopschroeven (¼" x ½") die u verwijderd hebt in stap 1.
Lijn de schakelaarplug uit met de opening in het plaatje met 3 schakelaars waar u de schakelaar voor de gebruiksdosis verwijderd hebt (Figuur 33).
Druk de schakelaarplug in het plaatje met 3 schakelaars tot de plug stevig in het plaatje klikt (Figuur 33).
Verwijder aan de buitenste spuitboom de slangklem waarmee de slang van de spuitboom bevestigd is aan de T-slangpilaar (Figuur 35).

Verwijder de slang van de T-fitting (Figuur 35).
Verwijder het vrije uiteinde van de slang van de R-klem (Figuur 35).
Herhaal stap 1 tot en met 3 voor de toevoerslang aan de andere buitenste spuitboom.
Verwijder onder de middelste spuitboom de slangklem waarmee de toevoerslang voor de middelste spuitboom bevestigd is aan de T-slangpilaar (Figuur 36).

Verwijder de borgclips waarmee de snelkoppelingen van de toevoerslangen links, rechts en in het midden bevestigd zijn van de snelkoppelingen in de spuitboomkleppen (Figuur 37).
Note: Bewaar de borgclips voor hermontage in Monteren van de slangen voor spuitdopkleppen 7-10..

Koppel de toevoerslangen van de linker-, rechter- en middelste spuitboom af van de snelkoppelingen van de spuitboomkleppen, en verwijder de slangen van de machine (Figuur 37).
Note: U hebt de toevoerslangen voor de linker-, rechter- en middelste spuitboom niet meer nodig.
Verwijder de slangen van de openingen voor de uitgaande slag van de linker- en rechterhefcilinder (Figuur 39).


Verwijder de slangen van de openingen C2 en C4 van het verdeelstuk voor de hefcilinder (Figuur 39).
Verwijder de slangen van de openingen voor de ingaande slag van de linker- en rechterhefcilinder (Figuur 39).
Verwijder de slangen van de openingen C1 en C3 van het verdeelstuk voor de hefcilinder (Figuur 39).
Note: U hebt de slangen niet meer nodig.
Hefvermogen: 91 kg
Note: Bewaar al het bevestigingsmateriaal dat u verwijdert (behalve indien anders aangegeven). U gebruikt het bevestigingsmateriaal voor het monteren van de verlenging van de middelste spuitboom.
Gebruik een takel met voldoende hefvermogen om de buitenste spuitboom te ondersteunen.
Verwijder de R-pen en de gaffelpen waarmee het stanguiteinde van de hefcilinder bevestigd is aan de draaibeugel (Figuur 40).
Note: Bewaar de gaffelpen en de R-pen om deze te monteren in De hefcilinders monteren.

Verwijder de flensborgmoer (5/16") en de flenskopbout (5/16" x ¾") waarmee de draaipen bevestigd is aan de cilinderbevestiging (Figuur 41).

Verwijder de scharnierpen en de hefcilinder van de machine (Figuur 41).
Volg de procedure die wordt beschreven in De buitenste spuitbomen verwijderen.
Hefvermogen: 91 kg
Note: Als uw machine uitgerust is met de optionele afgedekte spuitboom, laat dan de deksels op hun plaats zitten aan de buitenste spuitbomen.
Als het heffen van zware machines en werktuigen niet op de juiste manier wordt uitgevoerd, kan dit leiden tot ernstig of dodelijk letsel.
Gebruik voor het heffen van zware machines en werktuigen altijd hijswerktuigen en hulpmiddelen zoals kettingen en riemen die geschikt zijn voor het gewicht van de vracht.
Note: Bewaar al het bevestigingsmateriaal dat u verwijdert (behalve indien anders aangegeven). U gebruikt het bevestigingsmateriaal voor het monteren van de verlenging van de middelste spuitboom.
Verwijder de flensbout (5/16" x 1") en flensborgmoer (5/16") waarmee de draaipen bevestigd is aan de draaibeugel (Figuur 42).

Verwijder de draaipen uit de draaibeugel van de middelste spuitboom en de draaifitting voor de buitenste spuitboom (Figuur 42).
Note: Bewaar de flensbout, flensmoer en draaipen voor montage in De buitenste spuitbomen verwijderen.
Maak de buitenste spuitboom los van de middelste spuitboom en verwijder de buitenste spuitboom van de machine (Figuur 42).
Verwijder de 2 nylon flenslagers van de draaifitting van de buitenste spuitboom (Figuur 42).
Note: Gooi de lagers weg.
Herhaal stap 1 tot en met 3 in De hefcilinders verwijderen voor de buitenste spuitboom aan de andere kant van de machine.
Herhaal stap 1 tot en met 4 van dit hoofdstuk voor de buitenste spuitboom aan de andere kant van de machine.
Verwijder het hefverdeelstuk van de spuitboom als volgt van de cilinderbevestiging:
Voor machines zonder optionele nivelleerset voor de ultrasone spuitboom: Verwijder de 2 flensborgmoeren (5/16") en 2 flenskopbouten (5/16" x 1") waarmee de steunbeugel voor het verdeelstuk van de spuitboom is bevestigd aan de cilinderbevestiging, en verwijder het verdeelstuk en de beugel van de cilinderbevestiging (Figuur 43).

Voor machines met optionele nivelleerset voor de ultrasone spuitboom: Verwijder de 2 flensborgmoeren (5/16") en 2 flenskopbouten (5/16" x 1") waarmee de steunbeugel voor het verdeelstuk van de spuitboom en de TEC-controllerbeugel zijn bevestigd aan de cilinderbevestiging, en verwijder het verdeelstuk en de beugel van de cilinderbevestiging (Figuur 44).

Ondersteun het hefverdeelstuk van de spuitboom door het met een touw aan de montagebeugel van de spuitklep te binden.
Note: Bewaar de steunbeugel, het hefverdeelstuk en de bouten en moeren om deze te monteren in stap Het verdeelstuk van de hefcilinder monteren op de cilinderbevestiging.
Hefvermogen: 41 kg
Als uw machine uitgerust is met de optionele afgedekte spuitboom, verwijder dan het deksel van de middelste spuitboom.
Ondersteun de middelste spuitboom met een takel met voldoende hefvermogen (Figuur 45).

Gebruik een stukje plakband om de gaten aan te duiden waar de 4 flenskopbouten (½" x 1¼") en 4 flensborgmoeren (½") de steunbeugels van de middelste spuitboom bevestigen aan de bevestigingsplaat van de machine (Figuur 46).

Verwijder de 4 flenskopbouten (½" x 1¼") en 4 flensborgmoeren (½") waarmee de steunbeugels van de middelste spuitboom bevestigd zijn aan de bevestigingsplaat op het frame van de machine, en verwijder de middelste spuitboom van de machine (Figuur 47).
Note: Bewaar de bouten en borgmoeren voor de montage van de nieuwe middelste spuitboom.

Benodigde onderdelen voor deze stap:
| Flenskopbout (⅜" x 1") | 2 |
| Flensborgmoeren (⅜") | 2 |
| Verlenging van middelste spuitboom | 1 |
| Cilinderbevestiging (breed) | 1 |
| Verbindingsplaat (breed) | 1 |
| Slotbout (½" x 1¼") | 4 |
| Flensborgmoer (½") | 4 |
Verwijder aan de middelste spuitboom de flensborgmoer waarmee de spuitdop van de spuitmachine bevestigd is aan de spuitdopbevestiging (Figuur 48 en Figuur 49).
Note: Bewaar de borgmoer voor montage in stap 6 van De spuitdoppen en slangen op de middelste spuitboom monteren.


Verwijder de schroef uit roestvrij staal (nr. 12 x 1¼") waarmee de bovenste klemhelft en de dubbele of enkele steel met slangribbel (¾") bevestigd zijn aan de behuizing van de spuitdop, en koppel de steel met slangribbel en de slang af van de spuitdop (Figuur 50).
Note: De inbusbout (5/16" x ¾" – roestvrij staal) komt los van de bovenste klemhelft wanneer u de klem opent. Bewaar de bout voor montage.

Verwijder de spuitdop van de middelste spuitboom (Figuur 48 en Figuur 49).
Herhaal stap 1 en 2 voor de andere 2 spuitdoppen.
Note: Bewaar de spuitdoppen, de schroeven van roestvrij staal en de inbusbouten voor montage in stap 6 en 7 van De spuitdoppen en slangen voor de middelste spuitboom monteren.
Verwijder de slangen (binnendiameter van ¾"), de stelen met slangpilaar, de klemmen en de T-slangpilaar van de middelste spuitboom (Figuur 48).
Note: U hebt de slang, slangstelen, klemmen en T-fitting niet meer nodig.
Hefvermogen: 41 kg
Ondersteun de middelste spuitboom met een takel met voldoende hefvermogen.
Verwijder de 2 flenskopbouten (⅜" x 1") en 2 flensborgmoeren (⅜") waarmee de steunbeugel aan de middelste spuitboom is bevestigd, en verwijder de beugel (Figuur 51).

Verwijder de 2 flenskopbouten (⅜" x 1") en 2 flensborgmoeren (⅜") waarmee de andere steunbeugel aan de middelste spuitboom is bevestigd, en verwijder de beugel (Figuur 51).
Note: Bewaar de steunbeugels, bouten en borgmoeren om deze te monteren in stap 3 en 4 van De steunbeugels monteren op de middelste spuitboom.
Verwijder de 2 flenskopbouten (⅜" x 1") en 2 flensborgmoeren (⅜") waarmee de verticale flenzen van de linker en rechter frames bevestigd zijn (Figuur 52).

Verwijder de 2 slotbouten (½" x 1¼") en 2 borgmoeren (½") waarmee de smalle cilinderbevestiging, linker en rechter frames en de smalle verbindingsplaat bevestigd zijn (Figuur 53).

Note: Bewaar de flenskopbouten, slotbouten en borgmoeren om deze te monteren in stap 2 en 7 van Verlenging van middelste spuitboom monteren. U hebt de smalle cilinderbevestiging en de smalle verbindingsplaat niet meer nodig.
Maak het linker en rechter frame los van elkaar.
Lijn de openingen in de verticale flenzen van het verlengstuk van de middelste spuitboom uit met de openingen in het frame (Figuur 54).

Monteer het verlengstuk van de middelste spuitboom losjes tegen het frame (Figuur 54); gebruik hierbij de 2 flenskopbouten (⅜" x 1") en 2 flensborgmoeren (⅜") die u verwijderd hebt in stap 1 van De frames van de middelste spuitboom losmaken.
Lijn de openingen in de verticale flenzen van het verlengstuk van de middelste spuitboom uit met de openingen in het andere frame (Figuur 54).
Monteer het verlengstuk van de middelste spuitboom losjes tegen het andere frame (Figuur 54); gebruik hierbij de 2 flenskopbouten (⅜" x 1") en 2 flensborgmoeren (⅜") uit de egalisatieset van het GeoLink spuitsysteem (Figuur 54).
Lijn de gaten in de cilinderbevestiging uit met de openingen in het midden van het frame en het verlengstuk van de middelste spuitboom (Figuur 55).

Monteer de verbindingsplaat op het frame en het verlengstuk van de middelste spuitboom, en lijn de opening in de verbindingsplaat uit met de openingen in het midden van de frames en het verlengstuk van de spuitboom (Figuur 55).
Monteer de cilinderbevestiging, de frames, het verlengstuk van de middelste spuitboom en de verbindingsplaat met de 2 slotbouten (½" x 1¼") en 2 flensborgmoeren (½") die u verwijderd hebt in stap 2 van De frames van de middelste spuitboom losmaken, en de 4 slotbouten (½" x 1¼") en 4 flensborgmoeren (½") van de egalisatieset van het GeoLink spuitsysteem (Figuur 55).
Draai de flenskopbouten en flensborgmoeren van ⅜" vast met een torsie van 37 tot 45 N·m.
Draai de flensborgmoeren van ½" vast met een torsie van 91 tot 113 N·m.
Benodigde onderdelen voor deze stap:
| Spuitdop | 2 |
| Slang (spuitklep 5 of 6) | 2 |
| Flensborgmoer (5/16") | 2 |
Hefvermogen: 55 kg
Ondersteun de middelste spuitboom met een takel met voldoende hefvermogen.
Lijn de openingen in de rechter steunbeugel uit met de openingen in het rechter frame, zoals getoond in Figuur 56.

Monteer de rechter steunbeugel tegen het rechter frame (Figuur 56); gebruik hierbij de 2 flenskopbouten (⅜" x 1") en 2 flensborgmoeren (⅜") die u verwijderd hebt in stap 2 en 3 van De steunbeugels van de middelste spuitboom verwijderen.
Herhaal stap 2 en 3 voor de linker steunbeugel aan het linker frame (Figuur 56).
Draai de flenskopbouten en flensmoeren vast met een torsie van 37 tot 45 N·m.
Gebruik een takel om de nieuwe middelste spuitboom tot een comfortabele werkhoogte te tillen.
Ga naar de 2 spuitdoppen van de completeringsset van het GeoLink spuitsysteem. Verwijder de schroef in roestvrij staal waarmee de bovenste klemhelft aan de zitting is bevestigd (Figuur 57).

Zoek de opening in de zijkant van de enkele steel met slangribbel aan het uiteinde van de slang van 25 cm van de slangeenheid (spuitklep 5 of 6) voor de middelste spuitboom (Figuur 57 en Figuur 58).

Lijn de verbindingsbuis in de zitting van een spuitdop (Figuur 57) uit met de opening in de zijkant van de enkele steel met slangribbel (½").
Sluit de bovenste klemhelft rond de geribde slangaansluiting en zet de halve klem en sproeikopbehuizing (Figuur 57) vast met de roestvast stalen schroef (nr. 12 x 1¼"); draai de schroef aan met 14 tot 18 N∙m
Important: Draai de roestvast stalen schroef niet harder aan dan aangegeven in stap 5.
Note: Zorg ervoor dat de inbusbout (5/16" x ¾") in de uitsparing in de bovenste klemhelft zit wanneer u de klem sluit.
Gebruik de spuitdop, inbusbout en schroef van roestvrij staal die u verwijderd hebt in stap 1 en 2 van De spuitdoppen van de spuitmachine verwijderen en herhaal stap 3 tot 5 voor de enkele steel met slangribbel (Figuur 57 en Figuur 58) aan het uiteinde van de andere slang van 25 cm.
Gebruik de 2 spuitdoppen die u verwijderd hebt in stap 4 van De spuitdoppen van de spuitmachine verwijderen en herhaal stap 3 tot 5 voor de enkele steel met slangribbel van de andere slangeenheid (spuitklep 5 of 6) voor de middelste spuitboom (Figuur 57 en Figuur 58).
Leid de slang van 13 mm en de spuitdop tussen de framesteunen van het buitenste frame (Figuur 59).

Leid de slang en de spuitdop boven de framesteun en naar buiten, naar de buitenste spuitdopbeugel (Figuur 59).
Breng de inbusbout (5/16" x ¾") van de spuitdop door de opening in de spuitdopbeugel en bevestig de spuitdop losjes aan de beugel; gebruik hierbij een flensborgmoer (5/16") van de completeringsset van het GeoLink spuitsysteem (Figuur 60).

Leid de andere slang van 13 mm en de spuitdop tussen de framesteunen van het buitenste frame (Figuur 59).
Leid de slang en de spuitdop boven de framesteun en naar binnen, naar de binnenste spuitdopbeugel (Figuur 59).
Breng de inbusbout (5/16" x ¾") van de spuitdop door de opening in de spuitdopbeugel (Figuur 60) en bevestig de spuitdop losjes aan de beugel; gebruik hierbij de flensborgmoer (5/16") die u verwijderd hebt in stap 1 en 4 van De spuitdoppen van de spuitmachine verwijderen.
Draai de flensborgmoer aan met 1978 tot 2542 N·cm.
Leid de slang met geribde koppeling van 13 x 810 mm naar de zijkant van de middelste spuitboom met de linker- en rechtersteunbeugel (Figuur 59).
Herhaal stap 1 tot en met 8 voor de andere slang en spuitdop aan het andere buitenste frame (Figuur 59 en Figuur 60).
Benodigde onderdelen voor deze stap:
| Dop (snelkoppeling) | 3 |
| Borgclip | 3 |
Verwijder het bovenste uiteinde van de omloopslang. Ga als volgt te werk:
Voor machines zonder optionele spuitstok of optionele elektrische slanghaspel: Verwijder de kleine borgclip waarmee de snelkoppelfitting van de omloopslang bevestigd is aan de snelkoppelfitting van de omloopklep van de rechterspuitboom (Figuur 61).

Voor machines met de optionele spuitstok of de optionele elektrische slanghaspel: voer volgende stappen uit:
Verwijder de kleine borgclip waarmee de snelkoppelfitting van de afsluitklep is bevestigd aan de vrouwelijke snelkoppeling van de omloopklep van de rechterspuitboom en scheid de klep van de vrouwelijke koppeling (Figuur 62).

Verwijder de kleine borgclip waarmee de snelkoppelfitting van de afsluitklep is bevestigd aan de vrouwelijke snelkoppeling van de geribde fitting van 90° en scheid de klep van de vrouwelijke koppeling (Figuur 62).
Note: Bewaar de afsluitklep en borgclips voor montage in De afsluitklep op de omloopslang monteren.
Verwijder de grote borgclip waarmee de slangpilaar van 90° aan het onderste uiteinde van de omloopslang bevestigd is aan de tussenschotfitting van de spuittank (Figuur 63).
Note: Bewaar de grote borgclip om deze later te monteren in De omloopslangen op de tank monteren.

Verwijder de omloopslang van de machine.
Note: U hebt de omloopslang en de kleine borgclip niet meer nodig.
Verwijder de 3 borgclips waarmee de 3 klepactuators bevestigd zijn aan de kleppen van de linker-, rechter- en middelste spuitboom (Figuur 64).

Verwijder de klepactuators van de spuitboomkleppen van de linker-, rechter- en middelste spuitboom (Figuur 64).
Verwijder de borgclip waarmee de dop bevestigd is aan de snelkoppelfitting van de omloopklep, en verwijder de dop (Figuur 65).
Note: U hebt de dop niet meer nodig.

Verwijder de 3 borgclips waarmee de 3 omloopkleppen bevestigd zijn aan de kleppen van de linker-, rechter- en middelste spuitboom (Figuur 66).

Til de omloopkleppen van de spuitboomkleppen (Figuur 66).
Draai de omloopkleppen 180° en druk ze op de snelkoppelfittings van de spuitboomkleppen ( Figuur 66).
Bevestig de 3 omloopkleppen aan de spuitboomkleppen; gebruik de 3 borgclips die u verwijderd hebt in stap 4 (Figuur 66).
Monteer de plug in de vrouwelijke snelkoppeling van de omloopklep (Figuur 67).

Bevestig de plug aan de vrouwelijke snelkoppeling; gebruik hierbij de borgclip die u verwijderd hebt in stap 3 (Figuur 67).
Monteer de 3 klepactuators op de kleppen van de linker-, rechter- en middelste spuitboom (Figuur 64); gebruik de borgclips die u verwijderd hebt in stap 1.
Note: U zal de spuitboomkleppen toevoegen aan de kleppen van het 10-kleppensysteem van de GeoLink in De 3 spuitboomkleppen op de klepbevestiging monteren.
Verwijder de 2 flenskopbouten (¼" x ¾") en 2 borgmoeren (¼") waarmee de klep van de linker spuitboom bevestigd is aan de bevestigingsbeugel van het verdeelstuk (Figuur 68).
Note: U hebt de 2 flenskopbouten en de borgmoeren niet meer nodig.

Verwijder de 2 flenskopbouten (¼" x ¾") en 2 borgmoeren (¼") waarmee de klep van de rechter spuitboom bevestigd is aan de bevestigingsbeugel van het verdeelstuk (Figuur 68).
Verwijder de flensklem (40 x 64 mm) en de pakking (25 x 35 mm) waarmee de flens van de linkerspuitboomklep bevestigd is aan de adapter (Figuur 68).
Note: Bewaar de 2 flenskopbouten, 2 borgmoeren, flensklem en pakking voor montage in De 3 spuitboomkleppen op de klepbevestiging monteren.

Verwijder de 3 spuitboomkleppen van de machine (Figuur 69).
Verwijder de stickers van de actuators van de 3 spuitboomkleppen (Figuur 70).

Verwijder de flensklem van 51 mm en de pakking van 38 mm waarmee de flens van de adapter bevestigd is aan de flens van de vloeistofstroommeter (Figuur 71).
Note: Bewaar de flensklem en pakking voor montage in Het verdeelstuk op de vloeistofstroommeter monteren.

Benodigde onderdelen voor deze stap:
| Bevestiging van vloeistofstroommeter | 1 |
| Helft van steunklem | 4 |
| Bout (¼" x 4½") | 4 |
| Flensborgmoeren (¼") | 4 |
Koppel de connector met 3 contacten van de machinekabelboom met aanduiding FLOW METER (vloeistofstroommeter) af van de stekker met 3 pinnen van de vloeistofstroommeter (Figuur 72).

Maak de 2 druknagels van de machinekabelboom los van de onderste flens van de beugel van de spuitboomklep (Figuur 72).
Verwijder de 4 flenskopschroeven (5/16" x ¾") waarmee de beugel van de spuitboomklep is bevestigd van de klepbevestiging, en verwijder de klepbeugel van de machine (Figuur 73).
Note: Bewaar de 4 flenskopschroeven voor montage in stap De bevestiging en de klemmen van de vloeistofstroommeter monteren; de beugel van de spuitboomklep hebt u niet meer nodig.

Lijn de openingen in de beugel van de vloeistofstroommeter uit met de openingen in de klepbevestiging (Figuur 74).

Monteer de beugel van de vloeistofstroommeter op de klepbevestiging; gebruik hierbij de 4 flenskopschroeven die u verwijderd hebt in stap 3 van De beugel van de spuitboomklep verwijderen, en draai de schroeven aan met een torsie van 1978 tot 2542 N·cm.
Breng 2 helften van de steunklem aan tussen de vloeistofstroommeter en de beugel van de vloeistofstroommeter, en lijn de openingen in de klemhelften uit met de openingen in de beugel (Figuur 75).

Lijn een helft van de steunklem aan de achterzijde van de vloeistofstroommeter uit met 1 van de klemhelften die u gemonteerd hebt in stap 3 (Figuur 75).
Monteer de beide klemhelften op de beugel van de vloeistofstroommeter (Figuur 75); gebruik 2 bouten (¼" x 4½") en 2 flensborgmoeren (¼").
Herhaal stap 4 en 5 voor de andere klemhelft die u gemonteerd hebt in stap 3.
Haal de bouten en moeren aan met 1017 tot 1243 N·cm.
Benodigde onderdelen voor deze stap:
| Achterste kabelboom | 1 |
| Kabelbinder | 7 |


Zoek de kabelboomaftakkingen van 84 cm, 60 cm en 66 cm van de bijgeleverde kabelboom (Figuur 76 en Figuur 77).
Leid de kabelboomaftakkingen van 84 cm, 60 cm en 66 cm van de bijgeleverde kabelboom langs de machinekabelboom naar de linkerkant van de machine (Figuur 78 en Figuur 79).


Leid de kabelboomaftakkingen van 84 cm, 60 cm en 66 cm van de bijgeleverde kabelboom naar voren langs het linkerframekanaal (Figuur 81 en Figuur 82).



Leid de kabelboomaftakkingen van 84 cm, 60 cm en 66 cm van de bijgeleverde kabelboom langs de machinekabelboom aan de buitenkant van de parkeerrem (Figuur 83).

Leid de kabelboomaftakkingen van 84 cm, 60 cm en 66 cm van de bijgeleverde kabelboom over de schokbrekerbuis; zie Figuur 84).

Bevestig de bijgeleverde kabelboom aan de machinekabelboom; ga te werk zoals wordt afgebeeld in Figuur 82, Figuur 83 en Figuur 84.
Leid achteraan de machine de aftakking van de kabelboom van 89 cm langs de voorzijde van het hefverdeelstuk en naar de rechterkant van de vloeistofstroommeter; zie Figuur 85.

Leid de kabelboomaftakking van 102 cm langs de achterzijde van het hefverdeelstuk en naar rechts; zie Figuur 85.
Sluit de stekker met 3 pinnen van de kabelboomaftakking van 89 cm met aanduiding LEFT SPRAY (linkerspuitboom) aan op de connector met 3 contacten van de machinekabelboom met aanduiding LEFT SPRAY VALVE (linkerspuitboomklep) (Figuur 86).

Sluit de stekker met 3 pinnen van de kabelboomaftakking met aanduiding CENTER SPRAY (middelste spuitboom) aan op de connector met 3 contacten van de machinekabelboom met aanduiding CENTER SPRAY VALVE (middelste spuitklep) (Figuur 86).
Sluit de stekker met 3 pinnen van de kabelboomaftakking met aanduiding RIGHT SPRAY (rechterspuitboom) aan op de connector met 3 contacten van de machinekabelboom met aanduiding RIGHT SPRAY VALVE (rechterspuitklep) (Figuur 86).
Steek de druknagels van de bijgeleverde kabelboom in de opening in de flens van de beugel van de vloeistofstroommeter (Figuur 86).
Sluit de elektrische connector van de kabelboomaftakking van 89 cm met aanduiding FLOW METER (vloeistofstroommeter) aan op de stekker met 3 pinnen van de vloeistofstroommeter (Figuur 87).

Sluit de stekker met 3 pinnen van de aftakking van 89 cm van de bijgeleverde kabelboom met aanduiding MASTER VALVE (hoofdklep) aan op de connector met 3 contacten van de machinekabelboom met aanduiding MASTER SPRAY VALVE (hoofdspuitklep) (Figuur 88).

Sluit de stekker met 3 pinnen van de actuator voor de hoofdspuitklep aan op de connector met 3 contacten van de aftakking van 89 cm van de bijgeleverde kabelboom met aanduiding MASTER VALVE (hoofdklep) (Figuur 88).
Sluit de stekker met 4 pinnen van de actuator voor de debietklep aan op de connector met 4 contacten van de aftakking van 89 cm van de bijgeleverde kabelboom met aanduiding RATE VALVE (debietklep) (Figuur 89).

Benodigde onderdelen voor deze stap:
| Rechte slangpilaar (1" x 2") | 1 |
| Slangklem (¾" tot 1½") | 3 |
| Slang (1" x 5¾") | 1 |
| Verdeelstuk | 1 |
| Slang (1" x 16") | 1 |
Monteer de slang (1" x 5¾") op de rechte slangpilaar (1" x 2"); gebruik hier" x bij een slangklem (¾" tot 1½") en zet de klem handmatig vast (Figuur 90).

Monteer het andere uiteinde van de slang (1" x 5¾") op de rechte slangpilaar van het verdeelstuk; gebruik hierbij een slangklem en ga te werk zoals in Figuur 90. Draai de slangklem handmatig vast.
Monteer de slang (1" x 16") op de andere rechte slangpilaar van het verdeelstuk; gebruik hierbij een slangklem en draai deze handmatig vast (Figuur 90).
Monteer de rechte slangpilaar (1" x 2") op de flens van de vloeistofstroommeter; gebruik hierbij de pakking van 38 mm en de flensklem van 51 mm die u verwijderd hebt in stap 6 van De spuitboomkleppen verwijderen van de bevestigingsbeugel van het verdeelstuk.

Draai de flensklem met de hand vast (Figuur 91).
Benodigde onderdelen voor deze stap:
| Vrouwelijke snelkoppelfitting van 90° (1") | 2 |
| Slang (1" x 26") | 2 |
| Slangklem (¾" x 1⅕") | 5 |
| T-fitting (1" x 1" x 1") | 1 |
| Slangpilaar 90° en slang | 1 |
| Afsluitklep | 1 |
Monteer de 90° vrouwelijke snelkoppelfitting (1") in de slang (1" x 26") en maak de slang met een slangklem vast aan de fitting zoals getoond in Figuur 92.

Monteer het vrije uiteinde van de slang over de T-fitting (zie Figuur 92) en bevestig de slang met een slangklem aan de fitting.
Herhaal stap 1 tot en met 2 voor de andere slangpilaar van 90°, snelkoppelfitting en slang.
Monteer de slangpilaar van 90° en de slang op de T-fitting en bevestig de slang met een slangklem aan de fitting (Figuur 92).
Zoals getoond in Figuur 93, verwijder de borgclip van de snelkoppelfitting van 90° die u hebt gemonteerd in De omloopslangen in elkaar zetten.

Monteer de afsluitklep op de vrouwelijke snelkoppelfitting (Figuur 93).
Bevestig de klep op de fitting; gebruik hierbij de borgclip die u verwijderd hebt in stap 1.
Monteer de afsluitklep en de borgclip die u hebt verwijderd in stap 1 van De omloopslang van de spuitboom verwijderen aan de andere vrouwelijke snelkoppelfitting (Figuur 93).
Lijn de omloopslang uit met de spuittank (Figuur 94).


Monteer de slangpilaar van 90° op de tussenschotfitting van de spuittank, en bevestig de fittings met de borgclip die u verwijderd hebt in stap 2 van De omloopslang van de spuitboom verwijderen.
Hefvermogen: 55 kg
Gebruik een takel met voldoende hefvermogen om de middelste spuitboom op te tillen en lijn de openingen in de steunbeugel voor de spuitboom (Figuur 95) uit met de openingen in de bevestigingsplaat voor het machineframe waarvan eerder sprake in stap 3 van De middelste spuitboom verwijderen.

Monteer de middelste spuitboom op de bevestigingskanalen (Figuur 95); gebruik hierbij de 4 flenskopbouten (½" x 1¼") en 4 flensborgmoeren (½") die u verwijderd hebt in stap 4 van De middelste spuitboom verwijderen.
Draai de bouten en moeren vast met een torsie van 91 tot 113 N·m.
Maak het hefverdeelstuk los van de bevestigingsbeugel voor de klep.
Monteer het hefverdeelstuk van de spuitbomen op de cilinderbevestiging; ga als volgt te werk:
Voor machines zonder optionele nivelleerset voor de ultrasone spuitboom:
Lijn de gaten in de steunbeugel voor het hefverdeelstuk van de spuitbomen uit met de openingen in de cilinderbevestiging (Figuur 96).

Monteer de steunbeugel op de cilinderbevestiging (Figuur 96); gebruik hierbij de 2 flenskopbouten (5/16" x 1") en de flensborgmoeren (5/16") die u verwijderd hebt in stap 1 van Het hefverdeelstuk van de spuitboom verwijderen van de middelste spuitboom.
Voor machines met optionele nivelleerset voor de ultrasone spuitboom:
Lijn de gaten in de steunbeugel voor het hefverdeelstuk van de spuitbomen en de TEC-controllerbeugel uit met de openingen in de cilinderbevestiging.

Monteer de steunbeugel en de TEC-beugel op de cilinderbevestiging (Figuur 97); gebruik hierbij de 2 flenskopbouten (5/16" x 1") en de flensborgmoeren (5/16") die u verwijderd hebt in stap 1 van Het hefverdeelstuk van de spuitboom verwijderen van de middelste spuitboom.
Haal de bouten en moeren aan met 1978 tot 2542 N·cm.
Benodigde onderdelen voor deze stap:
| Klepbevestiging en spuitklep | 1 |
| Bout (4 x 10 mm) | 3 |
| ASC 10 spuitbediening | 1 |
| Flensborgmoer (4 mm) | 3 |
| Dop (snelkoppelfitting) | 2 |
| Flenskopbouten (5/16" x ¾") | 8 |
| Flensborgmoeren (5/16") | 8 |
| Slangklem | 1 |
| Druknagel (kabelbinder) | 1 |
| Druknagel (connectorankers) | 3 |
Plaats de ASC 10 spuitbediening aan de voorzijde van de klepbevestiging, met de stekker met 4 pinnen naar buiten (Figuur 98).

Monteer de spuitbediening op de klepbevestiging (Figuur 98); gebruik hierbij de 3 bouten (3 x 10 mm) en 4 flensborgmoeren (4 mm).
Note: U mag het bovenste gat aan de buitenkant in de ASC 10 spuitbediening niet gebruiken.
Haal de bouten en moeren aan met 234 tot 286 N·cm.
Verwijder de borgclips waarmee de klepactuators voor spuitdopkleppen 1 tot 7 zijn bevestigd (Figuur 99).

Verwijder de klepactuators van spuitdopkleppen 1 tot 7 (Figuur 99).
Verwijder de borgclips waarmee de pluggen in de vrouwelijke snelkoppelfittings aan spuitdopklep 5 en spuitdopklep 6 zijn bevestigd, en verwijder de pluggen (Figuur 100).
Note: U hebt de pluggen niet meer nodig; bewaar de borgclips voor montage in De omloopslangen van de spuitboom monteren – Machines met optionele spuitstok of optionele elektrische slanghaspel.

Verwijder de borgclips waarmee de omloopkleppen aan spuitdopkleppen 1 tot 7 zijn bevestigd (Figuur 101).

Til de omloopkleppen van spuitdopkleppen 1 tot 5 (Figuur 101).
Draai de omloopkleppen 180° en druk ze op de snelkoppelfittings van de spuitboomkleppen ( Figuur 102).

Bevestig de omloopkleppen aan de spuitboomkleppen; gebruik de borgclips (Figuur 102) die u verwijderd hebt in stap 4.
Herhaal stap 5 tot en met 7 voor de omloopkleppen van spuitdopklep 6 spuitdopklep 7 (Figuur 103).

Monteer de doppen op de snelkoppelfittings van de omloopkleppen voor spuitdopklep 5 en spuitdopklep 6; gebruik de borgclips die bij de doppen geleverd werden (Figuur 102).

Monteer de klepactuators op spuitdopkleppen 1 tot 7 (Figuur 99); gebruik de borgclips die u verwijderd hebt in stap 1.
Monteer de 3 spuitboomkleppen (Figuur 105) die u verwijderd hebt in stap 8 van De spuitboomkleppen verwijderen van de bevestigingsbeugel van het verdeelstuk op de flens van klep 7 van de spuitklepeenheid; gebruik hierbij de flensklem en de pakking die u verwijderd hebt in stap 4 van De spuitboomkleppen verwijderen van de bevestigingsbeugel van het verdeelstuk.
Important: U kunt de linker-, rechter- en middelste spuitboomklep van het GeoLink-spuitsysteem als volgt identificeren: linkerspuitboomklep – spuitdopklep 8, middelste spuitboomklep – spuitdopklep 9, en rechterspuitboomklep – spuitdopklep 10.

Bevestig de vrouwelijke snelkoppeling voor de omloopslang van spuitdopklep 8 aan de snelkoppeling voor de omloopklep van spuitdopklep 7; gebruik de borgclip die u verwijderd hebt in stap 8 van De spuitboomkleppen verwijderen van de bevestigingsbeugel van het verdeelstuk.

Monteer spuitdopklep 10 op de klepbevestiging (Figuur 107 of Figuur 108); gebruik hierbij de 2 flenskopbouten (¼" x ¾") en 2 flensborgmoeren (¼") die u verwijderd hebt in stap 2 van De spuitboomkleppen verwijderen van de bevestigingsbeugel van het verdeelstuk.


Haal de flenskopbouten en borgmoeren aan met 1017 tot 1243 N·cm.
Hefvermogen: 23 kg
Gebruik een takel met voldoende hefvermogen om de klepbevestiging en spuitklep op te hijsen en boven de middelste spuitboom te brengen (Figuur 109).

Lijn de gaten in de montagebeugel van de klepbevestiging uit met de gaten in het versterkte frame van de middelste spuitboom (Figuur 110).

Monteer de klepbevestiging op het frame (Figuur 110 en Figuur 111); gebruik hierbij 4 bouten (5/16" x ¾") en 4 flensborgmoeren (5/16").

Herhaal stap 2 tot en met 3 voor de andere montagebeugel van de klepbevestiging aan het andere frame.
Haal de flenskopbouten en flensborgmoeren aan met 1978 tot 2542 N·cm.
Monteer de slang (1" x 16") op de flensfitting van 90° (1"); zie Figuur 112.

Bevestig de slang met een slangklem aan de flensfitting (Figuur 112).
Breng de kabelbinder/druknagel aan in de opening bovenaan de klepbevestiging; zie Figuur 112.
Bevestig de kabelbinder/druknagel (Figuur 112) rond de slang (1" x 16").
Verwijder de borgclips uit de vrouwelijke snelkoppelfittings die u op de omloopslangen gemonteerd hebt in stap 1 van De omloopslangen in elkaar zetten.
Monteer de snelkoppelfitting van de omloopslang op de snelkoppelfitting aan de omloopklep bij spuitdopklep 10 (Figuur 113).

Bevestig de snelkoppelfittings voor de omloopslang en de omloopklep met de borgclip (Figuur 113).
Herhaal stap 1 tot en met 3 voor de snelkoppelfittings bij spuitdopklep 1.
Sluit de snelkoppelfitting van de afsluitklep van de omloop aan op de vrouwelijke snelkoppelfitting van de omloopklep (Figuur 114).

Bevestig de snelkoppelfittings voor de afsluitklep van de omloop en de omloopklep met de borgclip (Figuur 114) die u verwijderd hebt in stap 3 van De omloopkleppen plaatsen – Machines met optionele spuitstok of optionele elektrische slanghaspel.
Herhaal stap 1 en 2 voor de afsluitklep van de omloop en de omloopklep aan de andere kant van de machine.
Monteer de druknagels van de connectorankers op de openingen in de klepbevestiging (Figuur 115).


Sluit de connector met 3 contacten (Figuur 116) van de kabelboomaftakking van 89 cm met aanduiding NOZZLE VALVE 1 (spuitdopklep 1) aan op de stekker met 3 pinnen van de klepactuator uiterst links (locatie 1).
Note: De klepactuatorlocaties 1 tot 10 lopen op van links naar rechts, van achter de machine gezien.
Sluit de connector met 3 contacten (Figuur 116) van de kabelboomaftakking van 89 cm met aanduiding NOZZLE VALVE 2 (spuitdopklep 2) aan op de stekker met 3 pinnen van de klepactuator (locatie 2).
Sluit de overige connectors met 3 contacten van de aftakking van 89 cm van de bijgeleverde kabelboom aan op de stekker met 3 pinnen van de klepactuators (Figuur 116).
Note: Zorg ervoor dat de connectors met 3 contacten aangesloten zijn op de overeenkomende klepactuatorlocatie.
Benodigde onderdelen voor deze stap:
| Hydraulische slang (¼" x 24¾") | 4 |
Lijn het vaste uiteinde van de hefcilinder die u verwijderd hebt in stap 3 van De hefcilinders verwijderen uit met de opening van 16 mm in de cilinderbevestiging (Figuur 117).
Note: Zorg ervoor dat de openingen voor de uitgaande en ingaande slag van de cilinder uitgelijnd zijn.

Monteer de cilinder op de cilinderbevestiging; gebruik hierbij de draaipen, flenskopbout en flensmoer (Figuur 117).
Haal de bout en moer aan met 1978 tot 2542 N·cm.
Herhaal stap 1 tot en met 3 voor de andere hefcilinder aan de andere kant van de cilinderbevestiging.
Monteer losjes een nieuwe hydraulische slang (¼" x 24¾") tussen de opening voor de uitgaande slag van de hefcilinder van de linkerspuitboom en opening C3 van het hefverdeelstuk van de spuitboom (Figuur 118).

Monteer losjes een nieuwe hydraulische slang (¼" x 24¾") tussen de opening voor de ingaande slag van de hefcilinder van de linker spuitboom en opening C4 van het hefverdeelstuk van de spuitboom (Figuur 118).
Monteer losjes een nieuwe hydraulische slang (¼" x 24¾") tussen de opening voor de uitgaande slag van de hefcilinder van de rechter spuitboom en opening C1 van het hefverdeelstuk van de spuitboom (Figuur 119).

Monteer losjes een nieuwe hydraulische slang (¼" x 24¾") tussen de opening voor de ingaande slag van de hefcilinder van de rechter spuitboom en opening C2 van het hefverdeelstuk van de spuitboom (Figuur 119).
Draai de slangfittings van de openingen voor de uit- en ingaande slag van de hefcilinders (Figuur 118 en Figuur 119) vast met een torsie van 21 tot 26 N·m.
Draai de wartelmoeren van de slangen van het hefverdeelstuk van de spuitbomen (Figuur 118 en Figuur 119) vast met een torsie van 24 tot 30 N·m.
Benodigde onderdelen voor deze stap:
| Nylon flenslager | 4 |
| Kabelbinder | 1 |
| Toevoerslang 188 cm | 1 |
| Toevoerslang 234 cm | 1 |
| Toevoerslang 279 cm | 1 |
Snij de slang tussen twee spuitdoppen door (Figuur 120).

Verwijder de flensborgmoer (5/16") waarmee de spuitdop bevestigd is aan de spuitdopbevestiging (Figuur 120).
Herhaal stap 2 en 1 voor de andere 3 spuitdoppen.
Note: Bewaar de flensborgmoer en de spuitdop voor montage inDe spuitdoppen van de buitenste spuitbomen monteren.
Note: Gooi de slangen, klemmen en T-fitting die u verwijderd hebt van de machine weg.
Herhaal stap 2 tot en met 3 voor de andere buitenste spuitboom.
Gebruik de 8 spuitdoppen die u verwijderd hebt in stap 1 om de schroeven van roestvrij staal (nr. 12 x 1¼") waarmee de bovenste klemhelften en de dubbele of enkele steel met slangribbel (¾") bevestigd zijn aan de behuizing van de spuitdoppen, en verwijder de stelen met slangribbel (Figuur 121).
Note: De inbusbout (5/16" x ¾" – roestvrij staal) komt los van de bovenste klemhelft wanneer u de klem opent. Bewaar de bout voor montage.

Hefvermogen: 91 kg
Gebruik een takel met voldoende hefvermogen om de buitenste spuitboom omhoog te brengen.
Steek een nylon flenslager in de openingen van 31,8 mm aan weerszijden van de draaifitting (Figuur 122).

Lijn de lagers in de draaifitting uit met de openingen in de flenzen van de draaibeugel aan het uiteinde van de middelste spuitboom (Figuur 123).

Monteer de draaifitting op de draaibeugel; gebruik hierbij de draaipen, flensbout (5/16" x 1") en flensborgmoer (5/16") die u verwijderd hebt in stap 2 van De buitenste spuitbomen verwijderen.
Haal de bout en moer aan met een torsie van 1978 tot 2542 N·cm.
Lijn het stanguiteinde van de hefcilinder uit met de opening van 25 mm in de arm van de draaifitting (Figuur 124).

Bevestig de hefcilinder aan de draaifitting; gebruik hierbij de gaffelpen en de R-pen (Figuur 124) die u verwijderd hebt in stap 2 van De hefcilinders verwijderen.
Herhaal stap 1 tot en met 7 voor de buitenste spuitboom aan de andere kant van de machine.
Benodigde onderdelen voor deze stap:
| Toevoerslang 279 cm | 2 |
| Toevoerslang 234 cm | 2 |
| Toevoerslang 188 cm | 4 |
| Toevoerslang 81 cm | 2 |
U kunt de slangen voor de verschillende spuitdoppen (Figuur 125) herkennen aan hun lengte:
| Spuitdoplocaties – linkerspuitboom | Spuitdoplocaties – middelste spuitboom | Spuitdoplocaties – rechterspuitboom |
|---|---|---|
| Spuitdop 1 (spuitdopklep 1) – toevoerslang 279 cm | Spuitdoppen 5 en 6 (spuitdopklep 5) – toevoerslang 81 cm met 2 vertakkingen | Spuitdop 9 (spuitdopklep 7) – toevoerslang 188 cm |
| Spuitdop 2 (spuitdopklep 2) – toevoerslang 234 cm | Spuitdoppen 7 en 8 (spuitdopklep 6) – toevoerslang 81 cm met 2 vertakkingen | Spuitdop 10 (spuitdopklep 8) – toevoerslang 188 cm |
| Spuitdop 3 (spuitdopklep 3) – toevoerslang 188 cm | Spuitdop 11 (spuitdopklep 9) – toevoerslang 234 cm | |
| Spuitdop 4 (spuitdopklep 4) – toevoerslang 188 cm | Spuitdop 12 (spuitdopklep 10) – toevoerslang 279 cm |
Note: Zie Figuur 126 in Monteren van de slangen voor spuitdopkleppen 1-4. , Figuur 127 in Monteren van de slangen voor spuitdopkleppen 5 en 6., en Figuur 128 in Monteren van de slangen voor spuitdopkleppen 7-10. voor de posities van de spuitdopkleppen.

Monteer de rechte geribde fitting van een toevoerslang van 279 cm op de koppeling van spuitdopklep 1 (Figuur 126).
Note: Verzeker dat de geribde fitting goed op de koppeling is gedrukt.

Zet de geribde fitting vast met een borgclip (Figuur 126).
Monteer de rechte geribde fitting van een toevoerslang van 234 cm op de koppeling van spuitdopklep 2 (Figuur 126).
Note: Verzeker dat de geribde fitting goed op de koppeling is gedrukt.
Zet de geribde fitting vast met een borgclip (Figuur 126).
Monteer de rechte geribde fitting van een toevoerslang van 188 cm op de koppeling van spuitdopklep 3 (Figuur 126).
Note: Verzeker dat de geribde fitting goed op de koppeling is gedrukt.
Zet de geribde fitting vast met een borgclip (Figuur 126).
Monteer de rechte geribde fitting van een toevoerslang van 188 cm op de koppeling van spuitdopklep 4 (Figuur 126).
Note: Verzeker dat geribde fitting goed op de koppeling is gedrukt.
Zet de geribde fitting vast met een borgclip (Figuur 126).
Note: De toevoerslang van 81 cm heeft een T-fitting met twee vertakkingen en 2 enkele geribde slangstelen.
Monteer de rechte geribde fitting van een toevoerslang van 81 cm op de koppeling van spuitdopklep 5 (Figuur 127).
Note: Verzeker dat de geribde fitting goed op de koppeling is gedrukt.

Zet de geribde fitting vast met een borgclip (Figuur 127).
Monteer de rechte geribde fitting van een toevoerslang van 81 cm op de koppeling van spuitdopklep 6 (Figuur 127).
Note: Verzeker dat de geribde fitting goed op de koppeling is gedrukt.
Zet de geribde fitting vast met een borgclip (Figuur 127).
Monteer de rechte geribde fitting van een toevoerslang van 188 cm op de koppeling van spuitdopklep 7 (Figuur 128).
Note: Verzeker dat de geribde fitting goed op de koppeling is gedrukt.

Zet de geribde fitting vast met een borgclip (Figuur 128).
Monteer de rechte geribde fitting van een toevoerslang van 188 cm op de koppeling van spuitdopklep 8 (Figuur 128).
Note: Verzeker dat de geribde fitting goed op de koppeling is gedrukt.
Zet de geribde fitting vast met een borgclip (Figuur 128).
Monteer de rechte geribde fitting van een toevoerslang van 234 cm op de koppeling van spuitdopklep 9 (Figuur 128).
Note: Verzeker dat de geribde fitting goed op de koppeling is gedrukt.
Zet de geribde fitting vast met een borgclip (Figuur 128).
Monteer de rechte geribde fitting van een toevoerslang van 279 cm op de koppeling van spuitdopklep 10 (Figuur 128).
Note: Verzeker dat de geribde fitting goed op de koppeling is gedrukt.
Zet de geribde fitting vast met een borgclip (Figuur 128).
Leid de slangen voor spuitdoppen 1, 2, 3 en 4 door de R-klem aan het linkerbuiteneinde van de middelste spuitboom (Figuur 129 en Figuur 130).


Leid de slangen voor spuitdoppen 7, 8, 9 en 10 door de R-klem aan het rechterbuiteneinde van de middelste spuitboom (Figuur 129 en Figuur 130).
Leid de toevoerslangen van 279 cm en de geribde slangstelen (¾") langs de spuitboom naar spuitdoppen 1 en 10 zoals in Figuur 129 en Figuur 130.
Leid de toevoerslangen van 234 cm en de geribde slangstelen (¾") langs de spuitboom naar spuitdoppen 2 en 9 zoals in Figuur 129 en Figuur 130.
Leid de toevoerslangen van 188 cm en de geribde slangstelen (¾") langs de spuitboom naar spuitdoppen 3 en 8 zoals in Figuur 129 en Figuur 130.
Note: Leid de slangen door de onderste pakkingringen achteraan in de beugels van het buisframe.
Leid de toevoerslangen van 188 cm en de geribde slangstelen (¾") langs de spuitboom naar spuitdoppen 4 en 7 zoals in Figuur 129 en Figuur 130.
Note: Leid de slangen door de onderste pakkingringen achteraan in de beugels van het buisframe.
Bundel de 4 slangen van de spuitdoppen met een kabelbinder zoals in Figuur 130.
Lijn de verbindingsbuis in de zitting van een spuitdop (Figuur 131) uit met de opening in de zijkant van de enkele steel met slangribbel (½").

Sluit de bovenste klemhelft rond de geribde slangaansluiting en zet de halve klem en sproeikopbehuizing (Figuur 131) vast met de roestvast stalen schroef (nr. 12 x 1¼"); draai de schroef aan met 14 tot 18 N∙m
Note: Zorg ervoor dat de inbusbout (5/16" x ¾") in de uitsparing in de bovenste klemhelft zit wanneer u de klem sluit.
Monteer de spuitdoppen op de buitenste spuitboom; ga als volgt te werk:
Monteer aan spuitdoplocaties 1 en 4 de spuitdop op de spuitdopbeugel (A in Figuur 132); gebruik hierbij de flensborgmoer (5/16") die u verwijderd hebt in stap 2 van De spuitdoppen van de buitenste spuitbomen verwijderen.
Monteer aan spuitdoplocaties 2 en 3 de spuitdop op de spuitdopbeugel (A en B in Figuur 132); gebruik hierbij de flensborgmoer (5/16") die u verwijderd hebt in stap 2 van De spuitdoppen van de buitenste spuitbomen verwijderen.

Draai de flensborgmoer aan met 1978 tot 2542 N·cm.
Herhaal stap 1 tot en met 4 voor de andere spuitdoppen van de spuitboom.
Herhaal stap 1 tot en met 5 voor de buitenste spuitboom aan de andere kant van de machine.
Sluit de connector met 3 contacten van de aftakking van 61 cm van de bijgeleverde kabelboom met aanduiding PRESSURE TRANSDUCER GREEN WEDGE (drukomzetter groene wig) aan op de stekker met 3 pinnen van de drukomzetter (Figuur 133).

Sluit de connector met 40 contacten van de aftakking van 102 cm van de bijgeleverde kabelboom aan op de stekker met 40 pinnen van de spuitbediening van de ASC 10 (Figuur 134).

Draai de kartelschroef van de connector met 40 contacten handmatig in de connector van de ASC 10 (Figuur 134).
Steek de connector met 4 contacten en met aanduiding TO ASC 10 (naar ASC 10) in de stekker met 4 pinnen van de spuitbediening van de ASC 10 (Figuur 135).

Verwijder de flensklem en de pakking waarmee de vlakke dop aan de flens van spuitdopklep 10 is bevestigd (Figuur 137).

Verwijder de flensklem en de pakking waarmee de dop en buisfitting bevestigd zijn aan de flens van het verdeelstuk van de vloeistofstroommeter (Figuur 137).

Monteer de vlakke dop op de flens van het verdeelstuk van de vloeistofstroommeter; gebruik hierbij de flensklem en pakking die u verwijderd hebt in stap 2, en draai de dop handmatig vast (Figuur 138).
Monteer de fitting van 90° van de afsluitklep voor de optionele spuitstok of de elektrische slanghaspel op de flens van spuitdopklep 10; gebruik de flensklem en pakking die u verwijderd hebt in stap 1 en draai de klem handmatig vast (Figuur 139).

Lijn het uiteinde van de druksensorbuis (plastic) voor de drukmeter in het dashboard uit met de borgkraag voor de buiskoppeling in de 90°-fitting van de afsluitklep van de spuitstok of de elektrische slanghaspel (Figuur 140).

Druk de sensorbuis in de borgkraag tot de buis niet meer verder kan (Figuur 140).
Benodigde onderdelen voor deze stap:
| Kabelbinder | 6 |
Leid de buizen van de schuimspuitdoppen van de linker- en rechterspuitboom naar binnen en door de R-klem nabij het scharnierpunt voor de spuitboom (Figuur 142).


Leid de buizen naar voren langs de linkerzijde van de spuittank (Figuur 142).
Bevestig de buizen van de schuimspuitdoppen links en rechts aan de spuitslangen; gebruik 4 kabelbinders zoals wordt getoond in Figuur 142.
Bevestig de buizen van de schuimspuitdoppen links en rechts aan de buizen voor de mengeenheid; gebruik 2 kabelbinders zoals wordt getoond in Figuur 142.
Leid de schuimbuizen voor de rechterspuitboom zoals wordt getoond in Figuur 143.


Koppel de doorzichtige buis aan op de luchtfitting aan de zijplaat van de compressor (Figuur 143 en Figuur 144).

Koppel de blauwe buis aan op de vloeistoffitting aan de zijplaat van de compressor (Figuur 143 en Figuur 144).
Leid de schuimbuizen voor de linkerspuitboom zoals wordt getoond in Figuur 143.
Koppel de doorzichtige buis aan op de luchtfitting aan de zijplaat van de compressor (Figuur 143 en Figuur 144).
Koppel de blauwe buis aan op de vloeistoffitting aan de zijplaat van de compressor (Figuur 143 en Figuur 144).
Sluit de buis aan met de kabelbinder die u voorbereid hebt in stap 9 van De nieuwe buizen voorbereiden voor de spuitdoppen van de schuimmarkeerder door de blauwe buis voor de rechterspuitboom uit te lijnen met de klemkoppeling voor het watercircuit van de rechterspuitboom (Figuur 145).

Monteer de klemmoer voor de buis op de fitting en draai handmatig vast (Figuur 145).
Lijn de doorzichtige buis voor de rechterspuitboom uit met de klemkoppeling voor het luchtcircuit van de rechterspuitboom (Figuur 145).
Monteer de klemmoer voor de buis op de fitting en draai handmatig vast (Figuur 145).
Sluit de ongemarkeerde buis (geen kabelbinder) aan door de blauwe buis voor de linkerspuitboom uit te lijnen met de klemkoppeling voor het watercircuit voor de linkerspuitboom (Figuur 146).

Monteer de klemmoer voor de buis op de fitting en draai handmatig vast (Figuur 146).
Lijn de doorzichtige buis voor de linkerspuitboom uit met de klemkoppeling voor het luchtcircuit van de linkerspuitboom (Figuur 146).
Monteer de klemmoer voor de buis op de fitting en draai handmatig vast (Figuur 146).
Bevestig de buis van de schuimmarkeerder met 2 kabelbinders aan de slangen van de spuitdoppen (Figuur 142).
Sluit de 3-polige connector van de kabelboom van de ultrasone spuitboom aan op de 3-polige connector van de kabel voor de rechter ultrasone sensor (A in Figuur 147).

Sluit de 3-polige connector van de kabelboom van de ultrasone spuitboom aan op de 3-polige connector van de kabel voor de linker ultrasone sensor (B in Figuur 147).
Benodigde onderdelen voor deze stap:
| Verlengstuk van afdekking (12 spuitdoppen – Toro 120-0621) | 1 |
| Popnagel (Toro onderdeelnummer 114439) | 22 |
| Steunbeugel (deksel middelste spuitboom – Toro onderdeelnummer 131-3703-03) | 4 |
| Clipmoer (Toro onderdeelnummer 94-2413) | 4 |
| Flenskopbouten (⅜" x 1¼" – Toro onderdeelnummer 110-5050) | 16 |
| Flensborgmoeren (⅜" – Toro onderdeelnummer 104-8301) | 16 |
| Dekselband (Toro onderdeelnummer 120-0629) | 2 |
| Flenskopbouten (5/16" x 1¼" – Toro onderdeelnummer 323-36) | 4 |
Gebruik een boor van 5 mm om de 11 popnagels (Figuur 148) te boren waarmee de verstevigingsplaat (met een enkele rij popnagels) en de rubberen afdekking bevestigd zijn aan het uiteinde van de afdekking van het gedeelte met 11 spuitdoppen voor de middelste spuitboom die u verwijderd hebt in stap 2 van Het deksel van de middelste spuitboom (11 spuitdoppen) van de optionele afgedekte spuitboom verwijderen.


Verwijder de verstevigingsplaat, 11 ringen (3/16") en de rubberen afdekking van de spuitboomafdekking voor 11 spuitdoppen (Figuur 148).
Note: Bewaar de verstevigingsplaat, ringen en rubberen afdekking voor montage in stap 5 en 6.
Lijn de gaten in de verstevigingsplaat (dubbele rij) op het verlengstuk van de afdekking uit met de gaten in het uiteinde van de spuitboomafdekking voor 11 spuitdoppen (Figuur 149).

Bevestig het verlengstuk van de afdekking aan de spuitboomafdekking voor 11 spuitdoppen (Figuur 150); gebruik hierbij 11 popnagels (Toro onderdeelnummer 114439).

Lijn de gaten in de rubberen afdekking en de verstevigingsplaat (enkele rij) die u verwijderd hebt in stap 2 uit met de gaten in het uiteinde van het verlengstuk van de afdekking (Figuur 151).

Bevestig de verstevigingsplaat en de rubberen afdekking aan het verlengstuk van de afdekking met de 11 popnagels (Toro onderdeelnummer 114439) en de 11 ringen (3/16") die u verwijderd hebt in stap 5.
Note: Lijn de ringen (3/16") uit tegen het binnenvlak van het verlengstuk van de afdekking.
Monteer de 4 clipmoeren (Toro onderdeelnummer 94-2413) op de 2 steunbeugels van de afdekking van de middelste spuitboom (Toro onderdeelnummer 131-3703-03); zie Figuur 152.

Zoek op het verlengstuk voor de middelste spuitboom 2 paar gaten in het verticale vlak van het verstevigde frame; er is 25 mm tussen de gaten (Figuur 153).


Lijn de gaten in een steunbeugel (Toro onderdeelnummer 131-3703-03) uit met de gaten in het verlengstuk voor de middelste spuitboom die u gevonden hebt in stap 2; hou de brede flens van de beugel aan de linkerkant, zoals in Figuur 153.
Monteer de steunbeugel op het frame (Figuur 153); gebruik hierbij 4 flenskopbouten (⅜" x 1¼" – Toro onderdeelnummer 110-5050) en 4 flensborgmoeren (⅜" – Toro onderdeelnummer 104-8301).
Herhaal stap 2 tot 4 voor de andere 2 paar gaten in het verlengstuk voor de middelste spuitboom en de andere steunbeugel, flenskopbouten en flensborgmoeren.
Draai de moeren en bouten vast met een torsie van 37 tot 45 N·m.
Lijn de gaten in de afdekking van de middelste spuitboom uit met de gaten in de steunbeugels voor de afdekking van de middelste spuitboom (Figuur 154).

Lijn de gaten in 2 van de dekselbanden die u verwijderd hebt in stap 1 van Het deksel van de middelste spuitboom (11 spuitdoppen) van de optionele afgedekte spuitboom verwijderen uit met de slang in de afdekking en 2 van de steunbeugels (Figuur 154).
Monteer de dekselbanden en de afdekking op de steunbeugels; gebruik de 4 flenskopbouten (5/16" x 1¼") die u verwijderd hebt in stap 1 van Het deksel van de middelste spuitboom (11 spuitdoppen) van de optionele afgedekte spuitboom verwijderen.
Lijn de gaten in de 2 dekselbanden (Toro onderdeelnummer 120-0629) uit met de 4 resterende gaten in de afdekking en de 4 resterende gaten in de steunbeugels (Figuur 154).
Monteer de dekselbanden en de afdekking op de steunbeugels (Figuur 154); gebruik hierbij de 4 flenskopbouten (5/16" x 1¼" – Toro 323-36).
Draai de bouten vast met een torsie van 1978 tot 2542 N·cm.
Benodigde onderdelen voor deze stap:
| Ontvangerplaat | 1 |
| Afstandsstuk (⅜" x 1") | 1 |
| Beugel van ontvanger | 1 |
| Bout (⅜" x 3¼") | 1 |
| Borgring (⅜") | 1 |
| Ring (⅜" x 13/16") | 1 |
| Flensborgmoer (⅜") | 1 |
| Flenskopbout (5/16" x ¾") | 1 |
| Flensborgmoer (5/16") | 1 |
| Flenskopbout (⅜" x 1½") | 2 |
| Afstandsstuk (⅜" x 7/16") | 2 |
| Navigatieontvanger – X25 GeoLink Precision spuitsysteem, basis, WAAS (model 41630) | 1 |
| Zeskantbout (5 x 16 mm) | 3 |
| Ring (5 mm) | 3 |
| Tussenschotadapter (optionele set met CDMA RTK correctiemodem of GSM RTK correctiemodem) | 1 |
| Cellulaire antenne (optionele set met CDMA RTK correctiemodem of GSM RTK correctiemodem) | 1 |
| Coaxiale kabel (optionele set met CDMA RTK correctiemodem of GSM RTK correctiemodem) | 1 |
Lijn de gaten in de navigatieontvangerplaat, het afstandsstuk (⅜" x 1") en de beugel van de ontvanger uit met elkaar (Figuur 155).

Monteer de ontvangerplaat en het afstandsstuk op de beugel; gebruik hiervoor een bout (⅜" x 3¼"), een borgring (⅜"), een ring (⅜" x 13/16") en een flensborgmoer (⅜"), zie Figuur 155.
Breng de flenskopbout (5/16" x ¾") en de flensborgmoer (5/16") aan in het kleine gat in de ontvangerbeugel en de opening in de ontvangerplaat (Figuur 155).
Haal de bouten en moeren aan zodat u lichte weerstand voelt wanneer u de ontvangerplaat draait.
Monteer de beugel van de ontvanger (⅜" x 7/16") op de rolbeugel; gebruik hiervoor de flenskopbout (⅜" x 1½") zoals wordt afgebeeld in Figuur 156.

Haal de bouten aan zodat u lichte weerstand voelt wanneer u de ontvangerplaat draait.
Stel de ontvangerplaat gelijk af in de breedte (Figuur 157).

Haal de flenskopbout (5/16" x ¾") en flensborgmoer (5/16") aan met 1978 tot 2542 N·cm.
Stel de ontvangerplaat gelijk af in de lengterichting (Figuur 157).
Haal de bout (⅜" x 3¼") en de flensborgmoer (⅜") aan met een torsie van 37 tot 45 N·m.
Note: Monteer de RTK-antenne als uw machine is voorzien van een CDMA RTK of GSM RTK correctiemodem.
Lijn de coaxiale koppeling uit door het gat in de RTK-antenneflens, met de tussenschotschroefdraad van de koppeling naar beneden (Figuur 159).
Note: Draai de coaxiale koppeling zoals nodig om de platte kant van de tussenschotschroefdraad uit te lijnen met de platte kant aan de opening in de RTK-antenneflens.

Monteer de coaxiale koppeling op de flens van de ontvangerplaat; gebruik hierbij de borgring en de contramoer, en draai de contramoer handmatig aan (Figuur 159).
Monteer de RTK-antenne op de bovenste fitting van de coaxiale koppeling en draai de kartelmoer van de antenne handmatig vast (Figuur 160).

Monteer de antennekabel losjes op de onderste fitting van de coaxiale koppeling (Figuur 160).
Leid de kabel rond de achterzijde van de navigatieontvanger, naar de coaxiale connector van de CDMA GSM cellulaire modem Figuur 160.
Sluit de antennekabel aan op de coaxiale connector van de CDMA of GSM cellulaire modem (Figuur 160).
Draai de kartelmoeren van de antennekabel handmatig vast.
Benodigde onderdelen voor deze stap:
| Monitorbeugel | 1 |
| Flenskopbout (6 x 12 mm) | 3 |
| U-bout (5/16") | 2 |
| Flensborgmoer (5/16") | 8 |
| Bal | 1 |
| Flenskopbout (5/16" x ¾") | 4 |
| Monitor – X25 GeoLink Precision spuitsysteem, basis, WAAS (model 41630) | 1 |
| Monitorarm – X25 GeoLink Precision spuitsysteem, basis, WAAS (model 41630) | 1 |
Lijn de monitorbeugel uit op de machine; zie Figuur 162.

Monteer de monitorbeugel op de behuizing van de stuurklep (Figuur 163); gebruik de 3 flenskopbouten (6 x 12 mm).

Monteer de plaat van de monitorbeugel op de steunbuis van het chassis van de machine (Figuur 164); gebruik de 2 U-bouten en 4 flensborgmoeren (5/16").

Haal de 3 flenskopbouten (6 x 12 mm) van de stuurklep aan met een torsie van 972 tot 1198 N·cm; haal de flensborgmoeren aan de steunbuis aan met 1978 tot 2542 N·cm.
Lijn de tapemarkering op het stuurwiel uit met de tapemarkering op de behuizing van de stuurklep (Figuur 165).

Monteer het stuurwiel op de as van de stuurklep (Figuur 165); gebruik hierbij de ring (⅝") en de moer (⅝") die u verwijderd hebt in stap 3 van Het stuurwiel verwijderen.
Draai de moer vast tot 206 à 254 N·m.
Monteer de kap die u verwijderd hebt in stap 2 van Het stuurwiel verwijderen op het stuurwiel (Figuur 171).
Monteer de bal op de beugel voor de monitor (Figuur 166); gebruik hierbij de 4 flenskopbouten (5/16" x ¾") en 4 flensborgmoeren (5/16").

Haal de bouten en moeren aan met 1978 tot 2542 N·cm.
Monteer de kogelfitting van de monitor en de bal van de machine op de monitorarm (Figuur 167).

Stel de monitor zo af dat hij zichtbaar is vanaf de zitplaats van de bestuurder van de machine, en draai de knop van de monitorarm handmatig aan (Figuur 167).
Koppel de connector met 2 contacten van de machinekabelboom aangeduid met SPRAY PUMP COIL (spoel van spuitpomp) af van de stekker met 2 pinnen van de wisselstroomdynamo (Figuur 168).

Sluit de stekker met 2 pinnen van de aftakking van 84 cm van de bijgeleverde kabelboom met aanduiding PUMP CLUTCH (pompkoppeling) aan op de connector met 2 contacten van de machinekabelboom met aanduiding SPRAY PUMP COIL (spoel van spuitpomp) (Figuur 169).

Sluit de connector met 2 contacten van de bijgeleverde kabelboom met aanduiding PUMP CLUTCH (pompkoppeling) aan op de stekker met 2 pinnen van de wisselstroomdynamo (Figuur 169).
Leid de kabelboomaftakking van 84 cm tegen de motor en de spuitpomp, maar zorg voor vrije ruimte tussen de kabelboom en de riem van de wisselstroomdynamo (Figuur 170).

Benodigde onderdelen voor deze stap:
| Beugel van accu | 1 |
| Bout (5/16" x 1¾") | 1 |
| Ring (5/16") | 1 |
| Accu (540 A) | 1 |
| Accuhouder | 1 |
| Flensborgmoer (5/16") | 1 |
| Beugel van wisselstroomdynamo | 1 |
| Aandrijfpoelie, 279 mm | 1 |
| Bout (¼" x 2¼") | 4 |
| Borgring (¼") | 4 |
| Wisselstroomdynamo (60 A) | 1 |
| Flenskopbout (8 x 25 mm) | 1 |
| Flenskopbout (⅜" x 1½") | 1 |
| V-riem | 1 |
Verwijder de 2 flensborgmoeren en de aandrukstang van de 2 J-bouten waarmee de accu aan de accubeugel van de machine is bevestigd (Figuur 171).

Haal de accu uit de machine (Figuur 171).
Note: U hebt de flensmoeren, aandrukstang en accu (300 A) niet meer nodig.
Verwijder de bouten (10-24 x ¾") en moeren (10-24) waarmee de zekeringhouders aan de accubeugel zijn bevestigd (Figuur 172).
Note: Bewaar de bouten (10-24 x ¾") en moeren (10-24) om deze te monteren in De accubeugel en accu (540 A) monteren.

Verwijder de 2 flenskopbouten (⅜" x ¾") waarmee de accubeugel aan de schokbrekerbuis van de machine is bevestigd (Figuur 172).
Note: Bewaar de flenskopbout (⅜" x ¾") voor montage in De accubeugel en accu (540 A) monteren.
Verwijder de 2 J-bouten en de accubak van de accubeugel (Figuur 173).

Haal de accubeugel van de machine (Figuur 174).
Note: U hebt de J-bouten, accubak en accubeugel niet meer nodig.

Lijn de nieuwe accubeugel uit met de schokbrekerbuis van de machine en de zekeringhouders (Figuur 175).

Monteer de accubeugel op de schokbrekerbuis (Figuur 176); gebruik hierbij de 2 flenskopbouten (⅜" x ¾") die u bewaard hebt in stap 4 van De accu (300 A) en accubeugel verwijderen.

Draai de flenskopbouten vast met een torsie van 37 tot 45 N·m.
Bevestig de zekeringhouders op de accubeugel (Figuur 176); gebruik de bout (10-24 x ¾") en moeren (10-24) die u verwijderd hebt in stap 3 van De accu (300 A) en accubeugel verwijderen.
Monteer de accu op de accubeugel; gebruik hierbij de bout (5/16" x 1¾"), de ring (5/16"), de accuhouder en de flensborgmoer (5/16") zoals wordt afgebeeld in Figuur 177.

Haal de bout en moer aan met een torsie van 1978 tot 2542 N·cm.
Zet aan de pompkop in de 11-uurpositie de 2 bouten los die getoond worden in Figuur 178 zodat u een speling van 7 tot 10 mm verkrijgt tussen de boutkop en de pomp.
Note: U hoeft de bouten niet te verwijderen van de spuitpomp.

Lijn de beugel van de wisselstroomdynamo uit tussen enerzijds de bouten die u losgedraaid hebt en die getoond worden in stap 1 en anderzijds de pompkop (Figuur 179).

Draai de bouten vast met een torsie van 61 tot 75 N·m.
Draai de moer voor de as van de spanpoelie los (Figuur 180).
Note: Zorg dat er geen spanning op de riem zit.

Draai de spanbout van de riem om de spanning van de riem van de spuitpomp te halen (Figuur 180).
Verwijder de 4 bouten (¼" x 1") en 4 borgringen (¼") waarmee de poelie aan de spuitpomp is bevestigd (Figuur 181).
Important: Verwijder de poelie niet.
Note: U hebt de bouten en de borgringen niet meer nodig.

Lijn de gaten in de poelie voor de wisselstroomdynamo (bijgeleverd) uit met de gaten in de poelie voor de spuitpomp (Figuur 182).

Monteer de poelie van de wisselstroomdynamo op de poelie van de spuitpomp en op de spuitpomp; gebruik de 4 bouten (¼" x 2¼") en de 4 borgringen (¼").
Draai de bouten vast met een torsie van 1017 tot 1243 N·m.
Draai de spanbout van de riem vast tot de riem 9,5 mm doorbuigt wanneer u een gewicht van 4,5 kg aanbrengt in het midden tussen het kettingwiel van de motor en dat van de spuitpomp.

Draai de moer van de as van de spanpoelie aan met een torsie van 37 tot 44 N·m.
Monteer de wisselstroomdynamo (60 A) op het tussenstuk met schroefdraad van de beugel van de wisselstroomdynamo (Figuur 184); gebruik hierbij de flenskopbout (⅜" x 1½").

Monteer de flens met schroefdraad van de wisselstroomdynamo op de flens met uitsparing van de beugel van de wisselstroomdynamo (Figuur 184); gebruik hierbij de flenskopbout (8 x 25 mm).
Leg de V-riem over de aandrijfpoelie van 279 mm en de poelie van de wisselstroomdynamo (Figuur 185).

Draai de wisselstroomdynamo (Figuur 186) naar boven om de riem aan te spannen tot de riem 9,5 mm doorbuigt wanneer u een gewicht van 4,5 kg aanbrengt in het midden tussen de poelie van de wisselstroomdynamo en de aandrijfpoelie van 279 mm.

Draai de flenskopbout (8 x 25 mm) aan met een torsie van 23 tot 29 N·m.
Haal de flenskopbout (⅜" x 1½") aan met een torsie van 37 tot 45 N·m.
Benodigde onderdelen voor deze stap:
| Relais | 1 |
| Druknagel | 1 |
| Zekering (15 A) | 1 |
| Zekering (50 A) | 1 |
Verbind de 2 contacten aan het uiteinde van de roze draad van 57 cm van de bijgeleverde kabelboom (Figuur 187) met de stekker met 2 pinnen van de wisselstroomdynamo (50 A).

Leid de roze sensordraad weg van de riemen van de wisselstroomdynamo en bevestig de draad met een kabelbinder.
Verwijder de moer van de pool (Figuur 188) van de wisselstroomdynamo (50 A).

Koppel de rode draad (2,3 mm dik) van de wisselstroomdynamo aan op de pool van de wisselstroomdynamo (50 A); gebruik hierbij de moer (Figuur 188).
Leid de rode draad naar de accupolen, weg van de poelie en de riem van de wisselstroomdynamo.
Draai de moer vast tot 47 à 57 N·m.
Schuif het isolatorkapje over de pool van de wisselstroomdynamo (Figuur 188).
Sluit de stekker met 5 pinnen van het relais aan op de connector met 4 contacten (Figuur 189) van de bijgeleverde kabelboom met aanduiding ASC 10 ENABLE RELAY (inschakelrelais ASC 10).

Lijn het gat in de montagelip van het relais uit met de opening in de schokbrekerbuis, en bevestig het relais aan de buis door middel van de druknagel (Figuur 189).
Stel een multimeter in om een continuïteitstest uit te voeren.
Steek de sonde van de multimeter in contact 4 (rechterkolom) van zekeringopening 2 van zekeringhouder 3 van de machine; zie Figuur 190.

Gebruik aan de voorzijde van de zekeringhouders de andere sonde van de multimeter om na te gaan welke kabelschoen die aan het uiteinde van de rode draad van 2,6 mm dik zit, aangesloten is op opening 2 – contact 4.

Gebruik een stukje tape om de connector en draad te markeren die u hebt geïdentificeerd in stap 3 (Figuur 191).
Sluit de kabelschoen die u gemarkeerd hebt in stap 4 aan op de contrastekker aan het uiteinde van de roze draad van 51 mm van de bijgeleverde kabelboom (Figuur 192).

Druk de zekering (15 A) in zekeringopening 2 van zekeringhouder 3 tot de zekering goed op haar plaats zit (Figuur 193).

Druk de zekering (50 A) in de inline-zekeringhouder tot de zekering op haar plaats zit (Figuur 194).

Benodigde onderdelen voor deze stap:
| Datakabel (navigatiesysteem) – GeoLink Precision spuitsysteem (model 41630) | 1 |
| Accukabel (navigatiesysteem) – GeoLink Precision spuitsysteem (model 41630) | 1 |
| Kabelbinder | 8 |
| Snelsluitklem (rode handgreep) | 1 |
| Snelsluitklem (zwarte handgreep) | 1 |

Important: Sommige connectors van de datakabel worden niet gebruikt. Zorg ervoor dat de kapjes en pluggen van de ongebruikte connectors stevig op hun plaats zitten.
Sluit de stekker met 3 contacten (koppelingen stroomvoorziening) van de elektrische kabel van de navigatie aan op de stekker met 3 pinnen (koppelingen stroomvoorziening) van de datakabel (Figuur 195).


Leid de aftakking van 390 cm van de datakabel langs de achterkant van de verticale rolbeugelbuis links.

Leid de aftakking van 390 cm van de datakabel langs de rechter rolbeugelbuis, met de busconnector met 12 contacten (grijs) en de busconnector met 12 contacten (zwart) omhoog naar de navigatieontvanger (Figuur 199).

Lijn de 2 nokken van de lange zijde van de grijze en zwarte busconnector met 12 contacten van de datakabel uit met de 2 groeven in de onderste, horizontale wand van de linker (grijze) stekker met 12 pinnen van de navigatieontvanger (Figuur 200).
Note: Wees voorzichtig wanneer u de kabelboom aansluit op de navigatieontvanger; de nokken van de kabelboomconnectors zijn specifiek voor de groeven van de pinconnectors van de navigatieontvanger bedoeld.

Sluit de grijze en zwarte connector met 12 bussen van de datakabel aan op de linker (grijze) connector met 12 pinnen van de navigatieontvanger; de connectors moeten in elkaar klikken (Figuur 200).
Lijn de 2 nokken van de korte zijde van de zwarte connector met 12 bussen van de datakabel uit met de 2 groeven in de linker, verticale wand van de rechter (zwarte) connector met 12 pinnen van de navigatieontvanger (Figuur 200).
Note: Wees voorzichtig wanneer u de kabelboom aansluit op de navigatieontvanger; de nokken van de kabelboomconnectors zijn specifiek voor de groeven van de pinconnectors van de navigatieontvanger bedoeld.
Sluit de geheel zwarte busconnector met 12 bussen van de datakabel aan op de linker (zwarte) connector met 12 pinnen van de navigatieontvanger; de connectors moeten in elkaar klikken (Figuur 200).
Bevestig de aftakking van 390 cm van de datakabel met 2 kabelbinders aan de rechter rolbeugelbuis, zoals wordt getoond in Figuur 199.
Note: Zorg dat er speling is op de kabel tussen de connectors met 12 bussen en de kabelbinder.


Leid de datakabel en de accukabel naar beneden aan de achterkant van de verticale rolbeugel links, en naar de dwarsbalk voor de stoelsteun (Figuur 203).

Bevestig de aftakking van 390 cm van de datakabel voor de navigatieontvanger aan de rolbeugel; zie Figuur 203.
Sluit de stekker met 1 pin van de accukabel met aanduiding ***IMPORTANT*** ONLY CONNECT THIS WIRE TO SWITCHED 12V POWER SOURCE (***belangrijk*** sluit deze draad alleen aan op de geschakelde 12 V voedingsbron) aan op de connector met 1 contact van de aftakking van 66 cm van de bijgeleverde kabelboom (Figuur 204) met aanduiding SW’D PWR FOR GEN. 2 TOPCON (geschakeld vermogen voor gen. 2 topcon).

Sluit de stekker met 4 pinnen van de aftakking van 66 cm van de bijgeleverde kabelboom met aanduiding ASC 10 PWR & CAN FROM X30 (voeding ASC 10 en CAN van X30) aan op de connector met 4 contacten van de aftakking van de datakabel met aanduiding CAN 2/ASC 10 BUS (Figuur 204).
Leid de datakabel en de accukabel over de dwarsbalk voor de stoelsteun en bevestig de aftakking van 390 cm van de datakabel met 2 kabelbinders aan de dwarsbalk (Figuur 203 en Figuur 205).

Leid de aftakking van 220 cm van de accukabel langs de bovenste framebuis aan de rechterkant (Figuur 205).
Leid de aftakking van 220 cm van de accukabel over de schokbrekerbuis naar de accu (Figuur 205).
Note: Zorg dat de aftakking van 100 cm van de elektrische koppeling (geschakelde stroom) tegen de bovenste framebuis aan de rechterkant geleid blijft.
Leid de aftakking van 220 cm van de datakabel (de kabelboomaftakking met de connector met 26 contacten) onder de bedieningseenheid en voorwaarts naar het dashboardpaneel (Figuur 205).

Leid de aftakking van 220 cm van de datakabel (de kabelboomaftakking met de connector met 26 contacten) naar voren en onder het dashboardpaneel (Figuur 207).

Leid de aftakking van 220 cm van de datakabel langs de steunbuis voor de monitor (Figuur 207).
Lijn de connector met 26 contacten van de datakabel uit met de stekker met 26 pinnen van de monitor van de spuitmachine en druk de connector in de stekker tot de onderdelen in elkaar klikken (Figuur 208).

Zorg dat de aftakking van 220 cm van de datakabel slap genoeg hangt opdat de bestuurder van de spuitmachine de monitor kan verstellen, en bevestig de kabelboom met kabelbinders aan de steunbuis voor de monitor; zie Figuur 207.
Verwijder de zeskantmoer en de ringen van de snelsluitklemmen met rode en zwarte handgreep (Figuur 209).

Open de sluiting van de snelsluitklem met de zwarte handgreep (Figuur 210).

Monteer de snelsluitklem op de minpool van de accu, met de pool met schroefdraad van de klem naar het midden van de accu gericht; zie Figuur 209.
Maak de sluiting van de snelsluitklem dicht (Figuur 210).
Note: Als u de klemkracht van de snelsluitklem wenst aan te passen, maak dan de handgreep open, draai de kartelmoer om de klemkracht te vergroten of te verkleinen, en sluit de handgreep van de klem.
Herhaal stap 2 tot en met 4 voor de snelsluitklem met de rode handgreep aan de pluspool van de accu.
Vonken kunnen accugassen tot ontploffing brengen en lichamelijk letsel veroorzaken.
Als accukabels verkeerd worden geleid, kan dit schade aan de spuitmachine en de kabels tot gevolg hebben en vonken veroorzaken.
Maak altijd de minkabel (zwart) van de accu los voordat u de pluskabel (rood) losmaakt.
Sluit altijd de pluskabel (rood) van de accu aan voordat u de minkabel (zwart) aansluit.
Accupolen of metalen gereedschappen kunnen kortsluiting maken met metalen onderdelen van de machine, waardoor vonken kunnen ontstaan.
Zorg ervoor dat bij het verwijderen of installeren van de accu de accupolen niet in aanraking komen met metalen onderdelen van de machine.
Voorkom dat metalen gereedschappen kortsluiting veroorzaken tussen de accupolen en metalen onderdelen van de machine.
Zorg ervoor dat de accuhouder altijd op zijn plaats zit om de accu te beschermen en vast te zetten.

Snij in het isolatorkapje van de pluskabel naar de startinrichting; zie Figuur 212.

Koppel de volgende draad- en kabelklemmen aan op de pool met schroefdraad van de plusklem van de accu (Figuur 213). Hou de volgende volgorde aan:
Note: Zorg dat de klem van de pluskabel naar de motorstarter bovenaan de opeengestapelde klemmen op de pool met schroefdraad zit.
Ringconnector – machinekabelboom van 22 cm met aanduiding ACCU (+)
Ringconnector – aftakking van 220 cm van accukabel met aanduiding ***IMPORTANT*** CONNECT THIS WIRE TO POSITIVE ON BATTERY (***belangrijk*** Sluit deze draad aan op de pluspool van de accu)
Ringconnector – aftakking van 60 cm van bijgeleverde kabelboom met aanduiding TO BATTERY POSITIVE (naar pluspool accu)
Klem van pluskabel van accu – naar wisselstroomdynamo (50 A)
Klem van pluskabel van accu – naar motorstarter

Monteer de zeskantmoer (¼") en de ring (¼") op de pool met schroefdraad, en haal de moer aan met een torsie van 1017 tot 1234 N·cm.
Lijn het isolatorkapje van de pluskabel van de accu naar de startinrichting uit over de pool met schroefdraad (Figuur 213).
Koppel de volgende draad- en kabelklemmen aan op de pool met schroefdraad van de minklem van de accu (Figuur 214). Hou de volgende volgorde aan:
Note: Zorg dat de klem van de minkabel naar de motor en de chassisaarding bovenaan de opeengestapelde klemmen op de pool met schroefdraad zit.
Ringconnector – aftakking van 220 cm van accukabel met aanduiding ***IMPORTANT*** CONNECT THIS WIRE TO – VE TERMINAL OF BATTERY WHICH IS CONNECTED TO TRACTOR FRAME (***belangrijk*** Sluit deze draad aan op de klem van de minpool van de accu die aangesloten is op het tractorframe)
Ringconnector – aftakking van 60 cm van bijgeleverde kabelboom – minpool van accu
Klem van minkabel van accu – naar de motor en de chassisaarding

Bevestig het overtollige eind van de datakabel tegen de bovenste framebuis aan de rechterkant (Figuur 215).

Lijn de datakabel uit met de schokbrekerbuis en bevestig de kabel met een kabelbinder aan de buis (Figuur 215).
Lijn de kabelbundel van de datakabel uit met de bovenste framebuis aan de rechterkant, en bevestig de kabelbundel met een kabelbinder aan de framebuis (Figuur 215).
Zorg voor speling tussen de poelies en riemen enerzijds en de datakabel, accukabel, bijgeleverde kabelboom en accukabels anderzijds.
Bevestig de kabelboom en de kabels indien nodig met kabelbinders om speling te verkrijgen met de riemen en de poelies.
Benodigde onderdelen voor deze stap:
| Druknagel | 13 |
Lijn de gaten in de motorkap uit met de gaten in het dashboard en het frame van de machine (Figuur 216).

Gebruik 9 druknagels om de motorkap aan het dashboard en het frame te bevestigen (Figuur 216).
Koppel de 2 elektrische connectoren (met 2 contacten) op de machinekabelboom aan op de stekkers met 2 pinnen van de linker- en rechterkoplamp (Figuur 217).

Lijn het binnenste spatbordscherm uit met de onderste en bovenste framebuis aan de linkerkant (Figuur 217).

Bevestig het binnenste spatbordscherm met de 6 druknagels aan de framebuizen (Figuur 218).
Lijn de gaten in het spatbord uit met de gaten in het frame van de machine; zie Figuur 218.

Monteer het spatbord losjes op het frame (Figuur 219); gebruik hierbij de 3 bouten (5/16" x 1") en 3 ringen (5/16") die u verwijderd hebt in stap 2 van De spatborden links en rechts vooraan verwijderen.
Bevestig het spatbord met de 2 druknagels aan het framekanaal (Figuur 220).

Haal de bout (5/16" x 1") aan met een torsie van 1978 tot 2542 N·cm.
Herhaal stap 1 tot en met 6 voor het binnenste spatbordscherm en het spatbord aan de andere kant van de machine.
Lijn de stoel en de stoelplaat uit met het chassis van de machine (Figuur 222).

Lijn de gaten in de draaifittings van de stoelsteun uit met de gaten in de chassisbeugel (Figuur 223).


Gebruik de 2 draaipennen om de stoelsteun op de chassisbeugels te monteren (Figuur 223).
Gebruik de 2 borgpennen om de draaipennen aan de machine te bevestigen (Figuur 223).
Monteer de steunstang op de stoelbeugel; gebruik hierbij de ring en de borgpen (Figuur 224).

Druk de connector met 2 contacten van de machinekabelboom in de aansluiting van de stoelschakelaar tot ze in elkaar klikken (Figuur 225).

Kantel de stoel een beetje naar voren, verwijder de steunstang uit de uitsparing en kantel de stoel naar beneden tot deze vergrendeld wordt.
Breng de sleutel in het contact en draai het naar de stand AAN.
Het startscherm wordt weergegeven op het display van het InfoCenter en het indicatorlampje brandt kortstondig (Figuur 226).
Note: Start de motor niet.

Druk in het hoofdscherm op de middelste knop van het InfoCenter om naar het navigatiescherm te gaan (Figuur 227).

Druk op de middelste knop van het InfoCenter om naar het hoofdmenu te gaan (Figuur 227).
Druk in het scherm HOOFDMENU op de middelste knop om naar de optie INSTELLINGEN te navigeren en druk op de rechterknop om de optie te selecteren (Figuur 228).

Druk in het scherm INSTELLINGEN op de middelste knop om naar de optie BEVEILIGDE INSTELLINGEN te navigeren en druk op de rechterknop om de optie te selecteren.

Ga als volgt te werk om de pincode in te voeren:
Druk de middelste knop zo vaak als nodig is in om het linkercijfer van de pincode in te voeren (Figuur 230).

Druk op de rechterknop om naar het volgende cijfer van de pincode te gaan (Figuur 230).
Herhaal stap 1 en 2 voor de 3 andere cijfers van de pincode.
Wanneer u alle cijfers van de pincode ingevoerd hebt, drukt u op de rechterknop (Figuur 230) en vervolgens op de middelste knop om de pincode te bevestigen (Figuur 231).
Het indicatorlampje gaat kortstondig branden.

Druk op de middelste knop om naar de optie GEOLINK te navigeren en druk op de rechterknop om de optie in te stellen (Figuur 232).

Het InfoCenter toont het GeoLink-bevestigingsscherm (Figuur 233).

Draai het contactsleuteltje naar de stand UIT en vervolgens naar AAN.
Eerst verschijnt het GEOLINK-startscherm wanneer u het contactsleuteltje naar AAN draait.
