O kit de sistema de pulverização GeoLink™ é um acessório de veículo de aplicação de rega que se destina a ser utilizado por operadores profissionais contratados em aplicações comerciais. Foi principalmente concebido para regar a relva em parques, campos de golfe, campos desportivos e relvados comerciais bem mantidos.
Visite www.Toro.com para obter mais informações sobre segurança dos produtos, incluindo dicas de segurança, materiais de formação, informações sobre acessórios, ajuda a encontrar um representante ou para registar o seu produto.
Se a máquina for utilizada com qualquer outro propósito, poderá pôr em perigo o utilizador ou outras pessoas.
Note: Leia estas informações cuidadosamente para saber como utilizar o produto e como efetuar a sua manutenção de forma adequada de forma a evitar ferimentos e evitar danos no produto. A utilização correta e segura do produto é da exclusiva responsabilidade do utilizador.
Sempre que necessitar de assistência, peças genuínas Toro ou informações adicionais, entre em contacto com um serviço de assistência autorizado ou com o serviço de assistência Toro, indicando os números de modelo e de série do produto. Figura 1 identifica a localização dos números de série e de modelo do produto. Escreva os números no espaço fornecido.
Important: Com o seu dispositivo móvel, pode ler o código QR (se equipado) no autocolante com o número de série para aceder a informações sobre garantia, peças e outros produtos.

Este manual identifica potenciais perigos e tem mensagens de segurança identificadas pelo símbolo de alerta de segurança (Figura 2), que identifica perigos que podem provocar ferimentos graves ou mesmo a morte, se não respeitar as precauções recomendadas.

Neste manual são utilizados dois termos para identificar informação. Importante chama a atenção para informação especial de ordem mecânica e Nota sublinha informação geral que requer atenção especial.
As substâncias químicas usadas no sistema de pulverização podem ser perigosas ou tóxicas para si ou outras pessoas presentes, animais, plantas, solos ou outros bens.
Leia atentamente e siga as etiquetas de advertência química e Folhas de dados de de segurança (FDS) de todos os produtos químicos usados e proteja-se de acordo com as recomendações do fabricante do produto químico. Por exemplo, utilize o equipamento de proteção pessoal (EPP) incluindo a proteção do rosto e dos olhos, luvas ou outros equipamentos para proteção contra o contacto pessoal com um produto químico.
Pode ser utilizado mais do que um produto químico e deve ser consultada a informação sobre cada um.
Recuse operar ou trabalhar no pulverizador se esta informação não estiver disponível.
Antes de trabalhar num sistema de pulverização, certifique-se de que foi lavado três vezes e neutralizado de acordo com as recomendações dos fabricantes dos produtos químicos e de que todas as válvulas passaram por três ciclos.
Verifique se existe uma fonte de água limpa e sabão nas proximidades e lave imediatamente qualquer produto químico que entre em contacto consigo.
![]() |
Os autocolantes de segurança e de instruções são facilmente visíveis e situam-se próximo das zonas de potencial perigo. Substitua todos os autocolantes danificados ou em falta. |




Limpe o pulverizador; consulte a secção Limpeza do pulverizador no Manual do utilizador da máquina.
Important: Esvazie completamente o depósito de pulverização antes de instalar o kit de acabamento de sistema de pulverização GeoLink.
Para máquinas com o kit de lavagem do depósito opcional, efetue o seguinte:
Bombeie a água do depósito de lavagem para o depósito do pulverizador; consulte Operar o kit de lavagem nas Instruções de instalação do Kit de lavagem do depósito.
Drene a água do depósito do pulverizador; consulte a secção Limpeza do pulverizador no Manual do utilizador da máquina.
Expanda as secções de rampa esquerda e direita para a posição horizontal.
Estacione a máquina para uma superfície nivelada, engate o travão de estacionamento, desligue o motor e retire a chave da ignição; consulte o Manual do utilizador.
Important: Estacione a unidade de tração numa superfície plana antes de instalar o kit GeoLink.
Rode a CHAVE DA IGNIçãO para a posição DESLIGAR e retire a chave; consulte o Manual do utilizador.
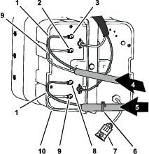
Desengate o banco empurrando a alavanca de engate do banco para trás (Figura 3).

Rode o banco e a placa do banco para a frente até que a extremidade da barra de apoio, no suporte da barra de apoio, fique na parte inferior da ranhura do suporte (Figura 3).
Retire o parafuso e a porca que prendem o terminal do cabo negativo da bateria ao borne negativo da bateria.
As faíscas elétricas podem provocar uma explosão dos gases da bateria, resultando em lesões.
A ligação incorreta dos cabos da bateria poderá danificar o pulverizador e os cabos produzindo faíscas.
Desligue sempre o cabo negativo (preto) antes de desligar o cabo positivo (vermelho).
Ligue sempre o cabo positivo (vermelho) antes de ligar o cabo negativo (preto).
Os terminais da bateria e as ferramentas de metal poderão provocar curto-circuitos noutros componentes do veículo, produzindo faíscas.
Quando retirar ou montar a bateria, não toque com os terminais da bateria noutras peças metálicas do pulverizador.
Deverá evitar quaisquer curto-circuitos entre os terminais da bateria e as peças metálicas do pulverizador.
Mantenha sempre a faixa da bateria na sua posição correta de modo a proteger e manter a bateria bem fixa.
Deslize a cobertura de isolamento e retire o parafuso e a porca que prendem o terminal do cabo positivo da bateria ao borne positivo da bateria. (Figura 4).
Note: Certifique-se de que os terminais da bateria não tocam nos bornes da bateria.

Deixe arrefecer completamente o motor.
Retire o conector de duas tomadas da cablagem da máquina que liga ao conector do interruptor do banco (Figura 5).

Retire o gancho que prende a barra de apoio ao suporte na parte inferior da placa do banco (Figura 6).

Retire os dois ganchos que prendem os encaixes articulados da placa do banco aos suportes do chassis (Figura 7).


Retire os dois pinos de articulação que prendem o banco e placa do banco ao chassis (Figura 7).
Eleve o banco e placa do banco para cima e para fora da máquina (Figura 8).

Remova os dois fixadores de pressão que prendem o guarda-lamas frontal esquerdo ao canal inferior do ROPS (Figura 10).
Note: Elimine os fixadores de pressão que removeu.

Retire os três parafusos (5/16 pol. x 1 pol.) e as 3 anilhas (5/16 pol.) que prendem o guarda-lamas ao chassis da máquina (Figura 11).

Retire o guarda-lamas da máquina.
Note: Elimine os fixadores de pressão que removeu.; guarde o guarda-lamas, parafusos e anilhas para instalação em Instalação dos guarda-lamas frontais esquerdo e direito.
Retire os seis fixadores de pressão e cinco anilhas (9/16 pol. x ½ pol.) que prendem o resguardo interior do guarda-lamas ao chassis da máquina (Figura 12).

Remova o resguardo interior do guarda-lamas da máquina (Figura 13).
Note: Elimine os fixadores de pressão que removeu.

Repita os passos 1 a 5 para o guarda-lamas e resguardo interior no outro lado da máquina.
Desligue os dois conectores elétricos (duas tomadas) da cablagem da máquina dos conectores de dois pinos dos faróis esquerdo e direito (Figura 14).

Retire os nove fixadores de pressão que prendem o capot ao painel de instrumentos e chassis da máquina (Figura 15).
Note: Guarde os fixadores de pressão para instalação em Instalação do capot.

Retire o capot da máquina (Figura 15).
Note: Elimine os fixadores de pressão que removeu.
Peças necessárias para este passo:
| Conjunto de tubos – Peça Toro N.º 114–9553 | 2 |
| Braçadeira de cabos | 8 |
No painel de ligação do compressor para o kit de marcador de espuma, prenda uma braçadeira de cabos em torno da tubagem transparente e azul para a secção de pulverização direita (Figura 16).


Pressione o anel de fixação (Figura 17).

Retire o tubo para fora da união (Figura 17).
Repita os passos 2 a 3 para os outros três tubos das secções de pulverização.
No painel de ligação do compressor para o kit de marcador de espuma, prenda uma braçadeira de cabos em torno da tubagem transparente e azul para a secção de pulverização direita (Figura 18).


Desaperte as porcas de compressão dos dois tubos transparentes e dos dois tubos azuis para os bicos de espuma nas secções de pulverização esquerda e direita (Figura 18).
Retire os quatro tubos das uniões de compressão das secções de pulverização (Figura 18).
Na secção de pulverização exterior, utilize um pedaço de fita para marcar os tubos de líquido e de ar esquerdos para a secção de pulverização esquerda e os tubos de líquido e de ar direitos para a secção de pulverização direita.
Mova os tubos para os bicos da espuma nas secções de pulverização esquerda e direita para trás e através do grampo em R perto do ponto de articulação para a secção de pulverização (Figura 19).

Se a sua máquina tiver o kit de extensão da rampa central instalado, prenda sem apertar a extremidade livre dos tubos do líquido e do ar à secção de pulverização exterior. e ignore os procedimentos para Preparação dos novos conjuntos dos tubos para os bicos do marcador de espuma e Instalação do novo conjunto dos tubos.
Retire as braçadeiras dos cabos que prendem os tubos do líquido e do ar do kit do marcador de espuma à secção de pulverização exterior (Figura 20).

No bico do marcador de espuma, desaperte a porca de compressão que prende o tubo azul (água) à união de compressão azul do bico do marcador de espuma (Figura 21).

Desaperte a porca de compressão que prende o tubo transparente (ar) à união de compressão branca do bico do marcador de espuma (Figura 21).
Retire os tubos do ar e do líquido da máquina.
Retire as porcas da compressão nas extremidades dos tubos (Figura 21).
Note: Guarde as porcas da compressão para instalação no passo 1 de Instalação do novo conjunto dos tubos.
Alinhe os tubos de líquido e de ar velhos (Figura 22) com o novo conjunto de tubos (Peça Toro N.º 114–9553).

Utilize um pedaço de fita para marcar o comprimento dos tubos de líquido e de ar velhos no novo conjunto de tubos.
No novo conjunto de tubos, acrescente 26 cm de comprimento a partir da marca que fez no passo 7, marque o conjunto de tubos e corte os tubos na segunda marca (mais comprida) (Figura 22).
Se os tubos de líquido e de ar velhos estiverem marcados com uma braçadeira de cabos, marque o novo conjunto de tubos com uma braçadeira; caso contrário avance para o passo 10.
Note: Já não precisa dos tubos de líquido e de ar velhos.
Retire 77 a 102 mm do revestimento em cada extremidade do conjunto de tubos (Figura 22).
Repita os passos 1 a 10 para os tubos do líquido e do ar no outro lado da máquina.
Passe a porca de compressão azul pelas extremidades do tubo azul e a porca de compressão branca pelo tubo transparente (Figura 23).

Alinhe a extremidade do tubo transparente com a porca de compressão branca com a união branca do bico do marcador de espuma e aperte a porca de compressão à mão (Figura 23).
Alinhe a extremidade do tubo azul com a porca de compressão azul com a união azul do bico do marcador de espuma e aperte a porca de compressão à mão (Figura 23).
Passe o conjunto dos tubos pelo lado traseiro do poste de suporte superior da secção de pulverização externa, como se mostra na Figura 24.
Important: Se o conjunto dos tubos estiver instalado no lado errado do poste de suporte superior, os tubos ficarão apertados entre a cavidade e a secção de pulverização exterior quando as rampas estiverem na posição de transporte.

Prenda o conjunto dos tubos ao orifício no suporte do bico com uma braçadeira de cabos como se mostra na Figura 25.

Prenda o conjunto dos tubos à secção de pulverização exterior com braçadeiras de cabos como se mostra na Figura 24.
Prenda sem apertar a extremidade livre do conjunto dos tubos à secção de pulverização exterior.
Repita os passos 1 a 6 para o conjunto dos tubos no outro lado da máquina.
Desligue o conector de três pinos da cablagem do kit de nivelação da rampa ultra sonic do conector de três tomadas da cablagem da máquina (Figura 26).

Repita o passo 1 para o conector de três pinos da cablagem da rampa ultra sonic no outro lado da máquina.
Enquanto segura a cobertura da secção central (11 bicos), retire os quatro parafusos de cabeça flangeada (5/16 pol. x 1¼ pol.) e as duas fitas da cobertura que prendem a cobertura ao suporte da cobertura (Figura 27).

Remova a cobertura da secção central da máquina (Figura 28).
Note: Guarde a cobertura para montagem, as fitas da cobertura e os parafusos de cabeça flangeada para colocação nos passos 1 e 2 de Instalação da cobertura da rampa central.

Note: Se a sua máquina estiver equipada com um kit de pistola de pulverização opcional, consulte Desligação do tubo sensor de pressão e tubo de alimentação.
Pressione o anel no acoplador do tubo no cotovelo a 90° da válvula da secção de pulverização direita (Figura 30).

Puxe o tubo sensor de pressão do indicador no painel do acoplador do tubo (Figura 30).
Note: Não retire o cotovelo de 90° para a válvula de bloqueio para o tubo de alimentação da cilindro da flange da válvula da secção da rampa direita.
Desligue o conector de três tomadas rotulado VáLVULA DE PULVERIZAçãO ESQUERDA, VáLVULA DE PULVERIZAçãO CENTRAL, e VáLVULA DE PULVERIZAçãO DIREITA (left spray valve/center spray valve/right spray valve) da cablagem da máquina dos conectores de três pinos dos três acionadores da válvula de pulverização (Figura 31).

Desligue o conector de quatro tomadas da cablagem da máquina rotulado VáLVULA DE APLICAçãO (rate valve) do conector de quatro pinos do acionador da válvula de aplicação (Figura 32).

Desligue o conector de três tomadas da cablagem da máquina rotulado VáLVULA DE PULVERIZAçãO PRINCIPAL (master spray valve) do conector de três pinos do acionador da válvula de pulverização principal (Figura 32).
Peças necessárias para este passo:
| Braçadeira de cabos | 1 |
| Tampão do interruptor | 1 |
Retire os quatro parafusos de cabeça flangeada (¼ pol. x ½ pol.) que prendem o painel dos três interruptores à consola de controlo (Figura 33).

Aperte as abas de bloqueio do interruptor de controlo da aplicação juntando-as e pressione o interruptor para fora do painel de três interruptores (Figura 34).

Desligue o conector de oito tomadas da cablagem da máquina rotulado interruptor de aplicação (rate switch) do conector de oito pinos do interruptor (Figura 33).
Note: Já não precisa do interruptor da aplicação que retirou da máquina.
Encaminhe a secção da cablagem dianteira para o interruptor da aplicação através da abertura no painel de três interruptores e prenda a secção da cablagem numa secção de cablagem adjacente com uma braçadeira de cabos.
Monte o painel de três interruptores na consola de controlo (Figura 34) com os quatro parafusos de cabeça flangeada (¼ pol. x ½ pol.) que retirou no passo 1.
Alinhe o tampão do interruptor com a abertura no painel de três interruptores de onde retirou o interruptor da aplicação (Figura 33).
Insira o tampão do interruptor no painel de três interruptores até o tampão encaixar e ficar bem preso no painel (Figura 33).
Na secção de pulverização exterior, retire a braçadeira de tubos que prende o tubo da secção do pulverizador à união estriada em T (Figura 35).

Retire o tubo da união em T (Figura 35).
Retire a extremidade livre do tubo do grampo em R (Figura 35).
Repita os passos 1 a 3 para o tubo de alimentação na outra secção de pulverização exterior.
Sob a secção de pulverização central, retire a braçadeira de tubos que prende o tubo de alimentação para a secção de pulverização central à união estriada em T (Figura 36).

Retire os retentores que prendem os acopladores rápidos dos tubos de alimentação esquerdo, central e direito das válvulas da secção de pulverização (Figura 37).
Note: Guarde os retentores para instalação em Montagem dos tubos nas válvulas do bico 7 a 10.

Retire os tubos de alimentação da secção esquerda, central e direita dos acopladores rápidos das válvulas de secção de pulverização e retire os tubos da máquina (Figura 37).
Note: Já não precisa dos tubos para os tubos de alimentação da secção esquerda, central e direita.
Retire os tubos das portas de extensão dos cilindros de elevação esquerdo e direito (Figura 39).


Retire os tubos das portas C2 e C4 do coletor do cilindro de elevação (Figura 39).
Retire os tubos das portas de retração dos cilindros de elevação esquerdo e direito (Figura 39).
Retire os tubos das portas C1 e C3 do coletor do cilindro de elevação (Figura 39).
Note: Já não precisa dos tubos.
Capacidade do equipamento de elevação: 91 kg
Note: Exceto quando indicado, guarde todas as fixações; vai utilizá-las para instalar a extensão da rampa central.
Utilize equipamento de elevação com a capacidade especificada para suportar a secção de pulverização exterior.
Retire o perno de gancho e o passador de forquilha que prendem a extremidade da barra do cilindro de elevação ao suporte da articulação (Figura 40).
Note: Guarde o passador de forquilha e o perno de gancho para colocação em Montagem dos cilindros de elevação.

Retire a porca de bloqueio flangeada (5/16 pol.) e o parafuso de cabeça flangeada (5/16 pol. x ¾ pol.) que prendem o pino de articulação à montagem do cilindro (Figura 41).

Retire o pino de articulação e o cilindro de elevação da máquina (Figura 41).
Realize os passos em Retiração das secções de pulverização exteriores.
Capacidade do equipamento de elevação: 91 kg
Note: Se a sua máquina estiver equipada com o kit de rampa coberta opcional, deixe as coberturas instaladas nas secções de pulverização exterior.
Elevar máquinas pesadas e acessórios de uma forma incorreta pode causar ferimentos ou morte.
Ao elevar máquinas pesadas e acessórios utilize equipamento de elevação como, por exemplo, correntes e cintas, que seja classificado para o peso do equipamento.
Note: Exceto quando indicado, guarde todas as fixações; vai utilizá-las para instalar a extensão da rampa central.
Retire o parafuso flangeado (5/16 pol. x 1 pol.) e a porca de bloqueio flangeada (5/16 pol.) que fixam o pino de articulação ao suporte da articulação (Figura 42).

Retire o pino de articulação do suporte da articulação para a secção de pulverização central e a união da articulação para a secção de pulverização exterior (Figura 42).
Note: Guarde o parafuso flangeado, a porca flangeada e o pino de articulação para colocação em Retiração das secções de pulverização exteriores.
Separe a secção de pulverização exterior da secção de pulverização central e retire a secção exterior da máquina (Figura 42).
Retire os dois casquilhos de flange de nylon da união da articulação da secção de pulverização exterior (Figura 42).
Note: Deite fora os casquilhos.
Repita os passos 1 a 3 em Retiração dos cilindros de elevação para a secção de pulverização exterior no outro lado da máquina.
Repita os passos 1 a 4 desta secção para a secção de pulverização exterior no outro lado da máquina.
Retire o coletor de elevação da secção da montagem do cilindro da seguinte forma:
Para máquinas sem o kit de nivelação da rampa ultra sonic opcional: retire as duas porcas flangeadas (5/16 pol.) e os dois parafusos de cabeça flangeada (5/16 pol. x 1 pol.) que prendem o suporte para o coletor de elevação da secção à montagem do cilindro e retire o coletor e o suporte da montagem do cilindro (Figura 43).

Para máquinas com o kit de nivelação da rampa ultra sonic opcional: retire as duas porcas flangeadas (5/16 pol.) e os dois parafusos de cabeça flangeada (5/16 pol. x 1 pol.) que prendem o suporte para o coletor de elevação da secção e o suporte do controlador TEC à montagem do cilindro e retire o coletor e o suporte da montagem do cilindro (Figura 44).

Suporte o coletor de elevação da secção atando-o ao suporte da montagem da válvula do pulverizador com uma corda.
Note: Guarde o suporte e o coletor de elevação, os parafusos e as porcas para instalação em Montagem do coletor do cilindro de elevação na montagem do cilindro.
Capacidade do equipamento de elevação: 41 kg
Se a sua máquina estiver equipada com o kit de rampa coberta opcional, retire a cobertura das secções de pulverização central.
Suporte a secção de pulverização central com o equipamento de elevação com a capacidade especificada (Figura 45).

Utilize um pedaço de fita para marcar os orifícios onde os quatro parafusos de cabeça flangeada (½ pol. x 1¼ pol.) e as quatro porcas de bloqueio flangeadas (½ pol.) prendem os suportes para a secção de pulverização central à placa de montagem da máquina (Figura 46).

Retire os quatro parafusos de cabeça flangeada (½ pol. x 1¼ pol.) e as quatro porcas de bloqueio de cabeça flangeada (½ pol.) que prendem os suportes da secção de pulverização central à placa de montagem na estrutura da máquina e retire a secção de pulverização central da máquina (Figura 47).
Note: Guarde os parafusos e as porcas de bloqueio para a colocação da nova secção de pulverização central.

Peças necessárias para este passo:
| Parafuso com cabeça flangeada (⅜ pol. x 1 pol.) | 2 |
| Porcas de bloqueio flangeadas (⅜ pol.) | 2 |
| Extensão da rampa central | 1 |
| Montagem do cilindro (larga) | 1 |
| Placa de ancoragem (larga) | 1 |
| Parafuso de carroçaria (½ pol. x 1¼ pol.) | 4 |
| Porca flangeada (½ pol.) | 4 |
Na secção de pulverização central, retire a porca de bloqueio flangeada que prende o bico do pulverizador à montagem do bico (Figura 48 e Figura 49).
Note: Guarde a porca de bloqueio para colocação no passo 6 de Instalação dos bicos do pulverizador e os tubos na secção de pulverização central.


Retire o parafuso de aço inoxidável (N.º 12 x 1¼ pol.) que prende a metade do grampo superior e a haste do tubo roscado simples ou dupla (3/4 pol.) ao corpo do bico do pulverizador e separe a haste do tubo roscado e o tubo do bico (Figura 50).
Note: O parafuso com cabeça sextavada (5/16 pol. x ¾ pol. – aço inoxidável) vai separar a metade do grampo superior quando abrir o grampo; guarde o parafuso para instalação.

Retire o bico da secção de pulverização central (Figura 48 e Figura 49).
Repita os passos 1 e 2 para os outros 2 bicos do pulverizador.
Note: Guarde os bicos do pulverizador, os parafusos de aço inoxidável e os parafusos de cabeça sextava para instalação no passo 6 e 7 de Montagem dos bicos do pulverizador e os tubos para a secção de pulverização central.
Retire os tubos (¾ pol. de diâmetro interior), as hastes do tubo roscado, os grampos e a união em T estriada da secção de pulverização central (Figura 48).
Note: Já não precisa do tubo, das hastes do tubo, dos grampos e a união em T.
Capacidade do equipamento de elevação: 41 kg
Suporte a secção de pulverização central com o equipamento de elevação com a capacidade especificada.
Retire os dois parafusos de cabeça flangeada (⅜ pol. x 1 pol.) e as duas porcas de bloqueio flangeadas (⅜ pol.) que prendem o suporte à secção de pulverização central e retire o suporte (Figura 51).

Retire os dois parafusos de cabeça flangeada (⅜ pol. x 1 pol.) e as duas porcas de bloqueio flangeadas (⅜ pol.) que prendem o outro suporte à secção de pulverização central e retire o suporte (Figura 51).
Note: Guarde os suportes, os parafusos e as porcas de bloqueio para colocação nos passos 3 e 4 de Montagem dos suportes na secção de pulverização central.
Retire os dois parafusos de cabeça flangeada (⅜ pol. x 1 pol.) e as duas porcas de bloqueio (⅜ pol.) que prendem as flanges verticais das estruturas de armação esquerda e direita (Figura 52).

Retire os dois parafusos de carroçaria (½ pol. x 1¼ pol.) e as duas porcas de bloqueio (½ pol.) que prendem a montagem do cilindro estreita, as estruturas de armação esquerda e direita e a placa de ancoragem estreita (Figura 53).

Note: Guarde os parafusos de cabeça flangeada, os parafusos de carroçaria e as porcas de bloqueio para colocação nos passos 2 e 7 de Instalação da extensão da rampa central. Já não precisa da montagem do cilindro estreita nem da placa de ancoragem estreita.
Separe as estruturas de armação esquerda e direita.
Alinhe os orifícios nas flanges verticais da extensão da rampa central com os orifícios na estrutura da armação (Figura 54).

Monte sem apertar a extensão da rampa central à estrutura da armação (Figura 54) com os dois parafusos de cabeça flangeada (⅜ pol. x 1 pol.) e as 2 porcas de bloqueio flangeadas (⅜ pol.) que retirou no passo 1 de Separação das armações da secção de pulverização central.
Alinhe os orifícios nas flanges verticais da extensão da rampa central com os orifícios na outra estrutura da armação (Figura 54).
Monte sem apertar a extensão da rampa central à outra estrutura da armação (Figura 54) com os dois parafusos de cabeça flangeada (⅜ pol. x 1 pol.) e as 2 porcas de bloqueio flangeadas (⅜ pol.) do kit de acabamento de sistema de pulverização GeoLink (Figura 54).
Alinhe os orifícios da montagem do cilindro com os orifícios na linha central da estrutura da armação e da extensão da rampa central (Figura 55).

Insira a placa de ancoragem na estrutura da armação e na extensão da rampa central e alinhe o orifício da placa com os orifícios na linha central das armações e da extensão da rampa (Figura 55).
Monte a montagem do cilindro, as armações, a extensão da rampa central e a placa de ancoragem com os 2 parafusos de carroçaria (½ pol. x 1¼ pol.) e as 2 porcas de bloqueio flangeadas (½ pol.) que retirou no passo 2 de Separação das armações da secção de pulverização central e com os quatro parafusos de carroçaria (½ pol. x 1¼ pol.) e as quatro porcas de bloqueio flangeadas (½ pol.) do kit de acabamento de sistema de pulverização GeoLink (Figura 55).
Aperte os parafusos de cabeça flangeada de ⅜ pol. e as porcas de bloqueio com uma força de 37 a 45 N·m.
Aperte as porcas de bloqueio flangeadas de ½ pol. com uma força de 91 a 113 N·m.
Peças necessárias para este passo:
| Bico do pulverizador | 2 |
| Conjunto dos tubos (válvula do pulverizador 5 ou 6) | 2 |
| Porca flangeada (5/16 pol.) | 2 |
Capacidade do equipamento de elevação: 55 kg
Suporte a secção de pulverização central com o equipamento de elevação com a capacidade especificada.
Alinhe os orifícios no suporte direito com os orifícios na estrutura da armação direita, como se mostra na Figura 56.

Monte o suporte direito na estrutura da armação direita (Figura 56) com os dois parafusos de cabeça flangeada (⅜ pol. x 1 pol.) e as duas porcas de bloqueio flangeadas (⅜ pol.) que retirou nos passos 2 e 3 de Retiração dos suportes da secção de pulverização central.
Repita os passos 2 e 3 para o suporte esquerdo na estrutura da armação esquerda (Figura 56).
Aperte os parafusos de cabeça flangeada e as porcas com uma força de 37 a 45 N·m.
Utilizando o equipamento de elevação, levante a nova secção de pulverização central até atingir uma altura de trabalho confortável.
Trabalhando com dois bicos do pulverizador do kit de acabamento de sistema de pulverização GeoLink, retire o parafuso de aço inoxidável que prende a metade do grampo superior à sela (Figura 57).

Localize o orifício na lateral da haste do tubo estriado simples na extremidade do tubo (25 cm) do conjunto do tubo (válvula do pulverizador 5 ou 6) para a secção de pulverização central (Figura 57 e Figura 58).

Alinhe o tubo de transferência na sela de um bico do pulverizador (Figura 57) com o orifício na lateral da haste do tubo estriado simples (13 mm).
Feche a metade do grampo superior em torno da haste do tubo estriado e prenda a metade do grampo e o corpo do bico do pulverizador (Figura 57) com o parafuso de aço inoxidável (N.º 12 x 1¼ pol.); aperte o parafuso de aço inoxidável com 14 a 18 N∙m.
Important: Não aperte o parafuso de aço inoxidável mais do que o binário especificado no passo 5.
Note: Certifique-se de que o parafuso de cabeça sextavada (5/16 pol. x ¾ pol.) fica assente no entalhe na metade do grampo superior quando fechar o grampo.
Trabalhando com o bico do pulverizador, o parafuso de cabeça sextavada e o parafuso de aço inoxidável que retirou nos passos 1 e 2 de Remoção dos bicos do pulverizador, repita os passos 3 a 5 para a haste do tubo roscado simples (Figura 57 e Figura 58) na extremidade do outro tubo (25 cm).
Trabalhando com os dois bicos do pulverizador que retirou no passo 4 de Remoção dos bicos do pulverizador, repita os passos 3 a 5 para as hastes do tubo roscado simples do outro conjunto dos tubos (válvula do pulverizador 5 ou 6) para a secção de pulverização central (Figura 57 e Figura 58).
Passe o tubo 13 mm e o conjunto do bico entre os tirantes da armação da armação exterior (Figura 59).

Passe o tubo e o bico por cima do tirante da armação e para fora para a montagem do bico exterior (Figura 59).
Alinhe o parafuso de cabeça sextavada (5/16 pol. x ¾ pol.) do bico do pulverizador através do orifício na montagem do bico e prenda sem apertar o bico na montagem com uma porca de bloqueio flangeada (5/16 pol.) do kit de acabamento de sistema de pulverização GeoLink (Figura 60).

Passe o outro tubo (13 mm) e o conjunto do bico entre os tirantes da armação da armação exterior (Figura 59).
Passe o tubo e o bico por cima do tirante da armação e para dentro para a montagem do bico interior (Figura 59).
Alinhe o parafuso de cabeça sextavada (5/16 pol. x ¾ pol.) do bico do pulverizador através do orifício na montagem do bico (Figura 60) e prenda sem apertar o bico na montagem com uma porca de bloqueio flangeada (5/16 pol.) que retirou nos passos 1 e 4 de Remoção dos bicos do pulverizador.
Aperte a porca de bloqueio flangeada com 1978 a 2542 N·cm.
Passe o tubo e a ligação roscada 13 x 810 mm para a lateral da secção de pulverização central com os suportes esquerdo e direito (Figura 59).
Repita os passos 1 a 8 para o outro tubo e conjunto do bico na outra armação exterior (Figura 59 e Figura 60).
Peças necessárias para este passo:
| Tampa (acoplador rápido) | 3 |
| Retentor | 3 |
Retire a extremidade superior do tubo de distribuição da seguinte forma:
Para máquinas sem o kit de varinha manual opcional ou o kit de cilindro de tubagem elétrico opcional, retire o pequeno retentor que prende a união de desligação rápida do tubo de distribuição à união de desligação rápida da válvula de distribuição da secção direita (Figura 61).

Para máquinas com o kit de varinha manual opcional ou kit de cilindro de tubagem elétrico opcional, realize os seguintes passos:
Guarde o retentor que prende a união de ligação rápida da válvula de corte à tomada de ligação rápida da válvula de distribuição da secção direita e separe a válvula da tomada (Figura 62).

Guarde o retentor que prende a união de ligação rápida da válvula de corte à tomada de ligação rápida da união estriada de 90° e separe a válvula da tomada (Figura 62).
Note: Guarde a válvula de corte e retentores para instalação em Montagem da válvula de corte no tubo de distribuição.
Retire o retentor grande que prende a união estriada de 90° na extremidade inferior do tubo de distribuição para a união do anteparo do depósito do pulverizador (Figura 63).
Note: Guarde o retentor grande para instalação em Montagem dos tubos de distribuição para o depósito.

Retire o tubo de distribuição da máquina.
Note: Já não precisa do tubo de distribuição e do pequeno retentor.
Retire os três retentores que prendem os três acionadores das válvulas às válvulas da secção esquerda, central e direita (Figura 64).

Retire os acionadores das válvulas das válvulas da secção esquerda, central e direita (Figura 64).
Retire o retentor que prende a tampa à união de desligação rápida da válvula de distribuição e retire a tampa (Figura 65).
Note: Já não precisa da tampa.

Retire os três retentores que prendem as três válvulas de distribuição às válvulas da secção esquerda, central e direita (Figura 66).

Levante as válvulas de distribuição das válvulas de secção (Figura 66).
Rode as válvulas de distribuição 180° e monte-as nas uniões de desligação rápida das válvulas de secção (Figura 66).
Prenda as três válvulas de distribuição nas válvulas de secção com os três retentores que removeu no passo 4 (Figura 66).
Monte a tampa na tomada de ligação rápida da válvula de distribuição (Figura 67).

Prenda a tampa à tomada de ligação rápida com o retentor que retirou no passo 3 (Figura 67).
Monte os três acionadores de válvula às válvulas da secção esquerda, central e direita (Figura 64) com os retentores que retirou no passo 1.
Note: Vai acrescentar as válvulas de secção às válvulas para o sistema de pulverização GeoLink de 10 válvulas em Montagem das três válvulas de secção na montagem da válvula.
Retire os dois parafusos de cabeça flangeada (¼ pol. x ¾ pol.) e as duas porcas de bloqueio (¼ pol.) que prendem a válvula da secção da rampa esquerda à montagem do coletor (Figura 68).
Note: Já não precisa dos dois parafusos de cabeça flangeada nem das porcas de bloqueio.

Retire os dois parafusos de cabeça flangeada (¼ pol. x ¾ pol.) e as duas porcas de bloqueio (¼ pol.) que prendem a válvula da secção da rampa direita à montagem do coletor (Figura 68).
Retire a braçadeira de flange de 40 a 64 mm e a junta de 25 x 35 mm que prendem a flange da válvula da secção esquerda ao adaptador (Figura 68).
Note: Guarde os dois parafusos de cabeça flangeada, as duas porcas de bloqueio, a abraçadeira de flange e a junta para instalação em Montagem das três válvulas de secção na montagem da válvula.

Remova as três válvulas de secção da máquina (Figura 69).
Retire os autocolantes dos acionadores das três válvulas de secção (Figura 70).

Retire a braçadeira de flange de 51 mm e a junta de 38 mm que prendem a flange do adaptador à flange do fluxímetro (Figura 71).
Note: Guarde a braçadeira flangeada e junta para instalação em Montagem do coletor no fluxímetro.

Peças necessárias para este passo:
| Montagem do fluxímetro | 1 |
| Metade do grampo de suporte | 4 |
| Parafuso (¼ pol. x 4½ pol.) | 4 |
| Porcas de bloqueio flangeadas (¼ pol.) | 4 |
Desligue o conector de três tomadas da cablagem da máquina rotulada FLUXíMETRO (flow meter) do conector de três pinos do fluxímetro (Figura 72).

Retire os dois fixadores de pressão da cablagem da máquina da flange inferior do suporte da válvula de secção (Figura 72).
Retire os quatro parafusos de cabeça flangeada (5/16 pol. x ¾ pol.) que prendem o suporte da válvula de secção da montagem da válvula e retire o suporte da válvula da máquina (Figura 73).
Note: Guarde os quatro parafusos de cabeça flangeada para instalação em Instalação da montagem e grampos do fluxímetro; já não precisa do suporte da válvula de secção.

Alinhe os furos no suporte do fluxímetro com os furos na montagem da válvula (Figura 74).

Monte o suporte do fluxímetro na montagem da válvula com os quatro parafusos de cabeça flangeada que retirou no passo 3 de Remoção do suporte da válvula de secção e aperte os parafusos com 1978 a 2542 N·cm.
Alinhe as duas metades de grampo dos suportes entre o fluxímetro e o suporte do fluxímetro e alinhe os furos nas metades dos grampos com os furos no suporte (Figura 75).

Alinhe uma metade do grampo do suporte no lado traseiro do fluxímetro com uma das metades do grampo que montou no passo 3 (Figura 75).
Monte o par de metades do grampo no suporte do fluxímetro (Figura 75) com dois parafusos (¼ pol. x 4½ pol.) e duas porcas de bloqueio flangeadas (¼ pol.).
Repita os passos 4 e 5 na outra metade do grampo que montou no passo 3.
Aperte os parafusos e porcas com uma força de 1017 a 1243 N·cm.
Peças necessárias para este passo:
| Cablagem traseira | 1 |
| Braçadeira de cabos | 7 |


Localize a secção da cablagem com 84 cm, a secção com 60 cm e a secção com 66 cm da cablagem do kit (Figura 76 e Figura 77).
Encaminhe a secção da cablagem com 84 cm, a secção com 60 cm e a secção com 66 cm da cablagem do kit para o lado esquerdo da máquina ao longo da cablagem da máquina (Figura 78 e Figura 79).


Encaminhe a secção da cablagem com 84 cm, a secção com 60 cm e a secção com 66 cm da cablagem do kit para a frente da máquina ao longo do canal da estrutura esquerda (Figura 81 e Figura 82).



Encaminhe a secção da cablagem com 84 cm, a secção com 60 cm e a secção com 66 cm da cablagem do kit ao longo da cablagem da máquina, no exterior do conjunto do travão de estacionamento (Figura 83).

Encaminhe a secção da cablagem com 84 cm, a secção com 60 cm e a secção com 66 cm da cablagem do kit através do tubo de suporte do para-choques, como se mostra na Figura 84.

Prenda a cablagem do kit à cablagem da máquina como se mostra na Figura 82, Figura 83 e Figura 84.
Na parte de trás da máquina, encaminhe a secção da cablagem com 89 cm para a frente do coletor de elevação e para a direita do fluxímetro, como se mostra na Figura 85.

Encaminhe a secção da cablagem com 102 cm para trás do coletor de elevação e para a direita, como se mostra na Figura 85.
Ligue o conector de três pinos da secção de cablagem de 89 cm rotulado PULVERIZADOR ESQUERDO (left spray) ao conector de três tomadas da cablagem da máquina rotulado VáLVULA DO PULVERIZADOR ESQUERDO (left spray valve) (Figura 86).

Ligue o conector de três pinos da cablagem rotulado PULVERIZADOR CENTRAL (center spray) ao conector de três tomadas da cablagem da máquina rotulado VáLVULA DO PULVERIZADOR CENTRAL (center spray valve) (Figura 86).
Ligue o conector de três pinos da cablagem do kit rotulado PULVERIZADOR DIREITO (right spray) ao conector de três tomadas da cablagem da máquina rotulado VáLVULA DO PULVERIZADOR DIREITO (right spray valve) (Figura 86).
Insira o fixador de pressão da cablagem do kit no furo na flange do suporte do fluxímetro (Figura 86).
Ligue o conector de três tomadas da secção com 89 cm da cablagem rotulado FLUXíMETRO (flow meter) no conector de três pinos do fluxímetro (Figura 87).

Ligue o conector de três pinos da secção de cablagem de 89 cm do kit rotulado VáLVULA PRINCIPAL (master valve) ao conector de três tomadas da cablagem da máquina rotulado VáLVULA DO PULVERIZADOR PRINCIPAL (master spray valve) (Figura 88).

Ligue o conector de três pinos do atuador da válvula de pulverização principal no conector de três tomadas da secção com 89 cm da cablagem do kit rotulada VáLVULA PRINCIPAL (master valve) (Figura 88).
Ligue o conector de quatro pinos do atuador da válvula de aplicação principal no conector de quatro tomadas da secção com 89 cm da cablagem do kit rotulado VáLVULA DE APLICAçãO (rate valve) (Figura 89).

Peças necessárias para este passo:
| Tubo reto com entalhe (1 x 2 pol.) | 1 |
| Braçadeira de tubos (¾ pol. a 1½ pol.) | 3 |
| Tubo (3 x 5¾ pol.) | 1 |
| Coletor | 1 |
| Tubagem (1 x 16 pol.) | 1 |
Monte o tubo (1 x 5¾ pol.) no tubo reto com entalhe (1 x 2 pol.) com uma braçadeira de tubos (¾ pol. a 1½ pol.) e aperte a braçadeira à mão (Figura 90).

Monte a outra extremidade do tubo (1 x 5¾ pol.) na união estriada do coletor com uma braçadeira de tubos como se mostra na Figura 90 e aperte a braçadeira à mão.
Monte o tubo (1 x 16 pol.) na outra união estriada do coletor com uma braçadeira de tubos e aperte a braçadeira à mão (Figura 90).
Monte o tubo reto com entalhe (1 x 2 pol.) na flange do fluxímetro com a junta de 38 mm e braçadeira de flange de 51 mm que removeu no passo 6 de Retiração das válvulas de secção da montagem do coletor.

Aperte a braçadeira flangeada à mão (Figura 91).
Peças necessárias para este passo:
| União de ligação rápida de 90 ° (tomada – 1 pol.) | 2 |
| Tubo (1 x 26 pol.) | 2 |
| Braçadeira de tubos (¾ pol. x 1-1/5 pol.) | 5 |
| União em T (1 x 1 x 1 pol.) | 1 |
| Conjunto de união estriada de 90° e tubo | 1 |
| Válvula de bloqueio | 1 |
Monte a união de ligação rápida de 90° (tomada – 1 pol.) no tubo (1 x 26 pol.) e prenda o tubo à união com uma abraçadeira como se mostra na Figura 92.

Monte a extremidade livre do tubo na união em T como se mostra na Figura 92 e prenda o tubo à união com uma braçadeira de tubos.
Repita os passos 1 a 2 para a outra união estriada de 90°, união de ligação rápida e tubo.
Monte a união estriada de 90 ° e o conjunto do tubo na união em T e prenda o tubo à união com uma braçadeira de tubos (Figura 92).
Como se mostra na Figura 93, remova o retentor da união de ligação rápida de 90° que montou em Montagem dos tubos de distribuição.

Monte a válvula de corte na tomada da união de desligação rápida Figura 93.
Prenda a válvula na união com o retentor que retirou no passo 1.
Monte a válvula de corte e retentor que removeu no passo 1 de Remover o tubo de distribuição de secção na outra tomada de união de ligação rápida (Figura 93).
Alinhe o conjunto dos tubos de distribuição para o depósito do pulverizador (Figura 94).


Monte a união estriada de 90° na união do anteparo do depósito do pulverizador e prenda as uniões com o retentor que retirou no passo 2 de Remover o tubo de distribuição de secção.
Capacidade do equipamento de elevação: 55 kg
Utilizando equipamento de elevação com a capacidade de elevação especificada, levante a secção da rampa central e alinhe os orifícios no suporte para a secção do pulverizador (Figura 95) com os furos da placa de montagem da estrutura da máquina que identificou no passo 3 de Remoção da secção de pulverização central.

Monte a secção do pulverizador central nos canais de montagem (Figura 95) com os quatro parafusos de cabeça flangeada (½ pol. x 1¼ pol.) e as quatro porcas de bloqueio flangeadas (½ pol.) que retirou no passo 4 em Remoção da secção de pulverização central.
Aperte as porcas e os parafusos com uma força de 91 a 113 N·m.
Solte o coletor de elevação do suporte de montagem da válvula.
Monte o coletor de elevação da secção na montagem do cilindro da seguinte forma:
Para máquinas sem o kit de nivelação da rampa Ultra Sonic opcional:
Alinhe os orifícios no suporte para o coletor de elevação da secção com os orifícios na montagem do cilindro (Figura 96).

Monte o suporte na montagem do cilindro (Figura 96) com os dois parafusos de cabeça flangeada (5/16 pol. x 1 pol.) e a porca de bloqueio flangeada (5/16 pol.) que retirou no passo 1 de Retiração do coletor de elevação da secção da secção de pulverização central.
Para máquinas com o kit de nivelação da rampa Ultra Sonic opcional:
Alinhe os orifícios no suporte para o coletor de elevação da secção e o suporte do controlador TEC com os orifícios na montagem do cilindro.

Monte o suporte e o suporte TEC na montagem do cilindro (Figura 97) com os dois parafusos de cabeça flangeada (5/16 pol. x 1 pol.) e porca de bloqueio flangeada (5/16 pol.) que retirou no passo 1 de Retiração do coletor de elevação da secção da secção de pulverização central.
Aperte os parafusos e as porcas com uma força de 1978 a 2542 N·cm.
Peças necessárias para este passo:
| Conjunto da montagem da válvula e da válvula do pulverizador | 1 |
| Parafuso (4 x 10 mm) | 3 |
| Controlador do pulverizador ASC 10 | 1 |
| Porca de bloqueio flangeada (4 mm) | 3 |
| Tampa (união de desligação rápida) | 2 |
| Parafusos de cabeça flangeada (5/16 pol. x ¾ pol.) | 8 |
| Porcas de bloqueio flangeadas (5/16 pol.) | 8 |
| Braçadeira de tubos | 1 |
| Fixador de pressão (braçadeira de cabos) | 1 |
| Fixador de pressão (fixador do conector) | 3 |
Alinhe o controlador do pulverizador ASC 10 para o lado dianteiro da montagem da válvula com o conector de quatro pinos para fora (Figura 98).

Monte o controlador do pulverizador na montagem da válvula (Figura 98) com os quatro parafusos (3 x 10 mm) e as quatro porcas de bloqueio flangeadas (3 mm).
Note: Não utilize o furo exterior superior no controlador do pulverizador ASC 10.
Aperte os parafusos e porcas com uma força de 234 a 286 N·cm.
Retire os retentores que prendem os atuadores das válvulas das válvulas dos bicos 1 a 7 (Figura 99).

Retire os atuadores da válvula das válvulas dos bicos 1 a 7 (Figura 99).
Retire os retentores que prendem as tampas nas tomadas das uniões de desligação rápida na válvula do bico 5 e válvula do bico 6 e retire as tampas (Figura 100).
Note: Já não necessita das tampas; guarde os retentores para instalação em Instalação dos tubos de distribuição de secção – máquinas com o kit da varinha manual opcional ou o kit de cilindro de tubagem elétrico opcional.

Retire os retentores que prendem as válvulas dos bicos 1 a 7 (Figura 101).

Levante as válvulas de distribuição das válvulas do bico 1 a 5 (Figura 101).
Rode as válvulas de distribuição 180° e monte-as nas uniões de desligação rápida das válvulas de secção (Figura 102).

Prenda as válvulas de distribuição nas válvulas de secção com os retentores (Figura 102) que removeu no passo 4.
Repita os passos 5 a 7 para as válvulas de distribuição da válvula do bico 6 e válvula do bico 7 (Figura 103).

Monte as tampas nas uniões de desligação rápida da válvula do bico 5 e válvula do bico 6 com os retentores fornecidos com as tampas (Figura 102).

Monte os três acionadores de válvula nas válvulas do bico 1 a 7 (Figura 99) com os retentores que retirou no passo 1.
Monte as três válvulas de secção (Figura 105) que removeu no passo 8 de Retiração das válvulas de secção da montagem do coletor na flange da válvula 7 do conjunto de válvulas do pulverizador com a braçadeira de flange e junta que retirou no passo 4 de Retiração das válvulas de secção da montagem do coletor.
Important: As válvulas de secção esquerda, central e direita estão identificadas no sistema de pulverização GeoLink da seguinte forma: válvula da secção esquerda – válvula do bico 8, válvula da secção central – válvula do bico 9 e válvula da secção direita – válvula do bico 10.

Prenda a tomada do acoplador de desligação rápida da válvula de distribuição da válvula do bico 8 ao acoplador de desligação rápida da válvula de distribuição da válvula do bico 7 com o retentor que retirou no passo 8 de Retiração das válvulas de secção da montagem do coletor.

Monte a válvula do bico 10 na montagem da válvula (Figura 107Figura 108) com os dois parafusos de cabeça flangeada (¼ pol. x ¾ pol.) e as duas porcas de bloqueio flangeadas (¼ pol.) que retirou no passo 2 de Retiração das válvulas de secção da montagem do coletor.


Aperte os parafusos de cabeça flangeada e as porcas de bloqueio com 1017 a 1243 N·cm.
Capacidade do equipamento de elevação: 23 kg
Utilizando equipamento de elevação com a capacidade especificada, levante o conjunto de montagem da válvula e válvula do pulverizador e alinhe-o por cima da secção de pulverização central (Figura 109).

Alinhe os orifícios no suporte de montagem da montagem da válvula com os orifícios na estrutura da armação da secção de pulverização central (Figura 110).

Monte a montagem da válvula na estrutura da armação (Figura 110 e Figura 111) com quatro parafusos (5/16 pol. x ¾ pol.) e quatro porcas de bloqueio flangeadas (5/16 pol.).

Repita os passos 2 a 3 para o outro suporte de montagem da montagem da válvula na outra estrutura da armação.
Aperte os parafusos de cabeça flangeada e as porcas de bloqueio flangeadas com 1978 a 2542 N·cm.
Monte o tubo (1 x 16 pol.) por cima da união flangeada de 90° (1 pol.), como se mostra na Figura 112.

Fixe o tubo à união flangeada com uma braçadeira de tubos (Figura 112).
Instale a nova braçadeira de cabos/fixador de pressão no furo na parte superior da montagem da válvula como se mostra na Figura 112.
Prenda a braçadeira de cabos/fixador de pressão (Figura 112) em redor do tubo (1 x 16 pol.).
Retire os retentores das tomadas das uniões de ligação rápida que montou nos tubos de distribuição no passo 1 de Montagem dos tubos de distribuição.
Monte a união de ligação rápida do tubo de distribuição à união de desligação rápida da válvula de distribuição na válvula do bico 10 (Figura 113).

Prenda as uniões de desligação rápida do tubo de distribuição e a válvula de distribuição com o retentor (Figura 113).
Repita os passos 1 a 3 para as uniões de desligação rápida na válvula do bico 1.
Monte a união de desligação rápida da válvula de bloqueio de distribuição com a união de desligação rápida (tomada) da válvula de distribuição (Figura 114).

Prenda as uniões de desligação rápida da válvula de bloqueio de distribuição e da válvula de distribuição com o retentor (Figura 114) que removeu no passo 3 de Posicionar as válvulas de distribuição – máquinas com o kit de varinha opcional ou o kit de cilindro de tubagem elétrico opcional.
Repita os passos 1 e 2 para a válvula de corte de distribuição e a válvula de distribuição no outro lado da máquina.
Monte os fixadores de pressão do fixador do conector nos furos na montagem da válvula (Figura 115).


Ligue o conector de três tomadas (Figura 116) da secção com 89 cm da cablagem do kit rotulado VáLVULA DO BICO 1 (nozzle valve 1) no conector de três pinos do atuador da válvula mais à esquerda (posição 1).
Note: As posições 1 a 10 do atuador da válvula estão dispostas da esquerda para a direita estando atrás da máquina.
Ligue o conector de três tomadas (Figura 116) da secção com 89 cm da cablagem do kit rotulado VáLVULA DO BICO 2 (nozzle valve 2) no conector de três pinos do atuador da válvula (posição 2).
Ligue os restantes conectores de três tomadas da secção com 89 cm da cablagem do kit no conector de três pinos dos atuadores da válvula (Figura 116).
Note: Certifique-se de que o conector de três tomadas está ligado à posição relacionada do atuador da válvula.
Peças necessárias para este passo:
| Tubo hidráulico (¼ pol. x 24¾ pol.) | 4 |
Alinhe a extremidade fixa do cilindro de elevação que retirou no passo 3 de Retiração dos cilindros de elevação com o orifício de 16 mm na montagem do cilindro (Figura 117).
Note: Certifique-se de que as portas de extensão e retração do cilindro alinham.

Monte o cilindro na montagem do cilindro com o pino de articulação, o parafuso de cabeça flangeada e a porca flangeada (Figura 117).
Aperte o parafuso e porca com uma força de 1978 a 2542 N·cm.
Repita os passos de 1 a 3 para o outro cilindro de elevação no outro lado da montagem do cilindro.
Monte sem apertar o novo tubo hidráulico (¼ pol. x 24¾ pol.) entre a porta de extensão do cilindro de elevação da rampa esquerda e a porta C3 do coletor de elevação da rampa (Figura 118).

Monte sem apertar o novo tubo hidráulico (¼ pol. x 24¾ pol.) entre a porta de retração do cilindro de elevação da rampa esquerda e a porta C4 do coletor de elevação da rampa (Figura 118).
Monte sem apertar o novo tubo hidráulico (¼ pol. x 24¾ pol.) entre a porta de extensão do cilindro de elevação da rampa direita e a porta C1 do coletor de elevação da rampa (Figura 119).

Monte sem apertar o novo tubo hidráulico (¼ pol. x 24¾ pol.) entre a porta de retração do cilindro de elevação da rampa direita e a porta C2 do coletor de elevação da rampa (Figura 119).
Aperte as uniões do tubo nas portas de extensão e retração dos cilindros de elevação (Figura 118 e Figura 119) com 21 a 26 N·m.
Aperte as porcas da articulação dos tubos no coletor de elevação da rampa (Figura 118 e Figura 119) com 24 a 30 N·m.
Peças necessárias para este passo:
| Casquilho de flange de nylon | 4 |
| Braçadeira de cabos | 1 |
| Conjunto do tubo de alimentação 188 cm | 1 |
| Conjunto do tubo de alimentação 234 cm | 1 |
| Conjunto do tubo de alimentação 279 cm | 1 |
Corte o tubo entre os dois bicos do pulverizador (Figura 120).

Retire a porca de bloqueio flangeada (5/16 pol.) que prende o bico do pulverizador ao suporte do bico (Figura 120).
Repita os passos 2 e 1 para os outros três bicos.
Note: Guarde a porca de bloqueio flangeada e o bico do pulverizador para instalação em Instalação dos bicos do pulverizador nas secções de pulverização exterior.
Note: Elimine os tubos, os grampos e a união em T que retirou da máquina.
Repita os passos 2 a 3 na outra secção de pulverização exterior.
Trabalhando com os 8 bicos do pulverizador que retirou no passo 1, retire os parafusos de aço inoxidável (N.º 12 x 1¼ pol.) que prendem as metades do grampo superior e as hastes do tubo roscado simples ou duplas (¾4 pol.) ao corpo de cada bico do pulverizador e retire as hastes do tubo roscado (Figura 121).
Note: O parafuso com cabeça sextavada (5/16 pol. x ¾ pol. – aço inoxidável) vai separar a metade do grampo superior quando abrir o grampo; guarde o parafuso para instalação.

Capacidade do equipamento de elevação: 91 kg
Utilizando equipamento de elevação com a capacidade especificada, levante a secção da rampa exterior.
Insira um casquilho de flange de nylon no orifício com 31,8 mm em cada lado da união da articulação (Figura 122).

Alinhe os casquilhos da união da articulação com os orifícios nas flanges do suporte da articulação na extremidade da secção de pulverização central (Figura 123).

Monte a união da articulação no suporte da articulação com o pino de articulação, o parafuso de flange (5/16 pol. x 1 pol.) e a porca de bloqueio flangeada (5/16 pol.) que retirou no passo 2 de Retiração das secções de pulverização exteriores.
Aperte o parafuso e a porca com uma força de 1978 a 2542 N·cm.
Alinhe a extremidade da barra do cilindro de elevação com o orifício de 25 mm na protusão da união da articulação (Figura 124).

Prenda o cilindro de elevação à união da articulação com o passador de forquilha e o perno de gancho (Figura 124) que retirou no passo 2 de Retiração dos cilindros de elevação.
Repita os passos 1 a 7 na secção de pulverização exterior no outro lado da máquina.
Peças necessárias para este passo:
| Tubo de alimentação 279 cm | 2 |
| Tubo de alimentação 234 cm | 2 |
| Tubo de alimentação 188 cm | 4 |
| Tubo de alimentação 81 cm | 2 |
Identifique os tubos de alimentação pelo comprimento (Figura 125) para cada posição do bico do pulverizador da seguinte forma:
| Posições do bico do pulverizador – secção de pulverização esquerda | Posições do bico do pulverizador – secção de pulverização central | Posições do bico do pulverizador – secção de pulverização direita |
|---|---|---|
| Bico do pulverizador 1 (válvula do bico 1) – tubo de alimentação 279 cm | Bicos do pulverizador 5 e 6 (válvula do bico 5) – tubo de alimentação 81 cm com 2 secções de tubo | Bico do pulverizador 9 (válvula do bico 7) – tubo de alimentação 188 cm |
| Bico do pulverizador 2 (válvula do bico 2) – tubo de alimentação 234 cm | Bicos do pulverizador 7 e 8 (válvula do bico 6) – tubo de alimentação 81 cm com 2 secções de tubo | Bico do pulverizador 10 (válvula do bico 8) – tubo de alimentação 188 cm |
| Bico do pulverizador 3 (válvula do bico 3) – tubo de alimentação 188 cm | Bico do pulverizador 11 (válvula do bico 9) – tubo de alimentação 234 cm | |
| Bico do pulverizador 4 (válvula do bico 4) – tubo de alimentação 188 cm | Bico do pulverizador 12 (válvula do bico 10) – tubo de alimentação 279 cm |
Note: Consulte Figura 126 em Montagem dos tubos nas válvulas do bico 1 a 4, Figura 127 em Montagem dos tubos nas válvulas do bico 5 e 6 e Figura 128 em Montagem dos tubos nas válvulas do bico 7 a 10 para ver as posições da válvula do bico.

Monte a união estriada reta de um tubo de alimentação com 279 cm no acoplador da válvula do bico 1 (Figura 126).
Note: Certifique-se de que a união estriada fica bem colocada no acoplador.

Prenda a união estriada ao acoplador com um retentor (Figura 126).
Monte a união estriada reta de um tubo de alimentação com 234 cm no acoplador da válvula do bico 2 (Figura 126).
Note: Certifique-se de que a união estriada fica bem colocada no acoplador.
Prenda a união estriada ao acoplador com um retentor (Figura 126).
Monte a união estriada reta de um tubo de alimentação com 188 cm no acoplador da válvula do bico 3 (Figura 126).
Note: Certifique-se de que a união estriada fica bem colocada no acoplador.
Prenda a união estriada ao acoplador com um retentor (Figura 126).
Monte a união estriada reta de um tubo de alimentação com 188 cm no acoplador da válvula do bico 4 (Figura 126).
Note: Certifique-se de que a união estriada fica bem colocada no acoplador.
Prenda a união estriada ao acoplador com um retentor (Figura 126).
Note: O conjunto do tubo de alimentação com 81 cm tem uma união em T com 2 secções de tubo e 2 hastes do tubo roscado simples.
Monte a união estriada reta de um tubo de alimentação com 81 cm no acoplador da válvula do bico 5 (Figura 127).
Note: Certifique-se de que a união estriada fica bem colocada no acoplador.

Prenda a união estriada ao acoplador com um retentor (Figura 127).
Monte a união estriada reta de um tubo de alimentação com 81 cm no acoplador da válvula do bico 6 (Figura 127).
Note: Certifique-se de que a união estriada fica bem colocada no acoplador.
Prenda a união estriada ao acoplador com um retentor (Figura 127).
Monte a união estriada reta de um tubo de alimentação com 188 cm no acoplador da válvula do bico 7 (Figura 128).
Note: Certifique-se de que a união estriada fica bem colocada no acoplador.

Prenda a união estriada ao acoplador com um retentor (Figura 128).
Monte a união estriada reta de um tubo de alimentação com 188 cm no acoplador da válvula do bico 8 (Figura 128).
Note: Certifique-se de que a união estriada fica bem colocada no acoplador.
Prenda a união estriada ao acoplador com um retentor (Figura 128).
Monte a união estriada reta de um tubo de alimentação com 234 cm no acoplador da válvula do bico 9 (Figura 128).
Note: Certifique-se de que a união estriada fica bem colocada no acoplador.
Prenda a união estriada ao acoplador com um retentor (Figura 128).
Monte a união estriada reta de um tubo de alimentação com 279 cm no acoplador da válvula do bico 10 (Figura 128).
Note: Certifique-se de que a união estriada fica bem colocada no acoplador.
Prenda a união estriada ao acoplador com um retentor (Figura 128).
Passe os tubos para os bicos do pulverizador 1, 2, 3 e 4 através do grampo em R na extremidade do lado exterior esquerdo da secção de pulverização central (Figura 129 e Figura 130).


Passe os tubos para os bicos do pulverizador 7, 8, 9 e 10 através do grampo em R na extremidade do lado exterior direito da secção de pulverização central (Figura 129 e Figura 130).
Passe os tubos de alimentação com 279 cm e as hastes do tubo estriado (¾ pol.) pela secção de pulverização para os bicos do pulverizador 1 e 10, como se mostra na Figura 129 e Figura 130.
Passe os tubos de alimentação com 234 cm e as hastes do tubo estriado (¾ pol.) pela secção de pulverização para os bicos do pulverizador 2 e 9, ao longo da secção de pulverização, como se mostra na Figura 129 e Figura 130.
Passe os tubos de alimentação com 188 cm e as hastes do tubo estriado (¾ pol.) pela secção de pulverização para os bicos do pulverizador 3 e 8, como se mostra na Figura 129 e Figura 130.
Note: Passe os tubos pelos olhais traseiros inferiores nos suportes da estrutura do tubo.
Passe os tubos de alimentação com 188 cm e as hastes do tubo estriado (¾ pol.) pela secção de pulverização para os bicos do pulverizador 4 e 7, como se mostra na Figura 129 e Figura 130.
Note: Passe os tubos pelos olhais traseiros inferiores nos suportes da estrutura do tubo.
Junte os quatro tubos para os bicos do pulverizador com uma braçadeira de cabos, como se mostra na Figura 130.
Alinhe o tubo de transferência na sela de um bico do pulverizador (Figura 131) com o orifício na lateral da haste do tubo roscado simples (13 mm).

Feche a metade do grampo superior em torno da haste do tubo estriado e prenda a metade do grampo e o corpo do bico do pulverizador (Figura 131) com o parafuso de aço inoxidável (N.º 12 x 1¼ pol.); aperte o parafuso de aço inoxidável com 14 a 18 N∙m.
Note: Certifique-se de que o parafuso de cabeça sextavada (5/16 pol. x ¾ pol.) fica assente no entalhe na metade do grampo superior quando fechar o grampo.
Monte os bicos do pulverizador na secção de pulverização exterior da seguinte forma:
Nas posições dos bicos 1 e 4, monte o bico do pulverizador na montagem do bico (A de Figura 132) com a porca de bloqueio flangeada (5/16 pol.) que retirou no passo 2 de Retiração dos bicos do pulverizador das secções de pulverização exterior.
Nas posições dos bicos 2 e 3, monte o bico do pulverizador na montagem do bico (A e B de Figura 132) com a porca de bloqueio flangeada (5/16 pol.) que retirou no passo 2 de Retiração dos bicos do pulverizador das secções de pulverização exterior.

Aperte a porca de bloqueio flangeada com 1978 a 2542 N·cm.
Repita os passos 1 a 4 para os outros bicos do pulverizador para a secção de pulverização.
Repita os passos 1 a 5 para a secção de pulverização exterior no outro lado da máquina.
Insira o conector de três tomadas da secção com 61 cm da cablagem do kit rotulado CUNHA VERDE DO TRANSDUTOR DE PRESSãO (pressure transducer green wedge) no conector de três pinos do transdutor de pressão (Figura 133).

Insira o conector de 40 tomadas da secção com 102 cm da cablagem do kit no conector de 40 pinos do controlador de pulverização ASC 10 (Figura 134).

Enrosque o parafuso recartilhado do conector de 40 tomadas no conector ASC 10 à mão (Figura 134).
Insira o conector de quatro tomadas rotulado PARA ASC 10 (o asc 10) no conector de quatro pinos do controlador de pulverização ASC 10 (Figura 135).

Retire a braçadeira de flange e junta que prendem a tampa direita à flange da válvula do bico 10 (Figura 137).

Retire a braçadeira de flange e a junta que prendem a junta e união do tubo na flange do coletor do fluxímetro (Figura 137).

Monte a tampa direita na flange do coletor do fluxímetro com a braçadeira de flange e a junta que removeu no passo 2 e aperte a braçadeira à mão (Figura 138).
Monte a união de 90° da válvula de bloqueio do kit de varinha manual opcional ou o kit de cilindro de tubagem elétrico opcional na flange da válvula do bico 10 com a braçadeira de flange e a junta que removeu no passo 1 e aperte a braçadeira à mão (Figura 139).

Alinhe a extremidade do tubo sensor de pressão (plástico) para o indicador de pressão no painel com o anel de fixação do acoplador do tubo na união de 90° da válvula de bloqueio da varinha manual ou kit de cilindro de tubagem elétrico (Figura 140).

Insira o tubo no anel de tensão até o tubo estar devidamente colocado (Figura 140).
Peças necessárias para este passo:
| Braçadeira de cabos | 6 |
Encaminhe os tubos para os bicos da espuma na secção de pulverização esquerda e direita para dentro e através do grampo em R perto do ponto de articulação para cada secção de pulverização exterior (Figura 142).


Encaminhe os tubos para a frente ao longo do lado esquerdo do depósito do pulverizador (Figura 142).
Prenda os tubos dos bicos esquerdo e direito do marcador de espuma aos tubos do pulverizador com quatro braçadeiras de cabos como se mostra na Figura 142.
Prenda os tubos dos bicos esquerdo e direito do marcador de espuma aos tubos de agitação com duas braçadeiras de cabos como se mostra na Figura 142.
Encaminhe os tubos de espuma para a rampa direita como se mostra na Figura 143.


Insira o tubo transparente na união do ar no lado da placa do compressor (Figura 143 e Figura 144).

Insira o tubo azul na união do líquido no lado da placa do compressor (Figura 143 e Figura 144).
Encaminhe os tubos de espuma para a rampa esquerda como se mostra na Figura 143.
Insira o tubo transparente na união do ar no lado da placa do compressor (Figura 143 e Figura 144).
Insira o tubo azul na união do líquido no lado da placa do compressor (Figura 143 e Figura 144).
Ligue a tubagem com a braçadeira de cabos que preparou no passo 9 de Preparação dos novos conjuntos dos tubos para os bicos do marcador de espuma alinhando o tubo azul da secção direita de pulverização com a união da compressão do circuito de água da secção de pulverização direita (Figura 145).

Monte a porca de compressão para o tubo na união e aperte a porca à mão (Figura 145).
Alinhe o tubo transparente para a secção de pulverização direita na união da compressão para o circuito de ar da secção de pulverização direita (Figura 145).
Monte a porca de compressão para o tubo na união e aperte a porca à mão (Figura 145).
Ligue a tubagem não marcada (sem braçadeira de cabos) alinhando o tubo azul para a secção de pulverização esquerda na união da compressão para o circuito de água da secção de pulverização esquerda (Figura 146).

Monte a porca de compressão para o tubo na união e aperte a porca à mão (Figura 146).
Alinhe o tubo transparente para a secção de pulverização esquerda na união da compressão para o circuito de ar da secção de pulverização esquerda (Figura 146).
Monte a porca de compressão para o tubo na união e aperte a porca à mão (Figura 146).
Prenda a tubagem do marcador de espuma aos tubos do bico do pulverizador com duas braçadeiras de cabos (Figura 142).
Peças necessárias para este passo:
| Conjunto de extensão da cobertura (12 bicos – Toro 120-0621) | 1 |
| Rebite cego (Peça Toro N.º 114439) | 22 |
| Suporte (cobertura da secção central – Peça Toro N.º 131–3703–03) | 4 |
| Porca clipe (Peça Toro N.º 94-2413) | 4 |
| Parafusos de cabeça flangeada (⅜ pol. x 1¼ pol. – Peça Toro N.º 110-5050) | 16 |
| Porcas de bloqueio flangeadas (⅜ pol. – Peça Toro N.º 104-8301) | 16 |
| Fita da cobertura (Peça Toro N.º 120-0629) | 2 |
| Parafusos de cabeça flangeada (5/16 pol. x 1¼ pol. – Peça Toro N.º 323-36) | 4 |
Utilizando uma broca com 5 mm, perfure os 11 rebites cegos (Figura 148) que prendem a placa de reforço (com uma fila única de rebites) e a cobertura de borracha à extremidade da cobertura da secção de 11 bicos para a secção de pulverização central que retirou no passo 2 de Retiração da cobertura da secção central (11 bicos) do Kit de rampa coberta opcional.


Retire a placa de reforço, as 11 anilhas (3/16 pol.) e a cobertura de borracha da cobertura da rampa de 11 bicos (Figura 148).
Note: Guarde a placa de reforço, as anilhas e a cobertura de borracha para instalação nos passos 5 e 6.
Alinhe os orifícios na placa de reforço (fila dupla) na extensão da cobertura com os orifícios na extremidade da cobertura da rampa de 11 bicos (Figura 149).

Prenda a extensão da cobertura na cobertura da secção de 11 bicos (Figura 150) com 11 rebites cegos (Peça Toro N.º 114439).

Alinhe os orifícios na cobertura de borracha com a placa de reforço (fila única) que retirou no passo 2 com os orifícios na extremidade da extensão da cobertura (Figura 151).

Prenda a placa de reforço e a cobertura de borracha à extensão da cobertura com os 11 rebites cegos (Peça Toro N.º 114439) e as 11 anilhas (3/16 pol.) que retirou no passo 5.
Note: Alinhe as anilhas (3/16 pol.) com a superfície interior da extensão da cobertura.
Instale as 4 porcas clipe (Peça Toro N.º 94-2413) nos 2 suportes da cobertura da secção central (Peça Toro N.º 131–3703–03), conforme indicado na Figura 152.

Na extensão para a secção de pulverização central, localize os dois pares de orifícios na superfície vertical da estrutura da armação com um espaçamento entre orifícios de 25 mm (Figura 153).


Alinhe os orifícios num suporte (peça Toro n.º 131–3703–03) para os orifícios na extensão para a secção de pulverização central que identificou no passo 2 com a flange larga do suporte para a esquerda; consultar Figura 153.
Monte o suporte na estrutura da armação (Figura 153) com quatro parafusos de cabeça flangeada (⅜ pol. x 1¼ pol. – peça Toro n.º 110-5050) e quatro porcas de bloqueio flangeadas (⅜ pol. – peça Toro n.º 104-8301).
Repita os passos 2 a 4 nos outros dois pares de orifícios na extensão para a secção de pulverização central e o outro suporte, parafusos de cabeça flangeada e porcas de bloqueio flangeadas.
Aperte as porcas e os parafusos com uma força de 37 a 45 N·m.
Alinhe os orifícios na cobertura da rampa central com os orifícios nos suportes para a cobertura da secção central (Figura 154).

Alinhe os orifícios nas 2 fitas da cobertura que retirou no passo 1 de Retiração da cobertura da secção central (11 bicos) do Kit de rampa coberta opcional com o tubo na cobertura e 2 dos suportes (Figura 154).
Monte as fitas da cobertura e a cobertura nos suportes com os 4 parafusos de cabeça flangeada (5/16 pol. x 1¼ pol.) que retirou no passo 1 de Retiração da cobertura da secção central (11 bicos) do Kit de rampa coberta opcional.
Alinhe os orifícios nas duas fitas da cobertura (peça Toro n.º 120–0629) com os quatro orifícios restantes na cobertura e os quatro orifícios restantes nos suportes (Figura 154).
Monte as fitas da cobertura e a cobertura nos suportes (Figura 154) com os quatro parafusos de cabeça flangeada (5/16 pol. x 1¼ pol. – peça Toro n.º 323-36).
Aperte os parafusos com uma força de 1978 a 2542 N·cm.
Peças necessárias para este passo:
| Placa do recetor | 1 |
| Espaçador (⅜ pol. x 1 pol.) | 1 |
| Montagem do recetor | 1 |
| Parafuso (⅜ pol. x 3¼ pol.) | 1 |
| Anilha de bloqueio (⅜ pol.) | 1 |
| Anilha (⅜ pol. x 13/16 pol.) | 1 |
| Porca de bloqueio flangeada (⅜ pol.) | 1 |
| Perno com cabeça de flange (5/16 pol. x ¾ pol.) | 1 |
| Porca flangeada (5/16 pol.) | 1 |
| Parafuso com cabeça flangeada (⅜ pol. x 1½ pol.) | 2 |
| Espaçador (⅜ pol. x 7/16 pol.) | 2 |
| Recetor de navegação – Kit do sistema de pulverização de precisão GeoLink X25, Base, WAAS (Modelo 41630) | 1 |
| Parafuso de cabeça sextavada (5/ x 16 mm) | 3 |
| Anilha (5 mm) | 3 |
| Adaptador do anteparo (kit de modem de correção CDMA RTK opcional ou kit de modem de correção GSM RTK) | 1 |
| Antena celular (kit de modem de correção CDMA RTK opcional ou kit de modem de correção GSM RTK) | 1 |
| Cabo coaxial (kit de modem de correção CDMA RTK opcional ou kit de modem de correção GSM RTK) | 1 |
Alinhe os furos da placa do recetor de navegação, espaçador (⅜ pol. x 1 pol.) e montagem do recetor (Figura 155).

Monte a placa do recetor e espaçador na montagem com um parafuso (⅜ pol. x 3¼ pol.), anilha de bloqueio (⅜ pol.), anilha (⅜ pol. x 13/16 pol.) e porca de bloqueio flangeada (⅜ pol.) como se mostra na Figura 155.
Monte o parafuso de cabeça flangeada (5/16 pol. x ¾ pol.) e a porca de bloqueio flangeada (5/16 pol.) através do furo mais pequeno na montagem do recetor e ranhura na placa do recetor (Figura 155).
Aperte os parafusos e porcas de forma a que possa rodar a placa do recetor com uma ligeira resistência.
Instale a montagem do recetor e o espaçador (⅜ pol. x 7/16 pol.) na barra de segurança com o parafuso de cabeça flangeada (⅜ pol. x 1½ pol.) como se mostra na Figura 156.

Aperte os parafusos de forma a que possa rodar a placa do recetor com uma ligeira resistência.
Nivele a placa do recetor da esquerda para a direita (Figura 157).

Aperte o parafuso de cabeça flangeada (5/16 pol. x ¾ pol.) e a porca de bloqueio flangeada (5/16 pol.) com 1978 a 2542 N·cm.
Nivele a placa do recetor da frente para trás (Figura 157).
Aperte o parafuso (⅜ pol. x 3¼ pol.) e a porca de bloqueio flangeada (⅜ pol.) com 37 a 45 N·m.
Note: Instale a antena RTK quando a máquina estiver equipada com um modem de correção CDMA RTK ou GSM RTK.
Alinhe o acoplador coaxial através da abertura na flange da antena RTK com as roscas do anteparo do acoplador para baixo (Figura 159).
Note: Rode o acoplador coaxial conforme necessário para alinhar o lado plano das roscas do anteparo com o lado plano na abertura na flange da antena RTK.

Monte o acoplador coaxial na flange da placa do recetor com a porca de retenção e a anilha de bloqueio e aperte a porca de retenção à mão (Figura 159).
Monte a antena RTK na união superior do acoplador coaxial e aperte a porca serrilhada da antena à mão (Figura 160).

Monte sem apertar o cabo da antena na união inferior do acoplador coaxial (Figura 160).
Passe o cabo pela traseira do recetor de navegação para o conector coaxial do modem celular CDMA ou GSM (Figura 160).
Monte o cabo da antena no conector coaxial do modem celular CDMA ou GSM (Figura 160).
Aperte as porcas serrilhadas do cabo da antena à mão.
Peças necessárias para este passo:
| Montagem do monitor | 1 |
| Parafuso com cabeça flangeada (6 x 12 mm) | 3 |
| Cavilha em U (5/16 pol.) | 2 |
| Porca flangeada (5/16 pol.) | 8 |
| Montagem da rótula | 1 |
| Perno com cabeça de flange (5/16 pol. x ¾ pol.) | 4 |
| Monitor – Kit do sistema de pulverização de precisão GeoLink X25, Base, WAAS (Modelo 41630) | 1 |
| Braço do monitor – Kit do sistema de pulverização de precisão GeoLink X25, Base, WAAS (Modelo 41630) | 1 |
Alinhe a montagem do monitor na máquina como se mostra na Figura 162.

Instale a montagem do monitor na caixa da válvula da direção (Figura 163) com os 3 parafusos de cabeça flangeada (6 x 12 mm).

Monte a placa da montagem do monitor no tubo de suporte da estrutura da máquina (Figura 164) com as duas cavilhas em U e as quatro porcas de bloqueio flangeadas (5/16 pol.).

Aperte os três parafusos de cabeça flangeada (6 x 12 mm) na válvula da direção com 972 a 1198 N∙cm. No tubo de suporte, aperte as porcas de bloqueio flangeadas com 1978 a 2542 N∙cm.
Alinhe a marca da fita no volante com a marca na caixa da válvula da direção (Figura 165).

Monte o volante no eixo da válvula da direção (Figura 165) com a anilha (5/8 pol.) e porca (5/8 pol.) que retirou no passo 3 de Remoção do volante.
Aperte a porca com uma força de 206 a 254 N·m.
Instale a cobertura que removeu no passo 2 de Remoção do volante no volante (Figura 171).
Monte a montagem da rótula no suporte da montagem do monitor (Figura 166) com os quatro parafusos de cabeça flangeada (5/16 pol. x ¾ pol.) e as quatro porcas de bloqueio flangeadas (5/16 pol.).

Aperte os parafusos e as porcas com uma força de 1978 a 2542 N·cm.
Monte a união da rótula no monitor e a montagem da rótula na máquina no braço do monitor (Figura 167).

Ajuste o monitor de forma a que seja visível a partir da posição do operador e aperte o manípulo do braço do monitor à mão (Figura 167).
Desligue o conector de duas tomadas da cablagem da máquina rotulado BOBINA DA BOMBA DO PULVERIZADOR (spray pump coil) do conector de dois pinos do alternador (Figura 168).

Ligue o conector de dois pinos da secção de cablagem do kit (84 cm) rotulado EMBRAIAGEM DA BOMBA (pump clutch) ao conector de duas tomadas da cablagem da máquina rotulado BOBINA DA BOMBA DO PULVERIZADOR (spray pump coil) (Figura 169).

Ligue o conector de duas tomadas da secção cablagem do kit rotulado EMBRAIAGEM DA BOMBA (pump clutch) ao conector de dois pinos do alternador (Figura 169).
Encaminhe a secção de cablagem de 84 cm para o motor e bomba do pulverizador de forma a que fique afastada da correia do alternador (Figura 170).

Peças necessárias para este passo:
| Suporte da bateria | 1 |
| Parafuso (5/16 pol. x 1¾ pol.) | 1 |
| Anilha (5/16 pol.) | 1 |
| Bateria (540 A) | 1 |
| Fixação da bateria | 1 |
| Porca flangeada (5/16 pol.) | 1 |
| Suporte do alternador | 1 |
| Polia da transmissão 279 mm | 1 |
| Parafuso (¼ pol. x 2¼ pol.) | 4 |
| Anilha de bloqueio (¼ pol.) | 4 |
| Alternador (60 A) | 1 |
| Parafuso com cabeça flangeada (8 x 25 mm) | 1 |
| Parafuso com cabeça flangeada (⅜ pol. x 1½ pol.) | 1 |
| Correia em V | 1 |
Retire as duas porcas de bloqueio flangeadas e a barra de fixação dos dois parafusos em J que prendem a bateria ao suporte da bateria da máquina (Figura 171).

Retire a bateria da máquina (Figura 171).
Note: Já não precisa das duas porcas flangeadas, da barra de fixação e da bateria (300 A).
Retire os parafusos (10-24 pol. x ¾ pol.) e as porcas (10-24) que prendem os blocos de fusíveis ao suporte da bateria (Figura 172).
Note: Guarde os parafusos (10-24 pol. x ¾ pol.) e as porcas (10-24) para instalação em Instalação do suporte da bateria e a bateria (540 A).

Retire os dois parafusos de cabeça flangeada (⅜ pol. x ¾ pol.) que prendem o suporte da bateria ao tubo de suporte do para-choques da máquina (Figura 172).
Note: Guarde o parafuso de cabeça flangeada (⅜ pol. x ¾ pol.) para instalação em Instalação do suporte da bateria e a bateria (540 A).
Retire os dois parafusos em J e o tabuleiro da bateria do suporte da bateria (Figura 173).

Remova o suporte da bateria da máquina (Figura 174).
Note: Já não precisa dos parafusos em J, do tabuleiro da bateria nem suporte da bateria.

Alinhe o novo suporte da bateria com o tubo de suporte do para-choques da máquina e os blocos de fusível (Figura 175).

Monte o suporte da bateria no tubo de suporte do para-choques (Figura 176) com os dois parafusos de cabeça flangeada (⅜ pol. x ¾ pol.) que retirou no passo 4 de Retiração da bateria (300 A) e suporte da bateria.

Aperte os parafusos de cabeça flangeada com uma força de 37 a 45 N·m.
Prenda os blocos de fusíveis no suporte da bateria (Figura 176) com o parafuso (10-24 pol. x ¾ pol.) e as porcas (10-24) que retirou no passo 3 de Retiração da bateria (300 A) e suporte da bateria.
Prenda a bateria no suporte da bateria com o parafuso (5/16 pol. x 1¾ pol.), anilha (5/16 pol.), retentor da bateria e porca de bloqueio flangeada (5/16 pol.) como se mostra na Figura 177.

Aperte o parafuso e a porca com uma força de 1978 a 2542 N·cm.
Na cabeça da bomba localizada na posição das 11 horas, desaperte os dois parafusos como se mostra na Figura 178 para fornecer uma folga de 7 a 10 mm entre a cabeça dos parafusos e a bomba.
Note: Não necessita de retirar os parafusos da bomba do pulverizador.

Alinhe o suporte do alternador entre os parafusos que desapertou e como se mostra no passo 1 e a cabeça da bomba Figura 179.

Aperte os parafusos com uma força de 61 a 75 N.
Desaperte a porca do eixo da polia intermédia (Figura 180).
Note: Certifique-se de que não existe tensão na correia.

Rode o parafuso de tensionamento da correia para remover a tensão da correia da bomba do pulverizador (Figura 180).
Retire os quatro parafusos (¼ pol. x 1 pol.) e as 4 anilhas de bloqueio (¼ pol.) que prendem a polia à bomba do pulverizador (Figura 181).
Important: Não retire a polia.
Note: Já não precisa dos parafusos nem anilhas de bloqueio.

Alinhe os orifícios na polia do alternador (kit) com os orifícios na polia da bomba do pulverizador (Figura 182).

Monte a polia do alternador na polia da bomba do pulverizador e bomba do pulverizador com os quatro parafusos (¼ pol. x 2¼ pol.) e quatro porcas de bloqueio (¼ pol.).
Aperte os parafusos com uma força de 1017 a 1243 N·m.
Rode o parafuso de tensionamento da correia para tensionar a correia até que meça 9,5 mm de deflexão da correia quando aplica 4,5 kg a meio entre o motor e as rodas dentadas da bomba do pulverizador.

Aperte a porca do eixo da polia intermédia com uma força de 37 a 44 N·m.
Monte o alternador (60 A) na saliência roscada do suporte do alternador (Figura 184) com o parafuso de cabeça flangeada (⅜ pol. x 1½ pol.).

Instale a flange roscada do alternador na flange ranhurada do suporte do alternador (Figura 184) com o parafuso de cabeça flangeada (8 x 25 mm).
Monte a cobertura da correia em V na polia da transmissão de 279 mm e a polia do alternador (Figura 185).

Rode o alternador (Figura 186) para aumentar a tensão na correia até medir uma deflexão da correia de 9,5 mm quando aplica 4,5 kg a meio entre a polia do alternador e a polia da transmissão de 279 mm.

Aperte o parafuso de cabeça flangeada (8 x 25 mm) com 23 a 29 N·m.
Aperte o parafuso de cabeça flangeada (⅜ pol. x 1½ pol.) com uma força de 37 a 45 N·m.
Peças necessárias para este passo:
| Relé | 1 |
| Fixador de pressão | 1 |
| Fusível (15 A) | 1 |
| Fusível (50 A) | 1 |
Insira o conector de duas tomadas na extremidade do fio cor de rosa da cablagem do kit de 57 cm (Figura 187) no conector de dois pinos do alternador (50 A).

Encaminhe o fio do sensor cor de rosa afastando-o das correias do alternador e prenda o fio com uma braçadeira de cabos.
Retire a porca do terminal (Figura 188) do alternador (50 A).

Instale o fio vermelho, de grau 6, do alternador no terminal do alternador (50 A) com a porca (Figura 188).
Encaminhe o alternador vermelho para os bornes da bateria afastando da polia e correia do alternador.
Aperte a porca com uma força de 47 a 57 N·m.
Deslize a cobertura de isolamento sobre o terminal do alternador (Figura 188).
Ligue o conector de cinco pinos do relé no conector de cinco tomadas (Figura 189) da cablagem do kit rotulado RELé ATIVAçãO ASC 10 (asc 10 enable relay).

Alinhe o orifício na patilha de montagem do relé com o orifício no tubo de suporte do para-choques e prenda o relé no tubo com um fixador de pressão (Figura 189).
Regule um multímetro para realizar um teste de continuidade.
No bloco de fusíveis 3 da máquina, insira a sonda do multímetro no contacto 4 (na coluna direita) da tomada do fusível 2 como se mostra na Figura 190.

No lado frontal dos blocos de fusíveis, utilize a outra sonda do multímetro para identificar o conector de lâmina na extremidade do fio de grau 10 que está ligado à tomada do fusível 2 – contacto 4.

Utilize um pedaço de fita para marcar o conector e fio que identificou no passo 3 (Figura 191).
Ligue o conector de lâmina que marcou no passo 4 no conector de tomada na extremidade do fio cor de rosa de 51 mm da cablagem do kit (Figura 192).

Insira o fusível (15 A) na tomada do fusível do bloco de fusíveis 2 até que o fusível esteja totalmente encaixado (Figura 193).

Insira o fusível (50 A) no bloco de fusíveis em linha até que o fusível esteja totalmente encaixado (Figura 194).

Peças necessárias para este passo:
| Cablagem dos dados (sistema de navegação) – Kit do sistema de pulverização com precisão GeoLink (modelo 41630) | 1 |
| Cablagem da bateria (sistema de navegação) – Kit do sistema de pulverização com precisão GeoLink (modelo 41630) | 1 |
| Braçadeira de cabos | 8 |
| Grampo de ligação rápida (manípulo vermelho) | 1 |
| Grampo de ligação rápida (manípulo preto) | 1 |

Important: Alguns conectores da cablagem dos dados não são utilizados. Certifique-se de que as tampas e os tampões dos conectores não utilizados estão presos.
Ligue o conector de três tomadas (interface da alimentação elétrica) da cablagem elétrica da navegação ao conector de três pinos (interface da alimentação elétrica) da cablagem dos dados (Figura 195).


Encaminhe a secção com 390 cm da cablagem dos dados ao longo da parte de trás do tubo da barra de segurança vertical esquerda.

Passe a secção com 390 cm da cablagem dos dados ao lado do tubo ROPS direito com o conector de 12 tomadas (cinzento) e o conector de 12 tomadas (preto) para cima na direção do recetor da navegação (Figura 199).

Alinhe as duas abas no lado comprido do conector de 12 tomadas cinzento e preto da cablagem dos dados com as duas ranhuras para abas na parede horizontal inferior do conector de 12 pinos esquerdo (cinzento) do recetor de navegação (Figura 200).
Note: Tenha cuidado quando ligar a cablagem ao recetor de navegação; as abas de alinhamento dos conectores da cablagem são exclusivas das chavetas dos conectores de pinos do recetor de navegação.

Ligue o conector de 12 tomadas cinzento e preto da cablagem dos dados ao conector de 12 pinos esquerdo (cinzento) do recetor de navegação até o conector ficar preso com firmeza (Figura 200).
Alinhe as duas abas no lado curto do conector de 12 tomadas preto da cablagem dos dados com as duas ranhuras das abas na parede vertical esquerda do conector de 12 pinos direito (preto) do recetor de navegação (Figura 200).
Note: Tenha cuidado quando ligar a cablagem ao recetor de navegação; as abas de alinhamento dos conectores da cablagem são exclusivas das chavetas dos conectores de pinos do recetor de navegação.
Ligue o conector de 12 tomadas preto da cablagem dos dados ao conector de 12 pinos esquerdo (preto) do recetor de navegação até o conector ficar preso com firmeza (Figura 200).
Prenda a secção com 390 cm da cablagem dos dados ao tubo ROPS direito com 2 braçadeiras de cabos, como se mostra na Figura 199.
Note: Certifique-se de que o cabo fica frouxo entre o conector de 12 tomadas e a braçadeira de cabos.


Encaminhe a cablagem de dados e a cablagem da bateria para baixo e para trás da barra de segurança vertical esquerda para a travessa de suporte do banco (Figura 203).

Prenda a secção com 390 cm da cablagem dos dados do recetor de navegação à barra de segurança como se mostra na Figura 203.
Ligue o conector de um pino da cablagem da bateria rotulada ***IMPORTANTE***LIGUE ESTE FIO UNICAMENTE A FONTE DE ALIMENTAçãO LIGADA 12 V (***important*** only connect this wire to switched 12v power source) no conector de uma tomada da secção com 66 cm da cablagem do kit (Figura 204) rotulado SW’D PWR DE GEN 2 TOPCON (sw’d pwr for gen 2 topcon).

Ligue o conector de quatro pinos da secção de cablagem de 66 cm do kit rotulado ALIMENTAçãO ASC 10 E CAN DO X30 (asc 10 pwr & can from x30) ao conector de quatro tomadas da secção da cablagem de dados rotulado CAN 2/ASC10 BUS (Figura 204).
Encaminhe a cablagem de dados e cablagem da bateria através da travessa de suporte do banco e prenda a secção de 390 cm da cablagem de dados para a travessa com duas braçadeiras de cabos (Figura 203 e Figura 205).

Encaminhe a secção com 220 cm da cablagem da bateria ao longo do tubo da estrutura superior direita (Figura 205).
Encaminhe a secção com 220 cm da cablagem da bateria através do tubo de suporte do para-choques em direção à bateria (Figura 205).
Note: Certifique-se de que a secção com 100 cm da cablagem de ligação elétrica (alimentação ligada) permanece encaminhada pelo tubo da estrutura superior direito.
Encaminhe a secção com 220 cm da cablagem dos dados (a secção da cablagem com o conector de 26 tomadas) por baixo da consola de controlo e para a frente na direção do painel de controlo (Figura 205).

Encaminhe a secção com 220 cm da cablagem dos dados (a secção da cablagem com o conector de 26 tomadas) para a frente e por baixo do painel de instrumentos (Figura 207).

Encaminhe a secção com 220 cm da cablagem de dados ao longo do tubo de suporte do monitor (Figura 207).
Alinhe o conector de 26 tomadas da cablagem dos dados com o conector de 26 pinos do monitor de pulverização e pressione o conector da tomada para o conector do pino até o trinco do conector ficar bem preso (Figura 208).

Certifique-se de que a secção com 220 cm da cablagem de dados tem folga suficiente para permitir que o operador do pulverizador ajuste a posição do monitor e prenda a cablagem ao tubo de suporte do monitor com braçadeiras de cabos como se mostra na Figura 207.
Retire as porcas hexagonais e as anilhas dos grampos de ligação rápida do manípulo preto (Figura 209).

Abra o manípulo do trinco do grampo de ligação rápida com o manípulo preto (Figura 210).

Monte o grampo de ligação rápida no borne negativo da bateria, com o poste roscado do grampo alinhado na direção do centro da bateria como se mostra na Figura 209.
Feche a pega do trinco do grampo de ligação rápida (Figura 210).
Note: Se necessitar de ajustar a força de aperto do grampo de ligação rápida, abra o manípulo, rode a porca serrilhada para aumentar ou diminuir a força de aperto e feche o manípulo do grampo.
Repita os passos 2 a 4 do grampo de ligação rápida com o manípulo vermelho no borne positivo da bateria.
As faíscas elétricas podem provocar uma explosão dos gases da bateria, resultando em lesões.
A ligação incorreta dos cabos da bateria poderá danificar o pulverizador e os cabos produzindo faíscas.
Desligue sempre o cabo negativo (preto) antes de desligar o cabo positivo (vermelho).
Ligue sempre o cabo positivo (vermelho) antes de ligar o cabo negativo (preto).
Os terminais da bateria e as ferramentas de metal poderão provocar curto-circuitos noutros componentes do veículo, produzindo faíscas.
Quando retirar ou montar a bateria, não toque com os terminais da bateria noutras peças metálicas do pulverizador.
Deverá evitar quaisquer curto-circuitos entre os terminais da bateria e as peças metálicas do pulverizador.
Mantenha sempre a faixa da bateria na sua posição correta de modo a proteger e manter a bateria bem fixa.

Deslize a cobertura de isolamento do cabo positivo da bateria para o arrancador como se mostra na Figura 212.

Monte os seguintes terminais do fio e cabo nos postes roscados do terminal positivo da bateria (Figura 213) na ordem seguinte:
Note: Certifique-se de que o terminal do cabo da bateria (positivo) para o arrancador do motor está posicionado na parte superior da pilha de terminais no poste roscado.
Terminal de anel – cablagem com 22 cm da máquina rotulada BATERIA (+) (battery)
Terminal de anel – secção com 220 cm da cablagem da bateria rotulada ***IMPORTANTE***LIGUE ESTE FIO AO POSITIVO DA BATERIA (**important*** connect this wire to positive on battery)
Terminal de anel – secção com 60 cm da cablagem do kit rotulada PARA POSITIVO DA BATERIA (to battery positive)
Terminal do cabo da bateria (positivo) – para o alternador (50 A)
Terminal do cabo da bateria (positivo) – para o arrancador do motor

Monte a porca hexagonal (¼ pol.) e a anilha no poste roscado e aperte a porca com 1017 e 1234 N·cm.
Alinhe a cobertura de isolamento do cabo positivo da bateria para o arrancador sobre o poste roscado (Figura 213).
Monte os seguintes terminais do fio e cabo nos postes roscados do terminal negativo da bateria (Figura 214) na ordem seguinte:
Note: Certifique-se de que o terminal do cabo da bateria (negativo) para a ligação à terra do chassis do motor está posicionado na parte superior da pilha de terminais no poste roscado.
Terminal de anel – secção com 220 cm da cablagem da bateria rotulada ***IMPORTANTE***LIGUE ESTE FIO AO TERMINAL NEGATIVO DA BATERIA QUE ESTá LIGADA à ESTRUTURA DO TRATOR (***important*** connect this wire to – Ve terminal of battery which is connected to tractor frame)
Terminal de anel – secção com 60 cm da cablagem do kit – negativo da bateria
Terminal do cabo da bateria (negativo) – para o motor e ligação à terra do chassis

Reúna o comprimento em excesso da cablagem de dados contra o tubo da estrutura superior direita (Figura 215).

Alinhe a cablagem de dados com o tubo de suporte do para-choques e prenda a cablagem ao tubo com uma braçadeira de cabos (Figura 215).
Alinhe o feixe da cablagem de dados com o tubo da estrutura superior direita e prenda o feixe da cablagem à estrutura com uma braçadeira de cabos (Figura 215).
Certifique-se de que existe folga entre as polias e correias e a cablagem de dados, cablagem da bateria, cablagem do kit e cabos da bateria.
Prenda a cablagem e cabos com braçadeiras, como necessário, para criar folga afastando-os das correias e polias.
Peças necessárias para este passo:
| Fixador de pressão | 13 |
Alinhe os furos do capot no capot com os furos no painel de instrumentos e estrutura da máquina (Figura 216).

Prenda o capot ao painel de instrumentos e estrutura com nove fixadores de pressão (Figura 216).
Ligue os dois conectores elétricos (duas tomadas) da cablagem da máquina dos conectores de dois pinos dos faróis esquerdo e direito (Figura 217).

Alinhe o resguardo do guarda-lamas interior com os tubos da estrutura esquerdo, superior e esquerdo inferior (Figura 217).

Prenda o resguardo do guarda-lamas interior nos tubos da estrutura com os seis fixadores de pressão (Figura 218).
Alinhe os furos no guarda-lamas com os furos na estrutura da máquina como se mostra na Figura 218.

Monte, sem apertar, o guarda-lamas na estrutura (Figura 219) com os três parafusos (5/16 pol. x 1 pol.) e as três anilhas (5/16 pol.) que removeu no passo 2 de Retiração dos guarda-lamas frontais esquerdo e direito.
Prenda o guarda-lamas no canal da estrutura com os dois fixadores de pressão (Figura 220).

Aperte o parafuso (5/16 pol. x 1 pol.) com uma força de 1978 a 2542 N·cm.
Repita os passos 1 a 6 para o resguardo do guarda-lamas interior e guarda-lamas no outro lado da máquina.
Alinhe o banco e a placa do banco ao chassis da máquina (Figura 222).

Alinhe os orifícios nas uniões da articulação do painel do banco com os orifícios no suporte do chassis (Figura 223).


Monte o painel do banco nos suportes do chassis com dois pinos articulados (Figura 223).
Prenda os pinos articulados na máquina com dois pernos de gancho (Figura 223).
Monte a barra de apoio no suporte do banco com a anilha e perno de gancho (Figura 224).

Ligue o conector de duas tomadas da cablagem da máquina no conector do interruptor do banco até que os conectores encaixem em segurança (Figura 225).

Rode o banco ligeiramente para a frente, retire a barra de apoio do entalhe, rode o banco para baixo até que o banco encaixe em segurança.
Insira a chave na ignição e rode-a para a posição LIGAR.
O ecrã de inicialização surge no ecrã do InfoCenter e a luz do indicador acende por breves momentos (Figura 226).
Note: Não ligue o motor.

No ecrã de início, pressione o botão central no InfoCenter para aceder ao ecrã de navegação (Figura 227).

Carregue no botão central do InfoCenter para aceder ao menu principal (Figura 227).
No ecrã de MENU PRINCIPAL, pressione o botão central para navegar até à opção de DEFINIçõES e pressione o botão direito para selecionar a opção (Figura 228).

No ecrã de DEFINIçõES, pressione o botão central para navegar até à opção de DEFINIçõES PROTEGIDAS e pressione o botão direito para selecionar a opção.

Introduza o código PIN da seguinte forma:
Carregue no botão central como necessário para introduzir o número do código PIN da posição esquerda (Figura 230).

Carregue no botão direito para navegar para a próxima posição do número do código PIN (Figura 230).
Repita os passos 1 e 2 para as outras três posições do número do código PIN.
Quando todos os números do código PIN tiverem sido introduzidos, pressione o botão direito (Figura 230) e, em seguida, pressione o botão central para introduzir o código PIN (Figura 231).
A luz do indicador acende por breves momentos.

Pressione o botão central para navegar até à opção GEOLINK e pressione o botão direito para definir a opção (Figura 232).

Surge o ecrã de confirmação GeoLink no InfoCenter (Figura 233).

Rode a ignição para a posição DESLIGAR e, em seguida, para a posição LIGAR.
O ecrã de inicialização GEOLINK surge por breves momentos quando a chave é rodada para a posição LIGAR.
