Le kit système de pulvérisation GeoLink™ est un accessoire pour véhicule pulvérisateur destiné aux utilisateurs professionnels et temporaires employés à des applications commerciales. Il est principalement conçu pour la pulvérisation des pelouses entretenues régulièrement dans les parcs, les terrains de golf, les terrains de sport et les espaces verts commerciaux.
Pour plus d’informations sur la sécurité du produit, y compris des conseils de sécurité, des documents de formation, des renseignements concernant un accessoire, pour obtenir l'adresse d'un concessionnaire ou pour enregistrer votre produit, rendez-vous sur www.Toro.com.
L'utilisation de ce produit à d'autres fins que celle qui est prévue peut être dangereuse pour vous-même et pour les personnes à proximité.
Note: Lisez attentivement cette notice pour apprendre à utiliser et entretenir correctement votre produit, et éviter de l'endommager ou de vous blesser. Vous êtes responsable de l'utilisation sûre et correcte du produit.
Pour obtenir des prestations de service, des pièces Toro d'origine ou des renseignements complémentaires, munissez-vous des numéros de modèle et de série du produit et contactez un concessionnaire-réparateur agréé ou le service client Toro. La Figure 1 indique l'emplacement des numéros de modèle et de série sur le produit. Inscrivez les numéros dans l'espace réservé à cet effet.
Important: Avec votre appareil mobile, vous pouvez scanner le code QR (selon l'équipement) sur la plaque du numéro de série pour accéder aux renseignements sur la garantie, les pièces et autres informations produit.

Les mises en garde de ce manuel soulignent des dangers potentiels et sont signalées par le symbole de sécurité (Figure 2), qui indique un danger pouvant entraîner des blessures graves ou mortelles si les précautions recommandées ne sont pas respectées.

Ce manuel utilise deux termes pour faire passer des renseignements essentiels. Important, pour attirer l'attention sur des renseignements mécaniques spécifiques et Remarque, pour insister sur des renseignements d'ordre général méritant une attention particulière.
Les substances chimiques utilisées dans le système de pulvérisation peuvent être nocives et toxiques pour vous-même, toute personne présente, les animaux, les plantes, les sols et autres.
Lisez attentivement les étiquettes signalétiques et les fiches de données de sécurité (FDS) de tous les produits chimiques utilisés et protégez-vous en suivant les recommandations des fabricants des produits chimiques. Utilisez, par exemple, un équipement de protection individuelle (EPI), y compris une protection faciale et oculaire, des gants ou tout autre équipement de protection adapté au produit chimique.
Plusieurs produits chimiques peuvent être utilisés et vous devez donc prendre connaissance des données relatives à chacun d'eux.
Refusez d'utiliser ou d'intervenir sur le pulvérisateur si ces renseignements ne sont pas disponibles.
Avant toute intervention sur un système de pulvérisation, assurez-vous qu'il a été rincé à trois reprises et neutralisé en conformité avec les recommandations du ou des fabricant(s) des produits chimiques et que toutes les vannes ont effectué 3 cycles.
Assurez-vous de disposer d'une source d'eau propre et de savon à proximité afin de pouvoir laver immédiatement la peau en cas de contact direct avec un produit chimique.
![]() |
Des autocollants de sécurité et des instructions bien visibles par l'opérateur sont placés près de tous les endroits potentiellement dangereux. Remplacez tout autocollant endommagé ou manquant. |




Nettoyez le pulvérisateur ; voir la section Nettoyage du pulvérisateur dans le Manuel de l'utilisateur de la machine.
Important: Videz complètement la cuve du pulvérisateur avant de monter le kit de finition du système de pulvérisation GeoLink.
Pour les machines équipées du kit de rinçage de cuve en option, procédez comme suit :
Pompez l'eau du réservoir de rinçage dans la cuve du pulvérisateur ; voir la section Utilisation du kit de rinçage dans les Instructions d'installation du kit de rinçage de cuve.
Vidangez l'eau de la cuve du pulvérisateur ; voir la section Nettoyage du pulvérisateur dans le Manuel de l'utilisateur de la machine.
Déployez les sections de pulvérisation gauche et droite horizontalement.
Garez la machine sur une surface plane et horizontale, serrez le frein de stationnement, coupez le moteur et enlevez la clé de contact ; voir le manuel de l'utilisateur.
Important: Garez la machine sur une surface plane et horizontale avant de monter le kit GeoLink.
Tournez la CLé DE CONTACT à la position ARRêT, puis enlevez-la ; voir le Manuel de l'utilisateur.
Déverrouillez le siège en poussant la poignée de verrouillage vers l'arrière (Figure 3).

Faites pivoter le siège et son plateau vers l'avant jusqu'à ce que l'extrémité de la béquille s'engage au bas de la fente dans le support (Figure 3).
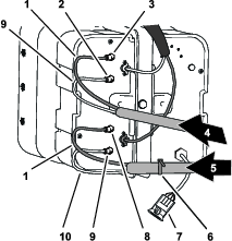
Retirez le boulon et l'écrou qui fixent la cosse du câble négatif de la batterie à la borne négative de la batterie.
Les étincelles peuvent provoquer l'explosion des gaz de la batterie et vous blesser.
S'ils sont mal acheminés, les câbles de la batterie peuvent subir des dommages ou endommager le pulvérisateur et produire des étincelles.
Débranchez toujours le câble négatif (noir) de la batterie avant le câble positif (rouge).
Connectez toujours le câble positif (rouge) de la batterie avant le câble négatif (noir).
Les bornes de la batterie ou les outils en métal peuvent causer des courts-circuits au contact des pièces métalliques du pulvérisateur et produire des étincelles.
Lors de la mise en place ou du retrait de la batterie, évitez que les bornes touchent les parties métalliques du pulvérisateur.
Évitez de créer des courts-circuits entre les bornes de la batterie et les parties métalliques du pulvérisateur avec des outils en métal.
Laissez toujours la sangle de la batterie en place pour protéger et immobiliser la batterie.
Soulevez le capuchon en caoutchouc et retirez le boulon et l'écrou qui fixent la cosse du câble positif de la batterie à la borne positive de la batterie. (Figure 4).
Note: Assurez-vous que la cosse des câbles de batterie ne touche pas les bornes de la batterie.

Laissez refroidir le moteur complètement.
Débranchez le connecteur à 2 douilles du faisceau de la machine qui est relié au connecteur du contacteur du siège (Figure 5).

Retirez la goupille fendue qui fixe la béquille au support au bas du plateau du siège (Figure 6).

Retirez les 2 goupilles fendues qui fixent le pivot du plateau du siège aux supports du châssis (Figure 7).


Retirez les 2 axes de pivot qui fixent le siège et son plateau au châssis (Figure 7).
Soulevez le siège et son plateau, et déposez-les de la machine (Figure 8).

Retirez les 2 fixations à pression qui fixent l'aile avant gauche au profilé inférieur du système ROPS (Figure 10).
Note: Mettez au rebut les fixations à pression que vous avez retirées.

Retirez les 3 boulons (5/16" x 1") et les 3 rondelles (5/16") qui fixent l'aile au cadre de la machine (Figure 11).

Déposez l'aile de la machine.
Note: Mettez au rebut les fixations à pression que vous avez retirées.; conservez l'aile, les boulons et les rondelles pour la repose sous Montage des ailes avant gauche et droite.
Retirez les 6 fixations à pression et les 5 rondelles (9/16" x 1/2") qui fixent la doublure d'aile au cadre de la machine (Figure 12).

Déposez la doublure d'aile de la machine (Figure 13).
Note: Mettez au rebut les fixations à pression que vous avez retirées.

Répétez les opérations 1 à 5 pour la doublure d'aile de l'autre côté de la machine.
Débranchez les 2 connecteurs à 2 douilles du faisceau de la machine du connecteur à 2 broches des phares gauche et droite (Figure 14).

Retirez les 9 fixations à pression qui fixent le capot à la planche de bord et au cadre de la machine (Figure 15).
Note: Conservez les fixations à pression pour la repose sous Montage du capot.

Déposez le capot de la machine (Figure 15).
Note: Mettez au rebut les fixations à pression que vous avez retirées.
Pièces nécessaires pour cette opération:
| Tubes – réf. Toro 114-9553 | 2 |
| Serre-câble | 8 |
Sur le panneau de connexion du compresseur du kit traceur à mousse, attachez un serre-câble autour des tubes transparent et bleu pour la section de pulvérisation droite (Figure 16).


Enfoncez la bague de blocage (Figure 17).

Tirez le tube hors du raccord (Figure 17).
Répétez les opérations 2 à 3 pour les 3 autres tubes des sections de pulvérisation.
Sur le panneau de connexion du compresseur du kit traceur à mousse, attachez un serre-câble autour des tubes transparent et bleu pour la section de pulvérisation droite (Figure 18).


Desserrez les écrous à compression des 2 tubes transparents et des 2 tubes bleus reliés aux buses de mousse sur les sections de pulvérisation gauche et de droite (Figure 18).
Retirez les 4 tubes des raccords à compression des sections de pulvérisation (Figure 18).
Sur la section de pulvérisation extérieure, repérez avec du ruban adhésif les tubes de liquide et d'air gauches de la section de pulvérisation gauche et les tubes de liquide et d'air droits de la section de pulvérisation droite.
Déplacez en arrière les tubes des buses de mousse sur la section de pulvérisation gauche et droite et passez-les dans le collier en R près du point de pivotement de la section de pulvérisation (Figure 19).

Si votre machine est équipée du kit extension de rampe centrale, fixez légèrement l'extrémité libre des tubes de liquide et d'air à la section de pulvérisation extérieure et sautez les procédures de Préparation des nouveaux tubes pour les buses du traceur à mousse et Montage des nouveaux tubes.
Retirez les serre-câbles qui fixent les tubes de liquide et d'air du kit traceur à mousse à la section de pulvérisation extérieure (Figure 20).

Sur la buse du traceur à mousse, desserrez l'écrou à compression qui fixe le tube bleu (eau) au raccord à compression bleu de la buse (Figure 21).

Desserrez l'écrou à compression qui fixe le tube transparent (air) au raccord à compression blanc de la buse du traceur à mousse (Figure 21).
Déposez les tubes de liquide et d'air de la machine.
Desserrez les écrous à compression aux extrémité des tubes (Figure 21).
Note: Conservez les écrous à compression pour la pose à l'opération 1 de Montage des nouveaux tubes.
Alignez les anciens tubes de liquide et d'air (Figure 22) et les nouveaux (réf. Toro 114–9553).

Avec un morceau de ruban adhésif, indiquez la longueur des anciens tubes de liquide et d'air sur les nouveaux tubes.
Sur les nouveaux tubes, comptez 26 cm à partir du repère que vous avez effectué à l'opération 7, marquez les tubes et coupez-les au second emplacement (plus long) (Figure 22).
Si les anciens tubes de liquide et d'air sont repérés par un serre-câble, repérez aussi les nouveaux tubes avec un serre-câble, sinon, passez à l'opération 10.
Note: Vous n'avez plus besoin des anciens tubes de liquide et d'air.
Retirez 77 à 102 mm de la gaine à chaque extrémité des tubes (Figure 22).
Répétez les opérations 1 à 10 pour les tubes de liquide et d'air de l'autre côté de la machine.
Glissez l'écrou à compression bleu au bout du tube bleu et l'écrou à compression blanc au bout du tube transparent (Figure 23).

Placez le bout du tube transparent muni de l'écrou à compression blanc devant le raccord à compression blanc de la buse du traceur à mousse, et serrez l'écrou à la main (Figure 23).
Placez le bout du tube bleu muni de l'écrou à compression bleu devant le raccord à compression bleu de la buse du traceur à mousse, et serrez l'écrou à la main (Figure 23).
Acheminez les tubes à l'arrière de la barre de support supérieure de la section de pulvérisation extérieure, comme montré à la Figure 24.
Important: Si les tubes sont placés du mauvais côté de la barre de support supérieure, ils seront pincés entre le berceau et la section de pulvérisation extérieure quand les rampes sont à la position de transport.

Attachez les tubes au trou du support de buse à l'aide d'un serre-câble, comme montré à la Figure 25.

Attachez les tubes à la section de pulvérisation extérieure à l'aide de serre-câbles, comme montré à la Figure 24.
Fixez légèrement l'extrémité libre des tubes à la section de pulvérisation extérieure.
Répétez les opérations 1 à 6 pour les tubes de l'autre côté de la machine.
Débranchez le connecteur à 3 broches du faisceau associé au kit de mise à niveau de rampe ultrasonique du connecteur à 3 douilles du faisceau de la machine (Figure 26).

Répétez l'opération 1 pour le connecteur à 3 broches du faisceau de la rampe ultrasonique de l'autre côté de la machine.
Tout en soutenant le couvercle de la section centrale (11 buses), retirez les 4 boulons à embase (5/16" x 1¼") et les 2 brides qui fixent le couvercle sur son support (Figure 27).

Déposez le couvercle de la section centrale de la machine (Figure 28).
Note: Conservez le couvercle pour l'assemblage, les brides et les boulons à embase pour le montage aux opérations 1 et 2 de Montage du couvercle de la section centrale.

Note: Si la machine est équipée d'un kit pistolet-pulvérisateur en option, voir Débranchement du tube de détection de pression et du flexible d'alimentation.
Poussez la bague de blocage du raccord de tube dans le raccord coudé à 90° de la vanne de section de pulvérisation droite (Figure 30).

Tirez le tube de détection de pression du manomètre de planche de bord hors du raccord de tube (Figure 30).
Note: Ne détachez pas le raccord coudé à 90° de la vanne de coupure associée au flexible d'alimentation du dévidoir de la bride sur la vanne de section de rampe droite.
Sur le faisceau de la machine, débranchez les connecteurs à 3 douilles étiquetés LEFT SPRAY VALVE (vanne de pulvérisation gauche), CENTER SPRAY VALVE (vanne de pulvérisation centrale) et RIGHT SPRAY VALVE (vanne de pulvérisation droite) des connecteurs à 3 broches des 3 actionneurs des vannes de pulvérisation (Figure 31).

Débranchez le connecteur à 4 douilles du faisceau de la machine étiqueté RATE VALVE du connecteur à 4 broches de l'actionneur de vanne de débit (Figure 32).

Débranchez le connecteur à 3 douilles du faisceau de la machine étiqueté MASTER SPRAY VALVE du connecteur à 3 broches de l'actionneur de vanne de pulvérisation générale (Figure 32).
Pièces nécessaires pour cette opération:
| Serre-câble | 1 |
| Cache d'interrupteur | 1 |
Retirez les 4 vis à embase (1/4" x 1/2") qui fixent le bloc de 3 interrupteurs à la console de commande (Figure 33).

Pincez les languettes de verrouillage de l'interrupteur de régulation de débit et poussez l'interrupteur hors du bloc de 3 interrupteurs (Figure 34).

Débranchez le connecteur à 8 douilles du faisceau de la machine (étiqueté Rate Switch) du connecteur à 8 broches de l'interrupteur (Figure 33).
Note: Vous n'avez plus besoin de l'interrupteur de régulation de débit que vous avez retiré de la machine.
Passez la branche du faisceau avant de l'interrupteur de débit dans l'ouverture du bloc de 3 interrupteurs et attachez-la contre une branche adjacente avec un serre-câble.
Fixez le bloc de 3 interrupteurs à la console de commande (Figure 34) à l'aide des 4 vis à embase (1/4" x 1/2") que vous avez retirées à l'opération 1.
Placez le cache d'interrupteur en face de l'ouverture dans le bloc de 3 interrupteurs occupée précédemment par l'interrupteur de débit (Figure 33).
Insérez le cache dans le bloc de 3 interrupteurs jusqu'à ce qu'il s'enclenche solidement dedans (Figure 33).
Sur la section de pulvérisation extérieure, retirez le collier qui fixe le flexible de section au raccord en T cannelé (Figure 35).

Débranchez le flexible du raccord en T (Figure 35).
Sortez l'extrémité libre du flexible du collier en R (Figure 35).
Répétez les opérations 1 à 3 pour le flexible d'alimentation sur l'autre section de pulvérisation extérieure.
Sous la section de pulvérisation centrale, retirez le collier qui fixe le flexible d'alimentation de la section de pulvérisation centrale au raccord en T cannelé (Figure 36).

Retirez les étriers qui fixent les raccords rapides des flexibles d'alimentation gauche, central et droit aux raccords rapides des vannes de section de pulvérisation (Figure 37).
Note: Conservez les étriers en vue de la pose à la section Montage des flexibles sur les vannes de buse 7 à 10.

Débranchez les flexibles d'alimentation des sections gauche, centrale et droite des raccords rapides des vannes de section de pulvérisation, et déposez les flexibles de la machine (Figure 37).
Note: Vous n'avez plus besoin des flexibles d'alimentation des vannes de section gauche, centrale et droite.
Débranchez les flexibles des orifices de déploiement des vérins de levage gauche et droit (Figure 39).


Débranchez les flexibles des orifices C2 et C4 du collecteur de vérin de levage (Figure 39).
Débranchez les flexibles des orifices de rétraction des vérins de levage gauche et droit (Figure 39).
Débranchez les flexibles des orifices C1 et C3 du collecteur de vérin de levage (Figure 39).
Note: Vous n'avez plus besoin des flexibles.
Capacité du matériel de levage : 91 kg
Note: Sauf indication contraire, conservez toutes les fixations que vous retirez ; elles vous serviront pour le montage de l'extension de la rampe centrale.
Utilisez un matériel de levage de la capacité spécifiée pour soutenir la section de pulvérisation extérieure.
Retirez la goupille fendue et l'axe de chape qui fixent l'extrémité de la tige du vérin de levage au support de pivot (Figure 40).
Note: Conservez l'axe de chape et la goupille fendue pour la pose à la section Montage des vérins de levage.

Retirez le contre-écrou à embase (5/16") et le boulon à embase (5/16" x 3/4") qui fixent l'axe de pivot au support de vérin (Figure 41).

Déposez l'axe de pivot et le vérin de levage de la machine (Figure 41).
Effectuez les opérations de la rubrique Dépose des sections de pulvérisation extérieures.
Capacité du matériel de levage : 91 kg
Note: Si la machine est équipée du kit rampe couverte en option, laissez les couvercles en place sur les sections de pulvérisation extérieures.
Des accidents graves ou mortels sont possibles si vous ne levez pas les machines et accessoires lourds de la manière correcte.
Lorsque vous devez lever des machines et des accessoires lourds, utilisez un matériel de levage (chaînes et sangles par exemple) capable d'en supporter le poids.
Note: Sauf indication contraire, conservez toutes les fixations que vous retirez ; elles vous serviront pour le montage de l'extension de la rampe centrale.
Retirez le boulon à embase (5/16" x 1") et le contre-écrou à embase (5/16") qui fixent l'axe de pivot au support de pivot (Figure 42)

Retirez l'axe de pivot du support de pivot de la section de pulvérisation centrale et la fixation de pivot de la section de pulvérisation extérieure (Figure 42).
Note: Conservez le boulon à embase, l'écrou à embase et l'axe de pivot pour la pose sous Dépose des sections de pulvérisation extérieures.
Séparez la section de pulvérisation extérieure de la section de pulvérisation centrale et déposez la section extérieure de la machine (Figure 42).
Retirez les 2 bagues à embase en nylon de la fixation de pivot de la section de pulvérisation extérieure (Figure 42).
Note: Mettez les bagues au rebut.
Répétez les opérations 1 à 3 de Dépose des vérins de levage pour la section de pulvérisation extérieure de l'autre côté de la machine.
Répétez les opérations 1 à 4 de cette rubrique pour la section de pulvérisation extérieure de l'autre côté de la machine.
Déposez le collecteur de levage de section du support de vérin comme suit :
Machines sans kit de mise à niveau de rampe ultrasonique en option : retirez les 2 contre-écrous à embase (5/16") et les 2 boulons à embase (5/16" x 1") qui fixent la patte de support du collecteur de levage de section au support de vérin, et déposez le collecteur et la patte de support du support de vérin (Figure 43).

Machines avec kit de mise à niveau de rampe ultrasonique en option : retirez les 2 contre-écrous à embase (5/16") et les 2 boulons à embase (5/16" x 1") qui fixent la patte de support du collecteur de levage de section et la patte de support du contrôleur TEC au support de vérin, puis déposez le collecteur et la patte de support du support de vérin (Figure 44).

Soutenez le collecteur de levage de section en l'attachant à la patte du support de vannes avec de la ficelle.
Note: Conservez la patte de support et le collecteur de levage, les boulons et les écrous pour la pose sous Montage du collecteur du vérin de levage sur le support de vérin.
Capacité du matériel de levage : 41 kg
Si la machine est équipée du kit rampe couverte en option, déposez le couvercle de la section de pulvérisation centrale.
Soutenez la section de pulvérisation centrale avec un matériel de levage de la capacité spécifiée (Figure 45).

Avec un morceau de ruban adhésif, repérez les trous des 4 boulons à embase (1/2" x 1¼") et des 4 contre-écrous à embase (1/2") qui fixent les supports de la section de pulvérisation centrale à la plaque de montage de la machine (Figure 46).

Retirez les 4 boulons à embase (1/2" x 1¼") et les 4 contre-écrous à embase (1/2") qui fixent les supports de la section de pulvérisation centrale à la plaque de montage sur le cadre de la machine, et déposez la section de pulvérisation centrale de la machine (Figure 47).
Note: Conservez les boulons et les contre-écrous en vue de la pose de la nouvelle section de pulvérisation centrale.

Pièces nécessaires pour cette opération:
| Boulon à embase (3/8" x 1") | 2 |
| Contre-écrous à embase (3/8") | 2 |
| Extension de rampe centrale | 1 |
| Support de vérin (large) | 1 |
| Plaque de liaison (large) | 1 |
| Boulon de carrosserie (1/2" x 1¼") | 4 |
| Contre-écrou à embase (1/2") | 4 |
Sur la section de pulvérisation centrale, retirez le contre-écrou à embase qui fixe la buse de pulvérisation à son support (Figure 48 et Figure 49).
Note: Conservez le contre-écrou pour la pose à l'opération 6 de Montage des buses de pulvérisation et des flexibles sur la section de pulvérisation centrale.


Retirez la vis en acier inoxydable (nº 12 x 1¼") qui fixe le demi-collier supérieur et l'anneau cannelé simple ou double (3/4") sur le corps de la buse de pulvérisation, et séparez l'anneau cannelé et le flexible de la buse (Figure 50).
Note: Le boulon à tête hexagonale (5/16" x 3/4" en acier inoxydable) se détache du demi-collier supérieur quand vous ouvrez ce dernier ; conservez le boulon pour la pose.

Déposez la buse de la section de pulvérisation centrale (Figure 48 et Figure 49).
Répétez les opérations 1 et 2 pour les 2 autres buses de pulvérisation.
Note: Conservez les buses, les vis en acier inoxydable et les boulons à tête hexagonale pour le montage aux opérations 6 et 7 de Assemblage des buses de pulvérisation et des flexibles de la section de pulvérisation centrale.
Retirez les flexibles (3/4" diamètre int.), les anneaux cannelés, les colliers et le raccord en T cannelé de la section de pulvérisation centrale (Figure 48).
Note: Vous n'avez plus besoin du flexible, des anneaux, des colliers et du raccord en T.
Capacité du matériel de levage : 41 kg
Soutenez la section de pulvérisation centrale avec un matériel de levage de la capacité spécifiée.
Retirez les 2 boulons à embase (3/8" x 1") et les 2 contre-écrous à embase (3/8") qui fixent le support à la section de pulvérisation centrale, et déposez le support (Figure 51)

Retirez les 2 boulons à embase (3/8" x 1") et les 2 contre-écrous à embase (3/8") qui fixent l'autre support à la section de pulvérisation centrale, et déposez le support (Figure 51)
Note: Conservez les supports, les boulons et les contre-écrous pour la pose aux opérations 3 et 4 de Assemblage des pattes de support sur la section de pulvérisation centrale.
Retirez les 2 boulons à embase (3/8" x 1") et les 2 contre-écrous (3/8") qui fixent les brides verticales des cadres en treillis droit et gauche (Figure 52).

Retirez les 2 boulons de carrosserie (1/2" x 1¼") et les 2 contre-écrous (1/2") qui fixent le support de vérin étroit, les cadres en treillis droit et gauche, et la plaque de liaison étroite (Figure 53).

Note: Conservez les boulons à embase, les boulons de carrosserie et les contre-écrous pour la pose aux opérations 2 et 7 de Montage de l'extension de rampe centrale. Vous n'avez plus besoin du support de vérin étroit ni de la plaque de liaison étroite.
Séparez les cadres en treillis droit et gauche.
Alignez les trous dans les brides verticales de l'extension de rampe centrale et les trous dans le cadre en treillis (Figure 54).

Fixez légèrement l'extension de rampe centrale au cadre en treillis (Figure 54) à l'aide des 2 boulons à embase (3/8" x 1") et des 2 contre-écrous à embase (3/8") que vous avez retirés à l'opération 1 de Séparation des cadres en treillis de la section de pulvérisation centrale.
Alignez les trous dans les brides verticales de l'extension de rampe centrale et les trous dans l'autre cadre en treillis (Figure 54).
Fixez légèrement l'extension de rampe centrale à l'autre cadre en treillis (Figure 54) à l'aide des 2 boulons à embase (3/8" x 1") et des 2 contre-écrous à embase (3/8") du kit de finition du système de pulvérisation GeoLink (Figure 54).
Placez les trous du support de vérin en face des trous dans l'axe du cadre en treillis et de l'extension de rampe centrale (Figure 55).

Insérez la plaque de liaison dans le cadre en treillis et l'extension de rampe centrale, et alignez le trou dans la plaque de liaison et les trous dans l'axe des cadres en treillis et de l'extension de rampe centrale (Figure 55).
Assemblez le support de vérin, les cadres en treillis, l'extension de rampe centrale et la plaque de liaison à l'aide des 2 boulons de carrosserie (1/2" x 1¼") et des 2 contre-écrous à embase (1/2") que vous avez retirés à l'opération 2 de Séparation des cadres en treillis de la section de pulvérisation centrale, et des 4 boulons de carrosserie (1/2" x 1¼") et des 4 contre-écrous à embase (1/2") du kit de finition du système de pulvérisation GeoLink (Figure 55).
Serrez les boulons à embase (3/8") et les contre-écrous à embase à un couple de 37 à 45 N·m.
Serrez les contre-écrous à embase (1/2") à un couple de 91 à 113 N·m.
Pièces nécessaires pour cette opération:
| Buse de pulvérisation | 2 |
| Ensemble flexibles (vanne de pulvérisation 5 ou 6) | 2 |
| Contre-écrou à embase (5/16") | 2 |
Capacité du matériel de levage : 55 kg
Soutenez la section de pulvérisation centrale avec un matériel de levage de la capacité spécifiée.
Alignez les trous du support droit et les trous du cadre en treillis droit, comme montré à la Figure 56.

Montez le support droit sur le cadre en treillis droit (Figure 56) à l'aide des 2 boulons à embase (3/8" x 1") et des 2 contre-écrous à embase (3/8") que vous avez retirés aux opérations 2 et 3 de Dépose des pattes de support de la section de pulvérisation centrale.
Répétez les opérations 2 et 3 pour le support gauche sur le cadre en treillis gauche (Figure 56).
Serrez les boulons à embase et les écrous à embase à un couple de 37 à 45 N·m.
À l'aide d'un matériel de levage, soulevez la section de pulvérisation centrale neuve à une hauteur de travail confortable.
Avec les 2 buses de pulvérisation provenant du kit de finition du système de pulvérisation GeoLink, retirez la vis en acier inoxydable qui fixe le demi-collier supérieur au demi-collier inférieur (Figure 57).

Localisez le trou dans le côté de l'anneau cannelé simple au bout du flexible de 25 cm de l'ensemble flexibles (vanne de pulvérisation 5 ou 6) pour la section de pulvérisation centrale (Figure 57 et Figure 58).

Alignez le tube de transfert dans le demi-collier inférieur d'une buse de pulvérisation (Figure 57) et le trou dans le côté de l'anneau cannelé simple (1/2").
Fermez le demi-collier supérieur autour de l'anneau cannelé et fixez le demi-collier et le corps de la buse de pulvérisation (Figure 57) avec la vis en acier inoxydable (nº 12 x 1¼") ; serrez la vis en acier inoxydable à un couple de 14 à 18 N·m.
Important: Ne serrez pas la vis en acier inoxydable au-delà du couple spécifié à l'opération 5.
Note: Veillez à bien engager le boulon à tête hexagonale (5/16" x 3/4") dans le creux du demi-collier supérieur quand vous fermez le collier.
Avec la buse de pulvérisation, le boulon à tête hexagonale et la vis en acier inoxydable que vous avez retirés aux opérations 1 et 2 de Dépose des buses de pulvérisation, répétez les opérations 3 à 5 pour l'anneau cannelé simple (Figure 57 et Figure 58) au bout de l'autre flexible (25 cm).
Avec les 2 buses de pulvérisation que vous avez retirées à l'opération 4 de Dépose des buses de pulvérisation, répétez les opérations 3 à 5 pour l'anneau cannelé simple de l'autre ensemble flexibles (vanne de pulvérisation 5 ou 6) pour la section de pulvérisation centrale (Figure 57 et Figure 58).
Faites passer l'ensemble flexibles (13 mm) et buse entre les raidisseurs du cadre en treillis extérieur (Figure 59).

Faites passer le flexible et la buse au-dessus du raidisseur de cadre en treillis et vers l'extérieur vers le support de buse extérieur (Figure 59).
Insérez le boulon à tête hexagonale (5/16" x 3/4") de la buse de pulvérisation dans le trou du support de buse et fixez légèrement la buse sur le support avec un contre-écrou à embase (5/16") du kit de finition du système de pulvérisation GeoLink (Figure 60).

Faites passer l'autre ensemble flexible (13 mm) et buse entre les raidisseurs du cadre en treillis extérieur (Figure 59).
Faites passer le flexible et la buse au-dessus du raidisseur de cadre en treillis et vers l'intérieur vers le support de buse intérieur (Figure 59).
Insérez le boulon à tête hexagonale (5/16" x 3/4") de la buse de pulvérisation dans le trou du support de buse (Figure 60) et fixez légèrement la buse sur le support avec un contre-écrou à embase (5/16") que vous avez retiré aux opérations 1 et 4 de Dépose des buses de pulvérisation).
Serrez les contre-écrous à embase à un couple de 19,78 à 25,42 N·m.
Acheminez le flexible et le raccord cannelé (13 x 810 mm) vers le côté de la section de pulvérisation centrale avec les pattes de support gauche et droite (Figure 59).
Répétez les opérations 1 à 8 pour l'autre ensemble flexible et buse sur l'autre cadre en treillis extérieur (Figure 59 et Figure 60).
Pièces nécessaires pour cette opération:
| Chapeau (raccord rapide) | 3 |
| Étrier de fixation | 3 |
Débranchez l'extrémité supérieure du flexible de dérivation comme suit :
Machines sans kit applicateur manuel ou kit dévidoir électrique en option : retirez la petite fixation qui maintient le raccord rapide du flexible de dérivation sur le raccord rapide de la soupape de dérivation de section droite (Figure 61).

Sur les machines équipées en option du kit applicateur manuel ou du kit dévidoir électrique, procédez comme suit :
Retirez l'étrier qui fixe le raccord rapide mâle de la vanne de coupure au raccord rapide femelle de la soupape de dérivation de section droite, et détachez le raccord rapide femelle de la vanne (Figure 62).

Retirez l'étrier qui fixe le raccord rapide mâle de la vanne de coupure au raccord rapide femelle du raccord à 90° cannelé, et détachez le raccord rapide femelle de la vanne (Figure 62).
Note: Conservez la vanne de coupure et les étriers de fixation pour l'installation sous Montage de la vanne de coupure sur le flexible de dérivation.
Retirez le grand étrier qui fixe le raccord à 90° cannelé situé à l'extrémité inférieure du flexible de dérivation au raccord de traversée de la cuve du pulvérisateur (Figure 63).
Note: Conservez le grand étrier pour la repose sous Montage des flexibles de dérivation sur la cuve.

Déposez le flexible de dérivation de la machine.
Note: Vous n'avez plus besoin du flexible de dérivation et du petit étrier.
Retirez les 3 étriers qui fixent les 3 actionneurs aux vannes de section gauche, centrale et droite (Figure 64).

Déposez les actionneurs des vannes de section gauche, centrale et droite (Figure 64).
Retirez l'étrier qui fixe l'obturateur au raccord rapide de la soupape de dérivation, et déposez l'obturateur (Figure 65).
Note: Vous n'avez plus besoin de l'obturateur.

Retirez les 3 étriers qui fixent les 3 soupapes de dérivation aux vannes de section gauche, centrale et droite (Figure 66).

Soulevez et déposez les soupapes de dérivation des vannes de section (Figure 66).
Faites pivoter les soupapes de dérivation de 180° et placez-les sur les raccords rapides des vannes de section (Figure 66).
Fixez les 3 soupapes de dérivation aux vannes de section à l'aide des 3 étriers que vous avez retirés à l'opération 4 (Figure 66).
Insérez l'obturateur dans le raccord femelle de la soupape de dérivation (Figure 67).

Fixez l'obturateur sur le raccord rapide femelle avec l'étrier que vous avez retiré à l'opération 3 (Figure 67).
Assemblez les 3 actionneurs sur les vannes de section gauche, centrale et droite (Figure 64) avec l'étrier que vous avez retiré à l'opération 1.
Note: Vous ajouterez les vannes de section aux vannes du système de pulvérisation GeoLink à 10 vannes dans la rubrique Montage des vannes de section sur le support de vannes.
Retirez les 2 boulons à embase (1/4" x 3/4") et les 2 contre-écrous (1/4") qui fixent la vanne de section de rampe gauche au support de collecteur (Figure 68).
Note: Vous n'avez plus besoin des 2 boulons à embase ni des contre-écrous.

Retirez les 2 boulons à embase (1/4" x 3/4") et les 2 contre-écrous (1/4") qui fixent la vanne de section de rampe droite au support de collecteur (Figure 68).
Retirez le collier bride (40 à 64 mm), assorti du joint (25 x 35 mm), qui fixe la bride de la vanne de section gauche à l'adaptateur (Figure 68).
Note: Conservez les 2 boulons à embase, les 2 contre-écrous, le collier bride et le joint pour la pose sous Montage des vannes de section sur le support de vannes.

Déposez les 3 vannes de section de la machine (Figure 69).
Retirez les autocollants sur les actionneurs des 3 vannes de section (Figure 70).

Retirez le collier bride (51 mm), assorti du joint (38 mm), qui fixe bride de l'adaptateur à la bride du débitmètre (Figure 71).
Note: Conservez le collier bride et les joints pour l'installation sous Montage du collecteur sur le débitmètre.

Pièces nécessaires pour cette opération:
| Support de débitmètre | 1 |
| Demi-collier de support | 4 |
| Boulon (1/4" x 4½") | 4 |
| Contre-écrous à embase (1/4") | 4 |
Débranchez le connecteur à 3 douilles du faisceau de la machine étiqueté FLOW METER du connecteur à 3 broches du débitmètre (Figure 72).

Retirez les 2 fixations à pression du faisceau de la machine situées sur la bride inférieure de la patte de support de vanne de section (Figure 72).
Retirez les 4 vis à embase (5/16" x 3/4") qui fixent la patte de support de vanne de section au support des vannes, et déposez la patte de support de la machine (Figure 73).
Note: Conservez les 4 vis à embase pour le montage sous Montage du support de débitmètre et des colliers ; vous n'avez plus besoin de la patte de support de vanne de section.

Alignez les trous du support du débitmètre et les trous du support de vanne (Figure 74).

Fixez le support du débitmètre au support de vanne à l'aide des 4 vis à embase que vous avez retirées à l'opération 3 de Dépose du support de vanne de section, et serrez les vis à un couple de 19,7 à 25,4 N·m.
Placez les 2 moitiés d'un collier de support entre le débitmètre et son support, puis alignez les trous des moitiés de collier et les trous du support (Figure 75).

Alignez une moitié de collier de support à l'arrière du débitmètre et 1 des moitiés de collier que vous avez assemblées à l'opération 3 (Figure 75).
Fixez les deux moitiés de collier sur le support de débitmètre (Figure 75) à l'aide de 2 boulons (1/4" x 4½") et 2 contre-écrous à embase (1/4").
Répétez les opérations 4 et 5 pour l'autre moitié de collier que vous avez montée à l'opération 3.
Serrez les boulons et les écrous à un couple de 10,1 à 12,4 N·m.
Pièces nécessaires pour cette opération:
| Faisceau de câblage arrière | 1 |
| Serre-câble | 7 |


Localisez la branche de 84 cm, la branche de 60 cm et la branche de 66 cm du faisceau du kit (Figure 76 et Figure 77).
Acheminez les branches de 84 cm, 60 cm et 66 cm du faisceau du kit vers le côté gauche de la machine, en suivant le faisceau de câblage de la machine (Figure 78 et Figure 79).


Acheminez les branche de 84 cm, 60 cm et 66 cm du faisceau du kit vers l'avant, le long du profilé de cadre gauche (Figure 81 et Figure 82).



Acheminez les branches de 84 cm, 60 cm et 66 cm du faisceau du kit le long du faisceau de la machine, à l'extérieur de l'ensemble frein de stationnement (Figure 83).

Acheminez les branches de 84 cm, 60 cm et 66 cm du faisceau du kit transversalement sur le tube de support amortisseur, comme montré à la Figure 84.

Fixez le faisceau du kit au faisceau de la machine, comme montré à la Figure 82, la Figure 83 et la Figure 84.
À l'arrière de la machine, acheminez la branche de 89 cm du faisceau vers l'avant du collecteur de levage et à droite du débitmètre, comme montré à la Figure 85.

Acheminez la branche de 102 cm du faisceau vers l'arrière du collecteur de levage et vers la droite, comme montré à la Figure 85.
Branchez le connecteur à 3 broches de la branche de 89 cm du faisceau étiquetée LEFT SPRAY au connecteur à 3 douilles du faisceau de la machine étiquetée LEFT SPRAY VALVE (Figure 86).

Branchez le connecteur à 3 broches du faisceau du kit étiqueté CENTER SPRAY au connecteur à 3 douilles de la machine étiqueté CENTER SPRAY VALVE (Figure 86).
Branchez le connecteur à 3 broches du faisceau du kit étiqueté RIGHT SPRAY au connecteur à 3 douilles de la machine étiqueté RIGHT SPRAY VALVE (Figure 86).
Insérez la fixation à pression du faisceau du kit dans le trou de la bride du support de débitmètre (Figure 86).
Branchez le connecteur à 3 douilles de la branche de 89 cm du faisceau étiquetée FLOW METER au connecteur à 3 broches du débitmètre (Figure 87).

Branchez le connecteur à 3 broches de la branche de 89 cm du faisceau du lit étiqueté MASTER VALVE au connecteur à 3 douilles du faisceau de la machine étiqueté MASTER SPRAY VALVE (Figure 88).

Branchez le connecteur à 3 broches de l'actionneur de la vanne de pulvérisation générale au connecteur à 3 douilles de la branche de 89 cm du faisceau du kit étiquetée MASTER VALVE (Figure 88).
Branchez le connecteur à 4 broches de l'actionneur de la vanne de débit au connecteur à 4 douilles de la branche de 89 cm du faisceau du kit étiquetée RATE VALVE (Figure 89).

Pièces nécessaires pour cette opération:
| Raccord cannelé droit (1" x 2") | 1 |
| Collier (3/4" à 1½") | 3 |
| Flexible (1" x 5¾") | 1 |
| Collecteur | 1 |
| Flexible (1" x 16") | 1 |
Branchez le flexible (1" x 5¾") sur le raccord cannelé droit (1" x 2") et fixez-le avec un collier (3/4" à 1½") serré à la main (Figure 90).

Branchez l'autre extrémité du flexible (1" x 5¾") au raccord cannelé du collecteur et fixez-le avec un collier comme montré à la Figure 90 ; serrez le collier à la main.
Branchez le flexible (1"x 16") à l'autre raccord cannelé du collecteur et fixez-le avec un collier serré à la main (Figure 90).
Montez le raccord cannelé droit (1" x 2") sur la bride du débitmètre avec le joint (38 mm) et le collier bride (51 mm) que vous avez retirés à l'opération 6 de Dépose des vannes de section du support de collecteur.

Serrez le collier bride à la main (Figure 91).
Pièces nécessaires pour cette opération:
| Raccord rapide 90° (femelle, 1") | 2 |
| Flexible (1" x 26") | 2 |
| Collier (3/4" x 1-1/5") | 5 |
| Raccord en T (1" x 1" x 1") | 1 |
| Ensemble raccord à 90° et flexible | 1 |
| Robinet d'arrivée de carburant | 1 |
Insérez le raccord rapide à 90° (femelle, 1") dans le flexible (1 x 26 pouces) et fixez le flexible sur le raccord avec un collier, comme montré à la Figure 92.

Branchez l'extrémité libre du flexible au raccord en T (voir Figure 92) et fixez le flexible avec un collier.
Répétez les opérations 1 à 2 pour l'autre raccord à 90° cannelé, le raccord rapide et le flexible.
Branchez l'ensemble raccord à 90° cannelé et flexible au raccord en T, et fixez le flexible au raccord avec un collier (Figure 92).
Comme montré à la Figure 93, retirez l'étrier de fixation du raccord rapide à 90° que vous avez assemblé sous Montage des flexibles de dérivation.

Branchez la vanne de coupure au raccord rapide femelle Figure 93.
Fixez la vanne dans le raccord avec l'étrier que vous avez retiré à l'opération 1.
Montez la vanne de coupure et l'étrier de fixation que vous avez déposés à l'opération 1 de Dépose du flexible de dérivation de section sur l'autre raccord rapide femelle (Figure 93).
Alignez l'ensemble flexibles de dérivation sur la cuve du pulvérisateur (Figure 94).


Branchez le raccord à 90° cannelé au raccord de traversée de la cuve du pulvérisateur et fixez les raccords à l'aide de l'étrier que vous avez retiré à l'opération 2 de Dépose du flexible de dérivation de section.
Capacité du matériel de levage : 55 kg
Avec un matériel de levage de la capacité spécifiée, élevez la section de pulvérisation centrale et alignez les trous dans la patte de support de la section de pulvérisation (Figure 95) et les trous dans la plaque de montage du cadre de la machine que vous avez identifiés à l'opération 3 de Dépose de la section de pulvérisation centrale.

Fixez la section de pulvérisation centrale sur les profilés de montage (Figure 95) à l'aide des 4 boulons à embase (1/2" x 1¼") et des 4 contre-écrous à embase (1/2") que vous avez retirés à l'opération 4 de Dépose de la section de pulvérisation centrale.
Serrez les écrous et les boulons à un couple de de 91 à 113 N·m.
Détachez le collecteur de levage du support de vannes.
Montez le collecteur de levage de section sur le support de vérin comme suit :
Machine sans kit de mise à niveau de rampe ultrasonique en option
Alignez les trous de la patte de support du collecteur de levage de section et les trous du support de vérin (Figure 96).

Fixez la patte de support sur le support de vérin (Figure 96) à l'aide des 2 boulons à embase (5/16" x 1") et des contre-écrous à embase (5/16") que vous avez retirés à l'opération 1 de Dépose du collecteur de levage de section de la section de pulvérisation centrale.
Machine avec kit de mise à niveau de rampe ultrasonique en option
Alignez les trous de la patte de support du collecteur de levage de section et du support du contrôleur TEC et les trous du support de vérin.

Fixez la patte de support et le support du contrôleur TEC au support de vérin (Figure 97) à l'aide des 2 boulons à embase (5/16" x 1") et des contre-écrous à embase (5/16") que vous avez retirés à l'opération 1 de Dépose du collecteur de levage de section de la section de pulvérisation centrale.
Serrez les boulons et écrous à un couple de 19,78 à 25,42 N·m.
Pièces nécessaires pour cette opération:
| Support de vannes et bloc de vannes de pulvérisation | 1 |
| Boulon (4 x 10 mm) | 3 |
| Contrôleur de pulvérisateur ASC 10 | 1 |
| Contre-écrou à embase (4 mm) | 3 |
| Obturateur (raccord rapide femelle) | 2 |
| Boulons à embase (5/16" x 3/4") | 8 |
| Contre-écrous à embase (5/16") | 8 |
| Collier | 1 |
| Fixation à pression (serre-câble) | 1 |
| Fixation à pression (ancrage de connecteur) | 3 |
Placez le contrôleur de pulvérisateur ASC 10 devant la face avant du support de vannes, le connecteur à 4 broches dirigé vers l'extérieur (Figure 98).

Fixez le contrôleur au support de vannes (Figure 98) à l'aide des 3 boulons (3 x 10 mm) et des 3 contre-écrous à embase (4 mm).
Note: N'utilisez pas le trou extérieur supérieur du contrôleur de pulvérisateur ASC 10.
Serrez les boulons et les écrous à un couple de 2,37 à 2,82 N·m.
Retirez les étriers qui fixent les actionneurs aux vannes de buses 1 à 7 (Figure 99).

Déposez les actionneurs des vannes de buses 1 à 7 (Figure 99).
Retirez les étriers qui fixent les obturateurs sur les raccords rapides femelles des vannes de buse 5 et 6, et déposez les obturateurs (Figure 100).
Note: Vous n'avez plus besoin des obturateurs ; conservez les étriers pour la pose sous Montage des flexibles de dérivation de section – Machines avec kit applicateur manuel ou kit dévidoir électrique en option.

Retirez les étriers qui fixent les soupapes de dérivation aux vannes de buses 1 à 7 (Figure 101).

Soulevez les soupapes de dérivation pour les déposer des vannes de buses 1 à 5 (Figure 101).
Faites pivoter les soupapes de dérivation de 180° et placez-les sur les raccords rapides des vannes de section (Figure 102).

Fixez les soupapes de dérivation aux vannes de section avec les étriers (Figure 102) que vous avez retirés à l'opération 4.
Répétez les opérations 5 à 7 pour les soupapes de dérivation des vannes de buses 6 et 7 (Figure 103).

Fixez les obturateurs sur les raccords rapides des soupapes de dérivation des vannes de buses 5 et 6 avec les étriers fournis avec les obturateurs (Figure 102).

Fixez les actionneurs aux vannes de buses 1 à 7 (Figure 99) avec les étriers que vous avez retirés à l'opération 1.
Montez les 3 vannes de section (Figure 105) que vous avez déposées à l'opération 8 de Dépose des vannes de section du support de collecteur sur la bride de la vanne 7 du bloc de vannes de pulvérisation avec le collier bride et le joint que vous avez retirés à l'opération 4 de Dépose des vannes de section du support de collecteur.
Important: Les vannes de section gauche, centrale et droite sont identifiées dans le système GeoLink comme suit : vanne de section gauche – vanne de buse 8, vanne de section centrale – vanne de buse 9 et vanne de section droite – vane de buse 10.

Fixez le raccord rapide femelle de la soupape de dérivation de la vanne de buse 8 au raccord rapide mâle de la soupape de dérivation de la vanne de buse 7 avec l'étrier que vous avez retiré à l'opération 8 de Dépose des vannes de section du support de collecteur.

Montez la vanne de buse 10 sur le support de vannes (Figure 107 ou Figure 108) à l'aide des 2 boulons à embase (1/4" x 3/4") et des 2 contre-écrous à embase (1/4") que vous avez retirés à l'opération 2 de Dépose des vannes de section du support de collecteur.


Serrez les boulons à embase et les contre-écrous à un couple de 1017 à 1243 N·m.
Capacité du matériel de levage : 23 kg
Avec un matériel de levage de la capacité de levage spécifiée, soulevez le support de vannes et le bloc de vannes de pulvérisation et alignez-le au-dessus de la section de pulvérisation centrale (Figure 109).

Placez les trous de la patte de montage du support de vannes en face des trous dans le cadre en treillis de la section de pulvérisation centrale (Figure 110).

Montez le support de vannes sur le cadre en treillis (Figure 110 et Figure 111) à l'aide de 4 boulons (5/16" x 3/4") et de 4 contre-écrous à embase (5/16").

Répétez les opérations 2 à 3 pour l'autre patte de montage du support de vannes sur l'autre cadre en treillis.
Serrez les boulons à embase et les contre-écrous à embase à un couple de 19,78 à 25,42 N·m.
Engagez le flexible (1" x 16") sur le raccord à bride à 90° (1"), comme montré à la Figure 112.

Fixez le flexible au raccord à bride avec un collier (Figure 112).
Passez le serre-câble/fixation à pression dans le trou au sommet du support de vannes, comme montré à la Figure 112.
Fixez le serre-câble/fixation à pression (Figure 112) autour du flexible (1" x 16").
Retirez les étriers des raccords rapides femelles que vous avez reliés aux flexibles de dérivation à l'opération 1 de Montage des flexibles de dérivation.
Branchez le raccord rapide mâle du flexible de dérivation au raccord rapide femelle de la soupape de dérivation sur la vanne de buse 10 (Figure 113).

Fixez les raccords rapides du flexible de dérivation et de la soupape de dérivation avec l'étrier (Figure 113).
Répétez les opérations 1 à 3 pour les autres raccords rapides de la vanne de buse 1.
Branchez le raccord rapide mâle de la vanne de coupure de dérivation au raccord rapide femelle de la soupape de dérivation (Figure 114).

Fixez les raccords rapides de la vanne de coupure et de la soupape de dérivation avec l'étrier (Figure 114) que vous avez retiré à l'opération 3 de Positionnement des soupapes de dérivation – Machines avec kit applicateur manuel ou kit dévidoir électrique en option.
Répétez les opérations 1 et 2 pour la vanne de coupure et la soupape de dérivation de l'autre côté de la machine.
Insérez les fixations à pression d'ancrage des connecteurs dans les trous du support de vannes (Figure 115).


Branchez le connecteur à 3 douilles (Figure 116) de la branche de 89 cm du du faisceau du kit étiquetée NOZZLE VALVE 1 au connecteur à 3 broches de l'actionneur de vanne extrême gauche (position 1).
Note: Les positions 1 à 10 des actionneurs de vanne se suivent de gauche à droite vu de l'arrière de la machine.
Branchez le connecteur à 3 douilles (Figure 116) de la branche de 89 cm du du faisceau du kit étiquetée NOZZLE VALVE 2 au connecteur à 3 broches de l'actionneur de vanne (position 2).
Branchez le connecteur à 3 douilles restant de la branche de 89 cm du du faisceau du kit au connecteur à 3 broches des actionneurs de vanne (Figure 116).
Note: Vérifiez que le connecteur à 3 douilles est bien relié à la position correspondante de l'actionneur de vanne.
Pièces nécessaires pour cette opération:
| Flexible hydraulique (1/4" x 24¾") | 4 |
Placez l'extrémité fixe du vérin de levage que vous avez retiré à l'opération 3 de Dépose des vérins de levage en face du trou de 16 mm du support de vérin (Figure 117).
Note: Vérifiez que les orifices de déploiement et de rétraction du vérin s'alignent.

Fixez le vérin à son support avec l'axe de pivot, le boulon à embase et l'écrou à embase (Figure 117).
Serrez le boulon et l'écrou à un couple de 19,78 à 25,42 N·m.
Répétez les opérations 1 à 3 pour l'autre vérin de levage de l'autre côté du support.
Reliez, sans serrer, un flexible hydraulique (1/4" x 24¾") neuf entre l'orifice de déploiement du vérin de levage de rampe gauche et l'orifice C3 du collecteur de levage de rampe (Figure 118).

Reliez, sans serrer, un flexible hydraulique (1/4" x 24¾") neuf entre l'orifice de rétraction du vérin de levage de rampe gauche et l'orifice C4 du collecteur de levage de rampe (Figure 118).
Reliez, sans serrer, un flexible hydraulique (1/4 x 24-3/4") neuf entre l'orifice de déploiement du vérin de levage de rampe droit et l'orifice C1 du collecteur de levage de rampe (Figure 119).

Reliez, sans serrer, un flexible hydraulique (1/4" x 24¾") neuf entre l'orifice de rétraction du vérin de levage de rampe droit et l'orifice C2 du collecteur de levage de rampe (Figure 119).
Serrez les raccords de flexible reliés aux orifices de déploiement et de rétraction des vérins de levage (Figure 118 et Figure 119) à un couple de 21 à 26 N·m.
Serrez les écrous orientables des flexibles sur le collecteur de levage de rampe (Figure 118 et Figure 119) à un couple de 24 à 30 N·m.
Pièces nécessaires pour cette opération:
| Bague à embase en nylon | 4 |
| Serre-câble | 1 |
| Flexible d'alimentation (188 cm) | 1 |
| Flexible d'alimentation (234 cm) | 1 |
| Flexible d'alimentation (279 cm) | 1 |
Coupez le flexible entre les 2 buses de pulvérisation (Figure 120).

Retirez le contre-écrou à embase (5/16") qui fixe la buse de pulvérisation à son support (Figure 120).
Répétez les opérations 2 et 1 pour les 3 autres buses.
Note: Conservez le contre-écrou à embase et la buse en vue de la pose sous Pose des buses de pulvérisation sur les sections de pulvérisation extérieures.
Note: Mettez au rebut les flexibles, les colliers et le raccord en T que vous avez retirés de la machine.
Répétez les opérations 2 à 3 pour l'autre section de pulvérisation extérieure.
Avec les 8 buses de pulvérisation que vous avez retirées à l'opération 1, retirez les vis en acier inoxydable (nº 12 x 1¼") qui fixent les demi-colliers supérieurs et les anneaux cannelés simples ou doubles (3/4") sur le corps de chaque buse, et déposez les anneaux cannelés (Figure 121).
Note: Le boulon à tête hexagonale (5/16" x 3/4" en acier inoxydable) se détache du demi-collier supérieur quand vous ouvrez ce dernier ; conservez le boulon pour la pose.

Capacité du matériel de levage : 91 kg
Avec un matériel de levage de la capacité spécifiée, soulevez la rampe extérieure.
Insérez une bague à embase en nylon dans le trou de 31,8 mm de chaque côté de la fixation de pivot (Figure 122).

Alignez les bagues insérées dans la fixation de pivot et les trous dans les brides du support de pivot, au bout de la section de pulvérisation centrale (Figure 123).

Montez la fixation de pivot sur le support de pivot à l'aide de l'axe, du boulon à embase (5/16" x 1") et du contre-écrou à embase (5/16") que vous avez retirés à l'opération 2 de Dépose des sections de pulvérisation extérieures.
Serrez le boulon et l'écrou à un couple de 19,8 à 25,4 N·m.
Placez la tige du vérin de levage en face du trou de 25 mm dans la fourche de la fixation de pivot (Figure 124).

Fixez le vérin de levage à la fixation de pivot à l'aide de l'axe de chape et de la goupille fendue (Figure 124) que vous avez retirés à l'opération 2 de Dépose des vérins de levage.
Répétez les opérations 1 à 7 pour la section de pulvérisation extérieure de l'autre côté de la machine.
Pièces nécessaires pour cette opération:
| Flexible d'alimentation (279 cm) | 2 |
| Flexible d'alimentation (234 cm) | 2 |
| Flexible d'alimentation (188 cm) | 4 |
| Flexible d'alimentation (81 cm) | 2 |
Identifiez les flexibles d'alimentation selon la longueur (Figure 125) pour chacune des position de buse de pulvérisation comme suit :
| Positions de buse de pulvérisation – section de pulvérisation gauche | Positions de buse de pulvérisation – section de pulvérisation centrale | Positions de buse de pulvérisation – section de pulvérisation droite |
|---|---|---|
| Buse de pulvérisation 1 (vanne de buse 1) – flexible d'alimentation de 279 cm | Buses de pulvérisation 5 et 6 (vanne de buse 5) – flexible d'alimentation de 81 cm avec 2 flexibles d'embranchement | Buse de pulvérisation 9 (vanne de buse 7) – flexible d'alimentation de 188 cm |
| Buse de pulvérisation 2 (vanne de buse 2) – flexible d'alimentation de 234 cm | Buses de pulvérisation 7 et 8 (vanne de buse 6) – flexible d'alimentation de 81 cm avec 2 flexibles d'embranchement | Buse de pulvérisation 10 (vanne de buse 8) – flexible d'alimentation de 188 cm |
| Buse de pulvérisation 3 (vanne de buse 3) – flexible d'alimentation de 188 cm | Buse de pulvérisation 11 (vanne de buse 9) – flexible d'alimentation de 234 cm | |
| Buse de pulvérisation 4 (vanne de buse 4) – flexible d'alimentation de 188 cm | Buse de pulvérisation 12 (vanne de buse 10) – flexible d'alimentation de 279 cm |
Note: Reportez-vous à la Figure 126 de la section Montage des flexibles sur les vannes de buse 1 à 4, la Figure 127 de la section Montage des flexibles sur les vannes de buse 5 et 6 et la Figure 128 de la section Montage des flexibles sur les vannes de buse 7 à 10 pour les positions de vanne de buse.

Montez le raccord droit cannelé du flexible d'alimentation de 279 cm sur le raccord de la vanne de buse 1 (Figure 126).
Note: Vérifiez que le raccord cannelé est complètement engagé sur le raccord de vanne.

Fixez le raccord cannelé au raccord de vanne avec un étrier (Figure 126).
Montez le raccord droit cannelé du flexible d'alimentation de 234 cm sur le raccord de la vanne de buse 2 (Figure 126).
Note: Vérifiez que le raccord cannelé est complètement engagé sur le raccord de vanne.
Fixez le raccord cannelé au raccord de vanne avec un étrier (Figure 126).
Montez le raccord droit cannelé du flexible d'alimentation de 188 cm sur le raccord de la vanne de buse 3 (Figure 126).
Note: Vérifiez que le raccord cannelé est complètement engagé sur le raccord de vanne.
Fixez le raccord cannelé au raccord de vanne avec un étrier (Figure 126).
Montez le raccord droit cannelé du flexible d'alimentation de 188 cm sur le raccord de la vanne de buse 4 (Figure 126).
Note: Vérifiez que le raccord cannelé est complètement engagé sur le raccord de vanne.
Fixez le raccord cannelé au raccord de vanne avec un étrier (Figure 126).
Note: Le flexible d'alimentation de 81 cm est muni d'un raccord en T avec 2 flexibles d'embranchement et 2 anneaux cannelés simples.
Montez le raccord droit cannelé du flexible d'alimentation de 81 cm sur le raccord de la vanne de buse 5 (Figure 127).
Note: Vérifiez que le raccord cannelé est complètement engagé sur le raccord de vanne.

Fixez le raccord cannelé au raccord de vanne avec un étrier (Figure 127).
Montez le raccord droit cannelé du flexible d'alimentation de 81 cm sur le raccord de la vanne de buse 6 (Figure 127).
Note: Vérifiez que le raccord cannelé est complètement engagé sur le raccord de vanne.
Fixez le raccord cannelé au raccord de vanne avec un étrier (Figure 127).
Montez le raccord droit cannelé du flexible d'alimentation de 188 cm sur le raccord de la vanne de buse 7 (Figure 128).
Note: Vérifiez que le raccord cannelé est complètement engagé sur le raccord de vanne.

Fixez le raccord cannelé au raccord de vanne avec un étrier (Figure 128).
Montez le raccord droit cannelé du flexible d'alimentation de 188 cm sur le raccord de la vanne de buse 8 (Figure 128).
Note: Vérifiez que le raccord cannelé est complètement engagé sur le raccord de vanne.
Fixez le raccord cannelé au raccord de vanne avec un étrier (Figure 128).
Montez le raccord droit cannelé du flexible d'alimentation de 234 cm sur le raccord de la vanne de buse 9 (Figure 128).
Note: Vérifiez que le raccord cannelé est complètement engagé sur le raccord de vanne.
Fixez le raccord cannelé au raccord de vanne avec un étrier (Figure 128).
Montez le raccord droit cannelé du flexible d'alimentation de 279 cm sur le raccord de la vanne de buse 10 (Figure 128).
Note: Vérifiez que le raccord cannelé est complètement engagé sur le raccord de vanne.
Fixez le raccord cannelé au raccord de vanne avec un étrier (Figure 128).
Faites passer les flexibles des buses de pulvérisation 1, 2, 3 et 4 dans le collier en R sur l'extrémité extérieure gauche de la section de pulvérisation centrale (Figure 129 et Figure 130).


Faites passer les flexibles des buses de pulvérisation 7, 8, 9 et 10 dans le collier en R sur l'extrémité extérieure droite de la section de pulvérisation centrale (Figure 129 et Figure 130).
Acheminez les flexibles d'alimentation de 279 cm et les anneaux cannelés (3/4") le long de la section de pulvérisation vers les buses de pulvérisation 1 et 10, comme montré à la Figure 129 et la Figure 130.
Acheminez les flexibles d'alimentation de 234 cm et les anneaux cannelés (3/4") le long de la section de pulvérisation vers les buses de pulvérisation 2 et 9, comme montré à la Figure 129 et la Figure 130.
Acheminez les flexibles d'alimentation de 188 cm et les anneaux cannelés (3/4") le long de la section de pulvérisation vers les buses de pulvérisation 3 et 8, comme montré à la Figure 129 et la Figure 130.
Note: Faites passer les flexibles à travers les bagues inférieures arrière dans les supports du cadre tubulaire.
Acheminez les flexibles d'alimentation de 188 cm et les anneaux cannelés (3/4") le long de la section de pulvérisation vers les buses de pulvérisation 4 et 7, comme montré à la Figure 129 et la Figure 130.
Note: Faites passer les flexibles à travers les bagues inférieures arrière dans les supports du cadre tubulaire.
Attachez les 4 flexibles des buses de pulvérisation ensemble avec un serre-câble, comme montré à la Figure 130.
Alignez le tube de transfert dans le demi-collier inférieur d'une buse de pulvérisation (Figure 131) et le trou dans le côté de l'anneau cannelé simple (1/2").

Fermez le demi-collier supérieur autour de l'anneau cannelé et fixez le demi-collier et le corps de la buse de pulvérisation (Figure 131) avec la vis en acier inoxydable (nº 12 x 1¼") ; serrez la vis en acier inoxydable à un couple de 14 à 18 N·m.
Note: Veillez à bien engager le boulon à tête hexagonale (5/16" x 3/4") dans le creux du demi-collier supérieur quand vous fermez le collier.
Montez les buses de pulvérisation sur la section de pulvérisation extérieure comme suit :
Fixez les buses 1 et 4 à leur support (A de Figure 132) à l'aide du contre-écrou à embase (5/16") que vous avez retiré à l'opération 2 de Dépose des buses des sections de pulvérisation extérieures).
À l'emplacement des buses 2 et 3, fixez la buse à son support (A et B de Figure 132) à l'aide du contre-écrou à embase (5/16") que vous avez retiré à l'opération 2 de Dépose des buses des sections de pulvérisation extérieures).

Serrez les contre-écrous à embase à un couple de 19,78 à 25,42 N·m.
Répétez les opérations 1 à 4 pour les autres buses de la section de pulvérisation.
Répétez les opérations 1 à 5 pour la section de pulvérisation extérieure de l'autre côté de la machine.
Branchez le connecteur à 3 douilles de la branche de 61 cm du faisceau du kit étiquetée PRESSURE TRANSDUCER GREEN WEDGE au connecteur à 3 broches du transducteur de pression (Figure 133).

Branchez le connecteur à 40 douilles de la branche de 102 cm du faisceau du kit au connecteur à 40 broches si le contrôleur ASC 10 est monté (Figure 134).

Vissez à la main la vis à oreilles du connecteur à 40 douilles dans le connecteur de l'ASC 10 (Figure 134).
Branchez le connecteur à 4 douilles étiqueté TO ASC 10 au connecteur à 4 broches du contrôleur ASC 10 (Figure 135).

Retirez le collier bride assorti du joint qui fixe l'obturateur ordinaire à la bride de la vanne de buse 10 (Figure 137).

Retirez le collier bride et le joint qui fixent l'obturateur et le raccord de tube à la bride du collecteur de débitmètre (Figure 137).

Assemblez l'obturateur ordinaire sur la bride du collecteur de débitmètre avec le collier bride et le joint que vous avez retirés à l'opération 2, et serrez le collier à la main (Figure 138).
Assemblez le raccord à 90° de la vanne de coupure du kit applicateur manuel ou dévidoir électrique en option sur la bride de la vanne de buse 10 avec le collier bride et le joint que vous avez retirés à l'opération 1, et serrez le collier à la main (Figure 139).

Alignez le bout du tube de détection de pression (plastique), associé au manomètre situé dans la planche de bord, et la bague de blocage du raccord de tube dans le raccord à 90° de la vanne de coupure du kit applicateur manuel ou dévidoir électrique (Figure 140).

Insérez le tube de détection dans la bague de blocage jusqu'à ce que le tube soit complètement engagé (Figure 140).
Pièces nécessaires pour cette opération:
| Serre-câble | 6 |
Acheminez les tubes des buses de mousse sur les sections de pulvérisation gauche et droite vers l'intérieur et passez-les dans le collier en R près du point de pivotement de chaque section de pulvérisation extérieure (Figure 142).


Acheminez les tubes vers l'avant, le long du côté gauche de la cuve du pulvérisateur (Figure 142).
Avec 4 serre-câbles, attachez les tubes des buses gauche et droite du traceur à mousse aux flexibles du pulvérisateur, comme montré à la Figure 142.
Avec 2 serre-câbles, attachez les tubes des buses gauche et droite du traceur à mousse aux tubes d'agitation, comme montré à la Figure 142.
Acheminez les tubes de mousse de la rampe droite comme montré à la Figure 143.


Insérez le tube transparent dans le raccord d'air sur la plaque latérale du compresseur (Figure 143 et Figure 144).

Insérez le tube bleu dans le raccord de liquide sur la plaque latérale du compresseur (Figure 143 et Figure 144).
Acheminez les tubes de mousse de la rampe gauche comme montré à la Figure 143.
Insérez le tube transparent dans le raccord d'air sur la plaque latérale du compresseur (Figure 143 et Figure 144).
Insérez le tube bleu dans le raccord de liquide sur la plaque latérale du compresseur (Figure 143 et Figure 144).
Branchez le tube doté du serre-câble que vous avez préparé à l'opération 9 de Préparation des nouveaux tubes pour les buses du traceur à mousse en reliant le tube bleu pour la section de pulvérisation droite au raccord à compression pour le circuit d'eau de la section de pulvérisation droite (Figure 145).

Vissez l'écrou à compression du tube sur le raccord à la main (Figure 145).
Branchez le tube transparent de la section de pulvérisation droite au raccord à compression du circuit d'air de la section de pulvérisation droite (Figure 145).
Vissez l'écrou à compression du tube sur le raccord à la main (Figure 145).
Branchez les tubes non repérés (sans serre-câble) en reliant le tube bleu de la section de pulvérisation gauche au raccord à compression du circuit d'eau de la section de pulvérisation gauche (Figure 146).

Vissez l'écrou à compression du tube sur le raccord à la main (Figure 146).
Branchez le tube transparent de la section de pulvérisation gauche au raccord à compression du circuit d'air de la section de pulvérisation gauche (Figure 146).
Vissez l'écrou à compression du tube sur le raccord à la main (Figure 146).
Attachez les tubes du traceur à mousse aux flexibles des buses du pulvérisateur avec 2 serre-câbles (Figure 142).
Branchez le connecteur à 3 douilles du faisceau de rampe sonique au connecteur à 3 broches du câble du capteur ultrasonique droit (A de la Figure 147).

Branchez le connecteur à 3 douilles du faisceau de rampe sonique au connecteur à 3 broches du câble du capteur ultrasonique gauche (B de la Figure 147).
Pièces nécessaires pour cette opération:
| Extension de couvercle (12 buses – réf. Toro 120-0621) | 1 |
| Rivet aveugle (réf. Toro 114439) | 22 |
| Support (couvercle de section centrale – réf. Toro 131–3703–03) | 4 |
| Écrou à clip (réf. Toro 94-2413) | 4 |
| Boulons à embase (3/8" x 1¼" – réf. Toro 110-5050) | 16 |
| Contre-écrous à embase (3/8" – réf. Toro 104-8301) | 16 |
| Bride de couvercle (réf. Toro 120-0629) | 2 |
| Boulons à embase (5/16" x 1¼" – réf. Toro 323-36) | 4 |
À l'aide d'une perceuse et d'un foret de 5 mm, percez les 11 rivets aveugles (Figure 148) qui fixent la plaque de renfort (avec une seule rangée de rivets) et la protection en caoutchouc au bout du couvercle de la section à 11 buses de la section de pulvérisation centrale que vous avez retirée à l'opération 2 de Dépose du couvercle de la section centrale (11 buses) du kit rampe couverte en option.


Déposez la plaque de renfort, les 11 rondelles (3/16") et la protection en caoutchouc du couvercle de la rampe à 11 buses (Figure 148).
Note: Conservez la plaque de renfort, les rondelles et la protection en caoutchouc pour le montage aux opérations 5 et 6.
Alignez les trous de la plaque de renfort (double) sur l'extension du couvercle et ceux au bout du couvercle de la rampe à 11 buses (Figure 149).

Fixez l'extension au couvercle de la section à 11 buses (Figure 150) au moyen des 11 rivets aveugles (réf. Toro 114439).

Alignez les trous dans la protection en caoutchouc et la plaque de renfort (simple) que vous avez retirées à l'opération 2 et les trous au bout de l'extension de couvercle (Figure 151).

Fixez la plaque de renfort et la protection en caoutchouc à l'extension du couvercle à l'aide des 11 rivets aveugles (réf. Toro 114439) et des 11 rondelles (3/16") que vous avez retirés à l'opération 5.
Note: Alignez les rondelles (3/16") contre la surface intérieure de l'extension du couvercle.
Montez les 4 écrous à clip (réf. Toro 94-2413) sur les 2 supports du couvercle de la section centrale (réf. Toro 131–3703–03), comme montré à la (Figure 152).

Sur l'extension de la section de pulvérisation centrale, localisez dans la face verticale du cadre en treillis les 2 paires de trous espacés de 25 mm (Figure 153).


Alignez les trous d'un support (réf. Toro 131–3703–03) et les trous dans l'extension de la section de pulvérisation centrale que vous avez identifiés à l'opération 2 en plaçant le bord large du support à gauche ; voir Figure 153.
Fixez le support sur le cadre en treillis (Figure 153) à l'aide de 4 boulons à embase (3/8" x 1¼" – réf. Toro 110-5050) et de 4 contre-écrous à embase (3/8" – réf. Toro 104-8301).
Répétez les opérations 2 à 4 pour les 2 autres paires de trous dans l'extension de la section de pulvérisation centrale et l'autre support, ainsi que les autres boulons et contre-écrous à embase.
Serrez les écrous et les boulons à un couple de de 37 à 45 N·m.
Alignez les trous dans le couvercle de la section centrale et ceux dans les supports du couvercle (Figure 154).

Alignez les trous dans 2 des brides de couvercle que vous avez retirées à l'opération 1 de Dépose du couvercle de la section centrale (11 buses) du kit rampe couverte en option et les trous dans le couvercle et 2 des supports (Figure 154).
Fixez les brides du couvercle et le couvercle aux supports à l'aide des 4 boulons à embase (5/16" x 1¼") que vous avez retirés à l'opération 1 de Dépose du couvercle de la section centrale (11 buses) du kit rampe couverte en option.
Alignez les trous dans les 2 brides de couvercle (réf. Toro 120–0629) sur les 4 trous restants dans le couvercle et les 4 trous restants dans les supports (Figure 154).
Fixez les brides et le couvercle aux supports (Figure 154) à l'aide des 4 boulons à embase (5/16" x 1¼" – réf. Toro 323-36)
Serrez les boulons à un couple de 19,78 à 25,42 N·m.
Pièces nécessaires pour cette opération:
| Socle du récepteur | 1 |
| Entretoise (3/8" x 1") | 1 |
| Support de récepteur | 1 |
| Boulon (3/8" x 3¼") | 1 |
| Rondelle-frein (3/8") | 1 |
| Rondelle (3/8" x 13/16") | 1 |
| Contre-écrou à embase (3/8") | 1 |
| Boulon à embase (5/16" x 3/4") | 1 |
| Contre-écrou à embase (5/16") | 1 |
| Boulon à embase (3/8" x 1½") | 2 |
| Entretoise (3/8" x 7/16") | 2 |
| Récepteur de navigation – Kit système de pulvérisation X25 GeoLink, Base, WAAS (modèle 41630) | 1 |
| Boulon à tête hexagonale (5 x 16 mm) | 3 |
| Rondelle (5 mm) | 3 |
| Adaptateur de traversée (kit modem à correction CDMA RTK ou kit modem à correction GSM RTK en option) | 1 |
| Antenne cellulaire (kit modem à correction CDMA RTK ou kit modem à correction GSM RTK en option) | 1 |
| Câble coaxial (kit modem à correction CDMA RTK ou kit modem à correction GSM RTK en option) | 1 |
Alignez les trous du socle du récepteur de navigation, l'entretoise (3/8" x 1") et le support du récepteur (Figure 155).

Fixez le socle du récepteur et l'entretoise au support avec un boulon (3/8" x 3¼"), une rondelle frein (3/8"), une rondelle (3/8" x 13/16") et un contre-écrou à embase (3/8"), comme montré à la Figure 155.
Insérez le boulon à embase (5/16" x 3/4") et le contre-écrou (5/16") dans le petit trou du support du récepteur et dans la fente du socle (Figure 155).
Serrez les boulons et les écrous de manière à pouvoir faire pivoter le socle du récepteur avec une légère résistance.
Fixez le support du récepteur et l'entretoise (3/8" x 7/16") à l'arceau de sécurité avec le boulon à embase (3/8" x 1½"), comme montré à la Figure 156.

Serrez les boulons de manière à pouvoir faire pivoter le socle du récepteur avec une légère résistance.
Mettez le socle du récepteur de niveau à droite et à gauche (Figure 157).

Serrez le boulon à embase (5/16" x 3/4") et le contre-écrou à embase (5/16") à un couple de 19,78 à 25,42 N·m.
Mettez le socle du récepteur de niveau à l'avant et à l'arrière (Figure 157).
Serrez le boulon (3/8" x 3¼") et le contre-écrou à embase (3/8") à un couple de 37 à 45 N·m.
Alignez les 3 boulons vissés dans la base du récepteur de navigation et les 3 trous dans le support du récepteur (Figure 158).

Fixez le récepteur sur le support (Figure 158) à l'aide des 3 boulons à tête hexagonale (5 x 16 mm) et des 3 rondelles (5 mm).
Serrez les 3 boulons à un couple de 5,76 à 7,12 N·m.
Note: Montez l'antenne RTK si la machine est équipée d'un modem à correction CDMA RTK ou GSM RTK.
Passez le coupleur coaxial dans l'ouverture de la bride de l'antenne RTK en orientant les filetages de traversée vers le bas (Figure 159).
Note: Tournez le coupleur coaxial au besoin pour aligner la partie plate du filetage de traversée et la partie plate de l'ouverture dans la bride de l'antenne RTK.

Fixez le coupleur coaxial à la bride du socle du récepteur à l'aide de la rondelle-frein et de l'écrou de blocage, et serrez l'écrou à la main (Figure 159).
Assemblez l'antenne RTK sur le raccord supérieur du coupleur coaxial, et serrez l'écrou moleté de l'antenne à la main (Figure 160).

Serrez légèrement le câble d'antenne sur le raccord inférieur du coupleur coaxial (Figure 160).
Acheminez le câble derrière le récepteur de navigation jusqu'au connecteur coaxial du modem cellulaire CDMA ou GSM (Figure 160).
Branchez le câble d'antenne au connecteur coaxial du modem cellulaire CDMA ou GSM (Figure 160)
Serrez les écrous moletés du câble d'antenne à la main.
Pièces nécessaires pour cette opération:
| Support de moniteur | 1 |
| Boulon à embase (6 x 12 mm) | 3 |
| Étrier fileté (5/16") | 2 |
| Contre-écrou à embase (5/16") | 8 |
| Support à rotule | 1 |
| Boulon à embase (5/16" x 3/4") | 4 |
| Moniteur – Kit système de pulvérisation X25 GeoLink, Base, WAAS (modèle 41630) | 1 |
| Bras de moniteur – Kit système de pulvérisation X25 GeoLink, Base, WAAS (modèle 41630) | 1 |
Placez le support du moniteur sur la machine comme montré à la Figure 162.

Fixez le support du moniteur sur le boîtier de la valve de direction (Figure 163) à l'aide des 3 boulons à embase (6 x 12 mm).

Fixez la plaque du support de moniteur au tube de support du châssis de la machine (Figure 164) à l'aide des 2 étriers filetés et des 4 contre-écrous à embase (5/16").

Serrez les 3 boulons à embase (6 x 12 mm) de la valve de direction à un couple de 9,72 à 11,98 N·m. Sur le tube de support, serrez les contre-écrous à embase à un couple de 19,78 à 25,42 N·m.
Alignez le ruban de repérage du volant et le ruban de repérage sur le boîtier de la valve de direction (Figure 165).

Fixez le volant sur l'arbre de la valve de direction (Figure 165) avec la rondelle (5/8") et l'écrou (5/8") que vous avez retirés à l'opération 3 de Dépose du volant.
Serrez l'écrou à un couple de 206 à 254 N·m.
Reposez sur le volant le couvre-moyeu que vous avez retiré à l'opération 2 de Dépose du volant (Figure 171).
Fixez le support à rotule du la patte de montage du support du moniteur (Figure 166) à l'aide des 4 boulons à embase (5/16" x 3/4") et des 4 contre-écrous à embase (5/16").

Serrez les boulons et écrous à un couple de 19,78 à 25,42 N·m.
Engagez la rotule du moniteur et le support à rotule situé sur la machine dans le bras du moniteur (Figure 167).

Ajustez le moniteur pour qu'il soit visible par l'opérateur de la machine et serrez le bouton du bras du moniteur à la main (Figure 167).
Débranchez le connecteur à 2 douilles du faisceau de la machine étiqueté SPRAY PUMP COIL du connecteur à 2 broches de l'alternateur (Figure 168).

Branchez le connecteur à 2 broches de la branche de 84 cm du faisceau du kit étiquetée PUMP CLUTCH au connecteur à 2 douilles du faisceau de la machine étiqueté SPRAY PUMP COIL (Figure 169).

Branchez le connecteur à 2 douilles du faisceau du kit étiqueté PUMP CLUTCH au connecteur à 2 broches de l'alternateur (Figure 169).
Acheminez la branche de 84 cm du faisceau contre le moteur et la pompe de pulvérisation de telle manière que le faisceau soit éloigné de la courroie d'alternateur (Figure 170).

Pièces nécessaires pour cette opération:
| Support de batterie | 1 |
| Boulon (5/16" x 1¾") | 1 |
| Rondelle (5/16") | 1 |
| Batterie (540 A) | 1 |
| Dispositif de retenue de la batterie | 1 |
| Contre-écrou à embase (5/16") | 1 |
| Support d'alternateur | 1 |
| Poulie d'entraînement de 279 mm | 1 |
| Boulon (1/4" x 2¼") | 4 |
| Rondelle-frein (1/4") | 4 |
| Alternateur (60 A) | 1 |
| Boulon à embase (8 x 25 mm) | 1 |
| Boulon à embase (3/8" x 1½") | 1 |
| Courroie trapézoïdale | 1 |
Retirez les 2 contre-écrous à embase et la tige de maintien des 2 boulons en J qui fixent le la batterie à son support sur la machine (Figure 171).

Retirez la batterie de la machine (Figure 171).
Note: Vous n'avez plus besoin des écrous à embase, de la tige de maintien et de la batterie (300 A).
Retirez les boulons (10"-24 x 3/4") et les écrous (10"-24) qui fixent les porte-fusibles au support de batterie (Figure 172).
Note: Conservez les boulons (10"-24 x 3/4") et les écrous (10"-24) pour la pose sous Montage du support de batterie et de la batterie (540 A).

Retirez les 2 boulons à embase (3/8" x 3/4") qui fixent le support de batterie au tube de support amortisseur de la machine (Figure 172).
Note: Conservez le boulon à embase (3/8" x 3/4") pour la pose sous Montage du support de batterie et de la batterie (540 A).
Retirez les 2 boulons en J et le socle de la batterie au support de batterie (Figure 173).

Déposez le support de batterie de la machine (Figure 174).
Note: Vous n'avez plus besoin des boulons en J, du socle de batterie et du support de batterie.

Placez le nouveau support de batterie devant le tube de support tube amortisseur de la machine et les porte-fusibles (Figure 175).

Fixez le support de batterie au tu be de support amortisseur (Figure 176) à l'aide des 2 boulons à embase (3/8" x 3/4") que vous avez conservez à l'opération 4 de Dépose de la batterie (300 A) et de son support.

Serrez les boulons à embase à un couple de 37 à 45 N·m.
Fixez les porte-fusibles au support de batterie (Figure 176) avec le boulon (10"–24 x 3/4") et les écrous (10"-24) que vous avez retirés à l'opération 3 de Dépose de la batterie (300 A) et de son support.
Fixez la batterie à son support avec le boulon (5/16" x 1¾"), la rondelle (5/16"), le dispositif de retenue et le contre-écrou à embase (5/16"), comme montré à la Figure 177.

Serrez le boulon et l'écrou à un couple de 19,8 à 25,4 N·m.
À la position 11 heures de la tête de pompe, desserrez les 2 boulons (voir Figure 178) pour obtenir un jeu de 7 à 10 mm entre la tête des boulons et la pompe.
Note: Il n'est pas nécessaire de retirer les boulons de la pompe de pulvérisation.

Placez le support d'alternateur entre les boulons que vous avez desserrés à l'opération 1 et la tête de pompe (Figure 179).

Serrez les boulons à un couple de 61 à 75 N·m.
Desserrez l'écrou de l'axe de la poulie de tension (Figure 180).
Note: Vérifiez que la courroie est détendue.

Tournez le boulon de tension de courroie pour détendre complètement la courroie de la pompe de pulvérisation (Figure 180).
Retirez les 4 boulons (1/4" x 1") et les 4 rondelles frein (1/4") qui fixent la poulie à la pompe de pulvérisation (Figure 181).
Important: Ne déposez pas la poulie.
Note: Vous n'avez plus besoin des boulons et des rondelles frein.

Alignez les trous de la poulie d'alternateur (kit) et les trous de la poulie de la pompe de pulvérisation (Figure 182).

Fixez la poulie d'alternateur à la poulie de pompe de pulvérisation et la pompe de pulvérisation avec les 4 boulons (1/4" x 2¼") et les 4 rondelles frein (1/4").
Serrez les boulons à un couple de 1 017 à 1243 N·m.
Tournez le boulon de tension pour augmenter la tension de la courroie jusqu'à obtention d'une flèche de 9,5 mm quand vous exercez une force de 4,5 kg entre les pignons de moteur et de pompe de pulvérisation.

Serrez l'écrou de l'axe de la poulie de tension à un couple de 37 à 44 N·m.
Fixez l'alternateur (60 A) au bossage fileté du support d'alternateur (Figure 184) avec le boulon à embase (3/8" x 1½").

Fixez la bride filetée de l'alternateur à la bride fendue du support d'alternateur (Figure 184) avec le boulon à embase (8 x 25 mm).
Chaussez la courroie trapézoïdale sur la poulie d'entraînement (279 mm) et la poulie de l'alternateur (Figure 185).

Tournez l'alternateur (Figure 186) pour augmenter la tension de la courroie jusqu'à obtention d'une flèche de 9,5 mm quand vous exercez une force de 4,5 kg entre la poulie d'alternateur et la poulie d'entraînement (279 mm).

Serrez le boulon à embase (8 x 25 mm) à un couple de 23 à 29 N·m.
Serrez le boulon à embase (3/8" x 1½") à un couple de 37 à 45 N·m.
Pièces nécessaires pour cette opération:
| Relais | 1 |
| Fixation à pression | 1 |
| Fusible (15 A) | 1 |
| Fusible (50 A) | 1 |
Branchez le connecteur à 2 douilles du fil rose de 57 cm du faisceau du kit (Figure 187) au connecteur à 2 broches de l'alternateur (50 A).

Acheminez le fil de détection rose à l'écart de la courroie d'alternateur et attachez le fil avec un serre-câble.
Retirez l'écrou de la borne (Figure 188) de l'alternateur (50 A).

Fixez le fil d'alternateur (calibre 6) à la borne de l'alternateur (50 A) avec l'écrou (Figure 188).
Acheminez le fil d'alternateur rouge vers les bornes de la batterie et à l'écart de la poulie et de la courroie d'alternateur.
Serrez l'écrou à un couple de 47 à 57 N·m.
Placez le capuchon isolant sur la borne de l'alternateur (Figure 188).
Branchez le connecteur à 5 broches du relais au connecteur à 5 douilles (Figure 189) du faisceau du kit étiqueté ASC 10 ENABLE RELAY.

Alignez le trou dans la patte de montage du relais et le trou dans le tube de support amortisseur, puis fixez le relais au tube avec une fixation à pression (Figure 189).
Préparez un multimètre pour effectuer un test de continuité.
Sur le porte-fusibles 3 de la machine, insérez la sonde du multimètre dans le contact 4 (colonne droite) de la douille de fusible 2, comme montré à la Figure 190.

Sur l'avant des porte-fusibles, utilisez la sonde du multimètre pour identifier le connecteur à lame au bout du fil rouge (calibre 10) qui est relié à la douille de fusible 2 – contact 4.

Avec un morceau de ruban adhésif, repérez le connecteur et le fil que vous avez identifié à l'opération 3 (Figure 191).
Branchez le connecteur à lame que vous avez repéré à l'opération 4 au connecteur à douille au bout du fil rose de 51 mm du faisceau du kit (Figure 192).

Insérez le fusible (15 A) dans la douille 2 du porte-fusibles 3 jusqu'à ce qu'il soit complètement engagé (Figure 193).

Insérez le fusible (50 A) dans le porte-fusibles en ligne jusqu'à ce qu'il soit complètement engagé (Figure 194).

Pièces nécessaires pour cette opération:
| Faisceau de données (système de navigation) – kit système de pulvérisation de précision GeoLink (modèle 41630) | 1 |
| Faisceau de batterie (système de navigation) – kit système de pulvérisation de précision GeoLink (modèle 41630) | 1 |
| Serre-câble | 8 |
| Collier de connexion rapide (poignée rouge) | 1 |
| Collier de connexion rapide (poignée noire) | 1 |

Important: Certains connecteurs du faisceau de données ne sont pas utilisés. Vérifiez que les capuchons et les obturateurs des connecteurs inutilisés sont bien fixés.
Branchez le connecteur à 3 douilles (interface d'alimentation électrique) du faisceau de navigation au connecteur à 3 broches (interface d'alimentation électrique) du faisceau de données (Figure 195).


Acheminez la branche de 390 cm du faisceau de données le long de l'arrière du tube vertical gauche de l'arceau de sécurité.

Acheminez la branche de 390 cm du faisceau de données le long du tube droit de l'arceau de sécurité, en orientant le connecteur à 12 douilles (gris) et le connecteur à 12 douilles (noir) vers le haut et le récepteur de navigation (Figure 199).

Placez les 2 détrompeurs situés sur la face longue du connecteur à 12 douilles gris et noir du faisceau de donnée en face des 2 rainures dans la paroi horizontale inférieure du connecteur à 12 broches gauche (gris) du récepteur de navigation (Figure 200).
Note: Faites attention quand vous connectez le faisceau de câblage au récepteur de navigation ; les détrompeurs des connecteurs sont particuliers aux rainures correspondantes sur les connecteurs à broches du récepteur de navigation.

Branchez le connecteur à 12 douilles gris et noir du faisceau de données au connecteur à 12 broches gauche (gris) du récepteur de navigation jusqu'à ce que les connecteurs s'enclenchent solidement (Figure 200).
Placez les 2 détrompeurs situés sur le côté court du connecteur à 12 douilles noir du faisceau de donnée en face des 2 rainures dans la paroi verticale gauche du connecteur à 12 broches droit (noir) du récepteur de navigation (Figure 200).
Note: Faites attention quand vous connectez le faisceau de câblage au récepteur de navigation ; les détrompeurs des connecteurs sont particuliers aux rainures correspondantes sur les connecteurs à broches du récepteur de navigation.
Branchez le connecteur à 12 douilles noir seulement du faisceau de données au connecteur à 12 broches gauche (noir) du récepteur de navigation jusqu'à ce que les connecteurs s'enclenchent solidement (Figure 200).
Avec 2 serre-câbles, attachez la branche de 390 cm du faisceau de données au tube droit du système ROPS, comme montré à la Figure 199.
Note: Le câble ne doit être trop tendu entre les connecteurs à 12 douille et le serre-câble.


Acheminez le faisceau de données et le faisceau de batterie vers le bas à l'arrière du tube vertical gauche de l'arceau de sécurité jusqu'à la traverse du support de siège (Figure 203).

Attachez la branche de 390 cm du faisceau de données du récepteur de navigation à l'arceau de sécurité, comme montré à la Figure 203.
Branchez le connecteur à 1 broche du faisceau de batterie étiqueté ***IMPORTANT*** ONLY CONNECT THIS WIRE TO SWITCHED 12V POWER SOURCE au connecteur à 1 douille de la branche de 66 cm du faisceau du kit (Figure 204) étiqueté (SW’D PWR FOR GEN 2 TOPCON).

Branchez le connecteur à 4 broches de la branche de 66 cm du faisceau du kit étiqueté ASC 10 PWR & CAN FROM X30 au connecteur à 4 douilles de la branche du faisceau de données étiqueté CAN 2/ASC10 BUS (Figure 204).
Acheminez le faisceau de données et le faisceau de batterie sur la traverse du support de siège et attachez la branche de 390 cm du faisceau de données à la traverse avec 2 serre-câbles (Figure 203 et Figure 205).

Acheminez la branche de 220 cm du faisceau de batterie le long du tube de cadre supérieur droit (Figure 205).
Acheminez la branche de 220 cm du faisceau de batterie sur le du tube de support amortisseur vers la batterie (Figure 205).
Note: Vérifiez que la branche de 100 cm d'interconnexion (alimentation commutée) reste bien contre le tube de cadre supérieur droit.
Acheminez la branche de 220 cm du faisceau de données (branche dotée du connecteur à 26 douilles) sous la console de commande et vers l'avant en direction de la planche de bord (Figure 205).

Acheminez la branche de 220 cm du faisceau de données (branche dotée du connecteur à 26 douilles) vers l'avant et sous la planche de bord (Figure 207).

Acheminez la branche de 220 cm du faisceau de données le long du tube de support du moniteur (Figure 207)
Alignez le connecteur à 26 douilles du faisceau de données et le connecteur à 26 broches du moniteur du pulvérisateur, puis poussez le connecteur à douilles dans le connecteur à broches jusqu'à ce qu'il s'enclenche solidement (Figure 208).

Vérifiez que la branche de 220 cm du faisceau de données est assez détendue pour permettre à l'opérateur d'ajuster la position du moniteur, et fixez le faisceau au tube de support du moniteur avec des serre-câbles, comme montré à la Figure 207.
Retirez les écrous hexagonaux et les rondelles des colliers de connexion rapide à poignée rouge et noire (Figure 209).

Ouvrez la poignée du collier de connexion rapide à poignée de verrouillage noire (Figure 210).

Assemblez le collier de connexion rapide sur la borne négative de la batterie, en dirigeant le tenon fileté du collier vers le centre de la batterie, comme montré à la Figure 209.
Fermez la poignée de verrouillage du collier de connexion rapide (Figure 210).
Note: Si vous avez besoin de régler la force de serrage du collier de connexion rapide, ouvrez la poignée, tournez l'écrou moleté pour augmenter ou réduire la force de serrage, puis refermez la poignée du collier.
Répétez les opérations 2 à 4 pour le collier de connexion rapide muni de la poignée rouge sur la borne positive de la batterie.
Les étincelles peuvent provoquer l'explosion des gaz de la batterie et vous blesser.
S'ils sont mal acheminés, les câbles de la batterie peuvent subir des dommages ou endommager le pulvérisateur et produire des étincelles.
Débranchez toujours le câble négatif (noir) de la batterie avant le câble positif (rouge).
Connectez toujours le câble positif (rouge) de la batterie avant le câble négatif (noir).
Les bornes de la batterie ou les outils en métal peuvent causer des courts-circuits au contact des pièces métalliques du pulvérisateur et produire des étincelles.
Lors de la mise en place ou du retrait de la batterie, évitez que les bornes touchent les parties métalliques du pulvérisateur.
Évitez de créer des courts-circuits entre les bornes de la batterie et les parties métalliques du pulvérisateur avec des outils en métal.
Laissez toujours la sangle de la batterie en place pour protéger et immobiliser la batterie.

Placez le capuchon isolant du câble positif de la batterie relié au démarreur, comme montré à la Figure 212.

Assemblez les cosses des fils et câbles ci-après sur le tenon fileté de la borne positive de la batterie (Figure 213) dans l'ordre suivant :
Note: Vérifiez que la cosse du câble de batterie (positif) relié au démarreur est placée en haut de la pile de cosses sur le tenon fileté.
Cosse en anneau – branche de 22 cm de faisceau de machine étiquetée BATTERY (+)
Cosse en anneau – branche de 220 cm de faisceau de batterie étiquetée ***IMPORTANT*** CONNECT THIS WIRE TO POSITIVE ON BATTERY
Cosse en anneau – branche de 60 cm de faisceau de kit étiquetée TO BATTERY POSITIVE
Cosse de câble de batterie (positif) – à l'alternateur (50 A)
Cosse de câble de batterie (positif) – au démarreur

Placez l'écrou hexagonal (1/4") et la rondelle (1/4") sur le tenon fileté et serrez l'écrou à un couple de 10,17 à 12,34 N·m.
Placez le capuchon isolant du câble positif de la batterie relié au démarreur sur le tenon fileté Figure 213.
Assemblez les cosses des fils et câbles ci-après sur le tenon fileté de la borne négative de la batterie (Figure 214) dans l'ordre suivant :
Note: Vérifiez que la cosse du câble de batterie (négatif) relié au moteur et à la masse du châssis est placée en haut de la pile de cosses sur le tenon fileté.
Cosse en anneau – branche de 220 cm de faisceau de batterie étiquetée ***IMPORTANT*** CONNECT THIS WIRE TO – VE TERMINAL OF BATTERY WHICH IS CONNECTED TO TRACTOR FRAME
Cosse en anneau – branche de 60 cm de faisceau de kit – négatif de la batterie
Cosse de câble de batterie (négatif) – au moteur et à la masse du châssis

Rassemblez l'excédent du faisceau de données contre le tube de cadre supérieur droit (Figure 215).

Placez le faisceau de données sur le tube de support amortisseur, et attachez-le sur le avec un serre-câble (Figure 215).
Placez le faisceau de données sur le tube de cadre supérieur droit, et attachez-le sur le tube du cadre avec un serre-câble (Figure 215).
Vérifiez qu'un espace existe entre les poulies et courroies et le faisceau de données, le faisceau de batterie, le faisceau du kit et les câbles de la batterie.
Attachez le faisceau et les câbles avec des serre-câbles pour les éloigner des courroies et des poulies.
Pièces nécessaires pour cette opération:
| Fixation à pression | 13 |
Alignez les trous dans le capot et les trous dans la planche de bord et le cadre de la machine (Figure 216).

Fixez le capot à la planche de bord et au cadre avec 9 fixations à pression (Figure 216).
Branchez les 2 connecteurs (à 2 douilles) du faisceau de la machine aux connecteurs à 2 broches des phares gauche et droit (Figure 217).

Placez la doublure d'aile sur les tubes supérieur gauche et inférieur gauche du cadre (Figure 217).

Fixez la doublure d'aile aux tubes du cadres avec les 6 fixations à pression (Figure 218).
Alignez les trous de l'aile et les trous du cadre de la machine, comme montré à la Figure 218.

Fixez légèrement l'aile sur le cadre (Figure 219) à l'aide des 3 boulons (5/16" x 1") et des 3 rondelles (5/16") que vous avez retirés à l'opération 2 de Dépose des ailes avant gauche et droite.
Fixez l'aile au profilé de cadre avec les 2 fixations à pression (Figure 220).

Serrez le boulon (5/16" x 1") à un couple de 19,78 à 25,42 N·m.
Répétez les opérations 1 à 6 pour la doublure d'aile et l'aile de l'autre côté de la machine.
Placez le siège et son plateau sur le châssis de la machine (Figure 222).

Alignez les trous des pivots du plateau de siège et les trous du support de châssis (Figure 223).


Fixez le plateau du siège aux supports du châssis avec les 2 axes de pivot (Figure 223).
Fixez les axes de pivot à la machine avec les 2 goupilles fendues (Figure 223).
Fixez la béquille au support du siège avec la rondelle et la goupille fendue (Figure 224).

Branchez le connecteur à 2 douilles du faisceau de la machine au connecteur du contacteur du siège jusqu'à ce que le connecteur s'enclenche solidement (Figure 225).

Basculez le siège légèrement vers l'avant, sortez la béquille de l'encoche de verrouillage, puis rabattez le siège jusqu'à ce qu'il se verrouille solidement en place.
Introduisez la clé dans le commutateur d'allumage et tournez-la à la position CONTACT.
L'écran de démarrage s'affiche sur l'InfoCenter et le témoin s'allume brièvement (Figure 226).
Note: Ne mettez pas le moteur en marche.

Sur l'écran d'accueil, appuyez sur le bouton central de l'InfoCenter pour ouvrir l'écran de navigation (Figure 227).

Appuyez sur le bouton central de l'InfoCenter pour accéder au menu principal (Figure 227).
Dans l'écran du MENU PRINCIPAL, appuyez sur le bouton central pour naviguer jusqu'à l'option RéGLAGES, puis appuyez sur le bouton droit pour la sélectionner (Figure 228).

Dans l'écran RéGLAGES, appuyez sur le bouton central pour naviguer jusqu'à l'option RéGLAGES PROTéGéS, puis appuyez sur le bouton droit pour la sélectionner.

Entrez le code PIN comme suit :
Appuyez sur le bouton central comme nécessaire pour saisir le chiffre gauche du code PIN (Figure 230).

Appuyez sur le bouton droit pour passer au chiffre suivant du code PIN (Figure 230).
Répétez les opérations 1 et 2 pour les 3 autres chiffres du code PIN.
Après avoir saisi tous les chiffres du code PIN, appuyez sur le bouton droit (Figure 230) puis sur le bouton central pour entrer le code PIN (Figure 231).
Le témoin s'allume brièvement.

Appuyez sur le bouton central pour naviguer jusqu'à l'option GEOLINK, puis appuyez sur le bouton droit pour la sélectionner (Figure 232).

L'écran de confirmation GeoLink s'affiche sur l'InfoCenter (Figure 233).

Tournez le commutateur d'allumage à la position ARRêT puis à la position CONTACT.
L'écran de démarrage GEOLINK s'affiche initialement quand vous tournez le commutateur d'allumage à la position CONTACT.
