Underhåll
Smörja redskapshållaren
Om det inte går att vrida låsspaken på redskapshållaren fritt och lätt, ska du stryka på ett tunt lager fett i det område som visas i Figur 15.

Läs den här informationen noga så att du lär dig att använda och underhålla produkten på rätt sätt, och för att undvika person- och produktskador. Du är ansvarig för att produkten används på ett korrekt och säkert sätt.
Kontakta gärna Toro direkt på www.Toro.com för att få information om produkter och tillbehör, hjälp att hitta en återförsäljare eller för att registrera din produkt.
Kontakta en auktoriserad återförsäljare eller Toros kundservice och ha produktens modell- och serienummer till hands om du har behov av service, Toro originaldelar eller ytterligare information. Figur 1 visar var du finner produktens modell- och serienummer. Skriv in numren i det tomma utrymmet.

I den här bruksanvisningen anges potentiella risker och alla säkerhetsmeddelanden har markerats med en varningssymbol (Figur 2), som anger fara som kan leda till allvarliga personskador eller dödsfall om föreskrifterna inte följs.

Två ord används också i den här bruksanvisningen för att markera information. Viktigt anger speciell teknisk information och Observera anger allmän information värd att notera.
![]() |
Säkerhetsdekalerna och säkerhetsinstruktionerna är fullt synliga för föraren och finns nära alla potentiella farozoner. Ersätt dekaler som har skadats eller saknas. |

Delar som behövs till detta steg:
| Tandkratta | 1 |
| Dragkrok | 1 |
| Skruv (½ x 1 ¾ tum) | 1 |
| Flänsmutter (1/2 tum) | 1 |
| Sexkantsmutter (1/2 tum) | 1 |
| Flänsskruv (3/8 x 1 tum) | 1 |
| Flänsmutter (⅜ tum) | 1 |
| Redskapshållare | 1 |
| Saxpinne | 2 |
| Lyftarmsenhet | 1 |
| Vridstång | 1 |
| Skruv (3/8 x 1 1/4 tum) | 1 |
| Låsmutter (3/8 tum) | 1 |
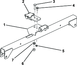
Montera dragstången löst i det främre hålet på hållaren (Figur 3). Fäst med en skruv (½ x 1 ¾ tum), flänsmutter (½ tum) och sexkantsmutter (½ tum).

Montera dragstångsröret löst i det bakre hålet på hållaren. Fäst med en flänsskruv (⅜ x 1 tum) och en flänsmutter (⅜ tum).
Dra åt muttrarna:
Flänsmutter (½ tum) – 104–126 Nm
Sexkantsmutter (½ tum) – 91–113 Nm
Flänsmutter (⅜ tum) – 22–27 Nm
Rikta in lyftarmen efter fästet på redskapshållaren (Figur 4) och koppla ihop dem med hjälp av vridstången i enlighet med Figur 5.
Note: Håll i handtaget på hållarens baksida när du ska flytta redskapshållaren (Figur 4).


Fäst vridstången (Figur 5) med tre saxpinnar, en skruv (3/8 x 1 1/4 tum) och en låsmutter (3/8 tum).
Delar som behövs till detta steg:
| Skruv (3/8 x 2 1/2 tum) | 2 |
| Bricka (3/8 x 7/8 tum) | 4 |
| Distansbricka | 2 |
| Låsmutter (⅜ tum) | 2 |
Om det sitter något redskap baktill på maskinen ska det tas bort.
Sänk ned traktorenhetens hållare och backa sedan traktorn så att den står i rätt läge framför redskapshållaren.
Note: Kontrollera att låsspaken är vriden åt vänster (i det olåsta läget), sett från en position bakom maskinen.
Skjut på redskapshållaren på traktorns hållare.
Important: Lyftarmsenhetens långa arm måste vara under traktorenhetens bakre ram (Figur 6).
Det finns en risk att klämma fingrarna mellan hållaren och traktorenhetens hållare.
Håll alltid i handtaget på baksidan av redskapshållaren när du ska lyfta eller flytta redskapet (Figur 6).
Vrid låsspaken åt höger för att låsa ihop hållarna.
Fäst kedjornas översta länk på utsidan av lyftarmen (Figur 6) med en skruv (3/8 x 2 1/2 tum), två brickor (3/8 x 7/8 tum), en distansbricka och en låsmutter (3/8 tum).

Note: För att räfsan ska fungera som det är tänkt får inte kedjorna vara spända när räfsan är i det nedsänkta läget (driftläget).
Note: Se till att alla finputsningsräfsor överlappar som de ska och ligger plant, samt att ingen kedja har trasslat ihop eller snott sig.
Montera och fäst räfsan på traktorenheten och höj därefter upp redskapet.
Mät avståndet mellan den kraftiga brickan och lyftoksaxeln på redskapshållaren enligt Figur 7.
Note: Om länken sitter rätt är det ett mellanrum på 1,5–2 mm mellan den kraftiga brickan och lyftoksaxeln (Figur 7).

Lossa kontramuttern och dra åt eller lossa justeringsmuttern på länkenheten för att justera avståndet om det är felaktigt (Figur 7).

Läs det här räfsningsavsnittet innan du räfsar sandgropen. Vilka justeringar som bör utföras på tandkrattan beror på flera faktorer som sandens struktur och djup, dess fukthalt, hur komprimerad den är och förekomsten av ogräs. Detta kan variera mellan olika banor eller till och med mellan olika sandgropar på en och samma bana. Justera räfsan så att du får perfekt resultat där du ska använda den.
Öva dig på att räfsa i en stor och plan sandgrop på banan. Prova att starta, stanna, svänga, höja och sänka räfsan, köra ned i och upp ur sandgropen osv. Kör med medelhögt motorvarvtal i låg hastighet. Denna övningsperiod gör dig tryggare när du ska använda maskinen.
Note: Backa inte traktorenheten när redskapet är nedsänkt. Du kan orsaka skador på redskapet.
Om sanden är tillräckligt djup kan du räfsa ända till kanten på sandgropen i plana områden.
Om sand sprids ut på gräsmattan bör du hålla tillräckligt avstånd från kanten för att undvika att påverka jorden under den.
Räfsa inte för nära en kort brant kant. Sanden kommer då bara att rinna ned i botten på sandgropen.
Du kan behöva använda handräfsan för att snygga till branta kanter och små gropar m.m.
Räfsa sandgropen enligt mönstret som visas i Figur 9. Om du följer mönstret slipper du onödig överlappning, samtidigt som du får minimal komprimering och ett fint, jämnt mönster i sanden.
Kör ned i sandgropen mitt på kortsidan, där det är som lättast att ta sig nedför kanten, så att du kan köra ett långt varv. Kör genom sandgropens mitt nästan ända bort till den motsatta kortsidan. Sväng sedan så snävt du kan åt endera hållet, och fortsätt tillbaka precis intill den sand du räfsade i första varvet. Kör i en utåtriktad cirkel såsom visas på bilden, och kör bort ifrån sandgropen i en rät vinkel i ett plant område.
Snygga till branta, korta kanter och små gropar med en handräfsa.

När du kör ned i en sandgrop ska du inte sänka ned räfsan förrän den befinner sig över sanden. Om du sänker ned den tidigare riskerar du att skära i gräsmattan eller dra ned gräsklipp och annat skräp i sandgropen. Sänk ned räfsan medan maskinen är i rörelse.
När du kör upp ur sandgropen ska du börja höja upp räfsan när framhjulet lämnar gropen. På så sätt höjs räfsan när maskinen kör upp ur sandgropen och du undviker att sanden dras ut på gräset.
Genom erfarenhet och övning lär du dig snabbt när du bör utföra de olika momenten då du kör ned i och upp ur en sandgrop.
Du kan öka eller minska räfsans intryck i sanden genom att ändra dess läge. Montera dragstången och räfsan enligt anvisningarna nedan för att få önskat intryck.
Du kan justera slevarnas längd för att öka eller minska klons penetrering.
Lossa slevarnas fästskruvar, flytta sleven upp eller ned till önskat läge och dra åt skruvarna (Figur 12).

Lossa kontramuttrarna och vrid stoppskruvarna på räfsan (Figur 13) utåt så att räfsans vridning från sida till sida begränsas. Dra åt kontramuttrarna för att fixera justeringen.

Om sanden är fuktig eller grov, eller om det är djupa fotspår i sandgropen, kan du fästa extra vikter på finputsningsräfsorna. Beställ artikelnr 18-7570 av en auktoriserad Toro-återförsäljare.
Följ anvisningarna nedan för att höja räfsan inför en transport:
Sänk ned räfsan och lyftenheten så långt det går.
Koppla bort kedjorna från lyftarmarna och sätt tillbaka dem högre upp.
Note: Sätt tillbaka kedjorna i det läge där de inte är spända innan du börjar att räfsa.
Rengör maskinen ordentligt efter räfsningen. Eftersom maskinen främst används i sandiga miljöer med stor slipeffekt måste den tvättas av efter varje användningstillfälle. Om du rengör maskinen ofta (innan sanden hinner fastna och klumpa ihop sig) går det bra att använda en vattenstråle från en slang utan munstycke. Om du använder en vattenstråle som sprutas ut under högtryck kan sanden pressas in i slitageområden och fungera som slipmassa.
Note: Om redskapshållaren fastnar i traktorenhetens hållare för du in en bändstång eller skruvmejsel i bändöppningen för att dela på dem (Figur 14).

Om det inte går att vrida låsspaken på redskapshållaren fritt och lätt, ska du stryka på ett tunt lager fett i det område som visas i Figur 15.
