Entretien
Graissage de l'adaptateur d'accessoire
Si le levier de verrouillage sur l'adaptateur d'accessoire ne pivote pas librement, appliquez une fine couche de graisse sur la zone illustrée à la Figure 15.

Lisez attentivement cette notice pour apprendre à utiliser et entretenir correctement votre produit, et éviter de l'endommager ou de vous blesser. Vous êtes responsable de l'utilisation sûre et correcte du produit.
Vous pouvez contacter Toro directement sur www.Toro.com pour tout renseignement concernant un produit ou un accessoire, pour obtenir l'adresse des concessionnaires ou pour enregistrer votre produit.
Pour obtenir des prestations de service, des pièces Toro d'origine ou des renseignements complémentaires, munissez-vous des numéros de modèle et de série du produit et contactez un concessionnaire-réparateur agréé ou le service client Toro. La Figure 1 indique l'emplacement des numéros de modèle et de série sur le produit. Inscrivez les numéros dans l'espace réservé à cet effet.

Les mises en garde de ce manuel soulignent des dangers potentiels et sont signalées par le symbole de sécurité (Figure 2), qui indique un danger pouvant entraîner des blessures graves ou mortelles si les précautions recommandées ne sont pas respectées.

Ce manuel utilise deux termes pour faire passer des renseignements essentiels. Important, pour attirer l'attention sur des renseignements mécaniques spécifiques et Remarque, pour insister sur des renseignements d'ordre général méritant une attention particulière.
![]() |
Des autocollants de sécurité et des instructions bien visibles par l'opérateur sont placés près de tous les endroits potentiellement dangereux. Remplacez tout autocollant endommagé ou manquant. |

Pièces nécessaires pour cette opération:
| Râteau d'entretien | 1 |
| Barre d'attelage | 1 |
| Boulon (½" x 3¼") | 1 |
| Écrou à embase (½") | 1 |
| Écrou hexagonal (½") | 1 |
| Boulon à embase (⅜" x 1") | 1 |
| Écrou à embase (⅜") | 1 |
| Ensemble adaptateur d'accessoire | 1 |
| Goupille fendue | 2 |
| Bras de levage | 1 |
| Barre d'articulation | 1 |
| Boulon (⅜" x 1¼") | 1 |
| Contre-écrou (⅜") | 1 |
Montez, sans serrer, la barre d'attelage dans le trou avant du support avec un boulon (½" x 1¾"), un écrou à embase (½") et un écrou hexagonal (½") (Figure 3).

Montez, sans serrer, le tube de timon dans le trou arrière du support avec un boulon à embase (⅜" x 1") et un écrou à embase (⅜").
Serrez les écrous comme suit :
Écrou à embase (½") – 104 à 126 N·m
Écrou hexagonal (½") – 91 à 113 N·m
Écrou à embase (⅜") – 22 à 27 N·m
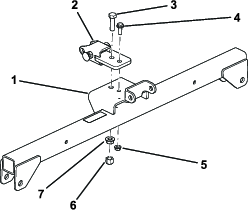
Alignez le bras de levage sur le support de l'adaptateur d'accessoire (Figure 4) et accouplez-les avec la barre d'articulation comme illustré à la Figure 5.
Note: Lorsque vous déplacez l'adaptateur d'accessoire, servez-vous de la poignée prévue au dos (Figure 4).


Fixez la barre d'articulation (Figure 5) avec 3 goupilles fendues et un boulon (⅜" x 1¼") et un contre-écrou (⅜").
Pièces nécessaires pour cette opération:
| Boulon (⅜" x 2½") | 2 |
| Rondelle (⅜" x ⅞") | 4 |
| Entretoise | 2 |
| Contre-écrou (⅜") | 2 |
Le cas échéant, enlevez l'accessoire monté à l'arrière de la machine.
Abaissez l'adaptateur du groupe de déplacement et reculez le groupe pour le placer devant l'adaptateur d'accessoire.
Note: Vérifiez que le levier de verrouillage est pivoté à gauche (position déverrouillée), vu de l'arrière de la machine.
Glissez l'adaptateur d'accessoire sur l'adaptateur de la machine.
Important: Le long bras de l'ensemble bras de levage doit se trouver sous l'ensemble châssis arrière du groupe de déplacement (Figure 6).
Vous pouvez vous pincer les doigts entre les adaptateurs de l'accessoire et du groupe de déplacement.
Soulevez toujours l'accessoire par la poignée située au dos de l'adaptateur (Figure 6).
Pivotez le levier de verrouillage vers la droite pour verrouiller les adaptateurs ensemble.
Fixez le maillon supérieur de chaque chaîne à l'extérieur du bras de levage (Figure 6) au moyen d'un boulon (⅜" x 2½"), 2 rondelles (⅜" x ⅞"), une entretoise et un contre-écrou (⅜").

Note: Pour que le râteau fonctionne correctement, les chaînes doivent être détendues quand le râteau est abaissé (position de fonctionnement).
Note: Vérifiez que tous les râteaux de finition se chevauchent correctement, sont bien à plat et que les chaînes ne sont pas emmêlées ni vrillées.
Une fois le râteau monté et fixé sur le groupe de déplacement, élevez l'accessoire.
Mesurez l'espace entre la grosse rondelle et l'épaulement de la chape de levage sur l'adaptateur d'accessoire, comme montré à la Figure 7.
Note: La biellette est réglée correctement s'il existe un espace de 1,5 à 2 mm entre la grosse rondelle et l'épaulement de la chape de levage (Figure 7).

Si l'écartement n'est pas correct, desserrez l'écrou de blocage et serrez ou desserrez l'écrou de réglage sur l'ensemble biellette pour modifier l'écartement (Figure 7).

Lisez toute la section consacrée au ratissage avant de ratisser un bunker. Plusieurs conditions vont déterminer les réglages à effectuer sur le râteau d'entretien. La texture et la profondeur du sable, son humidité, les mauvaises herbes et le compactage peuvent varier suivant le terrain ou même d'un bunker à l'autre sur un même terrain. Ajustez le râteau de sorte à obtenir les meilleurs résultats pour le terrain où vous vous trouvez.
Entraînez-vous à ratisser dans un bunker de grande dimension et bien nivelé. Entraînez-vous à démarrer, à vous arrêter, à tourner, à lever et abaisser le râteau, à entrer dans le bunker et en sortir, etc. Sélectionnez un régime moteur modéré et une vitesse de déplacement réduite pour vous entraîner. Cette période d'entraînement vous permettra d'acquérir la confiance nécessaire à l'utilisation de la machine.
Note: Ne faites pas marche arrière lorsque l'outil est abaissé. Vous pourriez endommager l'outil.
Si le sable est suffisamment profond, vous pouvez ratisser tout au bord du bunker dans les zones de niveau.
Si le sable s'étend jusqu'au gazon, restez à une distance suffisante du bord pour ne pas déranger le sol sous-jacent.
Ne ratissez pas trop près des berges escarpées. Le sable descendra tout simplement au fond du bunker.
Il sera peut-être nécessaire de finir le ratissage à la main sur les berges escarpées, les petits bunkers, etc.
Ratissez le bunker en suivant le parcours indiqué sur le schéma de la Figure 9. Ce parcours évite les chevauchements inutiles, minimise le compactage et trace un dessin agréable à l'œil sur le sable.
Entrez dans le bunker en ligne droite par la grande longueur, au point où la berge est la moins escarpée. Traversez le centre du bunker presque jusqu'au bout, tournez d'un côté ou de l'autre en braquant autant que possible et revenez directement en sens inverse, parallèlement à la première passe. Continuez ainsi en progressant vers l'extérieur et quittez le bunker à angle droit dans une zone de niveau.
Finissez le ratissage des petites berges escarpées et petites fosses à la main.

Lorsque vous entrez dans le bunker, n'abaissez pas le râteau avant qu'il se trouve directement au-dessus du sable. Vous éviterez ainsi de couper la pelouse ou d'entraîner des déchets d'herbe ou autres dans le bunker. Abaissez le râteau quand la machine se déplace.
Quand vous quittez le bunker, commencez à lever le râteau lorsque les roues avant sortent du bunker. Ainsi, quand la machine sort du bunker, le râteau se relève et n'entraîne donc pas de sable sur l'herbe.
Vous apprendrez rapidement, à force de travail et d'entraînement, à programmer l'entrée dans le bunker et la sortie.
Vous pouvez changez la position du râteau pour augmenter ou réduire son agressivité dans le sable. Montez la barre d'attelage et le râteau comme montré sur les figures suivantes pour obtenir l'agressivité recherchée.
Vous pouvez ajuster la longueur des déplantoirs pour augmenter ou diminuer la pénétration de la dent.
Desserrez les vis de fixation du déplantoir, montez ou descendez le déplantoir à la position voulue et resserrez les vis (Figure 12).

Desserrez les écrous de blocage et dévissez les boulons de butée du râteau (Figure 13) pour limiter le pivotement latéral du râteau. Resserrez les écrous de blocage pour fixer le réglage.

Vous pouvez accessoirement fixer des masses aux râteaux de finition si le sable est humide ou grossier, ou porte des empreintes de pieds profondes. Vous pouvez commander ces bouteilles chez les concessionnaires Toro agréés (réf. 18-7570).
Procédez comme suit pour augmenter la hauteur du râteau lors du transport :
Abaissez l'ensemble râteau et levage aussi bas que possible.
Détachez les chaînes des bras de levage et attachez-les plus haut.
Note: Pour que le râteau fonctionne correctement, ramenez les chaînes à leur position détendue d'origine avant de commencer à ratisser.
Lorsque vous avez fini de ratisser, nettoyez soigneusement la machine. Comme la machine est surtout utilisée dans le sable, qui est très abrasif, enlevez le sable au jet d'eau après chaque utilisation. Si vous nettoyez fréquemment la machine (avant que le sable ait le temps de s'agglomérer), lavez-la au tuyau d'arrosage sans buse. Un jet d'eau haute pression pourrait entraîner le sable dans des zones d'usure où il pourrait agir comme matériau de rodage.
Note: Si l'adaptateur de l'accessoire se coince sur l'adaptateur du groupe de déplacement, insérez un levier/tournevis dans la fente prévue pour désengager les pièces (Figure 14).

Si le levier de verrouillage sur l'adaptateur d'accessoire ne pivote pas librement, appliquez une fine couche de graisse sur la zone illustrée à la Figure 15.
