Manutenção
Lubrificação do adaptador de acessórios
Se a alavanca de bloqueio no adaptador de acessórios não se movimentar livre e facilmente, aplique uma leve camada de lubrificante na área indicada na Figura 15.

Leia estas informações cuidadosamente para saber como utilizar o produto e como efetuar a sua manutenção de forma adequada de forma a evitar ferimentos e evitar danos no produto. A utilização correta e segura do produto é da exclusiva responsabilidade do utilizador.
Pode contactar diretamente a Toro em www.Toro.com para mais informação sobre produtos e acessórios, para obter o contacto de um distribuidor ou registar o seu produto.
Sempre que necessitar de assistência, peças genuínas Toro ou informações adicionais, entre em contacto com um Distribuidor autorizado ou com o Serviço de assistência Toro, indicando os números de modelo e de série do produto. Figura 1 identifica a localização dos números de série e de modelo do produto. Escreva os números no espaço fornecido.

Este manual identifica potenciais perigos e tem mensagens de segurança identificadas pelo símbolo de alerta de segurança (Figura 2), que identifica perigos que podem provocar ferimentos graves ou mesmo a morte, se não respeitar as precauções recomendadas.

Neste manual são utilizados dois termos para identificar informação. Importante chama a atenção para informação especial de ordem mecânica e Nota sublinha informação geral que requer atenção especial.
![]() |
Os autocolantes de segurança e de instruções são facilmente visíveis e situam-se próximo das zonas de potencial perigo. Substitua todos os autocolantes danificados ou em falta. |

Peças necessárias para este passo:
| Montagem do ancinho dentado | 1 |
| Barra de engate | 1 |
| Parafuso (½ pol. x 1¾ pol.) | 1 |
| Porca flangeada (½ pol.) | 1 |
| Porca hexagonal (½ pol.) | 1 |
| Parafuso com cabeça flangeada (⅜ pol. x 1 pol.) | 1 |
| Porca flangeada (⅜ pol.) | 1 |
| Conjunto do adaptador do acessório | 1 |
| Contrapino | 2 |
| Conjunto do braço de elevação | 1 |
| Barra de articulação | 1 |
| Parafuso (⅜ pol. x 1¼ pol.) | 1 |
| Porca de bloqueio (⅜ pol.) | 1 |
Monte a barra de engate, sem apertar, no furo frontal do conjunto de suporte (Figura 3) com um parafuso (½ pol. x 1¾ pol.), porca flangeada (½ pol.) e uma porca hexagonal (½ pol.).

Monte, sem apertar, o tubo do garfo ao furo traseiro no conjunto do suporte com um parafuso de cabeça flangeada (⅜ pol. x 1 pol.) e uma porca flangeada (⅜ pol.).
Aperte as porcas da seguinte forma:
Porca flangeada (½ pol.) – 104 a 126 N∙m
Porca sextavada (½ pol.) – 91 a 113 N∙m
Porca flangeada (⅜ pol.) – 22 a 27 N∙m
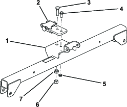
Alinhe o braço de elevação com o suporte no adaptador do acessório (Figura 4) e ligue-os utilizando barra articulada como ilustrado em Figura 5.
Note: Ao mover o adaptador do acessório, utilize o manípulo fornecido na parte posterior do adaptador (Figura 4).


Prenda a barra articulada (Figura 5) com 3 contrapinos e um parafuso (⅜ pol. x 1¼ pol.) e uma porca de bloqueio (⅜ pol.).
Peças necessárias para este passo:
| Parafuso (⅜ pol. x 2½ pol.) | 2 |
| Anilha (⅜ pol. x 7/8 pol.) | 4 |
| Espaçador | 2 |
| Porca de bloqueio (⅜ pol.) | 2 |
Retire qualquer acessório da parte posterior da máquina.
Baixe o adaptador da unidade de tração e recue a unidade de tração para a posição em frente do adaptador de acessórios.
Note: Verifique se a alavanca de bloqueio está para a esquerda (posição de desbloqueio) vista da parte de trás da máquina.
Deslize o adaptador de acessórios para o adaptador de tração.
Important: O braço comprido do braço de elevação tem de estar debaixo do conjunto da estrutura da parte traseira da unidade de tração (Figura 6).
Pode entalar os dedos entre o acessório e os adaptadores da unidade de tração.
Eleve e mova sempre o acessório utilizando a pega na parte de trás do adaptador de acessórios (Figura 6).
Aponte a alavanca de bloqueio para a direita para prender os adaptadores.
Prenda a ligação superior de cada corrente à parte exterior do braço de elevação (Figura 6) utilizando um parafuso (⅜ pol. x 2½ pol.), 2 anilhas (⅜ pol. x 7/8 pol.), um espaçador e uma porca de bloqueio (⅜ pol.).

Note: Para um bom funcionamento do ancinho, as correntes têm de ter alguma folga quando o ancinho se encontra na posição descida (funcionamento).
Note: Certifique-se de que todos os ancinhos de acabamento se sobrepõem devidamente, estão direitos e que nenhuma das correntes está entalada ou torcida.
Com o ancinho montado e fixado na unidade de tração, suba o acessório.
Meça a folga entre a anilha superior e o ombro da culatra de elevação no adaptador do acessório como se mostra na Figura 7.
Note: A ligação está corretamente ajustada se medir uma folga de 1,5 a 2 mm entre a anilha pesada e o ombro da culatra de elevação (Figura 7).

Se a folga não for a correta, desaperte a porca e aperte ou desaperte a porca de ajuste no conjunto da articulação conforme necessário para ajustar a folga (Figura 7).

Leia esta secção sobre a utilização do ancinho antes de o utilizar Há muitas condições que determinam os ajustes do ancinho dentado. A textura e profundidade da areia, conteúdo de humidade, ervas daninhas, a quantidade de compactação podem variar de campo para campo ou até de uma secção para outra do mesmo campo. Faça os ajustes no ancinho para resultados ideais na sua área
Pratique a utilização do ancinho numa área grande e nivelada do campo. Pratique o arranque, paragem, viragem, elevar e descer o ancinho, entrar e sair da área, etc. Pratique com uma velocidade moderada do motor e a uma velocidade lenta no solo. Este treino vai ajudá-lo a ganhar confiança no desempenho da máquina.
Note: Não recue na tração de unidade com o acessório descido. Podem ocorrer danos no acessório.
Se a areia tiver a profundidade necessária, pode utilizar o ancinho até à extremidade da área em áreas niveladas.
Se a areia se encontrar até à relva, afaste-se o suficiente da extremidade para evitar perturbar o solo subjacente.
Não utilize o ancinho demasiado perto de um banco inclinado. A areia vai deslizar para a parte inferior da área.
Pode ser necessário algum retoque com ancinho manual em bancos inclinados, pequenos declives, etc.
Utilize o ancinho de acordo com o padrão que se mostra em Figura 9. Este padrão evita a sobreposição desnecessária, mantém a compactação ao mínimo e deixa um padrão bem proporcionado e atrativo nos relvados.
Entre na área a direito na dimensão maior, onde o banco é menos agressivo. Conduza através do centro da área quase até à extremidade, rode em qualquer direção da forma mais acentuada que puder e regresse para junto da primeira passagem. conduza em espiral para fora como se mostra no desenho e saia da área num ângulo reto numa área nivelada.
Deixe bancos pequenos e inclinados para retoque com um ancinho manual.

Ao entrar na área, não baixe o ancinho até que este se encontre sobre a areia. Isto evita cortar relva ou danificar aparas de relva ou outros detritos na área. Baixe o ancinho enquanto a máquina se está a mover.
Ao sair da área, comece a elevar o ancinho quando a roda da frente sair da área. À medida que a máquina se move, o ancinho vai elevar e não arrasta areia para a relva.
Rapidamente vai ganhar experiência e prática e para entrar e sair da área corretamente.
Pode alterar a posição do ancinho para aumentar ou diminuir a sua agressividade na areia. Monte a barra de engate e o ancinho como se mostra nas figuras seguintes para obter as agressividade pretendida.
Pode ajustar o comprimento das pás para aumentar ou diminuir a penetração do pino.
Desaperte os parafusos de montagem da pá, mova a pá para cima ou para baixo para a posição desejada e aperte os parafusos (Figura 12).

Desaperte as porcas e rode os parafusos de paragem do ancinho (Figura 13) para fora para limitar o curso horizontal de inclinação do ancinho. Aperte as porcas para bloquear o ajuste.

Pode instalar pesos opcionais nos ancinhos de acabamento se a areia for húmida ou grossa ou houver pegadas profundas na área. Poderá encomendar a peça N.º 18-7570 ao seu distribuidor Toro.
Realize o procedimento seguinte para aumentar a altura do ancinho durante o transporte:
Baixe o ancinho e eleve o conjunto o menos possível.
Desligue as correntes dos braços de elevação e volte a ligá-las numa posição superior.
Note: Para assegurar o correto funcionamento do ancinho, as correntes têm de estar na posição de folga original antes de iniciar a operação.
Depois da utilização, limpe cuidadosamente a máquina. Uma vez que a máquina é utilizada principalmente na areia e esta é extremamente abrasiva, a areia deve ser eliminada através de lavagem depois de cada utilização. Se a máquina for limpa frequentemente (antes de o material ter oportunidade de acumular), pode ser lavada com água de uma mangueira sem bico. Um jato de elevada pressão pode levar o material para áreas em que pode agir como componente de moagem.
Note: Se o adaptador de acessórios ficar preso ao adaptador da unidade de tração, insira um pé de cabra/uma chave de parafusos na ranhura de apoio para desencravar as peças (Figura 14).

Se a alavanca de bloqueio no adaptador de acessórios não se movimentar livre e facilmente, aplique uma leve camada de lubrificante na área indicada na Figura 15.
