Parker maskinen p en plan flade.
Aktiver parkeringsbremsen.
Sluk motoren, og tag nglen ud.
Frakobl batteriet. Se betjeningsvejledningen.
Hv ladet til aflsningspositionen, og fastgr det med stttepinden.
Dele, der skal bruges til dette trin:
| Forreste monteringsrr | 2 |
| Flangehovedbolt (5/16" x 3") | 2 |
| Afstandsbsning (" x 1") | 2 |
| Flangemtrik (5/16") | 4 |
| Brddebolt (5/16"x 2") | 2 |
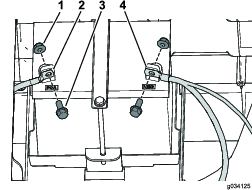
Monter lst de 4 forreste monteringsrr med 2 flangehovedbolte (5/16" x 3"), 2 afstandsbsninger (" x 1"), 2 flangemtrikker (5/16") og 2 brddebolte (5/16" x 2") som vist i Figure 3.

Important: Fr denne procedure udfres, skal du kontrollere din maskine for at se, om der allerede er huller til montering. Hvis ikke, skal du udfre denne procedure.
Note: Gem alle bolte, skruer og mtrikker, som du fjerner under denne procedure.
Fjern flangehovedbolten, der fastgr brndstoftanken p tankbakken (Figure 4).

Fjern de skruer, der fastgr tilholderen (Figure 4).
Frakobl udluftningsslangen og brndstofrret fra tanken (Figure 4).
Note: Gr klar til at opsamle og trre det brndstof op, som du eventuelt mtte spilde, nr du kobler brndstofrret fra tanken.
Under visse forhold er brndstof meget brandfarligt og yderst eksplosivt. En brand eller eksplosion forrsaget af brndstof kan give dig eller andre forbrndinger samt medfre tingsskade.
Tap brndstoffet af brndstoftanken, nr motoren er kold. Dette skal gres udendrs og i et bent omrde. Tr spildt brndstof op.
Ryg aldrig, nr du hndterer brndstof, og hold dig p afstand af ben ild eller steder, hvor brndstofdampene kan antndes af en gnist.
Fjern brndstoftanken fra bakken.
Fjern de 2 flangehovedbolte, der fastgr tankbakken p stellet (Figure 5).

Fjern de 4 skruer, der fastgr venstre sidepanel p den nederste sdeenhed (Figure 6).

Fjern minuskablet (–) fra batteriet og derefter pluskablet (+) (Figure 7).

Fjern de 2 flangehovedbolte, der fastgr batteribakken p stellet (Figure 8).

Fjern de 4 skruer, der fastgr hjre sidepanel p den nederste sdeenhed (Figure 8).
Important: Fr denne procedure udfres, skal du kontrollere din maskine for at se, om der allerede er huller til montering. Hvis ikke, skal du udfre denne procedure.
Note: Gem alle bolte, skruer og mtrikker, som du fjerner under denne procedure.
Bor stttebeslaget efter mlene vist i Figure 11.
Nr du borer det hjeste vre hul, skal du bore hele vejen gennem det yderste beslag, stelrr og brandmuren.
Vr forsigtig, nr du borer hullerne i hjre side af stellet p en elektrisk maskine.
Hvis du borer for langt, kan du beskadige batterierne eller andre komponenter.

Fastgr hjre sidepanel med de 4 skruer, du fjernede tidligere (Figure 8).
Fastgr batteribakken til stellet med de 2 flangehovedbolte, du fjernede tidligere (Figure 8).
Fastgr batterikablerne med de 2 bolte og 2 mtrikker, du fjernede tidligere, og tilslut batteripolerne (Figure 7).
Fastgr venstre sidepanel med de 4 skruer, du fjernede tidligere (Figure 6).
Fastgr tankbakken til stellet med de 2 flangehovedbolte, du fjernede tidligere (Figure 5).
Placer brndstoftanken i tankbakken.
Tilslut brndstofledningen og udluftningsrret til brndstoftanken (Figure 4).
Fastgr tilholderen med de skruer, du fjernede tidligere (Figure 4).
Fastgr brndstoftanken p tankbakken med den flangehovedbolt, du fjernede tidligere (Figure 4).
Fyld brndstoftanken. Se betjeningsvejledningen.
Dele, der skal bruges til dette trin:
| Bageste monteringsrr | 2 |
| Rrmonteringsbeslag | 1 |
| Flangehovedbolt (5/16" x 3") | 2 |
| Flangemtrik (5/16") | 2 |
| Flangehovedbolt (" x 1") | 2 |
| Flangehovedbolt (" x 3") | 2 |
| Lsemtrik (") | 4 |
| Listepakning | 1 |
Monter lst de 2 bageste monteringsrr med 2 flangehovedbolte (" x 3"), 2 flangehovedbolte (" x 1") og 4 lsemtrikker (") som vist i Figure 12.

Fastgr rrmonteringsbeslaget p de bageste monteringsrr med 2 flangehovedbolte (5/16" x 3") og 2 flangemtrikker (5/16") som vist i Figure 13.
Monter listepakningen p rrmonteringsbeslaget (Figure 13).

Stram de fastgrelsesanordninger, som blev monteret i trin 1.
Tilspnd 5/16" fastgrelsesanordningerne med et moment p 20 til 25Nm.
Tilspnd " fastgrelsesanordningerne med et moment p 37 til 45Nm.
Dele, der skal bruges til dette trin:
| Kalechens lange stttebeslag | 2 |
| Sekskantet skivehovedbolt (5/16"x") | 8 |
| Listepakning | 2 |
Dele, der skal bruges til dette trin:
| Kaleche | 1 |
| Flangehovedbolt (" x 1") | 4 |
| Forseglingsskive | 4 |
| Lsemtrik (") | 4 |
Important: Hvis du monterer et spejlst, skal det monteres fr montering af kalechen.
Fastgr kalechen p forreste og bageste monteringsrr med 4 flangehovedbolte (" x 1"), 4 forseglingsskiver og 4 lsemtrikker (") som vist i Figure 15.

Dele, der skal bruges til dette trin:
| Kalechens stttebeslag | 1 |
| Flangehovedbolt (" x 2") | 2 |
| Lsemtrik (") | 2 |
| Forseglingsskive | 2 |
| Listepakning | 1 |
| Afstandsbsning (1/4 tomme) | 2 |
Dele, der skal bruges til dette trin:
| Kalechens sttterr | 1 |
| Lsemtrik (") | 6 |
| Forseglingsskive | 2 |
| Flangehovedbolt (" x 1") | 2 |
| Skumplade | 1 |
| Flangehovedbolt ("x 1") | 4 |
St skumpladen p kalechens sttterr (Figure 18).

Fastgr kalechens sttterr til kalechens lange stttebeslag med 4 flangehovedbolte (" x 1") og 4 lsemtrikker (") som vist i Figure 19.

Brug kalechens sttterr som skabelon, og bor 2 huller (6 mm eller ") i kalechen.
Fastgr kalechens sttterr p kalechen med 2 flangehovedbolte (" x 1"), 2 forseglingsskiver og 2 lsemtrikker (") som vist i Figure 20.
