Parken Sie die Maschine auf einer ebenen Flche.
Aktivieren Sie die Feststellbremse.
Stellen Sie den Motor ab und ziehen Sie den Schlssel ab.
Schlieen Sie die Batterie ab, siehe Bedienungsanleitung.
Heben Sie die Ladepritsche an und sttzen sie mit der Sttzstange ab.
Verwenden Sie die in Figure 1 abgebildeten Abmessungen und bohren Sie ein 5/16" groes Loch in die Auenseite der Bodenplatte an beiden Seiten der Maschine.

Verwenden Sie die in Figure 2 abgebildeten Abmessungen und bohren Sie ein 5/16" groes Loch in die Auenseite des Trittbretts an der linken und rechten Seite der Maschine.

Für diesen Arbeitsschritt erforderliche Teile:
| Vorderes Befestigungsrohr | 2 |
| Bundkopfschraube (5/16" x 3") | 2 |
| Distanzstck (" x 1") | 2 |
| Bundmutter (5/16") | 4 |
| Schlossschraube (5/16"x2") | 2 |
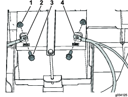
Montieren Sie die beiden vorderen Befestigungsrohre mit zwei Bundkopfschrauben (5/16" x 3"), zwei Abstandshaltern (" x 1"), zwei Bundmuttern (5/16") und zwei Schlossschrauben (5/16" x 4") lose, wie in Figure 3 dargestellt.

Important: Bevor Sie diesen Vorgang durchfhren, berprfen Sie Ihre Maschine, ob diese Lcher fr die Installation bereits vorhanden sind. Falls nicht, fahren Sie mit diesem Vorgang fort.
Note: Bewahren Sie alle Teile, die Sie in diesem Schritt entfernen, fr einen spteren Einbau auf.
Entfernen Sie die Bundkopfschraube, mit welcher der Kraftstofftank am Tankfach befestigt ist (Figure 4).

Entfernen Sie die Schrauben, mit denen die-Befestigungsplatte befestigt ist (Figure 4).
Schlieen Sie den Entlftungsschlauch und die Kraftstoffleitung vom Tank ab (Figure 4).
Note: Beim Trennen der Kraftstoffleitung zum Tank kann Kraftstoff verschttetet werden, fangen Sie diesen auf oder wischen Sie diesen restlos weg.
Unter bestimmten Bedingungen ist Kraftstoff extrem leicht entflammbar und hochexplosiv. Feuer und Explosionen durch Kraftstoff knnen Verbrennungen und Sachschden verursachen.
Lassen Sie den Kraftstoff aus dem Kraftstofftank ab, wenn der Motor kalt ist. Tun Sie das im Freien in einem offenen Bereich. Wischen Sie verschtteten Kraftstoff auf.
Rauchen Sie nie beim Umgang mit Kraftstoff und halten einen Abstand zu offenen Flammen und Bereichen, in denen Kraftstoffdmpfe durch Funken entzndet werden knnten.
Entfernen Sie den Kraftstofftank vom Fach.
Entfernen Sie die beiden Bundkopfschrauben, mit denen das Tankfach am Rahmen befestigt ist (Figure 5).

Entfernen Sie die vier Schrauben, mit denen die linke Seitenwand am Sitzunterteil befestigt ist (Figure 6).

Klemmen Sie das Minuskabel (-) und dann das Pluskabel (+) von der Batterie ab (Figure 7).

Entfernen Sie die beiden Bundkopfschrauben, mit denen das Batteriefach am Rahmen befestigt ist (Figure 8).

Entfernen Sie die vier Schrauben, mit denen die rechte Seitenwand am Sitzunterteil befestigt ist (Figure 8).
Important: Bevor Sie diesen Vorgang durchfhren, berprfen Sie Ihre Maschine, ob diese Lcher fr die Installation bereits vorhanden sind. Falls nicht, fahren Sie mit diesem Vorgang fort.
Note: Bewahren Sie alle Teile, die Sie in diesem Schritt entfernen, fr einen spteren Einbau auf.
Nehmen Sie die vier Blechschrauben ab, mit denen die rechte Seitenwand an der Maschine befestigt ist (Figure 9).

Entfernen Sie die zwei Schrauben, mit denen die Halterung des Ladegerts am Batteriefach befestigt ist (Figure 10).

Entfernen Sie die vier Blechschrauben ab, mit denen die linke Seitenwand an der Maschine befestigt ist (Figure 10).
Bohren Sie die Lcher in die Halterung anhand der in Figure 11 abgebildeten Maangaben.
Wenn Sie das oberste Loch bohren, achten Sie darauf, dass Sie auch durch die uere Konsole, das Rahmenrohr und die Spritzwand bohren.
Passen Sie bei einer elektrischen Maschine auf, wenn Sie die Lcher an der rechten Seite des Rahmens bohren.
Wenn Sie zu tief bohren, knnen Sie die Batterien oder andere Teile beschdigen.

Befestigen Sie die rechte Seitenwand mit den zuvor entfernten vier Schrauben (Figure 8).
Befestigen Sie das Batteriefach mit den beiden zuvor entfernten Bundkopfschrauben am Rahmen (Figure 8).
Sichern Sie die Batteriekabel mit den zuvor entfernten zwei Schrauben und zwei Muttern und schlieen Sie die Batterieklemmen an (Figure 7).
Befestigen Sie die Befestigungsplatte mit den zwei vorher entfernten Schrauben an der linken Seitenwand (Figure 6).
Befestigen Sie das Tankfach mit den beiden zuvor entfernten Bundkopfschrauben am Rahmen (Figure 5).
Setzen Sie den Kraftstofftank in das Tankfach.
Schlieen Sie die Kraftstoffleitung und den Entlftungsschlauch an den Kraftstofftank an (Figure 4).
Sichern Sie die Befestigungsplatte mit den zuvor entfernten Schrauben (Figure 4).
Befestigen Sie den Kraftstofftank mit dem zuvor entfernten Bundkopfschraube am Tankfach (Figure 4).
Fllen Sie den Kraftstofftank auf, siehe Bedienungsanleitung.
Befestigen Sie die linke Seitenwand mit den zuvor entfernten vier Blechschrauben (Figure 10).
Befestigen Sie die Halterung des Ladegerts mit den beiden zuvor entfernten Schrauben am Batteriefach (Figure 10).
Befestigen Sie die rechte Seitenwand mit den zuvor entfernten vier Blechschrauben (Figure 9).
Für diesen Arbeitsschritt erforderliche Teile:
| Hinteres Befestigungsrohr | 2 |
| Rohrhalterung | 1 |
| Bundkopfschraube (5/16" x 3") | 2 |
| Bundmutter (5/16") | 2 |
| Bundkopfschraube (" x 1") | 2 |
| Bundkopfschraube (" x 3") | 2 |
| Sicherungsmutter (") | 4 |
| Blendendichtung | 1 |
Bringen Sie die beiden hinteren Befestigungsrohre mit zwei Bundkopfschrauben ( “ x 3 “), zwei Bundkopfschrauben ( “ x 1 “) und vier Sicherheitsmuttern ( “) lose an, wie in Figure 12 dargestellt.

Befestigen Sie die die Rohrhalterung mit zwei Bundkopfschrauben (5/16" x 3") und vier Bundmuttern (5/16") an den hinteren Befestigungsrohren, wie in Figure 13 dargestellt.
Montieren Sie die Blendendichtung an der Rohrhalterung (Figure 13).

Ziehen Sie die in Schritt 1 eingesetzten Befestigungen an.
Ziehen Sie die 5/16" Befestigungen auf ein Drehmoment von 20-25Nm fest.
Ziehen Sie die " Befestigungen auf ein Drehmoment von 37-45Nm fest.
Für diesen Arbeitsschritt erforderliche Teile:
| Lange Sonnendachhalterung | 2 |
| Sechskantschraube (5/16" x ") | 8 |
| Blendendichtung | 2 |
Für diesen Arbeitsschritt erforderliche Teile:
| Sonnendach | 1 |
| Bundkopfschraube (" x 1") | 4 |
| Dichtungsscheibe | 4 |
| Sicherungsmutter (") | 4 |
Important: Wenn Sie ein Spiegelkit installieren, installieren Sie dieses zuerst, bevor Sie das Sonnendach montieren.
Befestigen Sie das Sonnendach mit vier Bundkopfschrauben ("x1 “), vier Dichtscheiben und vier Sicherungsmuttern (") an den vorderen und hinteren Befestigungsrohren, wie in Figure 15 dargestellt.

Für diesen Arbeitsschritt erforderliche Teile:
| Sonnendachhalterung | 1 |
| Bundkopfschraube ("x4") | 2 |
| Sicherungsmutter (") | 2 |
| Dichtungsscheibe | 2 |
| Blendendichtung | 1 |
| Distanzstck (") | 2 |
Montieren Sie die Blendendichtung an der Rohrhalterung (Figure 16).

Befestigen Sie die Sonnendachhalterung mit den beiden Bundkopfschrauben ( “ x 2 “), zwei Distanzscheiben ( “), zwei Dichtscheiben und zwei Sicherungsmuttern ( “) an den vorderen Sttzrohren und dem Sonnendach, wie in Figure 17 dargestellt.

Für diesen Arbeitsschritt erforderliche Teile:
| Sonnendach-Sttzrohr | 1 |
| Sicherungsmutter (") | 6 |
| Dichtungsscheibe | 2 |
| Bundkopfschraube (" x 1-") | 2 |
| Schaumstoffpolster | 1 |
| Bundkopfschraube (" x 1") | 4 |
Bringen Sie das Schaumstoffpolster auf das Sonnendach-Sttzrohr auf (Figure 18).

Befestigen Sie das Sonnendach-Sttzrohren mit vier Bundkopfschrauben ("x1-") und vier Sicherungsmuttern (") an der langen Sonnendachhalterung an, wie in Figure 19 dargestellt.

Bohren Sie zwei Lcher (6mm) in das Sonnendach, nehmen Sie hierzu das Sonnendach-Sttzrohr als Schablone.
Befestigen Sie das Sonnendach-Sttzrohr mit zwei Bundkopfschrauben ("x1-"), zwei Dichtscheiben und zwei Sicherungsmuttern (") am Sonnendach, wie in Figure 20 dargestellt.
