Pyski kone tasaiselle alustalle.
Kytke seisontajarru.
Sammuta moottori ja irrota virta-avain.
Kytke akku irti. Katso kyttopas.
Nosta kuljetuslava tyhjennysasentoon ja tue se kannatintangolla.
Vaiheeseen tarvittavat osat:
| Etukiinnitysputki | 2 |
| Laippakantapultti (5/163tuumaa) | 2 |
| Vlikappale (1tuumaa) | 2 |
| Laippamutteri (5/16tuumaa) | 4 |
| Lukkopultti (5/162tuumaa) | 2 |
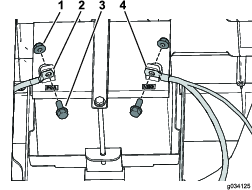
Asenna kaksi etukiinnitysputkea lyssti kahdella laippakantapultilla (5/163tuumaa), kahdella vlikappaleella (1tuumaa), kahdella laippamutterilla (5/16tuumaa) ja kahdella lukkopultilla (5/164 tuumaa) kuvan mukaisesti (Figure 3).

Important: Tarkista ennen tt toimenpidett, onko koneessa jo asennusreit. Jos ei, suorita toimenpide.
Note: Silyt kaikki tss toimenpiteess irrotettavat kiinnitystarvikkeet.
Irrota laippakantapultti, jolla polttoainesili on kiinnitetty silin alustaan (Figure 4).

Irrota ruuvit, joilla pidike on kiinnitetty (Figure 4).
Irrota ilmaletku ja polttoaineletku silist (Figure 4).
Note: Valmistaudu ottamaan talteen ja pyyhkimn valuva polttoaine, kun irrotat polttoaineletkun silist.
Tietyiss oloissa polttoaine on hyvin tulenarkaa ja rjhdysherkk. Polttoaineen aiheuttama tulipalo tai rjhdys voi aiheuttaa palovammoja ja omaisuusvahinkoja.
Polttoainesilin tyhjennys tulee suorittaa silloin, kun moottori on kylm. Tyhjennys tulee suorittaa ulkona ja avoimessa tilassa. Pyyhi likkynyt polttoaine pois.
l tupakoi polttoainetta ksitellesssi ja pysy kaukana avotulesta tai paikoista, joissa kipin voi sytytt polttoainehyryt.
Irrota polttoainesili alustasta.
Irrota kaksi laippakantapulttia, joilla silin alusta on kiinni rungossa (Figure 5).

Irrota nelj ruuvia, joilla vasemmanpuoleinen paneeli on kiinni alemmassa istuinkokoonpanossa (Figure 6).

Irrota akusta ensin miinuskaapeli (–) ja sitten pluskaapeli (+) (Figure 7).

Irrota kaksi laippakantapulttia, joilla akkualusta on kiinni rungossa (Figure 8).

Irrota nelj ruuvia, joilla oikeanpuoleinen paneeli on kiinni alemmassa istuinkokoonpanossa (Figure 8).
Important: Tarkista ennen tt toimenpidett, onko koneessa jo asennusreit. Jos ei, suorita toimenpide.
Note: Silyt kaikki tss toimenpiteess irrotettavat kiinnitystarvikkeet.
Poraa tukikannatin kuvassa (Figure 11) esitettyjen mittojen mukaisesti.
Varmista ylimmisen rein poraamisen yhteydess, ett poraat kokonaan ulomman kannattimen, runkoputken ja rintapellin lpi.
Ole varovainen poratessasi reiki shkkyttisen koneen rungon oikealle puolelle.
Liian syvlle poraaminen voi vaurioittaa akkuja tai muita osia.

Kiinnit oikeanpuoleinen paneeli neljll aikaisemmin irrotetulla ruuvilla (Figure 8).
Kiinnit akkualusta runkoon kahdella aikaisemmin irrotetulla laippakantapultilla (Figure 8).
Kiinnit akkukaapelit kahdella aikaisemmin irrotetulla pultilla ja mutterilla ja kytke akkukengt (Figure 7).
Kiinnit vasemmanpuoleinen paneeli neljll aikaisemmin irrotetulla ruuvilla (Figure 6).
Kiinnit silin alusta runkoon kahdella aikaisemmin irrotetulla laippakantapultilla (Figure 5).
Aseta polttoainesili silin alustalle.
Liit polttoaineletku ja ilmaletku polttoainesilin (Figure 4).
Kiinnit pidike aikaisemmin irrotetuilla ruuveilla (Figure 4).
Kiinnit polttoainesili silin alustaan aikaisemmin irrotetulla laippakantapultilla (Figure 4).
Tyt polttoainesili. Katso ohjeet kyttoppaasta.
Vaiheeseen tarvittavat osat:
| Takakiinnitysputki | 2 |
| Putkien asennuskannatin | 1 |
| Laippakantapultti (5/163tuumaa) | 2 |
| Laippamutteri (5/16tuumaa) | 2 |
| Laippakantapultti ( 1-tuumaa) | 2 |
| Laippakantapultti (3-tuumaa) | 2 |
| Lukkomutteri (tuumaa) | 4 |
| Nauhatiiviste | 1 |
Asenna kaksi takakiinnitysputkea lyssti kahdella laippakantapultilla (3-tuumaa), kahdella laippakantapultilla (1-tuumaa) ja neljll lukkomutterilla (tuumaa) kuvan mukaisesti (Figure 12).

Kiinnit putkien asennuskannatin takakiinnitysputkiin kahdella laippakantapultilla (5/163tuumaa) ja kahdella laippamutterilla (5/16tuumaa) kuvan mukaisesti (Figure 13).
Asenna nauhatiiviste putkien asennuskannattimeen (Figure 13).

Kirist vaiheessa 1 asennetut kiinnikkeet.
Kirist 5/16tuuman kiinnikkeet momenttiin 20–25Nm.
Kirist tuuman kiinnikkeet momenttiin 37–45Nm.
Vaiheeseen tarvittavat osat:
| Katoksen pitk tukikannatin | 2 |
| Littekantainen kuusiopultti (5/16tuumaa) | 8 |
| Nauhatiiviste | 2 |
Vaiheeseen tarvittavat osat:
| Katos | 1 |
| Laippakantapultti (1-tuumaa) | 4 |
| Tiivistealuslaatta | 4 |
| Lukkomutteri (tuumaa) | 4 |
Important: Jos koneeseen asennetaan peilisarja, asenna se ennen katoksen asentamista.
Kiinnit katos etu- ja takakiinnitysputkiin neljll laippakantapultilla (1-tuumaa), neljll tiivistealuslaatalla ja neljll lukkomutterilla (tuumaa) kuvan mukaisesti (Figure 15).

Vaiheeseen tarvittavat osat:
| Katoksen tukikannatin | 1 |
| Laippakantapultti (2-tuumaa) | 2 |
| Lukkomutteri (tuumaa) | 2 |
| Tiivistealuslaatta | 2 |
| Nauhatiiviste | 1 |
| Vlikappale (1/4tuumaa) | 2 |
Vaiheeseen tarvittavat osat:
| Katoksen tukiputki | 1 |
| Lukkomutteri (tuumaa) | 6 |
| Tiivistealuslaatta | 2 |
| Laippakantapultti (1-tuumaa) | 2 |
| Vaahtomuovipala | 1 |
| Laippakantapultti (1-tuumaa) | 4 |
Aseta vaahtomuovipala katoksen tukiputkeen (Figure 18).

Kiinnit katoksen tukiputki katoksen pitkiin tukikannattimiin neljll laippakantapultilla (1-tuumaa) ja neljll lukkomutterilla (tuumaa) kuvan mukaisesti (Figure 19).

Kyt mallina katoksen tukiputkea ja poraa katokseen kaksi reik (6mm tai tuumaa).
Kiinnit katoksen tukiputki katokseen kahdella laippakantapultilla (1-tuumaa), kahdella tiivistealuslaatalla ja kahdella lukkomutterilla (tuumaa) kuvan mukaisesti (Figure 20).
