Garez la machine sur un sol plat et horizontal.
Serrez le frein de stationnement.
Coupez le moteur et enlevez la cl.
Dbranchez la batterie; voir le Manuel de l'utilisateur.
Levez le plateau de chargement en position dchargement et bloquez-le en position avec la bquille.
Pièces nécessaires pour cette opération:
| Tube de montage avant | 2 |
| Boulon embase (5/16"x3") | 2 |
| Entretoise ("x1") | 2 |
| crou embase (5/16") | 4 |
| Boulon de carrosserie (5/16"x2") | 2 |
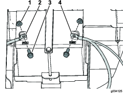
Fixez lgrement les 4 tubes de montage avant l'aide de 2 boulons embase (5/16"x3"), 2 entretoises ("x1"), 2 crous embase (5/16") et 2 boulons de carrosserie (5/16"x2"), comme montr la Figure 3.

Important: Avant d'effectuer cette procdure, vrifiez si les trous de montage existent dj sur votre machine. Si ce n'est pas le cas, effectuez cette procdure.
Note: Conservez toutes les fixations que vous retirez au cours de cette procdure.
Retirez le boulon embase qui fixe le rservoir de carburant son support (Figure 4).

Retirez les vis de fixation du dispositif de maintien (Figure 4).
Dbranchez le flexible d'vent et la conduite de carburant du rservoir (Figure 4).
Note: Soyez prt recueillir et nettoyer le carburant qui peut s'chapper quand vous dbranchez la conduite de carburant du rservoir.
Dans certaines circonstances, le carburant est extrmement inflammable et hautement explosif. Un incendie ou une explosion par du carburant peut vous brler, ainsi que les personnes se tenant proximit, et causer des dommages matriels.
Vidangez le rservoir de carburant lorsque le moteur est froid. Effectuez cette opration l'extrieur, dans un endroit dgag. Essuyez tout carburant rpandu.
Ne fumez jamais quand vous manipulez du carburant, et tenez-vous l'cart des flammes nues et tincelles qui pourraient enflammer les vapeurs de carburant.
Dposez le rservoir de carburant de son support.
Retirez les 2 boulons embase qui fixent le support du rservoir au cadre (Figure 5).

Retirez les 4 vis qui fixent le panneau gauche la partie infrieure de l'ensemble siges (Figure 6).

Dbranchez le cble ngatif (–) de la batterie, puis le cble positif (+).Figure 7

Retirez les 2 boulons embase qui fixent le support de la batterie au cadre (Figure 8).

Retirez les 4 vis qui fixent le panneau droit la partie infrieure de l'ensemble siges (Figure 8).
Important: Avant d'effectuer cette procdure, vrifiez si les trous de montage existent dj sur votre machine. Si ce n'est pas le cas, effectuez cette procdure.
Note: Conservez toutes les fixations que vous retirez au cours de cette procdure.
Percez le support en vous aidant des mesures indiques sur la Figure 11.
Quand vous percez le trou suprieur le plus haut, veillez traverser compltement le support extrieur, le tube du cadre et la cloison pare-feu.
Percez les trous avec prcaution dans le ct droit du cadre sur les machines lectriques.
Si vous percez trop profondment, vous risquez d'endommager les batteries ou autres composants.

Fixez le panneau droit l'aide des 4 vis retires prcdemment (Figure 8).
Fixez le support de la batterie sur le cadre l'aide des 2 boulons embase retirs prcdemment (Figure 8).
Fixez les cbles de la batterie avec les 2 boulons et les 2 crous retirs prcdemment, puis connectez les bornes de la batterie (Figure 7).
Fixez le panneau gauche l'aide des 4 vis retires prcdemment (Figure 6).
Fixez le support du rservoir sur le cadre l'aide des 2 boulons embase retirs prcdemment (Figure 5).
Placez le rservoir de carburant dans son support.
Branchez la canalisation de carburant et le tube d'vent au rservoir de carburant (Figure 4).
Fixez le dispositif de maintien avec les vis retires prcdemment (Figure 4).
Fixez le rservoir de carburant sur son support l'aide du boulon embase retir prcdemment (Figure 4).
Remplissez le rservoir de carburant; voir le Manuel de l'utilisateur.
Pièces nécessaires pour cette opération:
| Tube de montage arrire | 2 |
| Support de tube de montage | 1 |
| Boulon embase (5/16"x3") | 2 |
| crou embase (5/16") | 2 |
| Boulon embase ("x1") | 2 |
| Boulon embase ("x3") | 2 |
| Contre-crou (") | 4 |
| Joint de garniture | 1 |
Fixez lgrement les 2 tubes de montage arrire l'aide de 2 boulons embase ("x3"), 2 boulons embase ( x 1") et 4 contre-crous ("), comme montr la Figure 12.

Fixez le support des tubes de montage aux tubes de montage arrire au moyen de 2 boulons embase (5/16"x3") et 2 crous embase (5/16"), comme montr la Figure 13.
Installez le joint de garniture sur le support des tubes de montage (Figure 13).

Serrez les fixations installes l'opration 1.
Serrez les fixations de 5/16pouce un couple de 20 25Nm.
Serrez les fixations de pouce un couple de 37 45Nm.
Pièces nécessaires pour cette opération:
| Support d'abri long | 2 |
| Boulon tte hexagonale embase (5/16"x") | 8 |
| Joint de garniture | 2 |
Pièces nécessaires pour cette opération:
| Abri | 1 |
| Boulon embase ("x1") | 4 |
| Rondelle d'tanchit | 4 |
| Contre-crou (") | 4 |
Important: Si vous montez un kit rtroviseur, installez-le avant l'abri.
Fixez l'abri aux tubes de montage avant et arrire au moyen de 4 boulons embase ("x1"), 4 rondelles d'tanchit et 4 contre-crous ("), comme montr la Figure 15.

Pièces nécessaires pour cette opération:
| Support d'abri | 1 |
| Boulon embase ("x2") | 2 |
| Contre-crou (") | 2 |
| Rondelle d'tanchit | 2 |
| Joint de garniture | 1 |
| Entretoise (") | 2 |
Pièces nécessaires pour cette opération:
| Tube de support d'abri | 1 |
| Contre-crou (") | 6 |
| Rondelle d'tanchit | 2 |
| Boulon embase ("x1") | 2 |
| Coussin de mousse | 1 |
| Boulon embase ("x1") | 4 |
Appliquez le coussin de mousse sur le tube de support d'abri (Figure 18).

Fixez le tube de support d'abri aux supports longs l'aide de 4 boulons embase ("x1") et 4 contre-crous ("), comme montr la Figure 19.

En vous servant du tube de support d'abri comme gabarit, percez 2 trous (6mm) dans l'abri.
Fixez le tube de support l'abri au moyen de 2 boulons embase ("x1"), 2 rondelles d'tanchit et 2 contre-crous ("), comme montr la Figure 20.
