Parcheggiate la macchina su terreno pianeggiante.
Inserite il freno di stazionamento.
Spegnete il motore e togliete la chiave.
Scollegate la batteria; fate riferimento al vostro Manuale dell'operatore.
Sollevate il pianale in posizione di scarico e fissatelo con l’asta di supporto.
Parti necessarie per questa operazione:
| Tubo di montaggio anteriore | 2 |
| Bullone a testa flangiata (5/16"x3") | 2 |
| Distanziale (5/8" x 1") | 2 |
| Dado flangiato (5/16") | 4 |
| Bullone a testa tonda (5/16" x 2") | 2 |
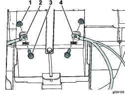
Montate, senza serrarli, i 4 tubi di montaggio anteriori utilizzando 2 bulloni a testa flangiata (5/16" x 3"), 2 distanziali (" x 1"), 2 dadi flangiati (5/16") e 2 bulloni a testa tonda (5/16" x 2"), come illustrato nella Figure 3.

Important: Prima di effettuare questa procedura, controllate la macchina per vedere se i fori per l'installazione esistono gi. In caso contrario, proseguite con questa procedura.
Note: Conservate tutta la bulloneria che rimuovete in questa procedura.
Rimuovete il bullone a testa flangiata che fissa il serbatoio del carburante al vassoio del serbatoio (Figure 4).

Rimuovete le viti che fissano il dispositivo di tenuta (Figure 4).
Scollegate il tubo di sfiato e la tubazione del carburante dal serbatoio (Figure 4).
Note: Preparatevi a raccogliere e pulire eventuale carburante fuoriuscito durante lo scollegamento del tubo di alimentazione dal serbatoio.
In talune condizioni il carburante estremamente infiammabile ed altamente esplosivo. Un incendio o un'esplosione possono ustionare voi ed altre persone e causare danni.
Spurgate il carburante dal relativo serbatoio quando il motore freddo. Eseguite questa operazione all'aperto e in un’area ampia e tergete il carburante versato.
Non fumate mai quando maneggiate il carburante e tenetevi a distanza da fiamme aperte o luoghi dove scintille possano accendere i vapori di carburante.
Rimuovete il serbatoio del carburante dal vassoio.
Togliete i 2 bulloni a testa flangiata che fissano il vassoio del serbatoio al telaio (Figure 5).

Togliete le 4 viti che fissano il pannello laterale sinistro al gruppo del sedile inferiore (Figure 6).

Rimuovete il cavo negativo (-) dalla batteria e poi il cavo positivo (+) (Figure 7).

Rimuovete i 2 bulloni a testa flangiata che fissano il vassoio della batteria al telaio (Figure 8).

Togliete le 4 viti che fissano il pannello laterale destro al gruppo del sedile inferiore (Figure 8).
Important: Prima di effettuare questa procedura, controllate la macchina per vedere se i fori per l'installazione esistono gi. In caso contrario, proseguite con questa procedura.
Note: Conservate tutta la bulloneria che rimuovete in questa procedura.
Rimuovete le 4 viti autofilettanti che fissano il pannello laterale destro alla macchina (Figure 9).

Rimuovete i 2 bulloni che fissano la staffa del caricabatterie al vassoio della batteria (Figure 10).

Rimuovete le 4 viti autofilettanti che fissano il pannello laterale sinistro alla macchina (Figure 10).
Forate la staffa di supporto utilizzando le misure illustrate nella Figure 11.
Quando praticate il foro superiore pi in alto, assicuratevi di forare completamente attraverso la staffa esterna, il tubo del telaio e la barriera tagliafuoco.
Prestate cautela quando praticate i fori sul lato destro del telaio su una macchina elettrica.
Se praticate un foro troppo profondo, potreste danneggiare le batterie o altri componenti.

Fissate il pannello laterale destro utilizzando le 4 viti rimosse in precedenza (Figure 8).
Fissate il vassoio della batteria al telaio utilizzando i 2 bulloni a testa flangiata rimossi in precedenza (Figure 8).
Fissate i cavi della batteria utilizzando i 2 bulloni e i 2 dadi rimossi in precedenza e collegate i morsetti della batteria (Figure 7).
Fissate il pannello sinistro utilizzando le 4 viti rimosse in precedenza (Figure 6).
Fissate il vassoio del serbatoio al telaio utilizzando i 2 bulloni a testa flangiata rimossi in precedenza (Figure 5).
Posizionate il serbatoio del carburante al vassoio del serbatoio.
Collegate il tubo del carburante e il tubo di sfiato al serbatoio del carburante (Figure 4).
Fissate il dispositivo di tenuta utilizzando le viti rimosse in precedenza (Figure 4).
Fissate il serbatoio del carburante al relativo vassoio utilizzando il bullone a testa flangiata rimosso in precedenza (Figure 4).
Riempite il serbatoio del carburante; fate riferimento al Manuale dell'operatore.
Fissate il pannello sinistro utilizzando le 4 viti autofilettanti rimosse in precedenza (Figure 10).
Fissate la staffa del caricatore al vassoio della batteria utilizzando i 2 bulloni rimossi in precedenza (Figure 10).
Fissate il pannello laterale destro utilizzando le 4 viti autofilettanti rimosse in precedenza (Figure 9).
Parti necessarie per questa operazione:
| Tubo di montaggio posteriore | 2 |
| Staffa di montaggio del tubo | 1 |
| Bullone a testa flangiata (5/16"x3") | 2 |
| Dado flangiato (5/16") | 2 |
| Bullone a testa flangiata (" x 1-") | 2 |
| Bullone a testa flangiata (" x 3") | 2 |
| Dado di bloccaggio (") | 4 |
| Guarnizione di contorno | 1 |
Montate, senza serrarli, i 2 tubi di montaggio posteriori utilizzando 2 bulloni a testa flangiata (" x 3-"), 2 bulloni a testa flangiata (" x 1-") e 4 dadi di bloccaggio (") come illustrato nella Figure 12.

Fissate la staffa di montaggio del tubo sui tubi di montaggio posteriori utilizzando 2 bulloni a testa flangiata (5/16" x 3") e 2 dadi flangiati (5/16") come illustrato nella Figure 13.
Montate la guarnizione di contorno sulla staffa di montaggio del tubo (Figure 13).

Serrate i dispositivi di fissaggio montati al passaggio 1.
Serrate i dispositivi di fissaggio da 5/16" a una coppia di 20–25N∙m.
Serrate i dispositivi di fissaggio da " a una coppia di 37–45N∙m.
Parti necessarie per questa operazione:
| Staffa di supporto del tettuccio lungo | 2 |
| Bullone a testa esagonale con rondella (5/16" x ") | 8 |
| Guarnizione di contorno | 2 |
Parti necessarie per questa operazione:
| Tettuccio | 1 |
| Bullone a testa flangiata (" x 1-") | 4 |
| Rondella di tenuta | 4 |
| Dado di bloccaggio (") | 4 |
Important: Se state montando un kit specchietti, montatelo prima dell'installazione del tettuccio.
Fissate il tettuccio ai tubi di montaggio anteriore e posteriore utilizzando 4 bulloni a testa flangiata (" x 1-"), 4 rondelle di tenuta e 4 dadi di bloccaggio (") come illustrato nella Figure 15.

Parti necessarie per questa operazione:
| Staffa di supporto del tettuccio | 1 |
| Bullone a testa flangiata (" x 2-") | 2 |
| Dado di bloccaggio (") | 2 |
| Rondella di tenuta | 2 |
| Guarnizione di contorno | 1 |
| Distanziale (") | 2 |
Montate la guarnizione di contorno sulla staffa di montaggio del tubo (Figure 16).

Fissate la staffa di supporto del tettuccio ai tubi di supporto anteriori e al tettuccio utilizzando 2 bulloni a testa flangiata (" x 2-"), 2 distanziali ("), 2 rondelle di tenuta e 2 dadi di bloccaggio (") come illustrato nella Figure 17.

Parti necessarie per questa operazione:
| Tubo di supporto del tettuccio | 1 |
| Dado di bloccaggio (") | 6 |
| Rondella di tenuta | 2 |
| Bullone a testa flangiata ("x 1-") | 2 |
| Cuscinetto in schiuma | 1 |
| Bullone a testa flangiata (" x 1-") | 4 |
Applicate il cuscinetti in schiuma al tubo di supporto del tettuccio (Figure 18).

Fissate il tubo di supporto del tettuccio alle staffe di supporto del tettuccio lungo utilizzando 4 bulloni a testa flangiata (" x 1-") e 4 dadi di bloccaggio (") come illustrato nella Figure 19.

Utilizzando il tubo di supporto del tettuccio come riferimento, praticate 2 fori (6 mm o ") nel tettuccio.
Fissate il tubo di supporto del tettuccio al tettuccio stesso utilizzando 2 bulloni a testa flangiata (" x 1-"), 2 rondelle di tenuta e 2 dadi di bloccaggio ("), come illustrato nella Figure 20.
