平らな場所に駐車する。
駐車ブレーキを掛ける。
エンジンを止め、キーを抜き取る。
バッテリーの接続を外す; 各マシンのオペレーターズマニュアルを参照。
荷台をダンプ位置まで上げ、支持棒で支える。
この作業に必要なパーツ
| 前側取り付けチューブ | 2 |
| フランジヘッドボルト(5/16 x 3") | 2 |
| スペーサ( x 1") | 2 |
| フランジナット (5/16") | 4 |
| キャリッジボルト(5/16 x 2") | 2 |
前側取り付けチューブ(4本)をFigure 3のように仮付けする;フランジヘッドボルト(5/16 x 3")2 本、スペーサ( x 1")2 個、フランジナット(5/16")2 個、キャリッジボルト(5/16 x 2")を使用する。

Important: 取り付け穴を形成済みのものがありますから、事前に確認してください。穴が形成されていない場合には、以下の要領で形成してください。
Note: ここで取り外す部品はすべて保管してください。
燃料タンクをタンクトレイに固定しているフランジヘッドボルトを外す(Figure 4)。

押さえ棒を固定しているねじを外す(Figure 4)。
タンクから通気チューブと燃料ラインを外す(Figure 4)。
Note: タンクから燃料ラインを外す時に燃料が流れ出す可能性がありますから、回収や清掃の準備をしておいてください。
燃料は非常に引火・爆発しやすい物質である。発火したり爆発したりすると、やけどや火災などを引き起こす。
燃料タンクからの燃料の抜き取りはエンジンが冷えてから行う。この作業は必ず屋外の広い場所で行う。こぼれた燃料はふき取る。
燃料の取り扱い中は禁煙を厳守し、火花や炎を絶対に近づけない。
トレイから燃料タンクを外す。
タンクトレイをフレームに固定しているフランジヘッドボルト(2本)を取り外す(Figure 5)。

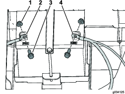
左側パネルを下側座席アセンブリに固定しているねじ4本を外す(Figure 6)。

バッテリーから、マイナス(-)ケーブルを外し、次にプラス(+)ケーブルを外す(Figure 7)。

バッテリートレイをフレームに固定しているフランジヘッドボルト(2本)を取り外す(Figure 8)。

右側パネルを下側座席アセンブリに固定しているねじ4本を外す(Figure 8)。
サポートブラケットの Figure 11 に示す寸法位置に穴を開ける。
一番高い位置の穴を開けるときには、外側ブラケット、フレームチューブ、ファイアウォールを貫通する穴をさせてください。
電動車両では、フレーム右側への穴開けの際に注意が必要です。
ドリルを深く入れすぎると、バッテリーなどを傷つける可能性あります。

右側パネルを固定する;先ほど取り外したねじ(4本)を使用する(Figure 8)。
バッテリートレイをフレームに固定する;先ほど取り外したフランジヘッドボルト(2 本)を使用する(Figure 8)。
バッテリーケーブルを固定する;先ほど外したボルト(2 本)とナット(2 個)でバッテリー端子に接続する(Figure 7)。
肥大側パネルを固定する;先ほど取り外したねじ(4本)を使用する(Figure 6)。
タンクトレイをフレームに固定する;先ほど取り外したフランジヘッドボルト(2 本)を使用する(Figure 5)。
タンクトレイに燃料タンクを載せる。
燃料タンクに燃料ラインと通気チューブを取り付ける(Figure 4)。
先ほど外したねじで押さえを取り付ける(Figure 4)。
燃料タンクトレイに燃料タンクを固定する;先ほど外したフランジヘッドボルトを使用する(Figure 4)。
燃料タンクに燃料を入れる;オペレーターズマニュアルを参照。
この作業に必要なパーツ
| 後側取り付けチューブ | 2 |
| チューブ取り付けブラケット | 1 |
| フランジヘッドボルト(5/16 x 3") | 2 |
| フランジナット(5/16") | 2 |
| フランジヘッドボルト ( x 1") | 2 |
| フランジヘッドボルト ( x 3") | 2 |
| ロックナット(") | 4 |
| トリムシール | 1 |
後側取り付けチューブを仮止めする;フランジヘッドボルト( x 3")2本、フランジヘッドボルト( x 1")2本、ロックナット(")4個を使用してFigure 12のように取り付ける。

チューブ取り付けブラケットを後側取り付けチューブに固定する;フランジヘッドボルト(5/16 x 3") 2 本とフランジナット(5/16")でFigure 13のように取り付ける。
チューブ取り付けブラケットにトリムシールを取り付ける(Figure 13)。

ステップ1で取り付けた固定具を本締めする。
5/16" のボルト・ナットを 20-25Nm (2.0-2.6kg.m = 175-225in-lb) にトルク締めする。
" のボルト・ナットを 37-45Nm (3.7-4.5kg.m = 27-33ft-lb) にトルク締めする。
この作業に必要なパーツ
| 日よけ | 1 |
| フランジヘッドボルト ( x 1") | 4 |
| シーリングワッシャ | 4 |
| ロックナット(") | 4 |
Important: ミラーキットを取り付ける場合は、日よけの取り付け前に取り付けてください。
前後の取り付けチューブに、日よけを固定する;フランジヘッドボルト( x 1")4 本、シーリングワッシャ 4 枚、ロックナット(")4 個でFigure 15のように取り付ける。

この作業に必要なパーツ
| 日よけサポートチューブ | 1 |
| ロックナット(") | 6 |
| シーリングワッシャ | 2 |
| フランジヘッドボルト ( x 1") | 2 |
| ウレタンパッド | 1 |
| フランジヘッドボルト ( x 1") | 4 |