Parkeer de machine op een horizontaal oppervlak.
Stel de parkeerrem in werking.
Zet de motor af en haal het sleuteltje uit het contact.
Koppel de accu los; raadpleeg de Gebruikershandleiding die bij uw hoort.
Breng de laadbak omhoog in de stortstand en ondersteun hem met de steunstang.
Benodigde onderdelen voor deze stap:
| Voorste bevestigingsbuis | 2 |
| Flenskopbout (5/16" x 3") | 2 |
| Afstandsstuk (" x 1") | 2 |
| Flensmoer (5/16") | 4 |
| Slotbout (5/16"x2") | 2 |
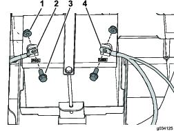
Monteer de 4 voorste bevestigingsbuizen losjes met 2 flenskopbouten (5/16" x 3"), 2 afstandsstukken (" x 1"), 2 flensmoeren (5/16") en 2 slotbouten (5/16" x 2") zoals getoond in Figure 3.

Important: Voordat u deze procedure uitvoert, moet u uw machine controleren om te zien of de openingen voor montage al aanwezig zijn. Als dit niet het geval is, gaat u verder met deze procedure.
Note: Bewaar het bevestigingsmateriaal dat u in deze procedure verwijdert.
Verwijder de flenskopbout waarmee de brandstoftank aan de tankbak bevestigd is (Figure 4).

Verwijder de schroeven waarmee de houder bevestigd is (Figure 4).
Koppel de ontluchtingsslang en de brandstofslang af van de tank (Figure 4).
Note: Zorg dat u gelekte brandstof opvangt of opveegt nadat u de brandstofleiding van de tank hebt gekoppeld.
In bepaalde omstandigheden is brandstof uiterst ontvlambaar en zeer explosief. Brand of explosie van brandstof kan brandwonden bij u of anderen en materile schade veroorzaken.
Tap de brandstof af uit de brandstoftank wanneer de motor koud is. Doe dit buiten en op een open terrein. Eventueel gemorste brandstof opnemen.
Rook nooit als u met benzine werkt en blijf uit de buurt van open vuur of als de kans bestaat dat benzinedampen door een vonk kunnen ontsteken.
Verwijder de benzinetank van de tankbak.
Verwijder de 2 flenskopbouten waarmee de tankbak bevestigd is aan het frame (Figure 5).

Verwijder de 4 schroeven waarmee het linkerpaneel bevestigd is aan de onderste stoeleenheid (Figure 6).

Verwijder de minkabel (–) en vervolgens de pluskabel (+) van de accu (Figure 7).

Verwijder de 2 flenskopbouten waarmee de accubak bevestigd is aan het frame (Figure 8).

Verwijder de 4 schroeven waarmee het rechterpaneel bevestigd is aan de onderste stoeleenheid (Figure 8).
Important: Voordat u deze procedure uitvoert, moet u uw machine controleren om te zien of de openingen voor montage al aanwezig zijn. Als dit niet het geval is, gaat u verder met deze procedure.
Note: Bewaar het bevestigingsmateriaal dat u in deze procedure verwijdert.
Boor de steunbeugel aan de hand van de afmetingen in Figure 11.
Zorg ervoor dat u volledig door de buitenste beugel, de framebuis en het brandscherm boort wanneer u de hoogste, bovenste opening boort.
Voor elektrische machines: wees voorzichtig wanneer u de gaten in de rechterkant van het frame boort.
Als u te ver boort, kunt u de accu's of andere onderdelen beschadigen.

Bevestig het rechterpaneel met de 4 schroeven die u eerder verwijderd hebt (Figure 8).
Bevestig de accubak aan het frame met de 2 flenskopbouten die u eerder hebt verwijderd (Figure 8).
Bevestig de accukabels met de 2 bouten en 2 moeren die u eerder hebt verwijderd en sluit de contacten van de accu aan (Figure 7).
Bevestig het linkerpaneel met de 4 schroeven die u eerder verwijderd hebt (Figure 6).
Bevestig de tankbak aan het frame met de 2 flenskopbouten die u eerder hebt verwijderd (Figure 5).
Plaats de benzinetank in de tankbak.
Sluit de brandstofslang en de ontluchtingsbuis aan op de brandstoftank (Figure 4).
Bevestig de houder met de schroeven die u eerder verwijderd hebt (Figure 4).
Bevestig de brandstoftank aan de tankbak; gebruik hierbij de flenskopbout die u eerder verwijderd hebt (Figure 4).
Vul de brandstoftank; raadpleeg de Gebruikershandleiding.
Benodigde onderdelen voor deze stap:
| Achterste bevestigingsbuis | 2 |
| Montagebeugel voor buis | 1 |
| Flenskopbout (5/16"x 3") | 2 |
| Flensmoer (5/16") | 2 |
| Flenskopbout (" x 1") | 2 |
| Flenskopbout (" x 3") | 2 |
| Borgmoer (") | 4 |
| Randafdichting | 1 |
Monteer de 2 achterste bevestigingsbuizen losjes met de 2 flenskopbouten (" x 3"), 2 flenskopbouten (" x 1") en 4 borgmoeren (") zoals getoond in Figure 12.

Bevestig de montagebeugel voor de buis aan de achterste bevestigingsbuizen met 2 flenskopbouten (5/16" x 3") en 2 flensmoeren (5/16") zoals getoond in Figure 13.
Plaats de randafdichting op de montagebeugel voor de buis (Figure 13).

Draai de bevestigingen vast die u hebt gemonteerd in stap1.
Draai de 5/16 inch bevestigingen vast met een torsie van 20 tot 25Nm.
Draai de inch bevestigingen vast met een torsie van 37 tot 45Nm.
Benodigde onderdelen voor deze stap:
| Lange steunbeugel voor kap | 2 |
| Flenskopbout (5/16" x ") | 8 |
| Randafdichting | 2 |
Benodigde onderdelen voor deze stap:
| Kap | 1 |
| Flenskopbout (" x 1") | 4 |
| Afdichtring | 4 |
| Borgmoer (") | 4 |
Important: Indien u een spiegelset gaat monteren, moet u deze monteren voordat u de kap monteert.
Bevestig de kap aan de voorste en achterste bevestigingsbuizen; gebruik hiervoor de 4 flenskopbouten ("x 1"), 4 afdichtringen en 4 borgmoeren (") zoals getoond in Figure 15.

Benodigde onderdelen voor deze stap:
| Steunbeugel van kap | 1 |
| Flenskopbout (" x 2") | 2 |
| Borgmoer (") | 2 |
| Afdichtring | 2 |
| Randafdichting | 1 |
| Afstandsstuk (") | 2 |
Benodigde onderdelen voor deze stap:
| Steunbuis van kap | 1 |
| Borgmoer (") | 6 |
| Afdichtring | 2 |
| Flenskopbout ("x 1") | 2 |
| Schuimrubberen bekleding | 1 |
| Flenskopbout ("x1") | 4 |
Breng de schuimrubberen bekleding aan op de steunbuis van de kap (Figure 18).

Bevestig de steunbuis van de kap aan de lange steunbeugels voor de kap; gebruik 4 flenskopbouten (" x 1") en 4 borgmoeren (") zoals wordt getoond in Figure 19.

Gebruik de steunbuis van de kap als sjabloon en boor 2 openingen (6 mm) in de kap.
Bevestig de steunbuis van de kap aan de kap; gebruik hiervoor de 2 flenskopbouten ("x 1"), 2 afdichtringen en 2 borgmoeren (") zoals getoond in Figure 20.
