Parker maskinen p en jevn flate.
Sett p parkeringsbremsen.
Sl av motoren og ta ut nkkelen.
Koble fra batteriet. Se brukerhndboken.
Hev lasteplanet til tmmeposisjon, og fest det med stttestangen.
Deler som er nødvendige for dette trinnet:
| Fremre monteringsrr | 2 |
| Flenshodebolt (5/16x 3tommer) | 2 |
| Avstandsstykke (x 1tomme) | 2 |
| Flensmutter (5/16tomme) | 4 |
| Lsebolt (5/16x 2tommer) | 2 |
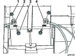
Monter de to fremre monteringsrrene lst med to flenshodebolter (5/16x 3tommer), to avstandsstykker (x 1tomme), to flensmuttere (5/16tomme) og to lsebolter (5/16x 4tommer), som vist i Figure 3.

Important: Fr du utfrer denne prosedyren, kontroller maskinen for se om der allerede er hull for montering. Hvis ikke, fortsett med denne prosedyren.
Note: Ta vare p alle delene du fjerner i denne prosedyren.
Fjern flenshodebolten som fester drivstofftanken til tankholderen (Figure 4).

Fjern skruene som holder festet fast (Figure 4).
Koble utluftingsslangen og drivstoffslangen fra tanken (Figure 4).
Note: Klargjr for fange opp og trke eventuelt drivstoffsl nr du kobler drivstoffslangen fra tanken.
Under visse forhold er drivstoff er meget brannfarlig og svrt eksplosivt. Brann eller eksplosjon forrsaket av drivstoff kan pfre deg og andre brannskader samt delegge eiendom.
Tm drivstofftanken for drivstoff nr motoren er kald. Dette skal gjres utendrs og p et pent sted. Trk opp eventuelt drivstoffsl.
Du m aldri ryke nr du hndterer drivstoff, og du m holde deg unna pen ild eller steder der gnister kan antenne drivstoffdamp.
Fjern drivstofftanken fra holderen.
Fjern de to flenshodeboltene som fester tankholderen til rammen (Figure 5).

Fjern de fire skruene som fester venstre sidepanel til den nedre seteenheten (Figure 6).

Fjern den negative (–) kabelen fra batteriet og deretter den positive (+) kabelen (Figure 7).

Fjern de to flenshodeboltene som fester batteriholderen p rammen (Figure 8).

Fjern de fire skruene som fester hyre sidepanel til den nedre seteenheten (Figure 8).
Important: Fr du utfrer denne prosedyren, kontroller maskinen for se om der allerede er hull for montering. Hvis ikke, fortsett med denne prosedyren.
Note: Ta vare p alle delene du fjerner i denne prosedyren.
Bor hull i stttebraketten ved bruke mlene vist i Figure 11.
Nr du borer den verste hullet, m du pse at du borer helt gjennom den ytre braketten, rammerret og brannmuren.
Vr forsiktig nr du borer hull i hyre side av rammen p elektriske maskiner.
Hvis du borer for langt, kan du skade batteriene eller andre komponenter.

Fest hyre sidepanel med de fire skruene du fjernet tidligere (Figure 8).
Fest batteriholderen til rammen med de to flenshodeboltene du fjernet tidligere (Figure 8).
Fest batterikablene med de to boltene og to mutterne du fjernet tidligere, og koble til batteripolene (Figure 7).
Fest venstre sidepanel med de fire skruene du fjernet tidligere (Figure 6).
Fest tankholderen til rammen med de to flenshodeboltene du fjernet tidligere (Figure 5).
Plasser drivstofftanken p tankholderen.
Koble drivstoffslangen og utluftingsslangen p drivstofftanken (Figure 4).
Fest holderen ved hjelp av skruene du fjernet tidligere (Figure 4).
Fest drivstofftanken til drivstofftankholderen med flenshodebolten du fjernet tidligere (Figure 4).
Fyll drivstofftanken. Se brukerhndboken.
Deler som er nødvendige for dette trinnet:
| Bakre monteringsrr | 2 |
| Rrmonteringsbrakett | 1 |
| Flenshodebolt (5/16x 3tommer) | 2 |
| Flensmutter (5/16tomme) | 2 |
| Flenshodeskrue (x 1tomme) | 2 |
| Flenshodebolt (x 3tomme) | 2 |
| Lsemutter (tomme) | 4 |
| Tetningslist | 1 |
Monter de to bakre monteringsrrene lst med to flenshodebolter (x 3tomme), to flenshodebolter (x 1tomme) og fire lsemuttere (tomme), som vist i Figure 12.

Fest rrmonteringsbraketten til de bakre monteringsrrene med to flenshodebolter (5/16x 3tommer) og to flensmuttere (5/16tomme), som vist i Figure 13.
Monter tetningslisten p rrmonteringsbraketten (Figure 13).

Stram til festene montert i trinn 1.
Stram de 5/16tomme store festene med et moment p 20–25Nm.
Stram til de tomme store festene med et moment p 37–45Nm.
Deler som er nødvendige for dette trinnet:
| Stttebrakett for lang kalesje | 2 |
| Hodebolt med sekskantskive (5/16x tomme) | 8 |
| Tetningslist | 2 |
Deler som er nødvendige for dette trinnet:
| Kalesje | 1 |
| Flenshodeskrue (x 1tomme) | 4 |
| Tetningsskive | 4 |
| Lsemutter (tomme) | 4 |
Important: Hvis du skal montere et speilsett, gjr det fr du monterer kalesjen.
Fest kalesjen til fremre og bakre monteringsrr med fire flenshodebolter (x 3tomme), fire forseglingsskiver og fire lsemuttere (tomme), som vist i Figure 15.

Deler som er nødvendige for dette trinnet:
| Stttebrakett for kalesjen | 1 |
| Flenshodebolt (x 2tomme) | 2 |
| Lsemutter (tomme) | 2 |
| Tetningsskive | 2 |
| Tetningslist | 1 |
| Avstandsstykke (1/4 tomme) | 2 |
Deler som er nødvendige for dette trinnet:
| Kalesjesttterr | 1 |
| Lsemutter (1/4tomme) | 6 |
| Tetningsskive | 2 |
| Flenshodebolt (x 1tomme) | 2 |
| Skumplate | 1 |
| Flenshodebolt (x 1tomme) | 4 |
Legg skumplaten p kalesjesttterret (Figure 18).

Fest kalesjens sttterr til stttebrakettene for lang kalesje med fire flenshodeskruer (x1tomme) og fire lsemuttere (tomme), som vist i Figure 19.

Med kalesjens sttterr som mal, bor to hull (6mm eller tomme) i kalesjen.
Fest kalesjesttterret til kalesjen med to flenshodebolter (x 1tomme), to forseglingsskiver og to lsemuttere (tomme), som vist i Figure 20.
