Estacione a mquina numa superfcie nivelada.
Engate o travo de estacionamento.
Desligue o motor e retire a chave da ignio.
Desligue a bateria; consulte o Manual do utilizador.
Eleve a caixa de carga para a posio de descarga e fixe-a com a barra de apoio.
Peças necessárias para este passo:
| Tubo de montagem frontal | 2 |
| Perno com cabea de flange (5/16x3pol.) | 2 |
| Espaador ( x 1 pol.) | 2 |
| Porca flangeada (5/16 pol.) | 4 |
| Parafuso de carroaria (5/16 pol. x 2pol.) | 2 |
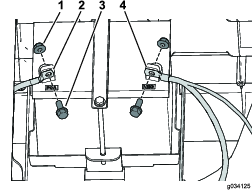
Instale sem apertar os dois tubos de montagem frontal utilizando dois parafusos de cabea flangeada (5/16 x 3 pol.), dois espaadores ( x 1 pol.), duas porcas flangeadas (5/16 pol.) e dois parafusos de carroaria (5/16 x 4 pol.) como se mostra na Figure 3.

Important: Antes de realizar este procedimento, verifique a sua mquina para ver se os furos de instalao j existem. Caso contrrio, siga com este procedimento.
Note: Guarde todas as ferragens que retirou neste procedimento.
Remova o parafuso de cabea flangeada que fixa o depsito de combustvel ao tabuleiro do depsito (Figure 4).

Retire os parafusos que prendem a fixao (Figure 4).
Desligue a tubagem de ventilao e a linha de combustvel do depsito (Figure 4).
Note: Prepara-se para recolher e limpar qualquer combustvel que derrame quando desligar o tubo de combustvel do depsito.
Em determinadas circunstncias, o combustvel extremamente inflamvel e explosivo. Um incndio ou exploso provocado(a) por combustvel pode resultar em queimaduras e danos materiais.
Retire o combustvel do depsito de combustvel quando o motor estiver frio. Faa-o ao ar livre e num espao aberto. Limpe todo o combustvel derramado.
Nunca fume quando estiver a manusear combustvel e mantenha-se afastado do fogo ou fascas que possam inflamar os vapores de combustvel.
Remova o depsito de combustvel do tabuleiro.
Remova os dois parafusos de cabea flangeada que prendem o tabuleiro do depsito estrutura (Figure 5).

Retire os quatro parafusos que fixam o painel esquerdo ao conjunto do banco inferior (Figure 6).

Desligue o cabo negativo (-) da bateria e depois o cabo positivo (+)Figure 7.

Remova os dois parafusos de cabea flangeada que prendem o tabuleiro da bateria estrutura (Figure 8).

Retire os quatro parafusos que fixam o painel direito ao conjunto do banco inferior (Figure 8).
Important: Antes de realizar este procedimento, verifique a sua mquina para ver se os furos de instalao j existem. Caso contrrio, siga com este procedimento.
Note: Guarde todas as ferragens que retirou neste procedimento.
Faa o suporte de apoio utilizando as medies mostradas em Figure 11.
Quando fizer o furo mais alto, certifique-se de que faz o furo at ao fim atravs do suporte exterior, tubo da estrutura e proteo.
Tenha cuidado ao fazer os furos no lado direito da estrutura numa mquina eltrica.
Se perfurar demasiado, pode danificar as baterias ou outros componentes.

Prenda o painel do lado direito utilizando os quatro parafusos previamente removidos (Figure 8).
Prenda o tabuleiro da bateria estrutura utilizando os dois parafusos de cabea flangeada previamente removidos (Figure 8).
Prenda os cabos da bateria utilizando os dois parafusos e duas porcas previamente removidos e ligue os terminais da bateria (Figure 7).
Prenda o painel do lado esquerdo utilizando os quatro parafusos previamente removidos (Figure 6).
Prenda o tabuleiro do depsito estrutura utilizando os dois parafusos de cabea flangeada previamente removidos (Figure 5).
Coloque o depsito de combustvel no tabuleiro do depsito.
Ligue a linha de combustvel e tubo de ventilao ao depsito de combustvel (Figure 4).
Prenda a fixao utilizando os parafusos previamente removidos (Figure 4).
Prenda o depsito de combustvel ao tabuleiro do depsito utilizando o parafuso de cabea flangeada previamente removido (Figure 4).
Encha o depsito de combustvel; consulte o Manual do utilizador.
Prenda o painel do lado esquerdo utilizando os quatro parafusos autorroscantes previamente removidos (Figure 10).
Prenda o suporte do carregador ao tabuleiro da bateria utilizando os dois parafusos previamente removidos (Figure 10).
Prenda o painel do lado direito utilizando os quatro parafusos autorroscantes previamente removidos (Figure 9).
Peças necessárias para este passo:
| Tubo de montagem traseira | 2 |
| Suporte de montagem traseira | 1 |
| Perno com cabea de flange (5/16x3 pol.) | 2 |
| Porca flangeada (5/16pol.) | 2 |
| Parafuso de cabea flangeada (x1pol.) | 2 |
| Parafuso de cabea flangeada (x 3 pol.) | 2 |
| Porca de bloqueio (pol.) | 4 |
| Vedante do aro | 1 |
Instale sem apertar os dois tubos de montagem traseira utilizando dois parafusos de cabea flangeada ( x 3 pol.), dois parafusos de cabea flangeada ( x 1- pol.) e quatro porcas de bloqueio ( pol.) como se mostra na Figure 12.

Prenda o suporte de montagem do tubo aos tubos de montagem traseira utilizando dois parafusos de cabea flangeada (5/16 x 3 pol.) e duas porcas flangeadas (5/16 pol.) como se mostra na Figure 13.
Instale o vedante do aro no suporte de montagem do tubo (Figure 13).

Aperte as fixaes instaladas no passo 1.
Aperte as fixaes de 5/16 pol. com uma fora de 20 a 25N m.
Aperte as fixaes de pol. com uma fora de 37 a 45 N m.
Peças necessárias para este passo:
| Suporte de apoio do toldo comprido | 2 |
| Parafuso de cabea de anilha sextavada (5/16 pol. x pol.) | 8 |
| Vedante do aro | 2 |
Peças necessárias para este passo:
| Toldo | 1 |
| Parafuso de cabea flangeada (x1pol.) | 4 |
| Anilha vedante | 4 |
| Porca de bloqueio ( pol.) | 4 |
Important: Se vai instalar um kit de espelho, instale-o antes de instalar o toldo.
Prenda o toldo aos tubos de montagem frontais e traseiros utilizando 4 parafusos de cabea flangeada ( pol.x 1 pol.), 4 anilhas vedantes e quatro porcas de bloqueio ( pol.) como se mostra na Figure 15.

Peças necessárias para este passo:
| Suporte de apoio da cobertura | 1 |
| Parafuso com cabea flangeada (pol.x 4pol.) | 2 |
| Porca de bloqueio ( pol.) | 2 |
| Anilha vedante | 2 |
| Vedante do aro | 1 |
| Espaador ( pol.) | 2 |
Instale o vedante do aro no suporte de montagem do tubo (Figure 16).

Prenda o suporte de apoio do toldo aos tubos de suporte frontais e toldo utilizando dois parafusos de cabea flangeada (x 2 pol.), dois espaadores ( pol.), duas anilhas vedantes e duas porcas de bloqueio ( pol.) como se mostra na Figure 17.

Peças necessárias para este passo:
| Tubo de suporte do toldo | 1 |
| Porca de bloqueio ( pol.) | 6 |
| Anilha vedante | 2 |
| Parafuso com cabea flangeada (pol.x 1pol.) | 2 |
| Calo em espuma | 1 |
| Parafuso de cabea flangeada (x1-pol.) | 4 |
Aplique o calo em espuma no tubo de suporte do toldo (Figure 18).

Prenda o tubo de suporte do toldo aos suportes de apoio do toldo comprido utilizando quatro parafusos de cabea flangeada ( pol.x 1- pol.) e quatro porcas de bloqueio ( pol.) como se mostra na Figure 19.

Utilizando o tubo de suporte do toldo como modelo, faa dois furos (6 mm) no toldo.
Prenda o tubo de suporte do toldo ao toldo utilizando dois parafusos de cabea flangeada (x 1- pol.), duas anilhas vedantes e duas porcas de bloqueio ( pol.) como se mostra na Figure 20.
