Parkera maskinen p en plan yta.
Koppla in parkeringsbromsen.
Stng av motorn och tag ut nyckeln.
Koppla loss batteriet. Se bruksanvisningen.
Hj lastflaket till tmningslget och skra det med stttan.
Delar som behövs till detta steg:
| Frmre monteringsrr | 2 |
| Flnsskruv (5/16x3tum) | 2 |
| Distansbricka ( x 1 tum) | 2 |
| Flnsmutter (5/16tum) | 4 |
| Vagnsskruv (5/16x 2tum) | 2 |
Montera de tv frmre monteringsrren lst med tv flnsskruvar (5/16x3tum), tv distansbrickor (x1tum), tv flnsmuttrar (5/16tum) och tv vagnsskruvar (5/16x4tum) enligt Figure 3.

Important: Kontrollera maskinen frst fr att se om monteringshlen redan finns innan du utfr detta frfarande. Om inte, fortstt med detta frfarande.
Note: Spara alla delar som du tar bort enligt anvisningarna.
Ta bort flnsskruven som fster brnsletanken p tankbrickan (Figure 4).

Ta bort skruvarna som fster lsblocket (Figure 4).
Koppla bort luftningsrret och brnsleslangen frn tanken (Figure 4).
Note: Var beredd p att fnga upp och rengra utspillt brnsle nr du kopplar bort brnsleslangen frn tanken.
Under vissa frhllanden r brnsle extremt brandfarligt och mycket explosivt. Brand eller explosion i brnsle kan orsaka brnnskador och materiella skador.
Tm brnsletanken p brnsle nr motorn r kall. Gr det p en ppen plats utomhus. Torka upp utspillt brnsle.
Rk aldrig nr du hanterar brnsle och hll dig borta frn ppen eld eller platser dr brnslengorna kan antndas av gnistor.
Ta bort brnsletanken frn brickan.
Ta bort de tv flnsskruvarna som fster tankbrickan p ramen (Figure 5).

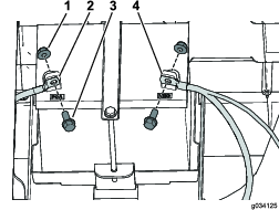
Ta bort de fyra skruvarna som fster den vnstra sidopanelen p det nedre stet (Figure 6).

Ta bort minuskabeln (–) frn batteriet och drefter pluskabeln (+) (Figure 7).

Ta bort de tv flnsskruvarna som fster batterildan p ramen (Figure 8).

Ta bort de fyra skruvarna som hller fast den hgra sidopanelen p det nedre stet (Figure 8).
Important: Kontrollera maskinen frst fr att se om monteringshlen redan finns innan du utfr detta frfarande. Om inte, fortstt med detta frfarande.
Note: Spara alla delar som du tar bort enligt anvisningarna.
Borra i stdfstet med hjlp av mtten enligt Figure 11.
Se till att du borrar genom hela det yttre fstet, ramrret och brandvggen nr du borrar det hgsta vre hlet.
Var frsiktig nr du borrar hl i den hgra sidan av ramen p den elektriska maskinen.
Om du borrar fr djupt kan det skada batterierna eller andra komponenter.

Fst den hgra sidopanelen med de fyra skruvarna som du tog bort tidigare (Figure 8).
Fst batteribrickan p ramen med de tv flnsskruvarna som du tog bort tidigare (Figure 8).
Fst batterikablarna med de tv skruvarna och de tv muttrarna som du tog bort tidigare och anslut batteripolerna (Figure 7).
Fst den vnstra sidopanelen med de fyra skruvarna som du tog bort tidigare (Figure 6).
Fst tankbrickan p ramen med de tv flnsskruvarna som du tog bort tidigare (Figure 5).
Placera brnsletanken p tankbrickan.
Anslut brnsleledningen och luftningsslangen till brnsletanken (Figure 4).
Fst lsblocket med skruvarna som avlgsnades tidigare (Figure 4).
Fst brnsletanken p tankbrickan med flnsskruven som du tog bort tidigare (Figure 4).
Fyll p brnsletanken, se bruksanvisningen.
Delar som behövs till detta steg:
| Bakre monteringsrr | 2 |
| Rrmonteringsfste | 1 |
| Flnsskruv (5/16x3tum) | 2 |
| Flnsmutter (5/16tum) | 2 |
| Flnsskruv ( x 1 tum) | 2 |
| Flnsskruv (x3tum) | 2 |
| Lsmutter (tum) | 4 |
| Trimttning | 1 |
Montera lst de tv bakre monteringsrren med tv flnsskruvar (x3tum), tv flnsskruvar (x1tum) och fyra lsmuttrar (tum) enligt Figure 12.

Fst rrmonteringsfstet p de bakre monteringsrren med tv flnsskruvar (5/16x3tum) och tv flnsmuttrar (5/16tum) enligt Figure 13.
Montera trimttningen p rrmonteringsfstet (Figure 13).

Dra t fstelementen som monterades i steg 1.
Dra t fstelementen p 5/16tum till 20–25Nm.
Dra t fstelementen p tum till 37–45Nm.
Delar som behövs till detta steg:
| Lngt stdfste till soltak | 2 |
| Skruv med sexkantshuvud (5/16xtum) | 8 |
| Trimttning | 2 |
Delar som behövs till detta steg:
| Soltak | 1 |
| Flnsskruv ( x 1 tum) | 4 |
| Ttningsbricka | 4 |
| Lsmutter (tum) | 4 |
Important: Om du monterar en spegelsats ska du montera den innan du monterar soltaket.
Fst soltaket p de frmre och bakre monteringsrren med fyra flnsskruvar (tumx1tum), fyra ttningsbrickor och fyra lsmuttrar (tum) enligt Figure 15.

Delar som behövs till detta steg:
| Soltaksstdet | 1 |
| Flnsskruv (x4tum) | 2 |
| Lsmutter (tum) | 2 |
| Ttningsbricka | 2 |
| Trimttning | 1 |
| Distansbricka (tum) | 2 |
Delar som behövs till detta steg:
| Stdrr fr soltak | 1 |
| Lsmutter (1/4tum) | 6 |
| Ttningsbricka | 2 |
| Flnsskruv (x1tum) | 2 |
| Skumgummidyna | 1 |
| Flnsskruv (x 1tum) | 4 |
Stt skumgummidynan p soltakets stdrr (Figure 18).

Fst soltakets stdrr p soltakets lnga stdfste med fyra flnsskruvar (x1tum) och fyra lsmuttrar (tum) enligt Figure 19.

Anvnd soltakets stdrr som mall, borra tv hl (6mm eller tum) i soltaket.
Fst soltakets stdrr p soltaket med tv flnsskruvar (x1tum), tv ttningsbrickor och tv lsmuttrar (tum) enligt Figure 20.
