将机器停在水平地面上。
接合驻车刹车。
关闭发动机并拔下钥匙。
断开电池;请参阅操作员手册。
将货斗升起至倾倒位置,并用支撑杆固定。
此程序中需要的物件:
| 前安装管 | 2 |
| 凸缘头螺栓(5/16 x 3 英寸) | 2 |
| 隔片( x 1 英寸) | 2 |
| 凸缘螺母 (5/16 英寸) | 4 |
| 托架螺栓 (5/16 x 2 英寸) | 2 |
如Figure 3 所示,用 4 个凸缘头螺栓(5/16 x 3 英寸)、2 个隔片( x 1 )、2 个凸缘螺母(5/16 英寸)和 2 个托架螺栓(5/16 x 2 英寸)松松地安装 2 个前安装管。

Important: 执行此程序之前,请检查机器看是否已存在安装孔。如果没有,请继续此程序。
Note: 保留此过程中卸下的所有五金件。
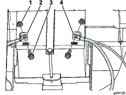
拧下将油箱固定到油箱托盘上的凸缘头螺栓(Figure 4)。

拧下固定压紧装置的螺丝(Figure 4)。
从油箱上断开通气管和燃油管线(Figure 4)。
Note: 准备接住并清洁从油箱断开燃油管线时溅出的燃油 。
在特定条件下,燃油极为易燃易爆。燃油起火或爆炸会灼伤您和他人,而且还会造成财产损失。
发动机冷却下来后,将燃油排出油箱。请在室外开阔区域排油。擦干净溢出的燃油。
处理燃油时切勿吸烟,而且要远离明火或火花可能点燃燃油烟气的场所。
从托盘上取下油箱。
卸下将油箱托盘固定到机架的 2 个凸缘头螺栓(Figure 5)。

卸下将左侧面板固定到下座椅组件的 4 个螺丝(Figure 6)。

先后从电池上断开负极 (–) 接线和正极 (+) 接线(Figure 7)。

卸下将电池托盘固定到机架的 2 个凸缘头螺栓(Figure 8)。

拧下将右侧面板固定到下座椅组件的 4 个螺丝(Figure 8)。
使用如Figure 11 所示的测量值为支撑托架钻孔。
当钻最高处的上孔时,请确保一直钻通外部支架、机架管和防火隔板。
在电动机器机架右侧钻孔时要特别小心。
如果钻得太深,可能会损坏电池或其他组件。

此程序中需要的物件:
| 后安装管 | 2 |
| 管道安装支架 | 1 |
| 凸缘头螺栓(5/16 x 3 英寸) | 2 |
| 凸缘螺母(5/16 英寸) | 2 |
| 凸缘头螺栓( x 3 英寸) | 2 |
| 凸缘头螺栓( x 3 英寸) | 2 |
| 锁紧螺母( 英寸) | 4 |
| 修整密封条 | 1 |
此程序中需要的物件:
| 顶篷 | 1 |
| 凸缘头螺栓( x 3 英寸) | 4 |
| 密封垫圈 | 4 |
| 锁紧螺母( 英寸) | 4 |
Important: 如果打算安装镜子套件,请在安装顶篷之前安装。
如Figure 15 所示,用 4 个凸缘头螺栓( x 1 英寸)、4 个密封垫圈和 4 个锁紧螺母( 英寸)将顶篷固定至前、后安装管。
