Important: 2/3 .
Important: 239999999 . 240000000 .
.
.
.
, .
Important: .
, .
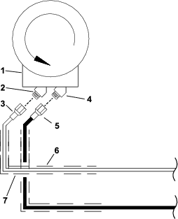
, (Figure 8).

, .
Important: 10,34.
, 0,69-0,82.
Детали, требуемые для этой процедуры:
| ( x ) | 1 |
| 2 | |
| – 254 (8 FJ– 6 MP) | 1 |
| – 330 (8 MP– 6 MP) | 1 |
| – 122 | 1 |
| – 147 | 1 |
| – 224 | 1 |
Детали, требуемые для этой процедуры:
| – ( 92-4240) | 1 |
| – ( 92-4329) | 1 |
| – ( 01-201-4210) | 2 |
| – ( 01-201-4500) | 1 |
| – ( 01-201-4510) | 1 |
| – ( 01-201-4520) | 1 |
| – ( 01-312-5610) | 1 |
| 1 | |
| ( x ) | 1 |
| – 254 (8 FJ– 6 MP) | 1 |
| – 330 (8 MP– 6 MP) | 1 |
| – 122 | 1 |
| – 147 | 2 |
| – 224 | 1 |
, , . , , , .
, .
, .
Important: Workman ( B) , .
, ..
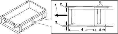
, c , A 254 (8 FJ– 6 MP), (92-4240), Figure 21.

, , B 330 (8 MP– 6 MP).
.
Important: , , .
Important: Dexron III. . , .
, .
, , .
.
; . .
, , .
, .
, , .
, .

