| Underhållsintervall | Underhållsförfarande |
|---|---|
| Varje användning eller dagligen |
|
Denna åkgräsklippare med roterande knivar är avsedd att användas av yrkesförare som har anlitats för kommersiellt arbete. Den är primärt konstruerad för att klippa gräs på väl underhållna gräsmattor runt bostäder eller kommersiella anläggningar.
Läs den här informationen noga så att du lär dig att använda och underhålla produkten på rätt sätt och för att undvika person- och produktskador. Du är ansvarig för att produkten används på ett korrekt och säkert sätt.
Besök www.Toro.com om du behöver utbildningsmaterial för säkerhet och drift, information om tillbehör, hjälp med att hitta en återförsäljare eller om du vill registrera din produkt.
Kontakta en auktoriserad återförsäljare eller Toros kundservice och ha produktens modell- och artikelnummer till hands om du har behov av service, Toro-originaldelar eller ytterligare information. Figur 1 visar var på produkten modell- och serienumren sitter. Skriv numren i det tomma utrymmet.
Important: Skanna rutkoden på serienummerdekalen (i förekommande fall) med en mobil enhet för att få tillgång till information om garanti, reservdelar och annat.

Två ord används också i den här bruksanvisningen för att markera information. Viktigt anger speciell teknisk information och Observera anger allmän information som bör ges särskild uppmärksamhet.
Produkten uppfyller alla relevanta europeiska direktiv. Mer information finns i produktens separata försäkran om överensstämmelse.
Specifikationerna för din modell finns på www.Toro.com.
Brutto- eller nettomoment: Motorns brutto- eller nettomoment verkstadsbedömdes av motortillverkaren i enlighet med SAE (Society of Automotive Engineers) J1940 eller J2723. Den här gräsklipparklassens faktiska motormoment kommer att vara avsevärt lägre då den är konfigurerad för att uppfylla säkerhetskrav, utsläppsföreskrifter och funktionella krav. Se motortillverkarens information som medföljer maskinen.
Important: Om du använder en maskin med Toro-motor på högre höjd än 1 500 m under en längre period, ska du montera satsen för höga höjder så att motorn uppfyller CARB-/EPA-bestämmelserna för avgaser. Satsen för höga höjder ökar motorns prestanda och förhindrar samtidigt förorening av tändstiften, trög start och ökade utsläpp. När du har monterat satsen för höga höjder ska du fästa satsens etikett bredvid serienummerdekalen på maskinen. Kontakta en auktoriserad Toro-återförsäljare för att införskaffa rätt sats för höga höjder och tillhörande etikett för maskinen. Du hittar återförsäljare som finns i närheten av dig på vår webbplats www.Toro.com eller genom att kontakta Toros kundtjänst på de nummer som anges i garantiförklaringen om kontroll av emission.Ta bort satsen från motorn och återställ motorn till dess ursprungliga fabrikskonfiguration när motorn körs på lägre höjd än 1 500 m. Kör inte en motor som har konverterats för användning på hög höjd på lägre höjd. Då kan motorn överhettas och skadas.Om du är osäker på om maskinen har konverterats för användning på hög höjd kan du leta efter följande etikett (Figur 2).

Maskinen har utformats i enlighet med specifikationerna i SS-EN ISO 5395:2013.
Denna varningssymbol (Figur 3), som används både i den här bruksanvisningen och på maskinen, gör dig uppmärksam på viktiga säkerhetsmeddelanden som du måste följa för att undvika olyckor.
Den här symbolen betyder: OBS! VAR UPPMÄRKSAM! DET HANDLAR OM DIN SÄKERHET!

Varningssymbolen visas ovanför den information som varnar dig för riskabla åtgärder eller situationer och följs av ordet FARA, VARNINGeller FÖRSIKTIGHET.
FARA: Anger en överhängande fara som kommer att leda till allvarliga personskador eller dödsfall om den inte undviks.
VARNING: Anger en potentiellt farlig situation som kan leda till allvarliga personskador eller dödsfall om den inte undviks.
FÖRSIKTIGHET: Anger en potentiellt farlig situation som kan leda till lätta eller medelsvåra personskador.
Två andra beteckningar används för att markera information i denna bruksanvisning. Viktigt anger speciell teknisk information och Observera anger allmän information som är värd att notera.
Maskinen kan slita av händer och fötter och kasta omkring föremål. Den här gräsklipparen är konstruerad och testad för att vara säker, men underlåtenhet att följa säkerhetsanvisningar kan leda till personskador eller dödsfall.
Läs, ta till dig och följ alla anvisningar och varningar i bruksanvisningen och annat utbildningsmaterial samt på maskinen, motorn och redskapen. Alla förare och mekaniker måste genomgå utbildning. Om en eller flera förare eller mekaniker inte förstår det språk som används i bruksanvisningen är det ägaren som ansvarar för att innehållet förklaras för dem. Andra språk kan vara tillgängliga på vår webbplats.
Endast utbildade, ansvariga och fysiskt kapabla förare som är väl bekanta med säker drift, förarreglage samt säkerhetsskyltar och -anvisningar får använda maskinen. Låt aldrig barn eller personer som inte har fått nödvändig utbildning köra eller utföra underhåll på maskinen. Lokala föreskrifter kan begränsa användarens ålder.
Håll alltid störtbågen låst i helt upprätt läge och använd säkerhetsbältet.
Kör inte maskinen i närheten av stup, diken, flodbäddar, vatten eller andra faror eller i backar vars lutning överstiger 15 grader.
Håll händer och fötter på avstånd från maskinens rörliga delar.
Kör aldrig maskinen med skadade skydd, skärmar eller kåpor. Se alltid till att säkerhetsskärmar, skydd, kontakter och andra anordningar sitter på plats och är i gott fungerande skick.
Stanna maskinen, stäng av motorn och ta ut nyckeln innan du utför service på, tankar eller rensar maskinen.

![]() |
Säkerhetsdekalerna och anvisningarna är fullt synliga för föraren och finns nära alla potentiella farozoner. Ersätt dekaler som har skadats eller saknas. |



























Bekanta dig med alla reglage innan du startar motorn och använder maskinen.

Tändningslåset används för att starta och stänga av motorn och har tre lägen: AVSTäNGT LäGE, KöRLäGE och STARTLäGE. Se Starta motorn.
Använd choken för att starta en kall motor.
Gasreglaget styr motorhastigheten och har en steglös reglerbar inställning från LåNGSAMT till SNABBT (Figur 6).
Knivreglagebrytaren betecknas med en kraftuttagssymbol (PTO) och kopplar på och av strömmen till klipparknivarna (Figur 6).
Timmätaren registrerar antalet timmar som motorn har arbetat. Den är aktiv när motorn är igång. Använd dessa tider för att schemalägga regelbundet underhåll (Figur 7).

Det finns symboler på timmätaren som med hjälp av en svart triangel anger att säkerhetskomponenten är i rätt läge (Figur 7).
Om du vrider tändningslåset till KöRLäGETi några sekunder visas batterispänningen där timmarna vanligtvis visas.
Batterilampan tänds när tändningslåset vrids på och när laddningen ligger under korrekt driftnivå (Figur 7).
Använd rörelsereglagespakarna för att köra maskinen framåt och bakåt och för att svänga åt olika håll (Figur 5).
För rörelsereglagespakarna utåt från mitten till NEUTRALLåSLäGET när du ska kliva ur maskinen (Figur 25). Sätt alltid rörelsereglagespakarna i NEUTRALLåSLäGET när du stannar maskinen eller lämnar den utan uppsikt.
Koppla in parkeringsbromsen för att undvika tillfällig maskinrörelse när du stänger av motorn.
Stäng bränslekranen när du ska transportera maskinen eller ställa den i förvaring. Se Använda bränslekranen.
Note: Delarnas mått och utseende kan ändras utan föregående meddelande.
| Klippdäck på 122 cm | Klippdäck på 132 cm | |
|---|---|---|
| Utan klippdäck | 121 cm | 124 cm |
| Gräsriktare uppfälld | 133 cm | 144 cm |
| Gräsriktare nedfälld | 160 cm | 171 cm |
| Klippdäck på 122 cm | Klippdäck på 132 cm | |
|---|---|---|
| Längd | 208 cm | 208 cm |
| Störtbåge – uppfälld | Störtbåge – nedfälld |
|---|---|
| 179 cm | 125 cm |
| Maskiner | Vikt |
| 122 cm maskin med sidoutkast | 385 till 425 kg |
| 132 cm maskin med sidoutkast | 391 till 434 kg |
Det finns ett urval av godkända Toro-redskap och -tillbehör som du kan använda för att förbättra och utöka maskinens kapacitet. Kontakta en auktoriserad serviceverkstad eller Toro-återförsäljare eller gå till www.Toro.com för att se en lista över alla godkända redskap och tillbehör.
Använd endast originalreservdelar och tillbehör från Toro för att garantera optimal prestanda och fortlöpande säkerhet för produkten. Det kan vara farligt att använda reservdelar och tillbehör från andra tillverkare och det kan göra produktgarantin ogiltig.
Note: Vänster och höger sida på maskinen är lika med förarens vänstra respektive högra sida vid normal körning.
Undersök terrängen för att avgöra vilka tillbehör och redskap som krävs för att utföra arbetet på ett bra och säkert sätt. Använd endast tillbehör och redskap som har godkänts av Toro.
Undersök det område där utrustningen ska köras och avlägsna alla stenar, leksaker, pinnar, ledningar, ben och andra främmande föremål. Dessa kan slungas omkring eller störa användningen av maskinen och skada föraren eller kringstående.
Använd lämplig personlig skyddsutrustning som skyddsglasögon, kraftiga och halkfria skor samt hörselskydd. Knyt fast långt hår och undvik löst sittande kläder och smycken som kan dras in i rörliga delar.
Denna maskin ger ljudnivåer vid förarens öra som överstiger 85 dBA och kan orsaka hörselskador vid längre arbetspass.
Använd hörselskydd när du kör maskinen.
Kontrollera att förarens närvaroreglage samt säkerhetsbrytarna och skydden sitter fast och fungerar ordentligt. Kör inte maskinen om dessa inte fungerar som de ska.
Kör inte klipparen om andra personer (särskilt barn) eller husdjur finns i närheten. Stäng av maskinen och redskapet/redskapen om någon kommer i närheten av arbetsområdet.
Använd endast maskinen om gräsuppsamlingssystemet, gräsriktaren och andra säkerhetsanordningar sitter på plats och är i gott fungerande skick. Gräsuppsamlarens delar utsätts lätt för slitage, skada och försämring, vilket kan frilägga rörliga delar eller få föremål att kastas omkring. Undersök komponenterna ofta med avseende på slitage och byt vid behov ut dem mot delar som rekommenderas av tillverkaren.
Var ytterst försiktig när du hanterar bränsle.
Bensin kan vara extremt brandfarlig och ångorna explosiva under vissa förhållanden.
Bensin som fattar eld eller exploderar kan skada dig och andra samt orsaka materiella skador.
Fyll på tanken utomhus på en plan yta på en öppen plats när motorn är kall. Torka upp all eventuell utspilld bensin.
Du får aldrig fylla på bränsletanken eller tappa av bensinen inomhus eller på en tillsluten släpvagn.
Fyll inte tanken helt full. Fyll bränsletanken till påfyllningsrörets nedersta del. Det tomma utrymmet i tanken behövs för bensinens expansion. Om du fyller på för mycket kan det leda till bränsleläckage eller skada motorn eller emissionssystemet.
Rök aldrig när du handskas med bensin och håll dig borta från öppen låga eller platser där bensinångor kan antändas av gnistor.
Förvara bensin i en godkänd dunk och håll den utom räckhåll för barn.
Fyll på bensin innan du startar motorn. Ta aldrig av bränsletankens lock och fyll inte på bensin när motorn är igång eller när motorn är varm.
Starta inte motorn om du har spillt ut bensin. Lämna området i fråga och vänta tills bensinångorna har skingrats innan du skapar några gnistor.
Kör inte maskinen om inte hela avgassystemet sitter på plats och är i väl fungerande skick.
Under vissa förhållanden vid tankning kan statisk elektricitet frigöras och orsaka gnistor som kan antända bensinångorna. Bensin som fattar eld eller exploderar kan skada dig och andra samt orsaka materiella skador.
Ställ alltid bensindunkar på marken en bit bort från fordonet före påfyllning.
Fyll inte på bensindunkar inne i ett fordon eller på lastbilsflak eller släp, eftersom plastmattor och liknande kan isolera dunken och förlänga urladdningstiden för eventuell statisk elektricitet.
Lasta av bensindrivna maskiner från lastbilen eller släpet om så är praktiskt möjligt och fyll på bensin när maskinen står på marken.
Fyll på maskinen från en dunk hellre än med munstycket på en bensinpump om det inte är möjligt att lasta av maskinen från lastbilen eller släpet.
Håll hela tiden kontakt mellan munstycket på bensinpumpen och kanten på tank- eller dunköppningen tills tankningen är klar om tankning måste ske från bensinpump. Använd inte en låsöppningsanordning för munstycket.
Bensin är skadligt eller dödligt om det förtärs. Långvarig exponering för bensinångor har gett upphov till cancer hos laboratoriedjur. Om varningarna inte följs kan allvarliga skador eller sjukdom uppstå.
Undvik att andas in bränsleångor under en längre tid.
Håll ansiktet borta från munstycket och öppningen till bränsletanken/behållaren.
Håll bränslet borta från ögon och hud.
Sug aldrig ut bensin med munnen.
Bränsletankens ventil sitter inuti störtbågens rör. Om du tar bort eller modifierar störtbågen kan detta leda till bränsleläckage och brott mot utsläppsbestämmelser.
Ta INTE bort störtbågen.
Svetsa, borra eller modifiera INTE störtbågen på något sätt.
Gör så här för att undvika bränder:
Håll motorn och området runt motorn fritt från ansamling av gräs, löv, fett, olja och annat skräp som kan ackumuleras i dessa områden.
Torka upp olja och bensin som har spillts ut och ta bort skräp som dränkts i bränsle.
Låt maskinen svalna innan du ställer undan maskinen i ett slutet utrymme. Förvara den inte i närheten av öppen eld eller ett slutet utrymme med tändlåga eller annan värmeanordning.
Använd endast ren och färsk (ej äldre än 30 dagar) blyfri bensin med oktantal 87 eller högre för bästa resultat (klassificeringsmetod [R+M]/2).
Etanol: Bensin som innehåller upp till 10 % etanol (gasohol) eller 15 % MTBE (metyl-tertiär-butyleter) baserat på volym är godkänd. Etanol och MTBE är inte samma sak. Bensin med 15 % etanol (E15) baserat på volym får inte användas. Använd inte bensin som innehåller mer än 10 % etanol baserat på volym, t.ex. E15 (innehåller 15 % etanol), E20 (innehåller 20 % etanol) eller E85 (innehåller upp till 85 % etanol). Användning av ej godkänd bensin kan leda till prestandaproblem och/eller skador på motorn som eventuellt inte omfattas av garantin.
Använd inte bensin som innehåller metanol.
Förvara inte bränsle i bränsletanken eller i en bränsledunk under vintern om inte en stabiliserare används.
Tillför inte olja i bensinen.
En bränslestabiliserare/-konditionerare i maskinen ger följande fördelar:
Håller bränslet färskt längre under förutsättning att det används enligt stabiliserartillverkarens anvisningar.
Rengör motorn under körning.
Motverkar att gummiliknande beläggningar bildas i bränslesystemet, något som orsakar trög start.
Important: Använd inte bränsletillsatser som innehåller metanol eller etanol.
Tillsätt rätt mängd stabiliserare/konditionerare till bränslet.
Note: En stabiliserare/konditionerare fungerar som mest effektivt när den blandas med färskt bränsle. Använd alltid bränslestabiliserare så minimeras risken för avlagringar i bränslesystemet.
Parkera maskinen på en plan yta.
Koppla in parkeringsbromsen.
Stäng av motorn och ta ut nyckeln.
Gör rent omkring tanklocket.
Fyll bränsletanken till påfyllningsrörets nedersta del (Figur 8).
Note: Fyll inte tanken helt full. Det tomma utrymmet behövs för bränslets expansion.

Innan maskinen startas varje dag ska Varje användning/dagligen-procedurerna utföras som anges i .
Det tar tid för nya maskiner att komma upp i sin fulla prestanda. Nya klippdäck och drivsystem har högre friktion vilket belastar motorn ytterligare. Räkna med att det tar 40 till 50 timmar att köra in nya maskiner så att de får full kraft och optimal prestanda.
Så här undviker du att välta, vilket kan leda till personskador och livsfara: Håll störtbågen i helt upprätt och låst läge och använd säkerhetsbältet.
Kontrollera att sätet sitter fast ordentligt på maskinen.
Det finns inget vältskydd om störtbågen är nedfälld.
Fäll inte ned störtbågen om det inte är absolut nödvändigt.
Använd inte säkerhetsbältet om störtbågen är nedfälld.
Kör långsamt och försiktigt.
Fäll upp störtbågen så snart som det finns tillräckligt med utrymme.
Var mycket uppmärksam på utrymmen ovanför dig (dvs. grenar, dörrar, elektriska sladdar) innan du kör under ett föremål och vidrör dem inte.
Important: Använd alltid säkerhetsbältet när störtbågen är uppfälld.
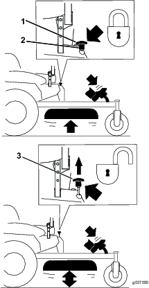
Fäll upp störtbågen till körläget och rotera vreden så att de delvis glider in i skårorna (Figur 9).
Fäll upp störtbågen helt samtidigt som du trycker på den övre störtbågen. Sprintarna snäpper på plats när de ligger i linje med hålen (Figur 9).
Tryck på störtbågen och kontrollera att båda sprintarna sitter fast.
Om säkerhetsbrytarna är frånkopplade eller skadade kan maskinen plötsligt gå igång, vilket kan leda till personskador.
Gör inga otillåtna ändringar på säkerhetsbrytarna.
Kontrollera säkerhetsbrytarnas funktion dagligen och byt ut eventuella skadade brytare innan du kör maskinen.
Säkerhetssystemet är konstruerat så att motorn inte kan startas såvida inte
parkeringsbromsen är inkopplad
knivreglagebrytaren (kraftuttaget) är urkopplad
rörelsereglagen är i det NEUTRALA LåSLäGET.
Säkerhetssystemet ska också stänga av motorn när rörelsereglagen flyttas från det NEUTRALA LåSLäGET när parkeringsbromsen är inkopplad eller om du reser dig upp från sätet när kraftuttaget är inkopplat.
Det finns indikatorer på timmätaren som visar om säkerhetskomponenterna är i rätt läge. När komponenten är i det rätta läget visas en indikator på skärmen.

| Underhållsintervall | Underhållsförfarande |
|---|---|
| Varje användning eller dagligen |
|
Testa säkerhetssystemet före varje användningstillfälle. Låt en auktoriserad serviceverkstad reparera systemet omedelbart om det inte fungerar enligt nedanstående beskrivning.
Sitt på sätet, dra åt parkeringsbromsen och KOPPLA IN knivreglagebrytaren (kraftuttaget). Försök att starta motorn – det ska inte gå.
Sitt på sätet, koppla in parkeringsbromsen och KOPPLA UR knivreglagebrytaren (kraftuttaget). Flytta något av rörelsereglagen från det NEUTRALA LåSLäGET. Försök att starta motorn – det ska inte gå. Upprepa med den andra reglagespaken.
Sitt på sätet, koppla in parkeringsbromsen, KOPPLA UR knivreglagebrytaren (kraftuttaget) och för rörelsereglagen till det NEUTRALA LåSLäGET. Starta sedan motorn. Koppla ur parkeringsbromsen, koppla in knivreglagebrytaren (kraftuttaget) och res dig något från sätet medan motorn är igång. Motorn ska stängas av.
Sitt på sätet, koppla in parkeringsbromsen, KOPPLA UR knivreglagebrytaren (kraftuttaget) och för rörelsereglagen till det NEUTRALA LåSLäGET. Starta sedan motorn. För ett av rörelsereglagen mot mitten och rör på det (framåt eller bakåt) medan motorn är igång. Motorn ska stängas av. Upprepa samma sak för det andra rörelsereglaget.
Sitt på sätet, koppla ur parkeringsbromsen, KOPPLA UR knivreglagebrytaren (kraftuttaget) och för rörelsereglagen till det NEUTRALA LåSLäGET. Försök att starta motorn – det ska inte gå.
Sätet kan flyttas framåt och bakåt. Ställ in sätet så att du har bäst kontroll över maskinen och sitter bekvämt (Figur 11).

MyRide™-fjädringssystemet kan justeras så att du sitter bekvämt och får en behaglig åktur. Du kan justera de två bakre stötenheterna för att snabbt och enkelt byta ut fjädringssystemet. Ställ in fjädringssystemet i det läge som du tycker är mest bekvämt.
De bakre stötenheternas spår har skåror som referens. Du kan placera de bakre stötenheterna var som helst i spåret, förutom i skårorna. Följande bild visar läget för en mjuk eller fast körning och olika spärrade lägen (Figur 12).

Note: Kontrollera att de vänstra och högra bakre stötenheterna alltid justeras till samma lägen.
Justera de bakre stötenheterna (Figur 13).


Använd endast redskap och tillbehör som är godkända av Toro.
Om du lägger till fler än en monteringssats för tillbehör (dvs. hinksatsen eller universalmonteringssatsen) på någon av de fyra platserna som visas i Figur 14 ska du lägga till en framviktssats. Kontakta en auktoriserad återförsäljare för anvisningar om framviktssatsen.

Föraren måste vara fullt koncentrerad vid körning av maskinen. Delta inte i aktiviteter som kan distrahera dig och således orsaka personskador eller skador på egendom.
Motorns delar, i synnerhet ljuddämparen, blir extremt varma under drift. Allvarliga brännskador kan uppstå vid kontakt, och skräp (t.ex. löv, gräs och burkar) kan fatta eld.
Låt motorns delar, i synnerhet ljuddämparen, svalna innan du rör vid dem.
Ta bort ansamlat skräp från ljuddämparen och motorområdet.
Motoravgaser innehåller koloxid, ett luktfritt och dödligt gift.
Kör inte motorn inomhus eller i små och slutna utrymmen där farlig koloxid kan ansamlas.
Ägaren/användaren kan förebygga och ansvarar för olyckor eller skador som han/hon utsätter sig själv och andra människor eller egendom för.
Den här klipparen är avsedd för endast en förare. Låt aldrig någon åka med på klipparen och se till att alla håller sig på avstånd från maskinen när den är i drift.
Kör inte maskinen om du är sjuk, trött eller påverkad av alkohol eller läkemedel.
Använd endast i dagsljus eller i bra belysning.
Blixtnedslag kan leda till allvarliga personskador eller dödsfall. Om det blixtrar eller åskar i området ska maskinen inte användas. Sök skydd.
Var extra försiktig när du kör med tillbehör eller redskap, såsom gräsuppsamlingssystem. Dessa kan ändra maskinens stabilitet och leda till att du förlorar kontrollen. Följ vid behov anvisningarna för motvikter.
Undvik gropar, fåror, gupp, stenar och andra dolda faror. Var försiktig när du närmar dig hörn med skymd sikt, buskage, träd, högt gräs eller andra objekt som kan skymma hinder eller försämra sikten. Ojämn terräng kan få maskinen att välta eller föraren att tappa balansen eller fotfästet.
Se till att alla drivhjul ligger i neutralläge och att parkeringsbromsen är inkopplad innan du startar motorn. Använd säkerhetsbälte när störtbågen är i upprätt låst läge.
Starta motorn försiktigt enligt anvisningarna och med fötterna på behörigt avstånd från knivarna.
Kör aldrig en klippare med skadade skydd, skärmar och kåpor. Se alltid till att säkerhetsskärmar, skydd, kontakter och andra anordningar sitter på plats och är i gott fungerande skick.
Håll alltid avstånd till utkastaröppningen. Klipp aldrig med sidoutkastarluckan öppen, borttagen eller modifierad såvida inte du använder ett gräsuppsamlingssystem eller mullningssats som sitter på plats och fungerar korrekt.
Håll händer och fötter borta från rörliga delar. Gör helst inga justeringar när motorn är igång.
Händer, fötter, hår, kläder och personliga tillbehör kan trassla in sig i roterande delar. Kontakt med roterande delar kan leda till amputering eller orsaka allvarliga rivsår.
Kör inte maskinen utan skydd och skärmar eller om skyddsanordningarna inte sitter på plats och fungerar som avsett.
Håll händer, fötter, hår, smycken och kläder på avstånd från roterande delar.
Höj aldrig klippdäcket när knivarna roterar.
Vänd klipparen så att gräsklippet inte träffar kringstående under klippningen. Rikta inte det utkastade materialet mot en vägg eller annat hinder – det kan kastas tillbaka mot föraren. Stanna knivarna, sänk farten och var försiktig när du kör på andra underlag än gräs och när du flyttar klipparen till och från klippområdet.
Var uppmärksam, sänk farten och var försiktig när du svänger. Titta bakåt och åt sidan innan du ändrar körriktning. Klipp inte när du backar om det inte är absolut nödvändigt.
Ändra inte inställningarna för motorns varvtalshållare och övervarva inte motorn.
Parkera maskinen på en plant underlag. Stäng av motorn, vänta tills alla rörliga delar har stannat och ta bort tändkabeln/tändkablarna.
Innan du kontrollerar, rengör och arbetar på klipparen.
Om du kör på ett okänt föremål eller en onormal vibration uppstår (kontrollera om klipparen har skadats och reparera eventuella skador innan du startar och kör den igen).
Innan du rensar blockeringar.
Varje gång du lämnar gräsklipparen. Lämna inte en maskin som är i gång utan uppsikt.
Stäng av motorn och vänta tills alla rörliga delar har stannat:
Innan du fyller på bensin.
Innan du tömmer gräsuppsamlaren.
Innan du gör några höjdjusteringar.
Tragiska olyckor kan inträffa om föraren inte är uppmärksam på barn som befinner sig i närheten. Barn intresserar sig ofta för maskinen och klippningen. Förutsätt aldrig att ett barn förblir på den plats där du såg det senast.
Håll barn på säkert avstånd från klippområdet och under en ansvarsfull vuxens uppsyn (ej föraren).
Var uppmärksam och stäng av maskinen om barn befinner sig i närheten av arbetsområdet.
Var uppmärksam på små barn och titta bakåt, nedåt och åt bägge sidor innan och under den tid du backar eller svänger.
Låt aldrig barn använda maskinen.
Skjutsa aldrig barn (inte ens när knivarna är av). Barn kan falla av och skadas allvarligt eller hämma maskinens säkra drift. Barn som har fått åka med förut kan plötsligt dyka upp i arbetsområdet för ännu en åktur och bli överkörda eller påbackade av den som klipper.
Sluttningar är en betydande faktor vid olyckor som orsakas av att föraren förlorat kontrollen eller att maskinen välter, vilket kan innebära livsfara eller leda till allvarliga personskador. Det är föraren som är ansvarig för säker manövrering i sluttningar. Om du kör maskinen i en sluttning måste du vara extra försiktig. Innan maskinen används i en sluttning ska föraren göra följande:
Läsa sluttningsanvisningarna i bruksanvisningen och på maskinen och se till att förstå dessa.
Använda en vinkelindikator för att fastställa områdets ungefärliga lutning.
Kör aldrig i backar vars lutning överstiger 15 grader.
Utvärdera dagligen förhållandena på platsen för att fastställa om sluttningen är säker för maskindrift. Använd sunt förnuft och ett gott omdöme när du utför utvärderingen. Förändringar i terrängen, t.ex. fukt, kan snabbt påverka hur maskinen fungerar i en sluttning.
Identifiera faror nere vid slutet av sluttningen. Kör inte maskinen i närheten av stup, diken, flodbäddar, vatten eller andra faror. Maskinen kan välta plötsligt om ett hjul kör över en kant eller kanten ger vika. Håll säkert avstånd (dubbel maskinbredd) mellan maskinen och riskfyllda områden. Använd en gågräsklippare eller en handtrimmer för att klippa gräs i dessa områden.

Undvik att starta, stänga av eller svänga med maskinen i sluttningar. Undvik att göra plötsliga ändringar i hastighet eller riktning, sväng långsamt och gradvis.
Använd inte maskinen under förhållanden där det råder tvekan om dragkraft, styrning eller stabilitet. Tänk på att maskinen kan förlora drivkraften om du kör på vått gräs, tvärs över sluttningar eller i nedförslutning. Om drivhjulen tappar dragkraft kan det leda till att maskinen glider och att du förlorar kontrollen över bromsning och styrning. Maskinen kan glida även om drivhjulen stoppas.
Ta bort eller märk ut hinder som t.ex. diken, hål, fåror, gupp, stenar eller andra dolda faror. Det kan finnas dolda hinder i högt gräs. Ojämn terräng kan göra att maskinen välter.
Var extra försiktig när du kör med tillbehör eller redskap, såsom gräsuppsamlingssystem. Dessa kan ändra maskinens stabilitet och leda till att du förlorar kontrollen. Följ anvisningarna för motvikter.
Om möjligt ska däcket hållas nedsänkt mot marken när du kör i sluttningar. Om klippdäcket höjs vid körning i sluttningar kan maskinen bli instabil.
Ett vältskyddssystem (störtbåge) är monterat på maskinen.
Det finns inget vältskydd när störtbågen är nedfälld. Hjul som glider över kanter, diken, branta strandkanter och vattensamlingar kan orsaka vältolyckor, vilket kan resultera i allvarliga skador, dödsfall eller drunkning.
Ta INTE bort vältskyddet.
Håll störtbågen i upprätt, låst läge och använd säkerhetsbälte.
Fäll inte ned störtbågen om det inte är absolut nödvändigt.
Använd INTE säkerhetsbälte när störtbågen är nedfälld.
Kör långsamt och försiktigt.
Fäll upp störtbågen så snart som det finns tillräckligt med utrymme.
Försäkra dig om att säkerhetsbältet snabbt kan lossas i en nödsituation.
Var mycket uppmärksam på utrymmen ovanför dig (dvs. grenar, dörrar och elektriska sladdar) innan du kör under ett föremål och vidrör dem INTE.
I händelse av att maskinen välter ska du ta med enheten till en auktoriserad återförsäljare för att få vältskyddet inspekterat.
Byt ut ett skadat vältskydd. Det får INTE repareras eller modifieras.
Alla tillbehör, ändringar eller redskap som läggs till på vältskyddet måste godkännas av Toro.
Använd klippdäcket som hjälp för att sätta dig i förarsätet (Figur 16).

Koppla alltid in parkeringsbromsen när du stannar maskinen eller lämnar den utan uppsikt.
Ställ maskinen på ett plant underlag.


Med knivreglagebrytaren (kraftuttaget) startas och stoppas klipparens knivar och eventuella motordrivna redskap.
Note: Om knivreglagebrytaren (kraftuttaget) kopplas in med halvt gaspådrag eller mindre slits drivremmarna kraftigt.


Du kan flytta gasreglaget mellan det SNABBA och det LåNGSAMMA läget (Figur 21).
Använd alltid det SNABBA läget när du kopplar in kraftuttaget.

Note: En varm eller het motor behöver eventuellt inte chokas.
Important: Låt inte startmotorn gå i mer än 5 sekunder åt gången. Om startmotorn går i mer än 5 sekunder kan den skadas. Om motorn inte startar väntar du 10 sekunder innan du använder startmotorn igen.

Barn eller kringstående kan skadas om de flyttar eller försöker köra en maskin som har lämnats utan uppsikt.
Ta alltid ut nyckeln och koppla in parkeringsbromsen om du lämnar maskinen utan uppsikt.

Important: Se till att bränslekranen är stängd innan maskinen transporteras eller ställs i förvaring, eftersom bränsleläckage kan förekomma. Koppla in parkeringsbromsen före transport. Kontrollera att du tagit ut nyckeln eftersom bränslepumpen annars kan gå igång och göra att batteriet laddar ur.

Drivhjulen svänger oberoende av varandra och drivs av hydraulmotorer på varje axel. Du kan svänga ena sidan bakåt och den andra framåt så att maskinen snurrar istället för att svänga. Detta gör maskinen mycket mer lättmanövrerad, men det kan ta ett tag att vänja sig vid rörelserna.
Med gasreglaget styrs motorns varvtal mätt i rpm (varv per minut). Sätt gasreglaget i det SNABBA läget för bästa prestanda. Kör alltid med full gas vid klippning.
Maskinen kan rotera väldigt snabbt. Du kan förlora kontrollen över maskinen och orsaka personskador eller skador på maskinen.
Var försiktig i svängar.
Sakta ned innan du gör skarpa svängar.
Note: Motorn stängs av om rörelsereglaget flyttas när parkeringsbromsen är åtdragen.
Stanna maskinen genom att föra rörelsereglagen till NEUTRALLäGET.
Koppla ur parkeringsbromsen. Se Koppla ur parkeringsbromsen.
För reglagen till mittläget, olåst läge.
Kör framåt genom att försiktigt föra rörelsereglagespakarna framåt (Figur 26).

För reglagen till mittläget, olåst läge.
Backa genom att försiktigt dra rörelsereglagespakarna bakåt (Figur 27).

Klipparen har en fällbar gräsriktare som sprider ut det klippta gräset åt sidan och ner i gräsmattan.
Om ingen gräsriktare, utkastarlucka eller komplett gräsuppsamlare har monterats kan du och andra komma i kontakt med knivarna eller träffas av utslungat skräp. Kontakt med roterande kniv(ar) och utslungat skräp kan orsaka skador eller leda till dödsfall.
Ta aldrig bort gräsriktaren från klippdäcket eftersom gräsriktaren riktar avfallet ned mot gräset. Byt omedelbart ut gräsriktaren om den skadas.
För aldrig in händerna eller fötterna under klippdäcket.
Försök aldrig att rensa utkastaren eller knivarna utan att först KOPPLA UR knivreglagebrytaren (kraftuttaget), vrida tändningslåset till det AVSTäNGDAläget och sedan ta ut nyckeln ur tändningslåset.
Se till att gräsriktaren är i nedfällt läge.
Transportlåset har två lägen och manövreras med däcklyftpedalen. Klippdäckets transportläge har ett LåST läge och ett OLåST läge (Figur 28).

Klipphöjden kan justeras från 38 till 127 mm i steg om 6 mm genom att klipphöjdsprinten flyttas till olika hållägen.
För transportlåset till det LåSTA läget.
Tryck på däcklyftpedalen med foten och höj klippdäcket till TRANSPORTLäGET (även klipphöjdsläget på 127 mm) som visas i Figur 29.
Ta ut sprinten ur klipphöjdsfästet (Figur 29).
Sätt i sprinten i det hål i klipphöjdsfästet som passar för den önskade klipphöjden (Figur 29).
Tryck på däcklyftpedalen, dra transportlåsvredet bakåt och sänk sakta ner klippdäcket.

Varje gång du ändrar klipphöjden ska du även justera antiskalrullarnas höjdinställning.
Note: Justera antiskalvalsarna så att de inte vidrör marken vid normal klippning på plana ytor.
Parkera maskinen på en plan yta, koppla ur knivreglagebrytaren och koppla in parkeringsbromsen.
Stäng av motorn, ta ut nyckeln och vänta tills alla rörliga delar har stannat innan du kliver ur förarsätet.
Justera antiskalvalsarna enligt Figur 30.


Kör motorn i det SNABBA läget för bästa klippning och maximal luftcirkulation. Det krävs luft för att klippa gräset ordentligt. Ställ inte in för låg klipphöjd så att klippdäcket helt omges av oklippt gräs. Försök att alltid se till att en sida av klippdäcket är fritt från oklippt gräs, vilket medför att luft kan sugas in i klippdäcket.
Klipp gräset något högre än normalt så att inte klippdäcket skalperar ojämn mark. Den klipphöjd som använts tidigare är vanligtvis den bästa. Vid klippning av gräs som är längre än 15 cm kan du behöva klippa två gånger för att få ett acceptabelt klippresultat.
Det är bäst att bara klippa av cirka en tredjedel av grässtrået. Mer än så rekommenderas bara om gräset är glest eller om det är sent på hösten då gräset växer saktare.
Växla klippriktning för att hålla gräset rakt. Det underlättar också fördelningen av det klippta gräset, vilket förbättrar nedbrytning och gödning.
Gräs växer i olika takt beroende på årstiden. För att hålla samma längd på gräset ska man klippa oftare tidigt på våren. Klipp mer sällan när tillväxten avtar mot mitten av sommaren. Klipp med högre klipphöjd och klipp sedan igen efter två dagar med lägre klipphöjd om du inte kan klippa under en längre tidsperiod.
Du kan köra saktare för att få ett bättre klippresultat under vissa förhållanden.
Höj klipphöjden vid klippning av en ojämn gräsmatta så att inte gräsmattan skalas av.
Om du måste stanna maskinen under klippningen kan en klump med gräsklipp falla ner på gräsmattan. Kör till ett område som du redan har klippt medan knivarna är inkopplade för att undvika detta eller koppla bort klippardäcket samtidigt som du kör framåt.
Rensa bort gräsklipp och smuts från undersidan av klippdäcket efter varje klippning. Om gräs och smuts ansamlas inuti klippdäcket blir klippresultatet till slut inte tillfredsställande.
Se till att hålla kniven vass under klippsäsongen, eftersom en vass kniv klipper rent utan att slita och rycka av grässtråna. Om gräset slits och rycks av gulnar det i ändarna, vilket minskar tillväxten och ökar risken för sjukdomar. Kontrollera knivarna efter varje användning för att se till att de inte är slöa, slitna eller skadade. Fila ned eventuella hack och slipa knivarna om så behövs. Om en kniv är skadad eller sliten ska den bytas ut omedelbart mot en originalkniv från Toro.
Parkera maskinen på ett plant underlag, koppla ur drivningen, lägg i parkeringsbromsen, stäng av motorn och ta ut nyckeln eller koppla ifrån tändstiftskabeln. Vänta tills alla rörliga delar har stannat och låt maskinen svalna innan du justerar, rengör, reparerar eller ställer den i förvaring. Låt aldrig personer utan nödvändig utbildning utföra underhåll på maskinen.
Rengör maskinen enligt anvisningarna i underhållsavsnittet. Håll motorn och området runt motorn fritt från ansamling av gräs, löv, fett, olja och annat skräp som kan ackumuleras i dessa områden. Dessa material kan antändas och orsaka eldsvåda.
Kontrollera regelbundet om det finns slitna eller försämrade komponenter som kan utgöra risker. Dra åt lösa fästelement.
Stäng bränslekranen vid transport, underhåll och förvaring (Figur 32).
Kontrollera att bränslekranen är öppen när motorn startas.


Händer kan fastna i de roterande drivningskomponenterna under motordäcket, vilket kan orsaka allvarliga skador.
Stäng av motorn, ta ut nyckeln och vänta tills alla rörliga delar har stannat innan du försöker att komma åt drivhjulens utlösningsventiler.
Motorn och hydrauldrivningsenheterna kan bli mycket varma. Om du rör vid en varm motor eller hydrauldrivningsenhet kan du få allvarliga brännskador.
Låt motorn och hydrauldrivningsenheterna svalna helt innan du försöker att komma åt drivhjulens utlösningsventiler.
Drivhjulens utlösningsventiler sitter på vänster och höger sida under motordäcket.
Parkera maskinen på en plan yta, koppla ur knivreglagebrytaren och koppla in parkeringsbromsen.
Stäng av motorn, ta ut nyckeln och vänta tills alla rörliga delar har stannat innan du kliver ur förarsätet.
Förbikopplingsreglagen finns bakom sätet, nedtill på vänster och höger sida om ramen.
Om du vill skjuta maskinen framåt för du båda förbikopplingsvreden bakåt och låser dem sedan på plats (Figur 33).
Koppla ur parkeringsbromsen innan du skjuter på maskinen.

När du ska köra maskinen ska du vrida förbikopplingsvreden till FRAMåTLäGET och låsa dem i läge (Figur 33).
Använd en släpvagn eller lastbil för tung last för att transportera maskinen. Använd en fullbreddsramp. Se till att alla bromsar, lampor och markeringar som krävs enligt lag finns på släpvagnen eller lastbilen. Läs alla säkerhetsanvisningarna noga. Att känna till den här informationen kan hjälpa dig och kringstående att undvika skador. Kontrollera vilka lokala bestämmelser som gäller för transport på släp.
Det är farligt att köra på gator eller vägar utan blinkers, strålkastare och reflexer, eller utan en skylt för långsamtgående fordon, och det kan orsaka olyckor med personskador som följd.
Kör inte maskinen på allmän väg.
Om man lastar på en maskin på ett släp eller en lastbil ökar risken för att välta, vilket kan orsaka allvarliga personskador och innebära livsfara (Figur 34).
Använd endast en fullbreddsramp. Använd inte åtskilda ramper för var sida av maskinen.
Kontrollera att lutningen mellan rampen och marken, eller mellan rampen och släpet eller lastbilen, inte är större än 15 grader.
Kontrollera att rampen är minst fyra gånger så lång som släpvagns- eller lastbilsflakets höjd från marken. Det tillförsäkrar att rampens vinkel inte överstiger 15 grader på plan mark.

Om man lastar på en maskin på ett släp eller en lastbil ökar risken för att välta, vilket kan orsaka allvarliga personskador och innebära livsfara.
Var mycket försiktig vid körning på en ramp.
Backa maskinen uppför rampen och kör den framåt nedför rampen.
Undvik plötslig acceleration eller inbromsning när du kör maskinen på en ramp, eftersom det kan orsaka att du tappar kontrollen eller tippar.
Om du använder en släpvagn ska den kopplas till det bogserande fordonet och säkras med säkerhetskedjor.
Anslut i förekommande fall släpvagnsbromsarna och släpvagnsbelysningen.
Sänk ned rampen och säkerställ att vinkeln mellan rampen och marken inte är större än 15 grader (Figur 34).
Backa maskinen uppför ramper (Figur 35).

Stäng av motorn, ta ut nyckeln och koppla in parkeringsbromsen.
Bind fast maskinen nära de främre svänghjulen och den bakre stötdämparen med remmar, kedjor, kablar eller rep (Figur 36). Kontrollera vilka lokala bestämmelser som gäller för transport på släp.

Medan underhåll eller justeringar utförs kan någon starta maskinen. Om motorn startas av misstag kan du eller kringstående skadas allvarligt.
Ta ut nyckeln ur tändningslåset, lägg i parkeringsbromsen och dra av tändkabeln/tändkablarna från tändstiftet/tändstiften innan du utför underhåll. För även kablarna åt sidan så att de inte kommer i kontakt med tändstiften.
Motorn kan bli mycket varm. Du kan få allvarliga brännskador om du rör vid en varm motor.
Låt motorn svalna helt innan du utför något service- eller reparationsarbete i motorområdet.
Parkera maskinen på ett plant underlag, koppla ur drivningen, lägg i parkeringsbromsen, stäng av motorn och ta ut nyckeln eller koppla ifrån tändstiftskabeln. Vänta tills alla rörliga delar har stannat och låt maskinen svalna innan du justerar, rengör eller reparerar den. Låt aldrig personer utan nödvändig utbildning utföra underhåll på maskinen.
Koppla från batteriet och ta bort tändkabeln innan du utför några reparationer. Lossa minuskabelanslutningen först och pluskabelanslutningen sist. Återanslut plus först och minus sist.
Kontrollera att maskinens samtliga skydd, sköldar och skyddsanordningar sitter på plats och är i säkert bruksskick. Undersök komponenterna ofta med avseende på slitage och byt vid behov ut dem mot delar som rekommenderas av tillverkaren.
Borttagning eller modifiering av originalutrustning, -delar och/eller -redskap annars kan påverka maskinens garanti, styrbarhet och säkerhet. Ej tillåten modifiering av originalutrustning eller underlåtenhet att använda Toro-originaldelar kan leda till allvarliga personskador eller dödsfall. Ej tillåtna ändringar av maskinen, motorn, bränslet eller ventilationssystemet kan bryta mot tillämpliga säkerhetsstandarder som ANSI, OSHA och NFPA och/eller gällande lagstiftning som EPA och CARB.
Hydraulolja som läcker ut under tryck kan tränga in i huden och orsaka skada. Hydraulolja som tränger in i huden måste opereras bort inom några få timmar av en läkare som är bekant med denna typ av skador, annars kan kallbrand uppstå.
I förekommande fall ska du se till att alla hydrauloljeslangar och -ledningar är i gott skick och att alla hydraulanslutningar och -nipplar är ordentligt åtdragna innan hydraulsystemet trycksätts.
Håll kropp och händer borta från småläckor eller munstycken som sprutar ut hydraulolja med högt tryck.
Använd en kartong- eller pappersbit, inte dina händer, för att hitta hydraulvätskeläckage.
Lätta på allt tryck i hydraulsystemet på ett säkert sätt genom att sätta rörelsereglagespakarna i det neutrala läget och stänga av motorn innan något arbete utförs i hydraulsystemet.
Bränslesystemets komponenter är utsatta för högt tryck. Om olämpliga komponenter används kan detta leda till systemfel, bränsleläckage och explosionsrisker.
Använd endast bränsleledningar och bränslefilter som godkänts för högtryckssystem.
Var försiktig när du kontrollerar knivarna. Svep något omkring kniven/knivarna eller bär handskar, och var försiktig vid underhåll. Byt endast ut skadade knivar. De får aldrig rätas ut eller svetsas.
Stötta vid behov upp maskinen och/eller dess komponenter med domkrafter.
Det kan vara farligt att enbart förlita sig på mekaniska eller hydrauliska domkrafter när man hissar upp maskinen för service eller underhåll. De mekaniska eller hydrauliska domkrafterna kanske inte klarar att hålla maskinen uppe eller kan ha funktionsfel som medför att maskinen ramlar ned, vilket kan orsaka personskador.
Stötta inte maskinen enbart med mekaniska eller hydrauliska domkrafter. Använd lämpliga domkrafter eller liknande stöd.
Lätta försiktigt på trycket i komponenter med lagrad energi.
Håll händer och fötter borta från rörliga delar. Gör helst inga justeringar när motorn är igång. Var mycket försiktig om underhållet eller justeringen kräver påslagen motorn och komponenter i rörelse.
Kontakt med rörliga delar eller varma ytor kan leda till personskador.
Håll fingrar, händer och kläder borta från roterande delar och varma ytor.
Kontrollera ofta att samtliga skruvar bibehåller korrekt åtdragning.
| Underhållsintervall | Underhållsförfarande |
|---|---|
| Efter de första 5 timmarna |
|
| Efter de första 75 timmarna |
|
| Varje användning eller dagligen |
|
| Var 25:e timme |
|
| Var 50:e timme |
|
| Var 100:e timme |
|
| Var 200:e timme |
|
| Var 250:e timme |
|
| Var 500:e timme |
|
| En gång per månad |
|
| Årligen eller före förvaring |
|
Om du lämnar nyckeln i tändningslåset kan någon råka starta motorn av misstag och skada dig eller någon annan person allvarligt.
Stäng av motorn och ta ut nyckeln ur låset innan du utför något underhåll.
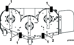
Lossa den övre skruven på kjolen så att den frigörs och du får åtkomst till klippdäckets ovansida (Figur 37). Dra åt bulten och sätt tillbaka kjolen när underhållet är slutfört.

Lossa de två främre bultarna och ta bort skyddsplåten för att komma åt klipparens remmar och spindlar (Figur 38). När underhållet har slutförts monterar du tillbaka skyddsplåten och drar åt skruvarna.

| Underhållsintervall | Underhållsförfarande |
|---|---|
| Var 25:e timme |
|
| Var 50:e timme |
|
Smörj maskinen oftare vid dammiga och smutsiga förhållanden.
Typ av fett: litium- eller molybdenfett nr 2
Parkera maskinen på en plan yta, koppla ur knivreglagebrytaren och koppla in parkeringsbromsen. Se Koppla in parkeringsbromsen.
Stäng av motorn, ta ut nyckeln och vänta tills alla rörliga delar har stannat innan du kliver ur förarsätet.
Torka av smörjnipplarna med en trasa.
Note: Skrapa av eventuell färg från nipplarnas framändar.
Smörj pumptomgångsskivans tapp med en eller två pumpningar fett (Figur 39).
Smörj de främre hjulaxlarna (Figur 39).

Torka bort överflödigt fett.
Stäng av motorn innan du kontrollerar oljenivån eller fyller på olja i vevhuset.
Håll händer, fötter, ansikte och andra kroppsdelar samt kläder på avstånd från ljuddämparen och andra heta ytor.
| Underhållsintervall | Underhållsförfarande |
|---|---|
| Varje användning eller dagligen |
|
| Var 25:e timme |
|
| Var 100:e timme |
|
| Var 200:e timme |
|
Note: Serva luftrenaren oftare vid extremt dammiga eller sandiga arbetsförhållanden.
Parkera maskinen på en plan yta, koppla ur knivreglagebrytaren (kraftuttaget) och koppla in parkeringsbromsen.
Stäng av motorn, ta ut nyckeln och vänta tills alla rörliga delar har stannat innan du kliver ur förarsätet.
Gör rent omkring luftrenaren så att inte smuts faller ned i motorn och orsakar skador.
Lyft kåpan och vrid luftrenaren ut ur motorn (Figur 40).


Dela på skumplast- och pappersinsatserna (Figur 41).

Tvätta skumplastinsatsen med flytande tvål och varmt vatten. Skölj ordentligt när den är ren.
Torka insatsen genom att krama den i en ren trasa.
Important: Byt ut skumplastinsatsen om den är trasig eller sliten.
Knacka försiktigt på pappersinsatsen så att smutsen trillar ur.
Note: Tvätta inte pappersinsatsen och använd inte tryckluft för att rengöra den, då detta skadar insatsen.
Note: Byt ut en insats som är sliten, böjd eller skadad. Hantera den nya insatsen försiktigt. Använd den inte om förseglingsytorna är böjda eller skadade.
Rengör luftrenarens bas vid behov och kontrollera dess skick.
Montera skumplastinsatsen över pappersinsatsen.
Note: Var försiktig så att du inte skadar insatserna.
Rikta filtrets hål in mot grenrörets portar.
Vrid filtret ned i kammaren och fäst det ordentligt mot grenröret (Figur 42).

Stäng panelen.
| Underhållsintervall | Underhållsförfarande |
|---|---|
| Efter de första 5 timmarna |
|
| Varje användning eller dagligen |
|
| Var 100:e timme |
|
Oljetyp: Renad olja (API service SF, SG, SH, SJ eller SL)
Vevhusets kapacitet: 2,4 liter med oljefilter
Viskositet: Se tabellen nedan.

Note: Kontrollera oljenivån när motorn är kall.
Important: Om du fyller på för mycket eller för lite olja i motorns vevhus och startar motorn kan den skadas.
Parkera maskinen på en plan yta, koppla ur knivreglagebrytaren (kraftuttaget) och koppla in parkeringsbromsen.
Stäng av motorn, ta ut nyckeln och vänta tills alla rörliga delar har stannat innan du kliver ur förarsätet.
Note: Säkerställ att motorn har svalnat så att oljan har hunnit rinna ned i sumpen.
Rengör området runt oljepåfyllningslocket och oljestickan innan du tar bort stickan så att smuts och gräsklipp inte hamnar i motorn (Figur 44).


Parkera maskinen på ett jämnt underlag för att försäkra att oljan töms helt.
Koppla ur knivreglagebrytaren (kraftuttaget) och koppla in parkeringsbromsen.
Stäng av motorn, ta ut nyckeln och vänta tills alla rörliga delar har stannat innan du kliver ur förarsätet.
Töm motorn på olja.


Byt ut motoroljefiltret (Figur 46).
Note: Kontrollera att oljefilterpackningen ligger mot motorn och vrid sedan filtret ytterligare ¾ varv.

Häll långsamt ca 80 % av den angivna oljan i påfyllningsröret och tillsätt långsamt ytterligare olja tills den når markeringen Full (Figur 47).

Lämna in spilloljan på en återvinningsstation.
| Underhållsintervall | Underhållsförfarande |
|---|---|
| Var 100:e timme |
|
| Var 200:e timme |
|
Se till att mellanrummet mellan mitt- och sidoelektroderna är korrekt innan tändstiftet monteras. Använd en tändstiftsnyckel vid demontering och montering av tändstiftet och ett bladmått för kontroll och justering av mellanrummet. Montera vid behov ett nytt tändstift.
Typ: Champion® RN9YC eller NGK® BPR6ES
Luftgap: 0,76 mm
Parkera maskinen på en plan yta, koppla ur knivreglagebrytaren (kraftuttaget) och koppla in parkeringsbromsen.
Stäng av motorn, ta ut nyckeln och vänta tills alla rörliga delar har stannat innan du kliver ur förarsätet.
Rengör området runt stiftets bas så att smuts och skräp inte hamnar i motorn.
Lokalisera och ta bort tändstiftet enligt Figur 48.


Important: Rengör inte tändstiftet/-stiften. Byt alltid ut tändstiftet om det har en svart beläggning, slitna elektroder, en oljefilm eller sprickor.
Om isolatorn är ljust brun eller grå fungerar motorn korrekt. En svart beläggning på isolatorn betyder vanligen att luftrenaren är smutsig.
Ställ in gapet till 0,76 mm.


| Underhållsintervall | Underhållsförfarande |
|---|---|
| Varje användning eller dagligen |
|
Parkera maskinen på en plan yta, koppla ur knivreglagebrytaren (kraftuttaget) och koppla in parkeringsbromsen.
Stäng av motorn, ta ut nyckeln och vänta tills alla rörliga delar har stannat innan du kliver ur förarsätet.
Ta bort luftfiltret från motorn.
Ta bort motorhöljet.
Montera luftfiltret på filterbasen för att förhindra att skräp kommer in i luftintaget.
Avlägsna skräp och gräs från delarna.
Ta bort luftfiltret och montera motorhöljet.
Montera luftfiltret.
| Underhållsintervall | Underhållsförfarande |
|---|---|
| Var 50:e timme |
|
Varma komponenter i avgassystemet kan antända bränsleångor även efter att du har stängt av motorn. Varma partiklar som blåses ut medan motorn är igång kan antända brännbara material, vilket kan leda till skada på person eller egendom.
Fyll endast på bränsle och kör motorn om en gnistsläckaren finns monterad.
Ställ maskinen på ett plant underlag, koppla ur kraftuttaget och koppla in parkeringsbromsen.
Stäng av motorn, ta ut nyckeln och vänta tills alla rörliga delar har stannat innan du kliver ur förarsätet.
Vänta tills ljuddämparen har svalnat.
Byt ut släckaren om du upptäcker sprickor i gallret eller svetspunkterna.
Om gallret har blivit igensatt tar du bort släckaren och skakar den så att lösa partiklar ramlar bort. Rengör även gallret med en stålborste (blötlägg vid behov gallret i lösningsmedel).
Montera släckaren på avgasutloppet.
| Underhållsintervall | Underhållsförfarande |
|---|---|
| Var 500:e timme |
|
Parkera maskinen på en plan yta, koppla ur knivreglagebrytaren (kraftuttaget) och koppla in parkeringsbromsen.
Stäng av motorn, ta ut nyckeln och vänta tills alla rörliga delar har stannat innan du kliver ur förarsätet.
Ta bort filtret från luftningsslangen.
Sätt i ett nytt filter i luftningsslangens ände.
Under vissa förhållanden är bränsle extremt brandfarligt och mycket explosivt. Brand eller explosion i bränsle kan orsaka brännskador och materiella skador.
Mer information om försiktighetsåtgärder rörande bränslehantering finns i Fylla på bränsle.
| Underhållsintervall | Underhållsförfarande |
|---|---|
| Var 500:e timme |
|
Important: Montera bränsleslangarna och fäst dem med spännband i plast på samma sätt som de ursprungligen var monterade. På så sätt undviker du att bränsleslangarna kommer i kontakt med komponenter som kan orsaka skador på dem.
Bränslefiltret är placerat på vänster del av motorns framsida.
Parkera maskinen på en plan yta, koppla ur knivreglagebrytaren (kraftuttaget) och koppla in parkeringsbromsen.
Stäng av motorn, ta ut nyckeln och vänta tills alla rörliga delar har stannat innan du kliver ur förarsätet.
Låt maskinen svalna.
Stäng bränslekranen under sätet.
Byt ut bränslefiltret (Figur 51).
Note: Kontrollera att markeringarna på filtret följer bränslets flödesriktning.

Öppna bränslekranen.
Försök inte att tömma bränsletanken. Låt en auktoriserad återförsäljare tömma bränsletanken och serva eventuella andra komponenter i bränslesystemet.
Koppla bort batteriet innan reparation utförs på maskinen. Lossa minuskabelanslutningen först och pluskabelanslutningen sist. Återanslut pluskabelanslutningen först och minuskabelanslutningen sist.
Ladda batteriet i ett öppet och välventilerat utrymme, på avstånd från gnistor och öppna lågor. Koppla ur laddaren innan batteriet ansluts eller kopplas bort. Använd skyddskläder och isolerade verktyg.
| Underhållsintervall | Underhållsförfarande |
|---|---|
| En gång per månad |
|
Batteriets kabelanslutningar eller metalldelar kan kortslutas mot maskinkomponenter i metall och orsaka gnistor. Gnistor kan få batterigaserna att explodera, vilket kan leda till personskador.
Vid avlägsnande eller installation av batteriet får du inte låta batterianslutningarna komma i kontakt med några av maskinens metalldelar.
Låt inte metallverktyg kortslutas mellan batterianslutningarna och maskinens metalldelar.
Felaktig borttagning av kablar från batteriet kan orsaka gnistor, vilket kan skada maskinen och kablarna. Gnistor kan få batterigaserna att explodera, vilket kan leda till personskador.
Lossa alltid batteriets minuskabel (svart) innan du lossar pluskabeln (röd).
Anslut alltid pluskabeln (röd) innan minuskabeln (svart) ansluts.
Parkera maskinen på en plan yta, koppla ur knivreglagebrytaren (kraftuttaget) och koppla in parkeringsbromsen.
Stäng av motorn, ta ut nyckeln och vänta tills alla rörliga delar har stannat innan du kliver ur förarsätet.
Ta bort batteriet enligt Figur 52.


När batteriet laddas bildas explosiva gaser.
Rök aldrig nära batteriet och håll det borta från gnistor och lågor.
Important: Håll alltid batteriet fulladdat, (specifik vikt 1,265). Detta är särskilt viktigt för att batteriet inte ska skadas när temperaturen understiger 0 °C.
Ta bort batteriet från chassit. Se Demontering av batteri.
Ladda batteriet i 10–15 minuter med 25–30 A eller i 30 minuter med 10 A.
Note: Överladda inte batteriet.
När batteriet är fulladdat ska laddaren kopplas bort från eluttaget först, och sedan ska laddningskablarna lossas från batteripolerna (Figur 53).
Sätt i batteriet i maskinen och anslut batterikablarna. Se Montera batteriet.
Note: Kör inte maskinen med bortkopplat batteri, eftersom detta kan orsaka elektriska skador.

Sätt i batteriet i lådan med anslutningspolerna mot hydraultanken (Figur 52).
Anslut batteriets pluskabel (röd) till batteriets pluspol (+).
Anslut batteriets minuskabel (svart) och jordkabel till batteriets minuspol (–).
Note: MyRide-maskiner: Kontrollera att jordkabeln inte skaver mot hjulinställningsarmen eller den nedre stötdämparmonteringen (Figur 55).

Fäst kablarna med två skruvar, två brickor och två låsmuttrar (Figur 52).
Trä på den röda anslutningsskon på batteriets pluspol (+).
Fäst batteriet med gummiremmen (Figur 52).
Elsystemet skyddas av säkringar. Det kräver inget underhåll, men om en säkring går bör du undersöka om det har uppstått funktionsfel eller kortslutning i komponenten eller kretsen.
Säkringarna sitter på den högra konsolen bredvid sätet (Figur 55).
Om du behöver byta ut en säkring drar du i den för att lossa den.
Sätt i en ny säkring (Figur 55).

| Underhållsintervall | Underhållsförfarande |
|---|---|
| Varje användning eller dagligen |
|
Se över säkerhetsbältet för att se om det är slitet eller trasigt och för att kontrollera att enheten och spännet fungerar som de ska. Byt ut säkerhetsbältet om det är skadat.
| Underhållsintervall | Underhållsförfarande |
|---|---|
| Varje användning eller dagligen |
|
Så här undviker du att välta, vilket kan leda till personskador och livsfara: Håll störtbågen i helt upprätt och låst läge och använd säkerhetsbältet.
Kontrollera att sätet sitter fast ordentligt på maskinen.
Kontrollera att både fästelementen och vreden är i gott bruksskick.
Se till att vreden är helt åtdragna och att störtbågen är uppfälld.
Note: Störtbågens övre ring kan behöva skjutas framåt eller dras bakåt för att båda vreden ska bli helt åtdragna (Figur 56 och Figur 57).


Koppla ur knivreglagebrytaren (kraftuttaget).
Kör till ett öppet och plant område och för rörelsereglagen till det NEUTRALA LåSLäGET.
För gasreglaget halvvägs mellan SNABBT och LåNGSAMT läge.
För båda rörelsereglagen framåt tills de når stoppen i T-skåran.
Kontrollera åt vilket håll maskinen går.
Om maskinen spårar till höger ska du föra in en sexkantig nyckel på 3/16 tum genom hålet i den högre främre täckpanelen och vrida spårskruven medsols eller motsols för att justera spakens riktning (Figur 58).
Om maskinen spårar till vänster ska du föra in en sexkantig nyckel på 3/16 tum genom hålet i den högre främre täckpanelen och vrida spårskruven medsols eller motsols för att justera spakens riktning (Figur 58).
Kör maskinen och kontrollera körning framåt med full fart.
Upprepa inställningen tills spårningen är korrekt.

| Underhållsintervall | Underhållsförfarande |
|---|---|
| Var 50:e timme |
|
Lufttrycket i både fram- och bakdäcken ska vara 0,9 bar. Ojämnt lufttryck i däcken kan orsaka ojämn klippning. Mät trycket när däcken är kalla för att få en så exakt avläsning som möjligt.

Kontrollera hjulmuttrarna och dra åt dem till 122–136 N·m.
| Underhållsintervall | Underhållsförfarande |
|---|---|
| Varje användning eller dagligen |
|
Ta bort eventuella ansamlingar av gräs, smuts eller annat skräp från motorfiltret, motorns utsläpp och området runt motorn innan du använder maskinen. Detta bidrar till att skapa tillräcklig kylning och korrekt motorhastighet samt minskar riskerna för överhettning och mekaniska skador på motorn.
| Underhållsintervall | Underhållsförfarande |
|---|---|
| Var 500:e timme |
|
Note: Utför denna rutin när du ska ta bort eller byta ut en bromskomponent.
Parkera maskinen på en plan yta, koppla ur knivreglagebrytaren (kraftuttaget) och koppla in parkeringsbromsen.
Stäng av motorn, ta ut nyckeln och vänta tills alla rörliga delar har stannat innan du kliver ur förarsätet.
Ställ in maskinen för att skjutas för hand. Se Använda utlösningsventilerna för drivhjulen.
Höj upp den bakre delen av maskinen och stötta upp den med domkrafter.
Att enbart förlita sig på mekaniska eller hydrauliska domkrafter för att stödja en upplyft maskin vid service eller underhåll kan vara farligt. Domkrafterna kanske inte ger tillräckligt stöd eller har något funktionsfel, så maskinen kan ramla ned och orsaka allvarliga personskador.
Stötta inte maskinen enbart med mekaniska eller hydrauliska domkrafter. Använd lämpliga domkrafter eller liknande stöd.
Aktivera och koppla ur parkeringsbromsen och kontrollera varje drivhjul för att säkerställa att alla bromsar aktiveras och frigörs.
Om en justering är nödvändig ska du koppla ur parkeringsbromsen. Ta bort saxpinnen från bromslänkaxeln (Figur 60).

Kontrollera båda fjädrarnas längd så som visas i Figur 61. Om en justering är nödvändig ska du vrida den övre muttern medsols för att förkorta fjädern och motsols för att förlänga den.

För parkeringsbromsspaken hela vägen framåt och nedåt.
Vrid bromslänkaxeln tills änden riktas in efter hålet i spaken.
Förkorta länksystemet genom att vrida det medsols.
Förläng länksystemet genom att vrida det motsols.
För in bromslänkaxeln i parkeringsbromsens hål och fäst den med saxpinnen. Upprepa steg 5 och justera vid behov.
När justeringen är färdig ska du ta bort domkraften eller motsvarande stöd och sänka ned maskinen.
Placera maskinen i ARBETSLäGET. Se Använda utlösningsventilerna för drivhjulen.
| Underhållsintervall | Underhållsförfarande |
|---|---|
| Var 50:e timme |
|
Byt ut remmen om den är sliten. Gnisslande ljud när remmen roterar, slirande knivar vid gräsklippning, fransiga remkanter, brännmärken och sprickor är tecken på en sliten klipparrem.
Parkera maskinen på en plan yta, koppla ur knivreglagebrytaren (kraftuttaget) och koppla in parkeringsbromsen.
Stäng av motorn, ta ut nyckeln och vänta tills alla rörliga delar har stannat innan du kliver ur förarsätet.
Sänk ned klipparen till en klipphöjd på 76 mm.
Lossa skruven på respektive remkåpa.
Lossa den nedre skruven som fäster klippdäckets kjol vid klippdäcket. Se Lossa klippdäckets kjol.
Ta bort skyddsplåten. Se Ta bort skyddsplåten.
Ta bort remkåporna och tillhörande skruvar (Figur 62).

Ta bort fjäderspänningen från den fjäderbelastade mellanremskivan. Se Figur 64.
Note: Använd fjäderborttagningsverktyget (Toro-artikelnr 92-5771) för att ta bort fjädern från klippdäckshållaren (Figur 64).
Ta bort remmen från klippdäcksskivorna och kopplingsskivan.
Montera en ny rem runt klipparremsskivorna och kopplingsskivan under motorn (Figur 63).


Montera mellanremsskivfjädern (Figur 63).
Note: Sätt fjäderändarna i förankringsspåren.
Montera remkåporna och skruvarna som fäster dem (Figur 65).

Montera skyddsplåten. Se Ta bort skyddsplåten.
Dra åt den nedre skruven som fäster klippdäckets kjol vid klippdäcket. Se Lossa klippdäckets kjol.
Parkera maskinen på en plan yta, koppla ur knivreglagebrytaren (kraftuttaget) och koppla in parkeringsbromsen.
Stäng av motorn, ta ut nyckeln och vänta tills alla rörliga delar har stannat innan du kliver ur förarsätet.
Ta bort klipparremmen. Se Byta ut klipparremmen.
Höj upp maskinen och stötta upp den med domkrafter (Figur 67).
Ta bort kopplingsspärren (Figur 66).

Demontera mellanremskivfjädern från stolpen (Figur 67).
Ta bort den befintliga remmen från den hydrauliska pumpenhetens drivskivor och motorremskivan.
Montera den nya remmen runt motorremskivan och de två hydrauliska pumpdrivskivorna (Figur 67).

Montera kopplingsspärren (Figur 66).
Montera klipparremmen. Se Underhålla remmarna.
Se Justera rörelsereglagelänken om reglagens ändar slår mot varandra.
Du kan höja eller sänka rörelsereglagespakarna för maximal komfort.
Parkera maskinen på en plan yta, koppla ur knivreglagebrytaren (kraftuttaget) och koppla in parkeringsbromsen.
Stäng av motorn, ta ut nyckeln och vänta tills alla rörliga delar har stannat innan du kliver ur förarsätet.
Lossa beslaget som håller fast reglagespaken vid reglagearmen.

För reglaget till nästa hålpar. Fäst reglaget med beslaget.
Gör likadant med det andra gasreglaget.
Parkera maskinen på en plan yta, koppla ur knivreglagebrytaren (kraftuttaget) och koppla in parkeringsbromsen.
Stäng av motorn, ta ut nyckeln och vänta tills alla rörliga delar har stannat innan du kliver ur förarsätet.
Lossa på den övre skruv som håller fast reglagespaken vid reglagearmen.
Lossa den nedre skruven såpass mycket att du kan svänga reglagespaken framåt och bakåt. Dra åt båda skruvarna ordentligt för att säkra spaken i det nya läget.
Gör likadant med det andra gasreglaget.

Pumpstyrlänkarna sitter under sätet på båda sidorna av maskinen. Vrid slutskruven med en ½ tum-hylsnyckel för att finjustera inställningarna så att maskinen inte rör sig i neutralläget. Eventuella justeringar ska endast göras för neutralläget.
För att du ska kunna utföra justeringarna måste motorn vara igång och drivhjulen snurra. Kontakt med rörliga delar eller varma ytor kan leda till personskador.
Håll fingrar, händer och kläder borta från roterande delar och varma ytor.
Parkera maskinen på en plan yta, koppla ur knivreglagebrytaren (kraftuttaget) och koppla in parkeringsbromsen.
Stäng av motorn, ta ut nyckeln och vänta tills alla rörliga delar har stannat innan du kliver ur förarsätet.
Tryck på däcklyftpedalen, ta bort klipphöjdssprinten och sänk ned klippdäcket till marken.
Höj upp maskinens bakdel och stötta med domkrafter (eller liknande stöd) så att maskinen är precis så högt över marken att drivhjulen kan snurra fritt.
Ta bort elanslutningen från sätets säkerhetsbrytare, som finns under sätets nedre dyna.
Note: Brytaren är en del av sätesenheten.
Montera tillfälligt en bygel över huvudkablagets anslutningar.
Starta motorn och kör den på full gas. Koppla ur parkeringsbromsen.
Note: Kontrollera att parkeringsbromsen är inkopplad och att rörelsereglagespakarna är i det yttre läget innan du startar motorn. Du måste inte sitta i sätet.
Kör maskinen i minst fem minuter med drivningsspakarna på full hastighet för körning framåt för att få upp hydraulvätskan till driftstemperatur.
Note: Rörelsereglagespakarna ska vara i neutralläget när du gör eventuella justeringar.
För rörelsereglagespakarna till NEUTRALLäGET.
Kontrollera och säkerställ att styrenhetsplattans flikar vidrör plattorna för återgång till neutralläget på de hydrauliska enheterna.
Justera pumpreglagestångens längd genom att vrida muttern i lämplig riktning tills hjulen rör sig långsamt bakåt (Figur 70).

För rörelsereglagen till BACKLäGET. Tryck försiktigt på reglaget och låt bakåtindikatorfjädrarna föra reglagen tillbaka till neutralläget.
Note: Hjulen ska sluta att snurra eller rotera långsamt bakåt.
Note: Du kanske behöver ta bort rörelsereglagekåpan för att komma åt.
Stäng av maskinen.
Ta bort bygeln från kablagekontakten och anslut kontakten till sätesomkopplaren.
Ta bort domkrafterna.
Höj upp klippdäcket och montera klipphöjdssprinten.
Kontrollera och säkerställ att maskinen inte kryper i neutralläget när parkeringsbromsen är urkopplad.
Sök omedelbart läkare om du träffas av en stråle hydraulvätska och vätskan tränger in i huden. Vätska som trängt in i huden måste opereras bort inom några få timmar av en läkare.
Se till att alla hydrauloljeslangar och -ledningar är i gott skick och att alla hydraulanslutningar och -kopplingar är ordentligt åtdragna innan hydraulsystemet trycksätts.
Håll kropp och händer borta från småläckor eller munstycken som sprutar ut hydraulvätska under högtryck.
Använd en kartong- eller pappersbit för att hitta hydraulläckor.
Lätta på allt tryck i hydraulsystemet på ett säkert sätt innan något arbete utförs i hydraulsystemet.
Hydrauloljetyp: Toro® HYPR-OIL™ 500-hydraulvätska eller Mobil 1 15W-50-olja.
Important: Använd angiven vätska. Andra vätskor kan skada hydraulsystemet.
Hydraulisk systemkapacitet (utan filter): 4,45 liter
| Underhållsintervall | Underhållsförfarande |
|---|---|
| Varje användning eller dagligen |
|
Låt hydrauloljan svalna. Kontrollera oljenivån när vätskan är kall.
Kontrollera expansionstanken och fyll vid behov på med Toro® HYPR-OIL™ 500-hydraulolja till linjen FULL COLD.

| Underhållsintervall | Underhållsförfarande |
|---|---|
| Efter de första 75 timmarna |
|
| Var 250:e timme |
|
| Var 500:e timme |
|
Filtren måste tas bort innan hydraulvätskan kan bytas. Byt ut båda samtidigt. Vätskespecifikationer finns i Ta bort hydraulsystemets filter.
Avlufta systemet när du har monterat de nya filtren och fyllt på vätska. Se Lufta hydraulsystemet. Upprepa avluftningen tills vätskenivån stabiliseras vid linjen FULL COLD i tanken. Om du inte utför denna procedur kan det leda till skador på växellådedrivsystemet som inte kan åtgärdas.
Parkera maskinen på en plan yta, koppla ur knivreglagebrytaren (kraftuttaget) och koppla in parkeringsbromsen.
Stäng av motorn, ta ut nyckeln och vänta tills alla rörliga delar har stannat innan du kliver ur förarsätet.
Låt motorn svalna.
Lokalisera filtret och skydden på bägge växellådedrivningssystemen (Figur 72).
Ta bort de tre skruvarna som håller fast filterskyddet och skyddet (Figur 72).

Gör försiktigt rent området runt filtren.
Important: Låt inte smuts komma in i hydraulsystemet eftersom det kan orsaka föroreningar.
Sätt ett avtappningskärl under filtret för att samla upp den vätska som tappas ur när filtret och avluftarpluggarna tas bort.
Lokalisera och ta bort avluftarpluggen på varje transmission.
Skruva loss filtret, ta bort det och tappa ut vätskan ur drivsystemet.
Upprepa proceduren för bägge filtren.
Stryk på ett tunt lager hydraulvätska på ytan på alla filtergummitätningar.
Vrid filtret medurs tills gummitätningen går emot filteradaptern och dra sedan åt filtret ytterligare tre fjärdedels varv till ett helt varv.
Upprepa för filtret på motsatta sidan.
Montera filterskydden över alla filter som du tog bort tidigare.
Använd de tre skruvarna för att fästa filterskydden.
Kontrollera att avluftarpluggarna har tagits bort innan du tillsätter vätska.
Häll sakta den angivna vätskan i expansionstanken tills det kommer ut vätska ur ett av avluftarplugghålen.
Montera ventilpluggen.
Dra åt tändstiftet till ett moment på 20 N·m.
Fortsätt att hälla vätska genom expansionstanken tills vätska kommer ut från det återstående avluftarplugghålet i den andra transmissionen.
Montera ventilpluggen på motsatta sidan.
Dra åt tändstiftet till ett moment på 20 N·m.
Fortsätt att fylla på vätska i expansionstanken tills nivån når upp till linjen FULL COLD i expansionstanken.
Gå vidare till Lufta hydraulsystemet.
Important: Om du inte utför proceduren som beskrivs i Lufta hydraulsystemet när du har bytt hydraulfilter och -vätska kan det leda till skador på växellådedrivsystemet som inte kan åtgärdas.

Höj upp maskinens bakdel och stötta med domkrafter (eller liknande stöd) så att maskinen är precis så högt över marken att drivhjulen kan snurra fritt.

Starta motorn, flytta gasreglaget framåt till halvgasläget och lossa parkeringsbromsen.
För förbikopplingsreglagen till läget för påskjutning av maskinen. Ha överströmningsventilerna öppna, låt motorn gå och för sakta rörelsereglagen både framåt och bakåt fem eller sex gånger.
För förbikopplingsreglagen till läget för körning av maskinen.
Stäng överströmningsventilen, låt motorn gå och för sakta styrspaken både framåt och bakåt fem till sex gånger.
Stäng av motorn och kontrollera vätskenivån i expansionstanken. Fyll på angiven vätska tills nivån når upp till linjen FULL COLD i expansionstanken.
Upprepa steg 2 tills systemet har tömts helt på luft.
Note: När ljudet från växellådan är normalt och maskinen går jämnt framåt och bakåt med normal hastighet har växellådan tömts på luft.
Kontrollera vätskenivån i expansionstanken en sista gång. Fyll på angiven vätska tills nivån når upp till linjen FULL COLD i expansionstanken.
En sliten eller skadad kniv kan gå sönder och en bit av kniven kan slungas ut mot dig eller någon kringstående, vilket kan leda till allvarliga personskador eller dödsfall. Om man försöker reparera en skadad kniv kan detta resultera i att produktens säkerhetscertifiering upphör att gälla.
Kontrollera om knivarna är slitna eller skadade med jämna mellanrum.
Var försiktig när du kontrollerar knivarna. Linda in knivarna i något eller ta på dig handskar, och var försiktig när du servar knivarna. Knivarna får endast bytas ut eller slipas – de ska aldrig rätas ut eller svetsas.
Var försiktig när en kniv roteras på maskiner med flera knivar, eftersom den kan få även andra knivar att börja rotera.
Parkera maskinen på en plan yta, koppla ur knivreglagebrytaren (kraftuttaget) och koppla in parkeringsbromsen.
Stäng av motorn, ta ut nyckeln och koppla bort tändkablarna från tändstiften.
| Underhållsintervall | Underhållsförfarande |
|---|---|
| Varje användning eller dagligen |
|
Kontrollera eggarna (Figur 75).
Ta bort kniven och slipa den om eggarna är slöa eller har fått hack, se Slipa knivarna.
Kontrollera knivarna, speciellt den böjda delen.
Montera omedelbart en ny kniv om du upptäcker sprickor, slitage eller spårbildning i detta område (Figur 75).

Note: Maskinen måste stå på en plan yta när följande procedur utförs.
Höj klippdäcket till det högsta klippläget.
Bär tjocka vadderade handskar eller annat lämpligt handskydd och rotera långsamt kniven till ett läge så att du kan mäta avståndet mellan knivseggen och det plana underlag som maskinen står på (Figur 76).

Mät från knivspetsen till den plana ytan (Figur 77).

Rotera samma kniv 180 grader så att den motsatta skäreggen nu är i samma läge (Figur 78).

Mät från knivspetsen till den plana ytan (Figur 79).
Note: Skillnaden bör inte vara mer större än 3 mm.

Om skillnaden mellan A och B är större än 3 mm ska kniven bytas ut mot en ny. Se Demontera knivarna och Montera knivarna.
Note: Om en böjd kniv byts ut mot en ny, men skillnaden fortfarande är större än 3 mm, kan knivspindeln vara böjd. Kontakta en auktoriserad återförsäljare för service.
Om skillnaden ligger inom de godkända värdena går du vidare till nästa kniv.
Upprepa proceduren på samtliga knivar.
Byt ut en kniv om den har träffats av ett hårt föremål, är obalanserad eller böjd.
Håll spindelaxeln med en skiftnyckel.
Avlägsna knivskruven, den böjda brickan och kniven från spindelaxeln (Figur 80).

Slipa eggarna i båda ändarna av kniven med en fil (Figur 81).
Note: Behåll ursprungsvinkeln.
Note: Kniven behåller balanseringen om samma mängd material avlägsnas från båda eggarna.

Kontrollera knivens balans med en knivbalanserare (Figur 82).
Note: Om kniven stannar kvar i ett horisontellt läge är den i balans och kan användas.
Note: Om kniven inte är balanserad kan du fila bort lite metall från knivens segeldel (Figur 81).

Upprepa proceduren tills kniven är balanserad.
Kontrollera att klippdäcket är plant när du monterar klipparen eller om du märker att din gräsmatta blir ojämnt klippt.
Kontrollera att klippdäckets knivar inte är böjda innan balansering. Ta bort och byt ut alla böjda knivar. Läs Kontrollera om knivarna är böjda innan du fortsätter.
Ställ in klippdäckets lutning i sidled innan du justerar den främre-bakre lutningen.
Krav:
Maskinen måste stå på en plan yta.
Alla däck måste ha rätt tryck. Se Kontrollera däcktrycket.
Parkera maskinen på en plan yta, koppla ur knivreglagebrytaren (kraftuttaget) och koppla in parkeringsbromsen.
Stäng av motorn, ta ut nyckeln och vänta tills alla rörliga delar har stannat innan du kliver ur förarsätet.
Kontrollera däcktrycket i drivhjulen. Se Kontrollera däcktrycket.
Placera klippdäcket i transportspärrläget.
Vrid försiktigt på knivarna så att de pekar åt samma håll.
Mät mellan knivens spets och den plana ytan (Figur 83). Om inget av måtten är inom 5 mm måste de justeras. Fortsätt med denna procedur.


Kontrollera den främre-bakre knivlutningen (Figur 84). Kontrollera att den främre knivens spets är lägre än den bakre knivens spets som visas tabellen över klosshöjd och räfsor. Fortsätt med denna procedur om justering behövs.

Ställ in antiskalvalsarna i de översta hålen eller ta bort dem helt när du gör den här justeringen.
Placera två klossar (se tabellen nedan) under den bakre kanten av klippdäckets kjol; en på vardera sida av klippdäcket (Figur 85).
Ställ in klipphöjdsreglaget på läget 76 mm.
Lägg två klossar under var sida av däckets framkant, men inte under antiskalvalsens fästen eller svetsfogar.

| Däckstorlek | Klosshöjd | Räfsa |
| Alla klippdäck | 7,3 cm | 4,8 till 6,4 mm |
Vrid försiktigt på knivarna i sidled (Figur 83).
Lossa låsmuttrarna (Figur 86) i alla fyra hörnen och säkerställ att klippdäcket sitter fast ordentligt på alla fyra klossar.
Se till att däckhållarna inte är slaka och att däcklyftsfotspaken är tryckt så långt tillbaka det går.
Dra åt de fyra låsmuttrarna.

Kontrollera att klossarna sitter säkert fast under däckkjolen och att skruvarna är åtdragna
Fortsätt att balansera däcket genom att kontrollera den främre-bakre knivlutningen.
Kontrollera att knivarna är balanserade, och upprepa proceduren för balansering av däcket vid behov.
Parkera maskinen på en plan yta, koppla ur knivreglagebrytaren (kraftuttaget) och koppla in parkeringsbromsen.
Stäng av motorn, ta ut nyckeln och koppla bort tändkablarna från tändstiften.
För in höjdjusteringssprinten i klipphöjdsläget på 7,6 cm.
Ta bort remkåporna.
Lossa klippdäckets remskiva och ta bort klippremmen. Se Underhålla remmarna.
Ta bort skruvar och muttrar från den främre delen av plattan under fotstödet.
Ta bort och spara skruvarna och muttrarna på båda sidor av maskinen (Figur 87).

För ut däcket på maskinens högra sida.
Om utkastaröppningen inte är täckt kan maskinen slunga ut föremål i riktning mot föraren eller kringstående och därmed orsaka allvarliga skador. Det skulle också kunna medföra kontakt med knivarna.
Kör aldrig maskinen utan en mullplåt, en utkastarriktare eller ett gräsuppsamlingssystem.
Ta bort låsmuttern, skruven, fjädern och distansbrickan som håller fast gräsriktaren på tappfästena (Figur 88).
Demontera den skadade eller slitna gräsriktaren (Figur 88).

Sätt distansbrickan och fjädern på gräsriktaren.
Placera fjäderns ena J-formade ände bakom däckkanten.
Note: Kontrollera att den ena av fjäderns J-formade ändar sitter bakom däckkanten innan du monterar skruven enligt Figur 88.
Montera skruven och muttern.
Placera fjäderns 1 J krokformade ände runt gräsriktaren (Figur 88).
Important: Gräsriktaren måste kunna rotera. Lyft upp riktaren till det helt öppna läget och kontrollera att den roterar ned helt.
| Underhållsintervall | Underhållsförfarande |
|---|---|
| Varje användning eller dagligen |
|
Parkera maskinen på en plan yta, koppla ur knivreglagebrytaren (kraftuttaget) och koppla in parkeringsbromsen.
Stäng av motorn, ta ut nyckeln och vänta tills alla rörliga delar har stannat innan du kliver ur förarsätet.
Höj upp klippdäcket till TRANSPORTLäGET.
Använd tryckluft för att rengöra fjädringssystemet.
Note: Rengör inte stötenheterna med vatten under tryck (Figur 89).

Motorolja, batterier, hydraulvätska och kylarvätska förorenar miljön. Kassera dessa produkter i enlighet med gällande statliga och lokala föreskrifter.
Stäng av motorn, ta ut nyckeln, vänta tills alla rörliga delar har stannat och låt maskinen svalna innan den ställs i förvaring.
Förvara inte maskinen eller bränsle i närheten av öppna lågor, och tappa inte ur bränsle inomhus.
Ta ut nyckeln och förvara den på en säker plats utom räckhåll för barn.
Koppla ur knivreglagebrytaren (kraftuttaget) och koppla in parkeringsbromsen.
Stäng av motorn, ta ut nyckeln och vänta tills alla rörliga delar har stannat innan du kliver ur förarsätet.
Avlägsna gräsklipp, smuts och smörja från maskinens utvändiga delar. Var särskilt noga med motorn och hydraulsystemet. Rensa bort smuts och skräp från utsidan av motorns kylflänsar och fläkthus.
Important: Tvätta maskinen med ett milt rengöringsmedel och vatten. Högtryckstvätta inte maskinen. Undvik att använda alltför mycket vatten, särskilt nära kontrollpanelen, motorn, hydraulpumparna och motorerna.
Kontrollera parkeringsbromsens funktion. Se Justera parkeringsbromsen.
Serva luftrenaren. Se Serva luftrenaren.
Smörj maskinen; se Smörjning.
Byt oljan i vevhuset; se Serva motoroljan.
Kontrollera lufttrycket i däcken, se Kontrollera däcktrycket.
Byt hydraulfiltren, se Byta ut hydraulvätskan och hydraulfiltren.
Ladda batteriet, se Ladda batteriet.
Skrapa bort eventuella ansamlingar av gräs och smuts från klipparens undersida, och tvätta sedan klipparen med en trädgårdsslang.
Note: Kör maskinen med knivreglagebrytaren (kraftuttaget) inkopplad och motorn på hög tomgång under 2 till 5 minuter efter tvätt.
Kontrollera knivarnas skick, se Serva knivarna.
Förbered maskinen för förvaring om den ska stå oanvänd i över 30 dagar. Förbered maskinen för förvaring på följande sätt:
Tillsätt en oljebaserad stabiliserare/konditionerare till bränslet i tanken. Följ tillverkarens blandningsanvisningar. Använd inte en alkoholbaserad stabiliserare (etanol eller metanol).
Note: En stabiliserare/konditionerare fungerar effektivast när den blandas med färskt bränsle och alltid används.
Kör motorn för att fördela stabiliserat bränslet i bränslesystemet (5 minuter).
Stäng av motorn, låt den svalna och töm bränsletanken.
Starta motorn igen och kör den tills den stannar.
Kassera bränslet på lämpligt sätt. Återvinn bränsle enligt lokala föreskrifter.
Important: Förvara inte bränsle som innehåller stabiliserare/konditionerare längre än den tid som rekommenderas av bränslestabiliserarens tillverkare.
Lossa tändstiften och kontrollera deras skick. Se Utföra service på tändstiftet. Häll i två matskedar (30 ml) motorolja i tändstiftshålet när stiftet/stiften har tagits bort. Använd elstarten för att dra runt motorn och sprida oljan inuti cylindern. Montera tändstiften. Sätt inte på tändkabeln.
Kontrollera och dra åt alla bultar, muttrar och skruvar. Reparera eller byt ut skadade delar.
Måla i lackskador och bara metallytor. Färg finns att köpa hos din närmaste auktoriserade återförsäljare.
Förvara maskinen i ett rent och torrt garage eller lagerutrymme. Ta ut nyckeln ur tändningslåset och förvara den utom räckhåll för barn och andra obehöriga användare. Täck över maskinen för att skydda den och hålla den ren.
| Problem | Possible Cause | Corrective Action |
|---|---|---|
| Motorn överhettas. |
|
|
| Startmotorn startar inte. |
|
|
| Motorn startar inte, är trögstartad eller stannar efter en stund. |
|
|
| Motorn tappar kraft. |
|
|
| Maskinen drar åt vänster eller höger (med rörelsereglagesparkarna riktade framåt). |
|
|
| Maskinen driver inte. |
|
|
| Maskinen vibrerar på ett onormalt sätt. |
|
|
| Klipphöjden är ojämn. |
|
|
| Knivarna roterar inte. |
|
|
| Kopplingen kopplar inte in. |
|
|
