| Vedlikeholdsintervall | Vedlikeholdsprosedyre |
|---|---|
| For hver bruk eller daglig |
|
Denne plentraktoren med roterende kniver er beregnet på bruk av profesjonelle, innleide operatører. Den er hovedsakelig beregnet på å klippe gress på godt vedlikeholdte plener på private eller kommersielle eiendommer.
Les denne håndboken nøye, slik at du lærer å bruke og vedlikeholde produktet på riktig måte og unngår person- eller produktskade. Du har ansvar for å bruke produktet på en riktig og sikker måte.
Gå til www.Toro.com for materialer for produktsikkerhet og opplæring i bruk, og informasjon om tilbehør, hjelp til å finne en forhandler eller for å registrere produktet ditt.
Hvis maskinen må repareres, om du trenger originale Toro-deler eller mer informasjon, kan du kontakte et autorisert forhandlerverksted eller Toros kundeserviceavdeling. Ha modell- og serienummer for hånden når du tar kontakt. Figur 1 identifiserer plasseringen av modell- og serienummer på produktet. Skriv inn numrene i tilhørende felt.
Important: Med den mobile enheten skanner du QR-koden på serienummermerket for å få tilgang til garantien, deler og annen produktinformasjon.

I tillegg brukes to ord for å utheve informasjon. Viktig gjør oppmerksom på spesiell mekanisk informasjon og Obs henviser til generell informasjon som er verdt å huske.
Dette produktet er i samsvar med alle relevante europeiske direktiver. Se eget samsvarserklæringsskjema for produktet for detaljert informasjon.
Gå til www.Toro.com for å se spesifikasjonene for din modell.
Brutto- eller nettomoment: Motorens brutto- eller nettomoment ble beregnet i laboratorium av motorprodusenten i overensstemmelse med Society of Automotive Engineers (SAE) J1940 eller J2723. Når gresslippere i denne klassen er konfigurert til å overholde sikkerhets-, utslipps- og driftskrav, vil det faktiske dreiemomentet være betydelig lavere. Se motorprodusentens informasjon som følger med maskinen.
Important: Hvis du bruker en maskin med Toro-motor på et sted høyere enn 1500 m over havet i en lengre periode, må du sikre at høydesettet er montert, slik at motoren oppfyller CARB/EPA-utslippskrav. Høydesettet øker motorens ytelse og forhindrer tennpluggavleiring, startvansker og økt utslipp. Når du har montert settet, fest høydemerket ved siden av seriemerket på maskinen. Kontakt en autorisert Toro-serviceforhandler for å skaffe riktig høydesett og høydemerke for maskinen. For å finne en forhandler nær deg, gå til vårt nettsted på www.Toro.com, eller ta kontakt med Toros kundepleieavdeling på nummeret som er oppført i erklæringen om utslippskontrollgaranti.Fjern settet fra motoren, og gjenopprett motoren til sin opprinnelige fabrikkonfigurasjon når du kjører motoren ved høyder lavere enn 1500 m. Ikke bruk en motor som har blitt konvertert for bruk i høytliggende områder i lavtliggende områder, da dette kan overopphete og skade motoren.Hvis du er usikker på om maskinen har blitt konvertert til bruk i høytliggende områder, ser du etter følgende merke (Figur 2).

Denne maskinen har blitt designet i henhold til EN ISO-standard 5395:2013.
Denne sikkerhetsvarselsymbolet (Figur 3) brukes både i denne håndboken og på maskinen for å identifisere viktige sikkerhetsmeldinger som må følges for å unngå ulykker.
Dette symbolet betyr: OBS! VÆR OPPMERKSOM! DIN EGEN SIKKERHET ER INVOLVERT!

Varselsymbolet vises over informasjon som varsler deg om utrygge handlinger eller situasjoner og etterfølges av ordet FARE, ADVARSEL eller FORSIKTIG.
FARE: Indikerer en farlig situasjon som, hvis den ikke unngås, vil resultere i dødsfall eller alvorlig personskade.
ADVARSEL: Angir en potensielt farlig situasjon som, hvis den ikke unngås, kan resultere i dødsfall eller alvorlig personskade.
FORSIKTIG: Angir en potensielt farlig situasjon som, hvis den ikke unngås, kan resultere i mindre eller moderat skade.
Denne brukerhåndboken bruker i tillegg to ord til for å utheve informasjon. Viktig gjør oppmerksom på spesiell mekanisk informasjon og Merk henviser til generell informasjon som er verdt å huske.
Denne maskinen kan amputere hender og føtter og slynge gjenstander opp i luften. Toro har konstruert og testet denne gressklipperen for at den skal være rimelig sikker å bruke. Hvis du unnlater å følge sikkerhetsinstruksjonene, kan dette imidlertid føre til personskader eller dødsfall.
Les, forstå og følg alle instruksjoner og advarsler i brukerhåndboken og annet opplæringsmateriell, på maskinen, motoren og tilbehør. Alle operatører og mekanikere skal være opplært. Dersom fører eller mekaniker ikke forstår språket i denne bruksanvisningen, er det eierens ansvar å forklare dem dens innhold. Andre språk kan være tilgjengelig på nettstedet vårt.
Kun opplærte, ansvarlige og fysisk og mentalt egnede operatører som er kjent med sikker bruk, førerkontrollene, og sikkerhetsmerker og instruksjonene, skal bruke maskinen. Ikke la barn eller personer som ikke er opplært kjøre eller utføre vedlikehold på utstyret. Det kan hende at lokale forskrifter setter en aldersgrense for bruk av denne gressklipperen.
Hold alltid veltebøylen i fullt hevet og låst stilling og bruk sikkerhetsbelte.
Maskinen må ikke brukes ved kanter grøfter, voller, vann eller andre farer, eller i skråninger på mer enn 15 grader.
Hold hender og føtter borte fra roterende deler på maskinen.
Maskinen må ikke brukes hvis verneplater, skydd eller deksler er defekte. Sikkerhetsvern, skydd, brytere og andre anordninger må alltid være på plass og i korrekt fungerende stand.
Stopp maskinen, slå av motoren og ta ut nøkkelen før du utfører service, fyller drivstoff på eller fjerner materiale fra maskinen.

![]() |
Sikkerhetsmerker og instruksjoner er lett synlige for føreren og er plassert i nærheten av alle områder som representerer en potensiell fare. Bytt ut alle merker som er ødelagte eller mangler. |



























Gjør deg kjent med alle kontroller før du starter motoren og bruker maskinen.

Tenningsbryteren som brukes til å starte og stoppe motoren, har tre stillinger: AV, KJøR og START. Se Starte motoren.
Bruk chokekontrollen for å starte en kald motor.
Gassen kontrollerer motorhastigheten og den har en kontinuerlig variabel innstilling fra SAKTE til HURTIG (Figur 6).
Knivkontrollbryteren, representert av et kraftoverføringssymbol (PTO), aktiverer og deaktiverer strømmen til knivbladene (Figur 6).
Timemåleren registrerer antallet timer som motoren har vært i bruk. Den er i gang når motoren er i gang. Bruk tidene for å planlegge vanlig vedlikehold (Figur 7).

Symboler på timetelleren indikerer med et svart triangel at sperrekomponentene er i riktig posisjon (Figur 7).
Hvis du vrir tenningsnøkkelen til På-stillingen i noen få sekunder, vises batterispenningen i området hvor klokkeslettet vanligvis vises.
Batterilyset slår seg på når nøkkelbryteren er slått på og når ladenivået er under riktig bruksnivå (Figur 7).
Bruk bevegelseskontrollspakene til å kjøre maskinen fremover, rygge og svinge i alle retninger (Figur 5).
Flytt bevegelseskontrollspakene utover fra midten til NøYTRAL, LåST stilling når du forlater maskinen (Figur 25). Sett alltid bevegelseskontrollspakene i NøYTRAL, LåST stillingen når du stanser maskinen eller lar den stå uten tilsyn.
Når du slår av motoren, må du sette parkeringsbremsen på for å forhindre at kjøretøyet skal bevege seg ved et uhell.
Steng drivstoffvelgerventilen før du transporterer eller lagrer maskinen. Se Bruke drivstoffavstengingsventilen.
Note: Spesifikasjoner og konstruksjon kan forandres uten varsel.
| 122 cm klippeenhet | 132 cm klippeenhet | |
|---|---|---|
| Uten klippeenhet | 121 cm | 124 cm |
| Avleder opp | 133 cm | 144 cm |
| Avleder ned | 160 cm | 171 cm |
| 122 cm klippeenhet | 132 cm klippeenhet | |
|---|---|---|
| Lengde | 208 cm | 208 cm |
| Veltebøyle – opp | Veltebøyle – ned |
|---|---|
| 179 cm | 125 cm |
| Maskiner | Vekt |
| 122 cm maskiner med sideutslipp | 385–425 kg |
| 132 cm maskiner med sideutslipp | 391–434 kg |
Et utvalg av Toro-godkjent tilbehør som kan brukes sammen med maskinen for å forbedre og utvide dens funksjoner er tilgjengelig. Ta kontakt med en autorisert serviceforhandler eller Toro-forhandler, eller gå til www.Toro.com for å få en liste over godkjent tilbehør og utstyr.
For å oppnå optimal ytelse og holde maskinen i sikkerhetsgodkjent stand bruker du bare ekte Toro-reservedeler og -tilbehør. Reservedeler og tilbehør som er laget av andre produsenter kan være farlige, og de kan derfor føre til at garantien blir ugyldig.
Note: Angi hva som er høyre og venstre side på maskinen ved å stå i normal arbeidsstilling.
Vurder terrenget for å avgjøre hvilket tilbehør og utstyr som er nødvendig for å gjøre jobben på en sikker og riktig måte. Bruk tilbehør og utstyr som er godkjent av Toro.
Foreta en grundig inspeksjon der maskinen skal brukes, og fjern alle steiner, leker, pinner, vaiere, bein og andre gjenstander. Disse kan slynges ut eller forstyrrer driften av maskinen og kan forårsake personskader på føreren eller tilskuere.
Bruk passende personlig verneutstyr som vernebriller, kraftig, sklisikkert fottøy og hørselvern. Bind opp langt hår og unngå løse klær og løse smykker som kan sette seg fast i bevegelige deler.
Denne maskinen har en lydstyrke på over 85 dBA ved operatørens øre og kan føre til hørselsskade hvis du utsettes for denne lydstyrken i lengre perioder.
Bruk hørselsvern når du bruker denne maskinen.
Kontroller at brukerens kontroller, sikkerhetsbryterne og verneplatene er montert og virker riktig. Ikke bruk maskinen hvis disse ikke fungerer som de skal.
Ikke bruk gressklipperen mens folk – spesielt barn – eller dyr er i nærheten. Stopp maskinen og tilbehøret hvis noen kommer inn på området.
Ikke bruk maskinen uten at hele gressoppsamlingssystemet, utslippsavleder eller andre sikkerhetsanordninger sitter på plass og er i korrekt fungerende stand. Gressoppsamlerkomponenter er utsatt for skade og slitasje. Dette kan føre til at bevegelige deler avdekkes, eller at objekter slynges gjennom luften. Kontroller komponentene regelmessig for slitasje og skader, og skift dem ut med produsentens anbefalte deler ved behov.
Vær svært forsiktig når du håndterer drivstoff.
Under visse forhold er bensin meget brannfarlig og og bensindamp høyeksplosiv.
En brann eller eksplosjon kan gi deg og andre i nærheten brannskader og forårsake skade på eiendom.
Fyll opp drivstofftanken på plan bakke utendørs på et åpent område når motoren er nedkjølt. Tørk opp eventuelt bensinsøl.
Fyll aldri på eller tøm drivstofftanken innendørs eller inni en lukket tilhenger.
Tanken må ikke fylles helt opp. Fyll drivstoff på tanken til nivået når opp til bunnen av påfyllingshalsen. Tomrommet i tanken gir bensinen plass til å utvide seg. For full tank kan føre til drivstofflekkasje eller skade på motoren eller utslippssystemet.
Røyk aldri mens du håndterer bensin, og hold deg unna åpen ild eller steder der bensingassen kan antennes av gnister.
Bensin må oppbevares på en godkjent kanne, utenfor barns rekkevidde.
Fyll på drivstoff før du starter motoren. Ta aldri lokket av drivstofftanken eller fyll drivstoff mens motoren går eller er varm.
Hvis du søler drivstoff, må du ikke prøve å starte motoren. Gå bort fra området med sølet, og unngå alle antenningskilder til all drivstoffdampen er forsvunnet.
Må ikke brukes uten at hele eksossystemet er på plass og i korrekt arbeidstilstand.
Under enkelte forhold ved fylling av drivstoff kan statisk elektrisitet utløses og føre til at gnister antenner bensindamp. En brann eller eksplosjon som er forårsaket av bensin kan brenne deg og andre og forårsake skade på eiendom.
Sett alltid bensinkannen på bakken i god avstand fra kjøretøyet før du fyller bensin.
Fyll ikke opp bensinkannen inne i et kjøretøy eller på en lastebil eller tilhenger, fordi tepper eller presenninger kan isolere kannen og hemme utladning av eventuell statisk elektrisitet.
Når dette lar seg gjøre, skal drivstoffdrevet utstyr tas ut av lastebilen eller tilhengeren og fylles med drivstoff mens hjulene står på bakken.
Hvis dette ikke lar seg gjøre, og maskinen må fylles med bensin mens den står på lastebilen, bør du bruke en bensinkanne til å fylle bensin i stedet for å fylle direkte fra bensinpumpen.
Hvis det er nødvendig å fylle bensin direkte fra pumpen, må påfyllingstuten være i kontakt med kanten på drivstofftanken eller kannens åpning helt til du er ferdig med å fylle. Bruk ikke påfyllingsanordningen som ikke er utstyrt med automatisk avbryterfunksjon.
Bensin kan føre til skader eller dødsfall hvis den svelges. Langvarig utsettelse for bensindamp har forårsaket kreft i forsøksdyr. Hvis du ikke er forsiktig, kan det føre til alvorlig skade eller sykdom.
Unngå innånding av damp fra drivstoff over lengre tid.
Hold ansiktet unna dyse og drivstofftank-/kanneåpning.
Hold unna øyne og hud.
Bruk aldri munnen for å heve bensin.
Ventilen til drivstofftanken er plassert på innsiden av røret til veltebøylen. Fjerning eller endring av veltebøylen kan føre til drivstofflekkasje og brudd på utslippsforskrifter.
Ikke fjern veltebøylen.
Ikke sveis, bor, eller modifiser veltebøylen på noen måte.
For å forhindre brann:
Hold motoren og motorområdet fritt for oppsamling av gress, løv, for mye fett eller olje og andre gjenstander som kan samle seg opp på disse områdene.
Tørk opp olje- eller drivstoffsøl, og fjern rester som er tilsølt av drivstoff.
La maskinen bli kald før den settes på et lukket sted. Ikke oppbevar nær åpen ild eller et innestengt område der det finnes åpne pilotflammer eller varmeapparater.
For best resultat bør du kun bruke ren, fersk (mindre enn 30 dager gammel) og blyfri bensin med oktankvalitet på 87 eller høyere (vurderingsmetode (R+M)/2).
Etanol: Bensin med opptil 10 % etanol (alkoholbensin) eller 15 % MTBE (metyltertiærbutyleter) i volum er akseptabelt. Etanol og MTBE er ikke det samme. Bensin med 15 % etanol (E15) i volum er ikke godkjent for bruk. Ikke bruk bensin som inneholder mer enn 10 % etanol i volum, som f.eks. E15 (inneholder 15 % etanol), E20 (inneholder 20 % etanol) eller E85 (inneholder opptil 85 % etanol). Bruk av bensin som ikke er godkjent kan forårsake problemer og/eller motorskade som kanskje ikke dekkes av garanti.
Ikke bruk metanolholdig bensin.
Ikke oppbevar drivstoff i drivstofftanken eller i drivstoffbeholdere over vinteren, med mindre du bruker drivstoffstabilisator.
Ikke bland olje i bensinen.
Bruk et stabiliserings-/kondisjoneringsmiddel i maskinen for å oppnå følgende fordeler:
Holder drivstoff ferskt lenger når brukt som angitt av produsenten av drivstoffstabilisatoren
Renser motoren mens den går
Forhindrer at det dannes gummiliknende avleiringer i drivstoffsystemet som forårsaker startvansker
Important: Ikke bruk tilsettingsmidler som inneholder metanol eller etanol i drivstoffet.
Bland riktig mengde drivstoffstabilisator/kondisjonsmiddel i drivstoffet.
Note: Stabiliserings-/kondisjoneringsmidler er mest effektive når de blandes med ferskt drivstoff. Bruk stabiliseringsmiddel i bensinen til enhver tid for å beskytte mot lakkavleiringer i drivstoffsystemet.
Parker maskinen på en jevn flate.
Sett på parkeringsbremsen.
Slå av motoren og ta ut nøkkelen.
Rengjør rundt drivstofflokket.
Fyll drivstoff på tanken til nivået når opp til bunnen av påfyllingshalsen (Figur 8).
Note: Tanken må ikke fylles helt opp. Dette tomrommet i tanken gir drivstoffet plass til å utvide seg.

Før du starter maskinen hver dag, må du utføre prosedyrene for hver bruk / daglige prosedyrer, som angitt i .
Nye motorer trenger tid til å utvikle full styrke. Klippeenheter og drivverk har høyere friksjon når de er nye, som fører til ekstra belastning på motoren. Beregn 40 til 50 timers innkjøringstid slik at nye maskiner kan utvikle full styrke og best mulig ytelse.
For å unngå skader eller dødsfall ved velting: Hold veltebøylen i fullt hevet og låst stilling, og bruk sikkerhetsbelte.
Kontroller at setet er godt festet på maskinen.
Det finnes ingen veltebøylebeskyttelse når veltebøylen er nede.
Senk veltebøylen kun når det er helt nødvendig.
Ikke bruk sikkerhetsbelte når veltebøylen er nede.
Kjør sakte og forsiktig.
Hev veltebøylen så fort klaringen tillater dette.
Kontroller nøye at du har klaring hvis du skal kjøre under objekter (for eksempel greiner, døråpninger, elektriske ledninger osv.), slik at du ikke kommer i kontakt med dem.
Important: Bruk alltid sikkerhetsbeltet når veltebøylen er i hevet stilling.
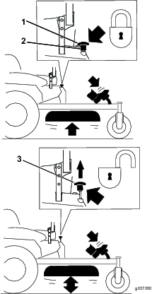
Dra veltebøylen opp til driftsstillingen og vri på knottene til de går delvis inn i rillene (Figur 9).
Dra veltebøylen helt opp mens du skyver på den øvre veltebøylen, slik at pinnene går i lås når hullene stemmer overens med pinnene (Figur 9).
Skyv på veltebøylen og kontroller at begge pinnene sitter godt.
Hvis sikkerhetssperrebryterne blir frakoblet eller skadet, kan det hende at maskinen virker på en uventet måte som forårsaker personskader.
Ikke rør sperrebryterne.
Sjekk sperrebryterne daglig, og bytt ut ødelagte brytere før du bruker maskinen.
Sikkerhetssperresystemet er konstruert slik at det forhindrer motoren i å starte, med mindre det følgende forekommer:
Parkeringsbremsen er tilkoblet.
Knivkontrollbryteren (kraftoverføring) er utkoblet.
Bevegelseskontrollspakene står i NøYTRAL, LåST stilling.
Sikkerhetssperresystemet stanser også motoren når du flytter bevegelseskontrollspakene fra NøYTRAL-LåST-stillingen med parkeringsbremsen på, eller hvis du reiser deg fra setet mens kraftuttaket er aktivert.
Timetelleren har indikatorer som varsler brukeren når sperrekomponenten er i riktig stilling. En indikator vil vises på skjermen når komponenten er i riktig stilling.

| Vedlikeholdsintervall | Vedlikeholdsprosedyre |
|---|---|
| For hver bruk eller daglig |
|
Sikkerhetssperresystemet må testes hver gang maskinen skal brukes. Hvis systemet ikke fungerer slik som beskrevet nedenfor, må du be et autorisert forhandlerverksted om å reparere det omgående.
Sitt på setet, aktiver parkeringsbremsen og flytt knivkontrollbryteren (kraftuttak) til På-stillingen. Prøv å starte motoren – motoren skal ikke starte.
Sitt på setet, aktiver parkeringsbremsen og flytt knivkontrollbryteren (kraftuttak) til AV-stillingen. Flytt en av bevegelseskontrollspakene ut av NøYTRAL-LåST-stillingen. Prøv å starte motoren – motoren skal ikke starte. Gjenta for den andre kontrollspaken.
Sitt på setet, aktiver parkeringsbremsen, flytt knivkontrollbryteren (kraftuttak) til AV-stillingen, og lås bevegelseskontrollspakene i NøYTRAL-LåST-stillingen. Start motoren. Koble fra parkeringsbremsen, aktiver knivkontrollbryteren (kraftuttak) og reis deg litt opp fra setet mens motoren er i gang. Motoren skal stoppe.
Sitt på setet, aktiver parkeringsbremsen, flytt knivkontrollbryteren (kraftuttak) til AV-stillingen, og lås bevegelseskontrollspakene i NøYTRAL-LåST-stillingen. Start motoren. Flytt kontrollspakene til den midtre, frie stillingen og beveg én av dem (forover eller revers) mens motoren går. Motoren skal stoppe. Gjenta for den andre kontrollspaken.
Sitt på setet, deaktiver parkeringsbremsen, flytt knivkontrollbryteren (kraftuttak) til AV-stillingen, og lås bevegelseskontrollspakene i NøYTRAL-LåST-stillingen. Prøv å starte motoren – motoren skal ikke starte.
Setet kan beveges både forover og bakover. Juster setet til en stilling som er behagelig for deg, og som gir deg best mulig kontroll over maskinen (Figur 11).

MyRide™-opphengssystemet kan justeres slik at kjøreturen er jevn og komfortabel. Du kan justere de to bakre støtdemperenhetene for å endre opphengsystemet på en rask og enkel måte. Plasser opphengsystemet der du er mest komfortabel.
Sporene for de bakre støtdemperenhetene har stoppeposisjoner for referanse. Du kan plassere de bakre støtdemperenhetene hvor som helst i sporet, ikke bare i stoppeposisjonene. Illustrasjonen under viser posisjonen for myk eller hard kjøring og ulike stoppeposisjoner (Figur 12).

Note: Påse at venstre og høyre bakre støtdemperenhet alltid er justert til samme posisjoner.
Juster de bakre støtdemperenhetene (Figur 13).


Bruk kun tilbehør og utstyr godkjent av Toro.
Hvis mer enn ett tilbehørsmonteringssett (f.eks. bøttesett eller universalmonteringssett) monteres på en av de fire plasseringene vist i Figur 14, må du også montere et frontvektsett. Ta kontakt med et autorisert forhandlerverksted for et frontvektsett.

Operatøren må være fullt oppmerksom når maskinen er i bruk. Ikke hold på med i aktiviteter som forårsaker distraksjoner, da dette kan føre til personskade eller materiell skade.
Under driften blir motordeler, særlig lyddemperen, svært varme. Det kan oppstå alvorlig forbrenning ved kontakt, og rusk, som løv, gress, børsterester osv., kan ta fyr.
La motordeler, særlig lyddemperen, kjøle seg ned før du rører den.
Fjern oppsamlet rusk fra lyddemperen og motorområdet.
Motoreksos inneholder karbonmonoksid, som er en dødelig gift uten lukt.
Ikke kjør motoren innendørs eller i et lite avlukket område der giftig kullos kan samle seg.
Eieren/brukeren kan forhindre og er ansvarlig for ulykker eller skader som han/hun, andre personer eller eiendom utsettes for.
Denne gressklipperen ble utformet kun for én operatør. Ikke ta med passasjerer, og hold alle andre på avstand fra maskinen under drift.
Ikke bruk maskinen når du er syk, trett eller påvirket av alkohol eller andre rusmidler.
Kjøretøyet må bare brukes i dagslys eller der det er god kunstig belysning.
Lynnedslag kan forårsake alvorlige personskader eller dødsfall. Hvis du ser/hører at lyn og tordenvær nærmer seg der du er, må du ikke bruke maskinen. Søk tilflukt!
Vær svært forsiktig når du bruker maskinen med tilbehør eller ekstrautstyr, som for eksempel gressoppsamlingssystemer. Disse kan endre maskinens stabilitet og føre til tap av kontroll. Følg anvisningene for motvekter om nødvendig.
Styr unna hull, hjulspor, ujevnheter, steiner og andre skjulte farer. Vær forsiktig når du nærmer deg hjørner, busker, trær eller annet som kan skjule gjenstander eller reduserer synsfeltet. Ujevnt terreng kan velte maskinen eller forårsake at føreren miste balansen eller fotfestet.
Påse at alle driv står i nøytral og at parkeringsbremsen er aktivert før man starter motoren. Bruk sikkerhetsbelter sammen med veltebøylen i hevet og låst stilling.
Start motoren forsiktig i henhold til instruksjonene og med føttene i god avstand fra kniven(e).
Gressklipperen må ikke brukes hvis verneplater, skydd eller deksler er defekte. Sikkerhetsvern, skydd, brytere og andre anordninger må alltid være på plass og i korrekt fungerende stand.
Hold deg unna åpningen på utløpssjakten til enhver tid. Klipp aldri med utløpsluken hevet, fjernet eller endret uten at det er en gressoppsamler eller løvkvernesett på plass og at det fungerer korrekt.
Hold hender og føtter borte fra bevegelige deler. Du må aldri foreta justeringer mens motoren går hvis du kan unngå det.
Hender, føtter, hår, klær, eller tilbehør kan bli viklet inn i roterende deler. Kontakt med roterende deler kan forårsake traumatisk amputasjon eller alvorlige sårskader.
Ikke bruk maskinen uten at vern, deksler og sikkerhetsanordninger er på plass og fungerer korrekt.
Hold hender, føtter, hår, smykker eller klær borte fra roterende deler.
Du må aldri heve klippeenhetene mens knivene går rundt.
Vær oppmerksom på banen til gressklipperens utløpsområde og rett utslipp bort fra andre. Unngå utslipp av materiale mot en vegg eller hindring, da materialet kan rikosjettere tilbake mot operatøren. Stopp kniven, sakk farten og utvis forsiktighet når du krysser andre overflater enn gress, og ved transport av gressklipperen til og fra området som skal klippes.
Vær oppmerksom, sett ned farten og vær forsiktig når du svinger. Se bakover og til siden før du skifter retning. Bruk aldri gressklipperen under rygging hvis det ikke er absolutt nødvendig.
Innstillingen av motorregulatoren må ikke forandres, og motoren må ikke ruses.
Parker maskinen på en jevn flate. Stopp motoren, vent til alle bevegelige deler stanser og fjern tennpluggledning(e).
før du sjekker, rengjør eller utfører arbeid på gressklipperen
hvis du har truffet en gjenstand eller det oppstår unormal vibrasjon (undersøk om gressklipperen ble skadet, og reparer den før du starter og bruker utstyret)
før du fjerner eventuelle tilstoppinger
når du går ifra gressklipperen La aldri maskinen stå uten tilsyn når den er i gang.
Vent til alle bevegelige deler har stanset:
før du fyller drivstoff
før du tar av gressoppsamleren
før du foretar høydejusteringer
Det kan oppstå tragiske ulykker hvis brukeren ikke er oppmerksom på barn som er i nærheten. Barn blir ofte nysgjerrige på maskinen og klippingen. Ikke anta at barn blir værende der du så dem sist.
Hold barn borte fra området som klippes, og under oppsyn av en annen ansvarlig voksen (ikke føreren).
Vær oppmerksom på omgivelsene, og slå av maskinen hvis barn kommer inn på området.
Se alltid bakover, ned og til hver side før og mens du rygger eller svinger for å kontrollere at det ikke er barn i veien.
Utstyret er ikke tillatt for barn.
Ikke frakt barn på maskinen, selv om knivene er stoppet. Barn kan falle ned og bli påført alvorlige skader eller være til hinder for trygg drift av maskinen. Barn som har fått lov til å sitte på tidligere, kan plutselig komme inn på området der du arbeider for å sitte på, og kan bli overkjørt eller rygget over av maskinen.
Skråninger er en ledende årsak til tap av kontroll og velting. Dette kan føre til alvorlige skader eller dødsfall. Føreren har ansvar for sikker bruk i skråninger. Bruk av maskinen i skråninger krever ekstra forsiktighet. Før maskinen brukes i en skråning, må operatøren:
Les og forstå instruksjonene for bruk i skråninger i denne brukerhåndboken og på maskinen.
Bruk en vinkelindikator til å fastslå den omtrentlige helningsvinkelen på området.
Kjøretøyet må ikke brukes i skråninger på mer enn 15 grader.
Vurder forholdene på stedet på dagen for å avgjøre om det er trygt å bruke maskinen i skråningen. Bruk alltid sunn fornuft og god dømmekraft når du utfører denne kontrollen. Endringer i terrenget, som for eksempel fuktighet, kan påvirke bruken av maskinen i skråninger.
Identifiser farer ved bunnen av skråningen. Maskinen må ikke brukes ved kanter, grøfter, voller, vann eller andre farer. Maskinen kan velte hvis et hjul går over kanten eller hvis kanten gir etter. Hold en sikker avstand (to ganger maskinens bredde) mellom maskinen og eventuelle farer. Bruk en skyvegressklipper eller en håndtrimmer for å klippe gresset i disse områdene.

Unngå å starte, stoppe eller snu maskinen i skråninger. Ikke foreta brå endringer i hastighet eller retning. Sving forsiktig og gradvis.
Ikke bruk en maskin i omstendigheter hvor trekkraften, styringen eller stabiliteten er i tvil. Vær oppmerksom på at maskinen kan den begynne å gli dersom den brukes på vått gress, på tvers av skråninger eller i nedoverbakker. Hvis drivhjulene mister taket, kan det føre til at maskinen sklir og at bremse- og styringsevnen reduseres. Maskinen kan gli selv om drivhjulene er stanset.
Fjern eller marker hindringer som grøfter, hull, hjulspor, ujevnheter, steiner eller andre skjulte gjenstander. Gjenstander kan ligge skjult i høyt gress. Maskinen kan velte i ujevnt terreng.
Vær svært forsiktig når du bruker maskinen med tilbehør eller ekstrautstyr, som for eksempel gressoppsamlingssystemer. Disse kan endre maskinens stabilitet og føre til tap av kontroll. Følg anvisningene for motvekter.
Hvis det lar seg gjøre, hold klippeenheten senket til bakken mens du bruker maskinen i skråninger. Hvis du hever klippeenheten mens du kjører i skråninger, kan det føre til at maskinen blir ustabil.
Et veltebeskyttelsessystem (veltebøyle) er montert på maskinen.
Advarsel – det finnes ingen veltebeskyttelse når veltebøylen er senket. Hvis hjulene kjører over en kant, grøft, sandbank eller et vann, kan det føre til velt, som igjen kan resultere i alvorlig skade, dødsfall eller drukning.
Ikke fjern veltebeskyttelsen.
Hold veltebøylen i hevet og låst stilling, og bruk sikkerhetsbelte.
Senk veltebøylen kun når det er helt nødvendig.
Ikke bruk sikkerhetsbelte når veltebøylen er nede.
Kjør sakte og forsiktig.
Hev veltebøylen så fort klaringen tillater dette.
Kontroller at du raskt kan løsne sikkerhetsbeltet i nødstilfeller.
Kontroller nøye at du har klaring hvis du skal kjøre under objekter (for eksempel greiner, døråpninger, elektriske ledninger osv.), slik at du ikke kommer i kontakt med dem.
I tilfelle et velt, ta enheten til et autorisert forhandlerverksted for å sjekke veltebeskyttelsen.
En ødelagt veltebeskyttelse må skiftes ut, ikke repareres.
Ethvert tilbehør, endring, eller tilleggsutstyr lagt til veltebeskyttelsen må godkjennes av Toro.
Bruk klippeenheten som et trinn for å ta plass i førersetet (Figur 16).

Parkeringsbremsen må alltid settes på når du stopper eller forlater maskinen.
Parker maskinen på en jevn flate.


Knivkontrollbryteren (kraftuttak) starter og stanser gressklipperens kniver og eventuelt strømdrevet tilleggutstyr.
Note: Hvis du aktiverer knivkontrollbryteren (kraftuttak) med gassen i halv eller mindre stilling, vil det føre til overdreven slitasje på drivremmene.


Du kan flytte gasskontrollen mellom HURTIG- og LANGSOM-stillingene (Figur 21).
Bruk alltid HURTIG-stillingen når du aktiverer kraftuttaket.

Note: En varm motor trenger kanskje ikke choke.
Important: Ikke hold tenningsnøkkelen vridd rundt i mer enn 5 sekunder om gangen. Hvis du starter startmotoren i mer enn fem sekunder, kan det føre til skade på startmotoren. Hvis motoren ikke starter, må du vente i ti sekunder før du bruker motorstarteren igjen.

Barn og andre personer kan skades hvis de flytter på eller prøver å kjøre maskinen uten oppsyn.
Ta alltid ut nøkkelen og sett på parkeringsbremsen når du forlater maskinen.

Important: Kontroller at drivstoffavstengingsventilen er stengt før du transporterer eller lagrer maskinen, da det kan oppstå drivstofflekkasje. Sett på parkeringsbremsen før transport. Pass på å ta ut nøkkelen ettersom drivstoffpumpen kan være i gang og føre til at batteriet utlades.

Hjulene ruller uavhengig av hverandre, drevet av hydraulikkmotorer på hver aksel. Du kan sette én side i revers mens du kjører hjulene på den andre siden forover, noe som gjør at maskinen begynner å rotere i stedet for å snu. Dette gjør maskinen langt bedre å manøvrere, men det kan kreve litt tid å bli vant til hvordan den beveger seg.
Gasskontrollen regulerer omdreiningstallet (o/min – omdreininger per minutt). Sett gasskontrollen i HURTIG-stillingen for best ytelse. Arbeid alltid med maksimal gass.
Maskinen kan rotere svært hurtig. Du kan miste kontroll over maskinen og forårsake personskade eller skade på maskinen.
Vær forsiktig når du svinger.
Reduser hastigheten før du foretar skarpe svinger.
Note: Motoren stenges av dersom bevegelseskontrollspakene beveges når parkeringsbremsen er på.
Du kan stoppe maskinen ved å sette bevegelseskontrollspakene i FRI-stillingen.
Koble fra parkeringsbremsen. Se Koble fra parkeringsbremsen.
Flytt spakene til den midtre, frie stillingen.
Skyv bevegelsekontrollspakene forsiktig forover for å gå fremover (Figur 26).

Flytt spakene til den midtre, frie stillingen.
Skyv bevegelseskontrollspakene forsiktig bakover for å gå bakover (Figur 27).

Gressklipperen har en gressavleder med hengsler som sprer det klipte gresset ut fra siden og ned mot bakken.
Hvis ikke gressavlederen, utslippsdekselet eller hele gressoppsamleren sitter på plass, vil du selv eller andre risikere å komme i kontakt med kniven eller gjenstander som blir slengt opp i luften. Kontakt med gressklipperkniver som roterer og gjenstander som slynges opp i luften, kan føre til at noen blir alvorlig skadet eller drept.
Fjern aldri gressavlederen fra klippeenheten fordi gressavlederen leder materiale ned mot bakken. Hvis gressavlederen blir skadet, må den skiftes ut omgående.
Hold hender og føtter borte fra undersiden av gressklipperenheten.
Prøv aldri å rengjøre utslippsområdet eller gressklipperknivene uten at du flytter knivkontrollbryteren (kraftuttaket) til AV-stillingen, vrir tenningsnøkkelen til AV-stillingen og tar ut nøkkelen.
Påse at gressavlederen er i den nedre stillingen.
Transportsperren har to stillinger og brukes med løftepedalen for klippeenheten. Det finnes en LåST og en ULåST stilling for transportstillingen for klippeenheten (Figur 28).

Juster klippehøyden i trinn på 6 mm, fra 38 til 127 mm, ved å sette klippehøydepinnen i forskjellige hull.
Sett transportlåsen i LåST stilling.
Tråkk på løftepedalen for klippeenheten for å heve denne til TRANSPORTSTILLINGEN (samme som klippehøydestilling 127 mm) som vist i Figur 29.
Fjern pinnen fra klippehøydebraketten (Figur 29).
Velg det hullet i klippehøydebraketten som svarer til ønsket klippehøyde, og sett inn pinnen (Figur 29).
Skyv på klippeenheten, dra opp transportlåsknotten og senk klippeenheten sakte ned.

Når du endrer på klippehøyden, juster høyden på antiskalperingsvalsene.
Note: Juster antiskalperingsvalsene slik at valsene ikke berører bakken på normale, flate klippeområder.
Parker maskinen på en jevn overflate, koble fra knivkontrollbryteren, og sett på parkeringsbremsen.
Før du forlater førerplassen må du slå av motoren, ta ut nøkkelen og vente til alle bevegelige deler står stille.
Juster antiskalperingsvalsene som vist i Figur 30.


For best plenklipping og maksimal luftsirkulasjon, kjører du motoren i HURTIGSTILLINGEN. Luft er nødvendig for at gresset skal klippes grundig. Klippehøyden må derfor ikke være så lav at klippeenheten er omgitt av uklippet gress. Forsøk alltid å holde den ene siden av klippeenheten unna uklippet gress. Luften kan da trekkes inn i klippeenheten.
Klipp gresset litt lengre enn vanlig for å sikre at klippeenheten ikke skalperer ujevne områder. Klippehøyden som ble brukt tidligere er som regel den beste å bruke. Hvis gresset som klippes er lengre enn 15 cm, kan det være lurt å klippe plenen to ganger for å få et bedre resultat.
Det er best å bare klippe en tredjedel av gressets lengde. Kortere klipping anbefales ikke, bortsett fra hvis gresset er glissent eller det er sent på høsten og gresset vokser saktere.
Dersom du veksler på klipperetningen, holder gresset seg oppreist. Dette bidrar også til å spre det klipte gresset, noe som gir bedre nedbryting og gjødsling.
Gress vokser med varierende hastighet til forskjellige tider på året. For å opprettholde samme klippehøyde, må du klippe gresset oftere tidlig på våren. Midt på sommeren begynner det å vokse saktere, derfor trenger du ikke å klippe det så ofte da. Hvis du er ute av stand til å klippe plenen i en lengre periode, klipper du først med en høy klippehøyde. Vent i 2 dager, og klipp deretter på nytt med en lavere høyde.
Hvis du ønsker forbedret klippekvalitet, kan du redusere bakkehastigheten.
Når du klipper ujevnt, hev klippehøyden for å unngå skalpering av gresset.
Hvis maskinens bevegelse forover må stoppes under klippingen, kan det falle en gressklump ned på plenen. Gå til et tidligere klippet område med knivene koblet inn eller koble ut klippeenheten mens du beveger deg framover for å unngå dette.
Fjern gressrester og skitt fra klippeenhetens underside etter hver bruk. Hvis det er et tykt belegg av gress og smuss under klippeenheten, vil klipperesultatet bli dårlig.
Sørg for å holde kniven skarp hele klippesesongen, fordi en skarp kniv klipper gresset uten å slite av eller frynse gresstråene. Gress som er blitt slitt av eller frynset, vil bli brunt i kantene, noe som vil sinke veksten og øke sykdomsfaren. Sjekk at knivene på klipperen er skarpe og ikke slitte eller ødelagte etter bruk. Fil ned eventuelle hakk og kvess knivene etter behov. Hvis en kniv er ødelagt eller slitt må du straks bytte den ut med en original Toro-kniv.
Parker maskinen på flat mark, koble fra drivverkene, sett på parkeringsbremsen, stopp motoren, ta ut nøkkelen eller koble fra tennpluggledningen. Vent til alle bevegelige deler har stoppet og la maskinen kjøle seg ned før du justerer, rengjør, setter den til oppbevaring eller reparerer den. La aldri personell uten opplæring vedlikeholde maskinen.
Rengjør maskinen som angitt i kapittelet Vedlikehold. Hold motoren og motorområdet fritt for oppsamling av gress, løv, for mye fett eller olje og andre gjenstander som kan samle seg opp på disse områdene. Disse stoffene kan bli brennbare og kan føre til brann.
Sjekk ofte for slitte eller forringede komponenter som kan utgjøre en risiko. Stram løse monteringsdeler godt til.
Lukk bensinkranen ved transport, vedlikehold og oppbevaring (Figur 32).
Pass på at drivstoffavstengingsventilen er åpen når du starter motoren.


Hendene kan komme inn i roterende drivkomponenter nedenfor av klippeenheten, og dette kan føre til alvorlig personskade.
Slå av motoren, ta ut nøkkelen og sørg for at alle bevegelige deler har stanset før du tar på drivhjulets løseventiler.
Motoren og de hydrauliske drivverkene kan bli veldig varme. Du kan få alvorlige brannskader av å ta på en varm motor eller de hydrauliske drivverkene.
La motoren og de hydrauliske drivverkene få anledning til å kjøle seg helt ned før du tar på drivhjulets løseventiler.
Drivhjulets løseventiler befinner seg til venstre og høyre under motorenheten.
Parker maskinen på en jevn overflate, koble fra knivkontrollbryteren, og sett på parkeringsbremsen.
Før du forlater førerplassen må du slå av motoren, ta ut nøkkelen og vente til alle bevegelige deler står stille.
Finn omløpsspakene bak på maskinen, på venstre og høyre side av rammen.
For å skyve maskinen fremover flytter du begge omløpsknottene bakover og låser dem på plass (Figur 33).
Koble ut parkeringsbremsen før du dytter maskinen.

Du kjører maskinen ved å flytte omløpsknottene til FOROVER-stilling og låse dem på plass (Figur 33).
Bruk en kraftig tilhenger eller lastebil for å transportere maskinen. Bruk en rampe med full bredde. Sikre at tilhengeren eller lastebilen har alle nødvendige bremser, lys og markeringer som kreves ved lov. Les alle sikkerhetsinstruksjonene nøye. Kunnskap om dette kan forhindre personskader. Se lokale bestemmelser for krav til tilhenger og festing.
Det å kjøre i trafikken uten blinklys, lys, reflekser eller merking for saktegående kjøretøy er farlig og kan føre til ulykker, som igjen forårsaker personskader.
Ikke bruk maskinen på offentlige veier.
Lasting av maskinen på en tilhenger eller lastebil øker muligheten for at den velter og kan føre til alvorlig skader eller dødsulykker (Figur 34).
Bruk en rampe med full bredde. Ikke bruk individuelle ramper for hver side av maskinen.
Ikke overgå en 15 graders vinkel mellom rampen og bakken eller mellom rampen og tilhengeren eller lastbilen.
Påse at rampen er minst fire ganger så lang som høyden til tilhengeren eller lasteplanet i forhold til bakken. Dette sikrer at rampevinkelen ikke overskrider 15 grader på flatt underlag.

Lasting av maskinen på en tilhenger eller lastebil øker muligheten for at den velter og kan føre til alvorlig skader eller dødsulykker.
Vær svært forsiktig når du kjører maskinen på en rampe.
Rygg maskinen opp rampen, og kjør den fremover ned rampen.
Unngå plutselig akselerasjon eller bremsing mens du kjører maskinen på en rampe da det kan føre til tap av kontroll eller en situasjon der maskinen velter.
Hvis du bruker en tilhenger, koble den til tauekjøretøyet og sett på sikkerhetskjettingene.
Koble til tilhengerbremsene og lysene, hvis aktuelt.
Senk rampen og sørg for at vinkelen mellom rampen og bakken ikke overskrider 15 grader (Figur 34).
Rygg maskinen opp på rampen (Figur 35).

Stopp motoren, ta ut nøkkelen og sett på parkeringsbremsen.
Fest maskinen nær de fremre styrehjulene og den bakre støtfangeren med stropper, kjettinger, kabler eller tau (Figur 36). Se lokale bestemmelser for krav om festing.

Noen kan starte motoren ved utføring av vedlikehold eller justeringer. En motor som plutselig starter ved et uhell kan gi deg eller andre i nærheten alvorlige skader.
Fjern nøkkelen fra tenningen, sett på parkeringsbremsen og dra kabelen(e) av tennpluggen(e) før du utfører vedlikehold. Skyv også ledningen(e) til side slik at de(n) ikke tilfeldigvis kan komme i kontakt med tennpluggen(e).
Motoren kan bli veldig varm. Du kan få alvorlige brannskader av å ta på en varm motor.
La motoren kjøle seg helt ned før service eller reparasjoner rundt motorområdet.
Parker maskinen på flat mark, koble fra drivverkene, sett på parkeringsbremsen, stopp motoren, ta ut nøkkelen eller koble fra tennpluggledningen. Vent til alle bevegelige deler har stoppet og la maskinen kjøle seg ned før du justerer, rengjør eller reparerer den. La aldri personell uten opplæring vedlikeholde maskinen.
Koble fra batteriet, eller fjern ledningen fra tennpluggen, før du foretar reparasjoner. Koble kabelen fra den negative polen først, og deretter den andre kabelen fra den positive polen. Når du kobler kablene til igjen, kobler du først til den positive polen og deretter den negative.
Hold maskinen, vern, deksler og alle sikkerhetsanordninger på plass og i fungerende stand. Kontroller komponentene regelmessig for slitasje og skader, og skift dem ut med produsentens anbefalte deler ved behov.
Fjerning eller modifisering av originalutstyret, deler og/eller tilbehør, kan endre garantien, kontrollerbarheten og sikkerheten til maskinen. Uautoriserte endringer av originalutstyret eller feilaktig bruk av originale Toro-deler, kan føre til alvorlig personskade eller dødsfall. Uautoriserte endringer på maskinen, motoren, drivstoff- eller ventilasjonssystem, kan være i strid med gjeldende sikkerhetsstandarder, for eksempel: ANSI, OSHA OG NFPA og/eller offentlige forskrifter som EPA og CARB.
Hydraulisk væske som kommer ut under trykk, kan trenge gjennom huden og forårsake personskader. Væske som sprøytes inn under huden, må fjernes kirurgisk innen noen få timer av en doktor med kjennskap til denne typen skader, ellers kan dette resultere i koldbrann.
Kontroller at alle hydraulikkslanger og ledninger er i god stand, og at alle hydrauliske koblinger og beslag er tette, før det hydrauliske systemet settes under trykk.
Hold kropp og hender borte fra hull eller dyser som sprøyter ut hydraulikkvæske under høyt trykk.
Bruk papp eller papir til å finne lekkasjer, ikke hendene.
Slipp forsiktig ut alt trykket i hydraulikksystemet ved å plassere bevegelseskontrollspakene i nøytral og slå av motoren før du utfører arbeid på hydraulikksystemet.
Drivstoffsystemkomponentene er under høyt trykk. Bruk av feil komponenter kan føre til systemsvikt, bensinlekkasje og mulighet for eksplosjon.
Bruk kun godkjente drivstoffslanger, og drivstoffiltre for høytrykkssystemer.
Vær forsiktig når du kontrollerer knivene. Legg noe rundt kniven(e), eller bruk hansker, og vær forsiktig når du vedlikeholder dem. Skadde kniver skal kun skiftes ut. Du må aldri rette eller sveise dem.
Bruk jekkstøtter for å støtte maskinen og/eller komponenter når det er nødvendig.
Heving av maskinen ved bare å bruke mekaniske eller hydrauliske jekker ved service eller vedlikehold, kan være farlig. Mekaniske og hydrauliske jekker gir kanskje ikke nok støtte eller kan svikte, noe som kan føre til at maskinen faller og forårsaker personskader.
Stol ikke bare på mekaniske og hydrauliske jekker for støtte. Bruk tilstrekkelige jekkstøtter eller liknende støtter.
Vær forsiktig når du slipper ut trykket i komponenter med lagret energi.
Hold hender og føtter borte fra bevegelige deler. Du må aldri foreta justeringer mens motoren går hvis du kan unngå det. Hvis vedlikeholds- eller justeringsprosedyren krever at motoren skal kjøre og komponenter være i bevegelse, vær svært forsiktig.
Kontakt med bevegelige deler eller varme overflater kan føre til personskade.
Hold fingre, hender og bekledning unna roterende komponenter og varme overflater.
Sjekk alle boltene ofte for å sikre at de er korrekt tilstrammet.
| Vedlikeholdsintervall | Vedlikeholdsprosedyre |
|---|---|
| Etter de 5 første timene |
|
| Etter de 75 første timene |
|
| For hver bruk eller daglig |
|
| Hver 25. driftstime |
|
| Hver 50. driftstime |
|
| Hver 100. driftstime |
|
| Hver 200. driftstime |
|
| Hver 250. driftstime |
|
| Hver 500. driftstime |
|
| én gang månedlig |
|
| Årlig eller før lagring |
|
Dersom du lar tenningsnøkkelen stå i bryteren, kan noen starte motoren uten at det er tilsiktet, noe som kan påføre deg eller personer i nærheten alvorlige skader.
Slå av motoren og ta ut nøkkelen av bryteren før du utfører vedlikehold.
Løsne den øverste bolten på forhenget for å frigjøre klippeenhetsforhenget og få tilgang til toppen på klippeenheten (Figur 37). Stram til bolten etter vedlikehold for montere forhenget.

Løsne de to fremre boltene og fjern skyddet i platemetall for å få tilgang til klipperremmene og spindlene (Figur 38). Etter vedlikehold, sett på skyddet i platemetall og stram til boltene.

| Vedlikeholdsintervall | Vedlikeholdsprosedyre |
|---|---|
| Hver 25. driftstime |
|
| Hver 50. driftstime |
|
Smør maskinen oftere under skitne og støvete forhold.
Smørefettype:Nr. 2 litium- eller molybdenumbasert smørefett
Parker maskinen på en jevn overflate, koble fra knivkontrollbryteren, og sett på parkeringsbremsen. Se Sette på parkeringsbremsen.
Før du forlater førerplassen, må du slå av motoren, ta ut nøkkelen og vente til alle bevegelige deler står stille.
Tørk av smøreniplene med en fille.
Note: Skrap eventuell maling av forsiden av festeanordningene.
Smør hengselen på pumpens lederullrem med én eller to trykk med fett (Figur 39).
Smør de fremre styreakslene (Figur 39).

Tørk opp overflødig fett.
Slå av motoren før du sjekker oljen eller tilsetter olje til veivhuset.
Hold hender, føtter, ansiktet, klær og andre kroppsdeler borte fra lyddemperen og andre varme overflater.
| Vedlikeholdsintervall | Vedlikeholdsprosedyre |
|---|---|
| For hver bruk eller daglig |
|
| Hver 25. driftstime |
|
| Hver 100. driftstime |
|
| Hver 200. driftstime |
|
Note: Overhal luftrenseren oftere når driftsforholdene er svært støvete eller sandete.
Parker maskinen på en jevn overflate, koble fra knivkontrollbryteren (kraftuttak), og sett på parkeringsbremsen.
Før du forlater førerplassen må du slå av motoren, ta ut nøkkelen og vente til alle bevegelige deler står stille.
Rengjør rundt luftrenserdekselet for å unngå at det kommer smuss i motoren som kan forårsake skade.
Løft dekselet og vri luftrenseren ut av motoren (Figur 40).


Skill skum- og papirelementene (Figur 41).

Vask skumelementet i flytende såpe og varmt vann. Når elementet er rent, må det skylles grundig.
Tørk elementet ved å klemme det i en ren klut.
Important: Skumelementet må skiftes ut hvis det er skader eller slitasje på det.
Dunk papirelementet forsiktig for å fjerne smuss.
Note: Ikke vask papirelementet eller bruk trykkluft, dette vil skade elementet.
Note: Bytt ut et skittent, bøyd eller ødelagt element. Håndter det nye elementet forsiktig. Ikke bruk hvis forseglingsoverflate er bøyd eller ødelagt.
Rengjør luftrenserbasen etter behov og sjekk tilstanden.
Monter skumelementet over papirelement.
Note: Påse at du ikke skader elementene.
Innrett hullene i filteret med manifoldportene.
Roter filteret ned i kammeret og plasser det mot manifolden (Figur 42).

Lukk dekselet.
| Vedlikeholdsintervall | Vedlikeholdsprosedyre |
|---|---|
| Etter de 5 første timene |
|
| For hver bruk eller daglig |
|
| Hver 100. driftstime |
|
Oljetype: Renseolje (API-klassifikasjon SF, SG, SH, SJ eller SL)
Veivhuskapasitet: 2,4 l med oljefilter
Viskositet: Se tabellen nedenfor.

Note: Sjekk oljen når motoren er kald.
Important: Hvis du fyller på for mye eller for lite olje i veivhuset og kjører motoren, kan dette føre til skade på motoren.
Parker maskinen på en jevn overflate, koble fra knivkontrollbryteren (kraftuttak), og sett på parkeringsbremsen.
Før du forlater førerplassen må du slå av motoren, ta ut nøkkelen og vente til alle bevegelige deler står stille.
Note: Påse at motoren er slått av, står på flat mark og er avkjølt, slik at oljen har hatt tid til å renne ned i bunnpannen.
For å holde smuss, gress osv. ute av motoren, rengjør området rundt oljelokket og peilestaven før den fjernes (Figur 44).


Parker gressklipperen på en jevn overflate for å sikre at oljen tømmes helt.
Koble fra knivkontrollbryteren (kraftuttaket), og aktiver parkeringsbremsen.
Før du forlater førerplassen må du stanse motoren, ta ut nøkkelen og vente til alle bevegelige deler står stille.
Tapp oljen fra motoren.


Skift motoroljefilteret (Figur 46).
Note: Pass på at oljefilterpakningen berører motoren, og drei deretter filteret en ekstra ¾ omdreining.

Slå langsomt cirka 80 % av den spesifiserte oljen ned i påfyllingsrøret, og tilfør sakte resten av oljen til den når Full-merket (Figur 47).

Den gamle oljen må kasseres eller gjenvinnes i henhold til lokale forskrifter.
| Vedlikeholdsintervall | Vedlikeholdsprosedyre |
|---|---|
| Hver 100. driftstime |
|
| Hver 200. driftstime |
|
Påse at elektrodeavstanden (avstanden mellom elektroden på midten og elektroden på siden) er korrekt før pluggen settes inn. Tennpluggen monteres/demonteres ved hjelp av en tennpluggnøkkel, og elektrodeavstanden justeres ved hjelp av et spesialverktøy eller følerblad. Monter en ny tennplugg dersom det er nødvendig.
Type: Champion® RN9YC eller NGK® BPR6ES
Luftgap: 0,76 mm
Parker maskinen på en jevn overflate, koble fra knivkontrollbryteren (kraftuttak), og sett på parkeringsbremsen.
Før du forlater førerplassen må du slå av motoren, ta ut nøkkelen og vente til alle bevegelige deler står stille.
Rengjør området rundt bunnen av tennpluggen for å holde skitt og rusk ute av motoren.
Finn og fjern tennpluggen(e) som vist i Figur 48.


Important: Ikke rens tennpluggen(e). Kontroller alltid tennpluggen når den har et svart belegg, slitte elektroder, et oljebelegg eller sprekker.
Hvis du ser en lysebrun eller grå farge på isolatoren, fungerer motoren som den skal. Et svart belegg på isolatoren betyr som regel at luftfilteret er skittent.
Still avstanden til 0,76 mm.


| Vedlikeholdsintervall | Vedlikeholdsprosedyre |
|---|---|
| For hver bruk eller daglig |
|
Parker maskinen på en jevn overflate, koble fra knivkontrollbryteren (kraftuttak), og sett på parkeringsbremsen.
Før du forlater førerplassen må du slå av motoren, ta ut nøkkelen og vente til alle bevegelige deler står stille.
Fjern luftfilteret fra motoren.
Fjern motordekselet.
Monter luftfilteret til filterbasen for å hindre at rusk kommer inn i luftinntaket.
Fjern rusk og gress fra delene.
Fjern luftfilteret og monter motordekselet.
Monter luftfilteret.
| Vedlikeholdsintervall | Vedlikeholdsprosedyre |
|---|---|
| Hver 50. driftstime |
|
Varme eksosanleggkomponenter kan antenne drivstoffdamp, selv etter at motoren er slått av. Varme partikler som kommer ut fra eksosanlegget mens motoren går, kan antenne brennbare materialer og forårsake personskader eller skader på eiendom.
Ikke fyll bensin eller kjør motoren uten at det er montert en gnistfanger.
Parker maskinen på en jevn overflate, koble fra kraftuttaket, og sett på parkeringsbremsen.
Før du forlater førerplassen må du slå av motoren, ta ut nøkkelen og vente til alle bevegelige deler står stille.
Vent til lyddemperen har blitt nedkjølt.
Hvis du ser sprekker i skjermen eller sveiseskjøtene, bytt ut gnistfangeren.
Hvis skjermen er tilstoppet, må du fjerne gnistfangeren, riste løs partikler fra gnistfangeren og rengjøre skjermen med en stålbørste (bløt opp skjermen med løsningsmiddel ved behov).
Sett gnistfangeren på eksosåpningen igjen.
| Vedlikeholdsintervall | Vedlikeholdsprosedyre |
|---|---|
| Hver 500. driftstime |
|
Parker maskinen på en jevn overflate, koble fra knivkontrollbryteren (kraftuttak), og sett på parkeringsbremsen.
Før du forlater førerplassen må du slå av motoren, ta ut nøkkelen og vente til alle bevegelige deler står stille.
Fjern filteret fra ventilslangen.
Sett inn et nytt filter i enden på ventilslangen.
Under visse forhold er drivstoff er meget brannfarlig og svært eksplosivt. Brann eller eksplosjon forårsaket av drivstoff kan påføre deg og andre brannskader samt ødelegge eiendom.
Se Fylle drivstoff for en fullstendig liste over drivstofftilknyttet forholdsregler.
| Vedlikeholdsintervall | Vedlikeholdsprosedyre |
|---|---|
| Hver 500. driftstime |
|
Important: Monter drivstoffslangene på nytt og sikre med samme type plastikksnorer som de som opprinnelig fulgte med fra fabrikken, for å holde drivstoffslangene unna komponenter som kan forårsake skade.
Bensinfilteret er plassert i nærheten av motoren til venstre foran på motoren.
Parker maskinen på en jevn overflate, koble fra knivkontrollbryteren (kraftuttak), og sett på parkeringsbremsen.
Før du forlater førerplassen må du slå av motoren, ta ut nøkkelen og vente til alle bevegelige deler står stille.
La motoren kjøle seg ned.
Lukk drivstoffavstengingsventilen under setet.
Bytt ut drivstoffilteret (Figur 51).
Note: Påse at merkene på filteret følger retningen av drivstoffstrømmen.

Åpne drivstoffavstengingsventilen.
Forsøk aldri å tappe drivstofftanken. Påse at en autorisert forhandler tapper drivstofftanken og overhaler eventuelle komponenter for drivstoffsystemet.
Koble fra batteriet før du reparerer maskinen. Koble kabelen fra den negative polen først, og deretter den andre kabelen fra den positive polen. Koble til den positive polen først og den negative polen sist.
Lad opp batteriet på et åpent sted med god ventilasjon og borte fra gnister eller åpen ild. Koble laderen fra strømuttaket før du kobler den til eller fra batteriet. Ha på deg beskyttelsesklær og bruk verktøy som er isolert.
| Vedlikeholdsintervall | Vedlikeholdsprosedyre |
|---|---|
| én gang månedlig |
|
Batteripolene eller metallverktøy kan kortslutte mot metallkomponenter og forårsake gnister. Gnistene kan føre til at batterigassene eksploderer, noe som kan forårsake personskade.
Når du fjerner eller monterer batteriet, må du passe på at batteripolene ikke berører metalldeler på maskinen.
La ikke metallverktøy kortslutte mellom batteripolene og metalldeler på maskinen.
Feilaktig frakobling av batterikabler kan skade maskinen og kablene samt forårsake gnister. Gnistene kan føre til at batterigassene eksploderer, noe som kan forårsake personskade.
Koble alltid fra den negative (svarte) batterikabelen før du kobler fra den positive (røde) kabelen.
Koble alltid til den positive (røde) batterikabelen før du setter på den negative (svarte) kabelen.
Parker maskinen på en jevn overflate, koble fra knivkontrollbryteren (kraftuttak), og sett på parkeringsbremsen.
Før du forlater førerplassen må du slå av motoren, ta ut nøkkelen og vente til alle bevegelige deler står stille.
Fjern batteriet, som vist i Figur 52.


Når batteriet lades, utvikles det gasser som kan eksplodere.
Røyk aldri i nærheten av batteriet og hold gnister og åpen ild borte fra batteriet.
Important: Batteriet skal alltid være fulladet (1265 egenvekt). Dette er spesielt viktig for å forhindre at batteriet blir ødelagt når temperaturen er under 0 °C.
Fjern batteriet fra chassiset, se Fjerne batteriet.
Lad opp batteriet i 10 til 15 minutter ved 25 til 30 A, eller i 30 minutter ved 10 A.
Note: Batteriet må ikke overopplades.
Når batteriet er helt oppladet, kobler du laderen fra strømuttaket, og deretter laderledningene fra batteripolene (Figur 53).
Monter batteriet i maskinen og koble til batterikablene, se Installere batteriet.
Note: Kjør ikke maskinen med batteriet frakoblet, da dette kan føre til elektrisk skade.

Plasser batteriet med polene vendt bort fra den hydrauliske tanken (Figur 52).
Monter den positive (røde) kabelen til den positive (+) batteriklemmen.
Monter den negative (svarte) batterikabelen til den negative (–) batteriklemmen.
Note: For MyRide-maskiner må du påse at jordkabelen ikke gnis mot slepearmen eller nedre støtdemperfeste (Figur 55).

Sikre kablene med to bolter, to skiver og to låsemuttere (Figur 52).
Skyv den røde polhetten over den positive (+) batteriklemmen.
Fest batteriet med gummistroppen (Figur 52).
Det elektriske systemet er beskyttet av sikringer. Dette er vedlikeholdsfritt. Hvis en sikring går, kontrollerer du om det er kortslutning i en av komponentene eller ledningene.
Sikringene befinner seg i den høyre konsollen ved siden av setet (Figur 55).
For å bytte sikringer, trekk sikringen ut for å fjerne den.
Sett inn en ny sikring (Figur 55).

| Vedlikeholdsintervall | Vedlikeholdsprosedyre |
|---|---|
| For hver bruk eller daglig |
|
Inspiser sikkerhetsbeltet og se etter slitasje, hakk og at selvopprulleren og spennen fungerer som de skal. Skift ut sikkerhetsbeltet hvis det er skadet.
| Vedlikeholdsintervall | Vedlikeholdsprosedyre |
|---|---|
| For hver bruk eller daglig |
|
For å unngå skader eller dødsfall ved velting: Hold veltebøylen i fullt hevet og låst stilling, og bruk sikkerhetsbelte.
Kontroller at setet er godt festet på maskinen.
Kontroller at både det monterte utstyret og knottene fungerer som de skal.
Kontroller at knottene låser ordentlig når veltebøylen er i hevet stilling.
Note: Den øvre bøylen på veltebøylen må kanskje skyves litt fremover eller trekkes bakover for å få begge knottene til å låse helt (Figur 56 og Figur 57).


Koble fra knivkontrollbryteren (kraftuttak).
Kjør ut på et åpent, flatt område og sett bevegelseskontrollspakene i NøYTRAL låsestilling.
Flytt gassen slik at den står midt mellom stillingene HURTIG og LANGSOM.
Flytt begge bevegelseskontrollspakene fremover til de begge stopper i T-sporet.
Kontroller hvilken vei maskinen trekker.
Hvis maskinen sporer til høyre, setter du inn en 3/16 tommer sekskantet skrunøkkel gjennom tilgangshullet i høyre fremre dekselpanel og roterer sporeskruen med eller mot klokken for å justere spaken (Figur 58).
Hvis maskinen sporer til venstre, setter du inn en 3/16 tommer sekskantet skrunøkkel gjennom tilgangshullet i høyre fremre dekselpanel og roterer sporeskruen med eller mot klokken for å justere spaken (Figur 58).
Kjør maskinen, og kontroller sporingen i full hastighet.
Gjenta justeringene inntil ønsket sporing oppnås.

| Vedlikeholdsintervall | Vedlikeholdsprosedyre |
|---|---|
| Hver 50. driftstime |
|
Oppretthold korrekt lufttrykk i for- og bakhjulene ved 0,9 bar. Forskjellig trykk i hjulene kan føre til ujevn klipping. Sjekk dekkene når de er kalde, for å få en mest mulig nøyaktig avlesning av trykket.

Kontroller og stram hjulhakemutterne til 122–136 N·m.
| Vedlikeholdsintervall | Vedlikeholdsprosedyre |
|---|---|
| For hver bruk eller daglig |
|
Før all bruk må du fjerne eventuell oppsamling av gress, smuss eller andre fremmedlegemer fra motorskjermen, motoreksosen og området rundt motoren. Dette vil bidra til å sørge for tilstrekkelig kjøling av motoren og riktig motorhastighet, og vil redusere muligheten for overoppheting og mekanisk skade på motoren.
| Vedlikeholdsintervall | Vedlikeholdsprosedyre |
|---|---|
| Hver 500. driftstime |
|
Note: Utfør denne prosedyren når du fjerner eller skifter ut en bremsekomponent.
Parker maskinen på en jevn overflate, koble fra knivkontrollbryteren (kraftuttak), og sett på parkeringsbremsen.
Før du forlater førerplassen må du slå av motoren, ta ut nøkkelen og vente til alle bevegelige deler står stille.
Sett opp maskinen for å skyves for hånd. Se Bruke drivhjulets løseventiler.
Hev maskinens bakende og støtt opp med jekkstøtter.
Støtting av en hevet maskinen ved bare å bruke mekaniske eller hydrauliske jekker ved service eller vedlikehold, kan være farlig da jekkene kanskje ikke gir nok støtte eller kan svikte, og dermed føre til at maskinen faller og resultere i alvorlig personskade.
Stol ikke bare på mekaniske og hydrauliske jekker for støtte. Bruk tilstrekkelige jekkstøtter eller liknende støtter.
Koble til og koble fra parkeringsbremsen, og kontroller hvert drivhjul for å sikre at hver bremse aktiveres og deaktiveres.
Hvis justering er nødvendig, kobler du fra parkeringsbremsen. Fjern hårnålssplinten fra forbindelsesakselen for bremsen (Figur 60).

Kontroller begge fjærlengdene som vist i Figur 61. Hvis justering er nødvendig, vrir du den øverste mutteren med klokken for å gjøre fjæren kortere og mot klokken for å gjøre den lengre.

Skyv parkeringsbremsespaken helt fremover og ned.
Roter forbindelsesakselen for bremsen til enden er på linje med hullet i spaken.
Forkort forbindelsesleddet ved å vri den med klokken.
Forleng forbindelsesleddet ved å vri det mot klokken.
Sett inn forbindelsesakselen for bremsen i parkeringsbremsehullet, og sikre den med splinten. Gjenta trinn 5, og juster om nødvendig.
Når justeringen er ferdig, fjerner du jekkstøtter eller lignende type støtte og senker maskinen.
Plasser maskinen i DRIFTS-stilling. Se Bruke drivhjulets løseventiler.
| Vedlikeholdsintervall | Vedlikeholdsprosedyre |
|---|---|
| Hver 50. driftstime |
|
Skift ut remmen hvis den er slitt. Tegn på en slitt rem omfatter kvining mens remmen roterer, knivene sklir ved klipping av gress og slitte kanter, brente merker og sprekker på/i remmen.
Parker maskinen på en jevn overflate, koble fra knivkontrollbryteren (kraftuttak), og sett på parkeringsbremsen.
Før du forlater førerplassen må du slå av motoren, ta ut nøkkelen og vente til alle bevegelige deler står stille.
Senk gressklipperen til en klippehøyde på 76 mm.
Løsne bolten på hvert av remdekslene.
Løsne den nedre bolten som fester klippeenhetsforhenget til klippeenheten. Se Frigjøre klippeenhetsforhenget.
Fjern skyddet i platemetall. Se Fjerne skydd i platemetall.
Fjern beltedekslene og boltene som er festet til dem (Figur 62).

Fjern fjærspenningen fra den fjærbelastede lederullen. Se Figur 64.
Note: Bruk fjærfjerningsverktøy (Toro-delenr. 92–5771) for å fjerne fjæren fra klippeenhetstappen (Figur 64).
Fjern remmen fra remskivene på klippeenheten og clutchremskiven.
Monter den nye remmen rundt knivremskivene og clutchremskiven under motoren (Figur 63).


Monter blindfjæren (Figur 63).
Note: Anbring fjærendene i forankringssporene.
Monter remdekslene og boltene som er festet til dem (Figur 65).

Monter skyddet i platemetall. Se Fjerne skydd i platemetall.
Stram den nedre bolten som fester klippeenhetsforhenget til klippeenheten. Se Frigjøre klippeenhetsforhenget.
Parker maskinen på en jevn overflate, koble fra knivkontrollbryteren (kraftuttak), og sett på parkeringsbremsen.
Før du forlater førerplassen må du slå av motoren, ta ut nøkkelen og vente til alle bevegelige deler står stille.
Fjern klipperremmen. Se Skifte klipperremmen.
Løft opp maskinen og støtt den med jekkstøtter (Figur 67).
Fjern clutchsperren (Figur 66).

Fjern blindfjæren fra stolpen (Figur 67).
Fjern den gjeldende remmen fra hydraulikkpumperullene og motorremskiven.
Monter den nye remmen rundt motorremskiven og de to hydraulikkpumperullene (Figur 67).

Monter clutchsperren (Figur 66).
Monter klipperremmen. Se Vedlikehold av remmer.
Dersom endene på spakene slår mot hverandre, se Justere bevegelseskontrolleddene.
Du kan justere bevegelseskontrollspakene høyere eller lavere for maksimal komfort.
Parker maskinen på en jevn overflate, koble fra knivkontrollbryteren (kraftuttak), og sett på parkeringsbremsen.
Før du forlater førerplassen må du slå av motoren, ta ut nøkkelen og vente til alle bevegelige deler står stille.
Fjern delene som fester kontrollspaken til kontrollarmstaget.

Flytt kontrollspaken til neste hullpar. Fest spaken med delene.
Gjenta justeringen på den motsatte kontrollspaken.
Parker maskinen på en jevn overflate, koble fra knivkontrollbryteren (kraftuttak), og sett på parkeringsbremsen.
Før du forlater førerplassen må du slå av motoren, ta ut nøkkelen og vente til alle bevegelige deler står stille.
Løsne den øvre bolten som fester kontrollspaken til kontrollarmstaget.
Løsne den nedre bolten akkurat nok til å dreie kontrollspaken frem- eller bakover. Stram til begge boltene for å sikre kontrollen i den nye posisjonen.
Gjenta justeringen på den motsatte kontrollspaken.

Pumpekontrolleddene befinner seg på begge sidene av maskinen, under setet. Du kan finjustere ved å dreie på endemutteren med en ½-tommes pipenøkkel, slik at maskinen ikke beveger seg i når den er i nøytral. Det skal kun gjøres justeringer for nøytralstillingen.
Motoren må gå og drivhjulene rotere for at du skal kunne foreta justeringer. Kontakt med bevegelige deler eller varme overflater kan føre til personskade.
Hold fingre, hender og bekledning unna roterende komponenter og varme overflater.
Parker maskinen på en jevn overflate, koble fra knivkontrollbryteren (kraftuttak), og sett på parkeringsbremsen.
Før du forlater førerplassen må du slå av motoren, ta ut nøkkelen og vente til alle bevegelige deler står stille.
Tråkk løftepedalen for klippeenheten, ta ut klippehøydepinnen og senk klippeenheten ned på bakken
Hev bakre del av maskinen, og støtt med jekkstøtter (eller tilsvarende støtte) akkurat høyt nok til at drivhjulene kan rotere fritt.
Ta vekk den elektriske koblingen fra setesikkerhetsbryteren som er plassert under seteputen.
Note: Bryteren er en del av seteenheten.
Installer midlertidig en kaldstartsledning over terminalene i hovedledningsnettkonnektoren.
Start motoren, kjør den på full gass, og koble fra parkeringsbremsen.
Note: Påse at parkeringsbremsen er aktivert og at bevegelseskontrollspakene er ute før du starter motoren. Du trenger ikke å være i setet.
Kjør maskinen i minst fem minutter med drivspakene satt til full fart forover å få hydraulikktemperaturen opp til driftstemperatur.
Note: Bevegelseskontrollspakene må være i nøytral stilling mens du utfører justeringene.
Sett bevegelseskontrollspakene i NøYTRAL stilling.
Kontroller og sikre at kontrollplatetappene berører returner til fri-platene på den hydrauliske enheten.
Juster lengdene på pumpekontrollstangene ved å dreie mutteren i passende retning til hjulene kryper noe i revers (Figur 70).

Flytt bevegelseskontrollspakene til REVERS-stillingen og bruk litt lett trykk på spaken mens du lar reversindikatorfjærene føre spakene tilbake til nøytral stilling.
Note: Hjulene skal slutte å bevege seg eller krype noe i revers.
Note: Du må kanskje fjerne bevegelseskontrolldekslet for å få tilgang.
Slå av maskinen.
Fjern kaldstartsledningen fra ledningsnettkonnektoren og koble konnektoren inn i setebryteren.
Ta bort jekkstøttene.
Hev klippeenheten og sett inn igjen klippehøydepinnen.
Kontroller at maskinen ikke beveger seg i fri når parkeringsbremsen er deaktivert.
Oppsøk legehjelp øyeblikkelig hvis olje kommer i direkte kontakt med huden. Innsprøytet væske må fjernes kirurgisk innen få timer av en lege.
Kontroller at alle hydraulikkslanger og ledninger er i god stand, og at alle hydrauliske koblinger og beslag er tette, før det hydrauliske systemet settes under trykk.
Hold kropp og hender borte fra hull eller dyser som sprøyter ut hydraulisk olje under høyt trykk.
Bruk kartong eller papir til å finne lekkasjer.
Før du utfører vedlikehold eller reparasjoner på det hydrauliske systemet, må du forsiktig slippe ut alt trykket.
Hydraulikkvæsketype: Toro® HYPR-OIL™ 500-hydraulikkvæske eller Mobil® 1 15W-50-olje.
Important: Bruk spesifisert olje. Andre oljer kan skade det hydrauliske systemet.
Hydraulikksystemets kapasitet (med filter fjernet): 4,45 l
| Vedlikeholdsintervall | Vedlikeholdsprosedyre |
|---|---|
| For hver bruk eller daglig |
|
La hydraulikkvæsken kjøle seg ned. Kontroller oljenivået når væsken er kald.
Sjekk ekspansjonstanken, og tilsett om nødvendig Toro® HYPR-OIL™ 500-hydraulikkvæske til FULL COLD-linjen.

| Vedlikeholdsintervall | Vedlikeholdsprosedyre |
|---|---|
| Etter de 75 første timene |
|
| Hver 250. driftstime |
|
| Hver 500. driftstime |
|
Filtrene må fjernes for å bytte hydraulikkvæske. Bytt begge samtidig. Se Fjerne filtre i hydraulikksystemet for væskespesifikasjoner.
Tøm eventuell luft i systemet etter at du har montert de nye filtrene, og tilsett væske. Se Tømme det hydrauliske systemet. Gjenta tappeprosedyren til væsken forblir på FULL COLD-linjen i tanken etter tapping. Hvis man ikke utfører denne prosedyren korrekt, kan det føre til uopprettelig skade på transakseldrivsystemet.
Parker maskinen på en jevn overflate, koble fra knivkontrollbryteren (kraftuttak), og sett på parkeringsbremsen.
Før du forlater førerplassen må du slå av motoren, ta ut nøkkelen og vente til alle bevegelige deler står stille.
La motoren kjøle seg ned.
Finn filteret og vernene på hvert transakseldrivsystem (Figur 72).
Fjern de tre skruene som fester filtervernet og vernet (Figur 72).

Rengjør området rundt filtrene forsiktig.
Important: Ikke la det komme inn smuss i hydraulikksystemet, eller la det forekomme kontaminering.
Plasser et tappefat under filteret for å fange væsken som tappes ut når filteret og utluftingspluggene blir fjernet.
Finn og fjern ventilpluggen på hvert gir
Skru løs filteret for å fjerne det og kunne tappe væske fra drivsystemet.
Gjenta denne prosedyren for begge filtrene.
Påfør et tynt lag av hydraulikkvæske på overflaten av gummitetningen på hvert filter.
Drei filteret med klokken til gummitetningen kommer i kontakt med filteradapteren. Trekk deretter til filteret med ytterligere ¾ til en full omdreining.
Gjenta dette på motsatt filter.
Monter filtervernene over hvert filter som du fjernet tidligere.
Bruk de tre skruene for å sikre filtervernene.
Kontroller at utluftingspluggene blir fjernet før du tilsetter væsken.
Hell den spesifiserte væsken gjennom ekspansjonstanken inntil væsken kommer ut av ett av utluftingshullene.
Monter utluftingspluggen.
Trekk til pluggen med et moment på 20 N·m.
Fortsett å tilsette væske gjennom ekspansjonstanken til det kommer ut væske av den andre utluftingspluggen på den andre girkassen.
Monter den motsatte utluftingspluggen.
Trekk til pluggen med et moment på 20 N·m.
Fortsett å tilsette væske gjennom ekspansjonstanken til den når FULL COLD-linjen i ekspansjonstanken.
Gå videre til Tømme det hydrauliske systemet.
Important: Hvis man ikke utfører prosedyren for tømming av det hydrauliske systemet etter at man har skiftet hydraulikkfiltre og -væske, kan det føre til uopprettelig skade på transakseldrivsystemet.

Hev bakre del av maskinen og støtt med jekkstøtter (eller tilsvarende støtte) akkurat høyt nok til at drivhjulene kan rotere fritt.

Start motoren, flytt gasskontrollen frem til ½ gass-stillingen og deaktiver parkeringsbremsen.
Flytt omløpsspakene til skyvestillingen. Med omløpsventilene åpen og motoren i gang flytter du retningskontrollen sakte både fremover og bakover fem eller seks ganger.
Flytt omløpsspakene til driftsstillingen.
Med omløpsventilen lukket og motoren i gang flytter du kontrollspaken sakte både fremover og bakover fem eller seks ganger.
Slå av motoren og kontroller væskenivået i ekspansjonstanken. Tilsett spesifisert væske til den når FULL COLD-linjen i ekspansjonstanken.
Gjenta trinn 2 til all luften er helt tømt fra systemet.
Note: Når transakselen har normalt støynivå, beveger seg jevnt framover og har normal hastighet ved rygging, er den tømt.
Kontroller væskenivået i ekspansjonstanken en siste gang. Tilsett spesifisert væske til den når FULL COLD-linjen i ekspansjonstanken.
En slitt eller skadet kniv kan brekke, og en del av kniven kan slynges ut mot deg eller andre og føre til alvorlige personskader eller en dødsulykke. Hvis man prøver å reparere en skadet kniv, kan det føre til at produktets sikkerhetssertifisering opphører å gjelde.
Inspiser knivene regelmessig for slitasje eller skade.
Vær forsiktig når du kontrollerer knivene. Legg noe rundt knivene eller bruk hansker, og vær svært forsiktig når du håndterer knivene. Bare skift ut eller slip knivene. Du må aldri rette eller sveise dem.
Vær forsiktig hvis maskinen har flere knivblader, da resten av knivene kan begynne å rotere når det ene knivbladet roteres.
Parker maskinen på en jevn overflate, koble fra knivkontrollbryteren (kraftuttak), og sett på parkeringsbremsen.
Slå av motoren, ta ut nøkkelen, og koble tennpluggkablene fra tennpluggene.
| Vedlikeholdsintervall | Vedlikeholdsprosedyre |
|---|---|
| For hver bruk eller daglig |
|
Undersøk kniveggene (Figur 75).
Hvis kniven er sløv eller hvis det er hakk i den, må den tas av og slipes. Se Slipe knivbladene.
Undersøk knivbladene, spesielt buen.
Hvis du finner sprekker, slitasje eller ser at det begynner å dannes spor i denne delen av kniven, må den skiftes ut øyeblikkelig (Figur 75).

Note: Maskinen må stå på en plan overflate for den følgende prosedyren.
Hev klippeenheten til høyeste klippehøydeinnstilling.
Ta på tykke arbeidshansker eller annet hensiktsmessig håndvern og sakte roter kniven som skal måles, til en stilling som gjør det mulig å måle avstanden mellom kniveggen og den plane overflaten maskinen står på (Figur 76).

Mål fra knivtuppen til den flate overflaten (Figur 77).

Roter den samme kniven 180 grader så den motsatte kniveggen nå er i samme stilling (Figur 78).

Mål fra knivtuppen til den flate overflaten (Figur 79).
Note: Avviket skal ikke være større enn 3 mm.

Hvis forskjellen mellom A og B er større enn 3 mm, skift ut kniven med en ny, se Fjerne knivbladene og Montere knivbladene.
Note: Hvis en bøyd kniv skiftes ut med en ny kniv og forskjellen fortsatt overstiger 3 mm, kan det være at knivspindelen er bøyd. Ta kontakt med en autorisert Toro-forhandler for service.
Hvis avviket er innenfor grensene, fortsett til neste kniv.
Gjenta prosedyren for alle knivene.
Bytt ut knivene hvis de treffer en hard gjenstand, eller de er ute av balanse eller bøyd.
Hold spindelakselen med en skiftenøkkel.
Fjern knivbolten, bueskiven og kniven fra spindelakselen (Figur 80).

Bruk en fil til å slipe eggen i begge ender av kniven (Figur 81).
Note: Oppretthold den opprinnelige vinkelen.
Note: Kniven opprettholder balansen hvis like mye materiale fjernes fra begge kniveggene.

Sjekk knivens balanse ved å legge den på en balanseringsinnretning (Figur 82).
Note: Hvis kniven holder seg i horisontal stilling, har den riktig balanse og kan brukes.
Note: Hvis kniven ikke er i balanse, filer du bort litt av metallet på enden av vingeområdet (Figur 81).

Fortsett med dette helt til kniven er balansert.
Sjekk at klippeenheten er i vater hver gang du monterer klippeenheten eller du ser at plenen blir klippet ujevnt.
Klippeenheten må sjekkes for bøyde kniver før nivellering, og eventuelle bøyde kniver må fjernes og skiftes ut. Se Sjekke om en kniv er bøyd før du fortsetter.
Rett opp klippeenheten på tvers først. Deretter kan du justere hellingsvinkel på langs.
Krav:
Maskinen på stå på plan overflate.
Alle dekk må ha korrekt trykk. Se Kontrollere trykket i dekkene.
Parker maskinen på en jevn overflate, koble fra knivkontrollbryteren (kraftuttak), og sett på parkeringsbremsen.
Før du forlater førerplassen må du slå av motoren, ta ut nøkkelen og vente til alle bevegelige deler står stille.
Kontroller dekktrykket for drivhjulene. Se Kontrollere trykket i dekkene.
Plasser klippeenheten i transportstillingen.
Roter knivene forsiktig fra side til side.
Mål mellom knivtuppen og den flate overflaten (Figur 83). Juster nivelleringen hvis målene ikke er innenfor 5 mm. Fortsett med denne prosedyren.


Sjekk knivnivået på langs (Figur 84). Påse at tuppen på den fremre kniven er lavere enn tuppen på den bakre kniven, som vist i tabellen for blokkhøyde og rake. Hvis det er nødvendig med justering, fortsett med denne prosedyren.

Still antiskalperingsrullene til topphullene eller fjern dem fullstendig for denne justeringen.
Plasser to blokker (se tabellen nedenfor) under kanten nederst bak på klippeenheten, én på hver side av klippeenheten (Figur 85).
Sett klippehøydespaken til posisjonen 76 mm.
Plasser to blokker på under hver side av kanten foran på klippeenheten, men ikke under brakettene til antiskalperingsvalsen eller sveiseskjøtene.

| Klippeenhetsstørrelse | Blokkhøyde | Rake |
| Alle klippeenheter | 7,3 cm | 4,8 til 6,4 mm |
Roter knivene forsiktig fra side til side (Figur 83).
Løsne låsemutterne (Figur 86) på alle de fire hjørnene, og sikre at klippeenheten sitter trygt på alle fire blokkene.
Fjern eventuell slakk i klippeenhetshengere og påse at fotløftespaken for klippeenheten er skjøvet tilbake mot stoppen.
Stram de fire låsemutrene.

Påse at blokkene passer godt under klippeenhetskanten og at alle festeboltene er stramme
Fortsett å nivellere enheten ved å kontrollere knivens hellingsvinkel på langs.
Kontroller om knivene er plane og gjenta, om nødvendig, fremgangsmåten for oppretting.
Parker maskinen på en jevn overflate, koble fra knivkontrollbryteren (kraftuttak), og sett på parkeringsbremsen.
Slå av motoren, ta ut nøkkelen, og koble tennpluggkablene fra tennpluggene.
Sett klippehøydepinnen inn i 7,6 cm-posisjonen.
Fjern remdekslene.
Løsne klippeenhetslederullen, og fjern klipperemmen. Se Vedlikehold av remmer.
Fjern boltene og mutterne fra fronten på platen under fotstøtten.
Fjern og ta vare på boltene og mutterne på begge sider av maskinen (Figur 87).

Skyv klippeenheten ut til høyre side på maskinen.
En utildekket utslippsåpning kan føre til at maskinen slynger objekter mot deg eller tilskuere, noe som kan resultere i alvorlig skade. Det kan også oppstå kontakt med kniven.
Du må aldri bruke maskinen uten at du har montert en kvernplate, utslippsavleder eller gressoppsamler.
Fjern låsemutteren, bolten, fjæren og avstandsstykket som holder avlederen festet til svingbrakettene (Figur 88).
Fjern den skadde eller slitte gressavlederen (Figur 88).

Plasser avstandsstykket og fjæren på gressavlederen.
Plasser én J-ende av fjæren bak klippeenhetskanten.
Note: Påse at én J-krokende av fjæren er montert bak kanten på klippeenheten før du monterer bolten som vist i Figur 88.
Monter bolt og mutter.
Plasser én J-krokende av fjæren rundt gressavlederen (Figur 88).
Important: Gressavlederen må kunne rotere. Løft avlederen opp til helt åpen stilling og sørg for at den roterer helt til den nederste posisjonen.
| Vedlikeholdsintervall | Vedlikeholdsprosedyre |
|---|---|
| For hver bruk eller daglig |
|
Parker maskinen på en jevn overflate, koble fra knivkontrollbryteren (kraftuttak), og sett på parkeringsbremsen.
Før du forlater førerplassen må du slå av motoren, ta ut nøkkelen og vente til alle bevegelige deler står stille.
Hev klippeenheten til TRANSPORT-stillingen.
Rengjør opphengssystemet ved hjelp av komprimert luft.
Note: Ikke rengjør støtdemperenhetene med trykkvann (Figur 89).

Motorolje, batterier, hydraulikkvæske og motorkjølemiddel er forurensende for miljøet. Avhend disse i henhold til nasjonale eller lokale regelverk.
Før du setter maskinen til oppbevaring, må du slå av motoren, ta ut nøkkelen, vente til alle bevegelige deler har stoppet og la maskinen kjøle seg ned.
Ikke oppbevar maskinen eller drivstoff i nærheten av flammer eller tapp av drivstoff innendørs.
Ta ut nøkkelen, og oppbevar den på et trygt sted utilgjengelig for barn.
Koble fra knivkontrollbryteren (kraftuttaket), og aktiver parkeringsbremsen.
Før du forlater førerplassen må du slå av motoren, ta ut nøkkelen og vente til alle bevegelige deler står stille.
Rengjør hele alle utvendige deler på maskinen for gress, smuss og skitt, spesielt motoren og det hydrauliske systemet. Fjern utvendige gressrester og smuss på motorens sylindertoppribber og viftehus.
Important: Du kan vaske maskinen med skånsomt vaskemiddel og vann. Maskinen må ikke trykkvaskes. Unngå overdreven bruk av vann, spesielt nær kontrollpanelet, motoren og de hydrauliske pumpene og motorene.
Kontroller at parkeringsbremsen virker. Se Justere parkeringsbremsen.
Vedlikehold luftrenseren, se Overhale luftrenseren.
Smør maskinen, se Smøring.
Bytte veivhusolje, se Kontrollere motoroljen.
Kontroller trykket i dekkene. Se Kontrollere trykket i dekkene.
Skifte de hydrauliske filtrene. Se Skifte hydraulikkvæske og filter.
Bytt ut batteriet, se Lade batteriet.
Skrap bort oppsamlet gress og skitt fra gressklipperens underside, og spyl den med en hageslange.
Note: Kjør maskinen med knivkontrollbryteren (kraftuttak) innkoblet og motoren på høy tomgang i 2 til 5 minutter etter vask.
Kontroller knivenes tilstand. Se Overhale gressklipperknivene.
Gjør maskinen klar for oppbevaring når det er flere enn 30 dager til du skal bruke den igjen. Slik gjør du maskinen klar for lagring:
Bland et stabiliserings-/kondisjoneringsmiddel med petroleumsbase i drivstoffet på tanken. Følg blandingsinstruksjonene fra produsenten av stabiliseringsmiddelet. Stabiliseringsmidler med alkoholbase (etanol eller metanol) må ikke brukes.
Note: Et stabiliserings-/kondisjoneringsmiddel er mest effektivt når det blandes med ferskt drivstoff og brukes til enhver tid.
Kjør motoren i fem minutter for å fordele det behandlede drivstoffet i drivstoffsystemet.
Slå av motoren, la den kjøles ned og tøm drivstofftanken.
Start motoren og kjør den til den stopper.
Drivstoff må kasseres i henhold til lokale forskrifter. Resirkuler drivstoffet i samsvar med lokale forskrifter.
Important: Ikke oppbevar drivstoff som inneholder stabiliserings-/kondisjoneringsmiddel, lenger enn anbefalt av produsenten av middelet.
Fjern og sjekk tilstanden til tennpluggen(e). Se Overhale tennpluggen(e). Når tennpluggen(e) er tatt ut, heller du 30 ml (to spiseskjeer) med motorolje i tennplugghullet. Bruk starteren til å starte motoren og fordele oljen på innsiden av sylinderen. Monter tennpluggen(e). Ikke sett kabelen på tennpluggen(e).
Sjekk og stram til alle bolter, mutrer og skruer. Alle skadde eller defekte deler må repareres eller skiftes ut.
Reparer alle riper eller avskallinger i lakken. Du kan kjøpe maling hos ditt autoriserte forhandlerverksted.
Maskinen må oppbevares rent og tørt i en garasje eller på et lager. Ta nøkkelen ut av tenningen og hold den utenfor barns eller andre uautoriserte brukeres rekkevidde. Legg en presenning over maskinen for å beskytte den og holde den ren.
| Problem | Possible Cause | Corrective Action |
|---|---|---|
| Motoren overopphetes. |
|
|
| Startmotoren kjører ikke. |
|
|
| Motoren vil ikke starte, er vanskelig å starte eller går ikke. |
|
|
| Motoren mister kraft. |
|
|
| Maskinen trekker til høyre eller venstre (når bevegelseskontrollspakene er satt rett fremover). |
|
|
| Maskinen kjører ikke. |
|
|
| Maskinen vibrerer unormalt mye. |
|
|
| Klippehøyden er ujevn. |
|
|
| Knivene roterer ikke. |
|
|
| Clutchen kobles ikke inn. |
|
|
