| Périodicité d'entretien | Procédure d'entretien |
|---|---|
| À chaque utilisation ou une fois par jour |
|
Cette tondeuse autoportée à lame rotative est destinée aux professionnels et aux utilisateurs temporaires. Elle est principalement conçue pour tondre les pelouses régulièrement entretenues des terrains privés et commerciaux.
Lisez attentivement cette notice pour apprendre à utiliser et entretenir correctement votre produit, et éviter de l'endommager ou de vous blesser. Vous êtes responsable de l'utilisation sûre et correcte du produit.
Consultez le site www.Toro.com pour tout document de formation à la sécurité et à l'utilisation des produits, pour tout renseignement concernant un produit ou un accessoire, pour obtenir l'adresse des concessionnaires ou pour enregistrer votre produit.
Pour obtenir des prestations de service, des pièces Toro d'origine ou des renseignements complémentaires, munissez-vous des numéros de modèle et de série du produit et contactez un concessionnaire-réparateur agréé ou le service client Toro. La Figure 1 indique l'emplacement des numéros de modèle et de série sur le produit. Inscrivez les numéros dans l'espace réservé à cet effet.
Important: Avec votre appareil mobile, vous pouvez scanner le code QR (selon l'équipement) sur l'autocollant du numéro de série pour accéder aux renseignements sur la garantie, les pièces et autres informations produit.

Ce manuel utilise deux termes pour faire passer des renseignements essentiels. Important, pour attirer l'attention sur des renseignements mécaniques spécifiques et Remarque, pour insister sur des renseignements d'ordre général méritant une attention particulière.
Ce produit est conforme à toutes les directives européennes pertinentes. Pour plus de renseignements, reportez-vous à la Déclaration de conformité spécifique du produit fournie séparément.
Rendez-vous sur www.Toro.com pour vérifier les spécifications de votre modèle.
Couple brut ou net : le couple brut ou net de ce moteur a été calculé en laboratoire par le constructeur du moteur selon la norme SAE J1940 ou J2723 de la Society of Automotive Engineers (SAE). Étant configuré pour satisfaire aux normes de sécurité, antipollution et d'exploitation, le moteur monté sur cette classe de tondeuse aura un couple effectif nettement inférieur. Reportez-vous aux informations du constructeur du moteur qui accompagnent la machine.
Important: Si vous utilisez une machine équipée d'un moteur Toro à plus de 1 500 m d'altitude de manière continue, assurez-vous de monter le kit haute altitude pour que le moteur réponde aux normes antipollution CARB/EPA. Le kit haute altitude accroît les performances du moteur tout en prévenant l'encrassement des bougies, les difficultés de démarrage et l'augmentation des émissions polluantes. Après avoir installé le kit, apposez l'étiquette de haute altitude près de l'autocollant du numéro de série sur la machine. Contactez un concessionnaire-réparateur Toro agréé pour vous procurer le kit haute altitude et l'étiquette associée pour votre machine. Pour trouver le concessionnaire le plus proche, consultez notre site web à www.Toro.com ou contactez le service client de Toro au(x) numéro(s) indiqué(s) dans votre Déclaration de garantie de conformité à la réglementation antipollution.Déposez le kit du moteur et rétablissez la configuration d'origine du moteur si vous devez utiliser la machine en dessous de 1 500 m. Si le moteur a été converti pour l'usage à haute altitude, ne le faites pas tourner à plus basse altitude, au risque de le faire surchauffer et de l'endommager.En cas de doute concernant la conversion de votre machine pour l'usage à haute altitude, recherchez l'étiquette suivante (Figure 2).

Cette machine est conçue en conformité avec la norme EN ISO 5395:2013.
Ce symbole de sécurité (Figure 3) est utilisé dans ce manuel et sur la machine pour identifier d'importants messages de sécurité qu'il est nécessaire de suivre pour éviter les accidents.
Ce symbole signifie : ATTENTION ! SOYEZ VIGILANT ! VOTRE SÉCURITÉ EN DÉPEND !

Le symbole de sécurité apparaît au-dessus d'informations signalant des actions ou des situations dangereuses. Il est suivi de la mention DANGER, ATTENTION ou PRUDENCE.
DANGER : Signale un danger immédiat qui, s'il n'est pas évité, entraînera obligatoirement des blessures graves ou mortelles.
ATTENTION : Signale un danger potentiel qui, s'il n'est pas évité, peut entraîner des blessures graves ou mortelles.
PRUDENCE : Signale un danger potentiel qui, s'il n'est pas évité, peut entraîner des blessures légères ou modérées.
Deux autres termes sont également utilisés pour faire passer des informations essentielles : Important, pour attirer l'attention sur des renseignements mécaniques spécifiques et Remarque, pour insister sur des renseignements d'ordre général méritant une attention particulière.
Cette machine peut sectionner les mains ou les pieds et projeter des objets. Toro a conçu et testé cette tondeuse pour garantir un fonctionnement correct et sûr, à condition de respecter rigoureusement les consignes de sécurité. Le non respect de ces consignes peut causer des accidents parfois mortels.
Vous devez lire, comprendre et respecter les instructions et les avertissements qui figurent dans le Manuel de l'utilisateur et tout autre document de formation, ainsi que sur la machine, le moteur et les accessoires. Les utilisateurs et mécaniciens doivent tous posséder les compétences nécessaires. Il appartient au propriétaire de la machine d'expliquer le contenu de ce manuel aux personnes (utilisateurs, mécaniciens, etc.) qui ne maîtrisent pas suffisamment la langue dans laquelle il est rédigé ; d'autres langues sont disponibles sur notre site.
Ne confiez l'utilisation de la machine qu'à des personnes formées à son utilisation, responsable et physiquement aptes, connaissant parfaitement les procédures d'utilisation sécuritaire, les commandes et la signification des panneaux et instructions de sécurité. Ne confiez jamais l'utilisation ou l'entretien de la machine à des enfants ou à des personnes non qualifiées. Certaines législations imposent un âge minimum pour l'utilisation de ce type d'appareil.
Gardez toujours l'arceau de sécurité complètement relevé et bloqué en position, et attachez la ceinture de sécurité.
N'utilisez pas la machine près de dénivellations, fossés, berges, étendues d'eau ou tout autre danger, ni sur des pentes de plus de 15 degrés.
N'approchez pas les mains ou les pieds des composants mobiles de la machine.
N'utilisez jamais la machine si les protections, les carters ou les capots sont endommagés. Les capots, carters, contacteurs et autres dispositifs de sécurité doivent toujours être en place et en bon état de marche.
Arrêtez la machine, coupez le moteur et enlevez la clé avant d'effectuer un entretien, de faire le plein de carburant ou d'éliminer une obstruction sur la machine.

![]() |
Des autocollants de sécurité et des instructions bien visibles par l'opérateur sont placés près de tous les endroits potentiellement dangereux. Remplacez tout autocollant endommagé ou manquant. |



























Avant de mettre le moteur en marche et d'utiliser la machine, familiarisez-vous avec toutes les commandes.

Le commutateur d'allumage sert à démarrer et arrêter le moteur, et comporte 3 positions : ARRêT, CONTACT et DéMARRAGE. Voir Démarrage du moteur.
Utilisez le starter pour démarrer quand le moteur est froid.
L'accélérateur commande le régime moteur et peut se régler à l'infini entre BAS RéGIME et HAUT RéGIME (Figure 6).
La commande des lames, représentée par le symbole de la prise de force (PDF), engage et désengage l'entraînement des lames (Figure 6).
Le compteur horaire totalise les heures de fonctionnement du moteur. Il fonctionne quand le moteur tourne. Programmez les entretiens en fonction du nombre d'heures indiqué (Figure 7).

Ce sont des symboles sur le compteur-horaire qui indiquent par un triangle noir que le verrou de sécurité est à la position correcte (Figure 7).
Si vous tournez le commutateur d'allumage en position CONTACT pendant quelques secondes, la tension de batterie s'affiche dans la zone normalement réservée aux heures de fonctionnement.
Le témoin de la batterie s'allume quand vous mettez le contact et que la charge est inférieure au niveau de fonctionnement correct (Figure 7).
Les leviers de commande de déplacement permettent de conduire la machine en marche avant, en marche arrière et de tourner à droite ou à gauche (Figure 5).
Quand vous descendez de la machine, écartez les leviers de commande vers l'extérieur, du centre à la position de VERROUILLAGE AU POINT MORT (Figure 25). Placez toujours les leviers de commande à la position de VERROUILLAGE AU POINT MORT avant d'arrêter la machine ou de la laisser sans surveillance.
Chaque fois que vous arrêtez le moteur, serrez le frein de stationnement pour éviter que la machine ne se déplace accidentellement.
Fermez le robinet d'arrivée de carburant avant de transporter ou de remiser la machine ; voir Utilisation du robinet d'arrivée de carburant.
Note: Les spécifications et la conception peuvent faire l'objet de modifications sans préavis.
| Plateau de coupe de 122 cm | Plateau de coupe de 132 cm | |
|---|---|---|
| Sans plateau de coupe | 121 cm | 124 cm |
| Déflecteur relevé | 133 cm | 144 cm |
| Déflecteur abaissé | 160 cm | 171 cm |
| Plateau de coupe de 122 cm | Plateau de coupe de 132 cm | |
|---|---|---|
| Longueur | 208 cm | 208 cm |
| Arceau de sécurité relevé | Arceau de sécurité abaissé |
|---|---|
| 179 cm | 125 cm |
| Machines | Poids |
| Plateaux de coupe à éjection latérale de 122 cm | 385 à 425 kg |
| Plateaux de coupe à éjection latérale de 132 cm | 391 à 434 kg |
Une sélection d'outils et d'accessoires agréés par Toro est disponible pour augmenter et améliorer les capacités de la machine. Contactez votre concessionnaire-réparateur ou distributeur Toro agréé ou rendez-vous sur www.Toro.com pour obtenir une liste de tous les accessoires et outils agréés.
Pour garantir un rendement optimal et la sécurité continue de la machine, utilisez uniquement des pièces de rechange et accessoires Toro d'origine. Les pièces de rechange et accessoires provenant d'autres constructeurs peuvent être dangereux, et leur utilisation risque d'annuler la garantie de la machine.
Note: Les côtés gauche et droit de la machine sont déterminés d'après la position d'utilisation normale.
Examinez la zone de travail pour déterminer quels accessoires et équipements vous permettront d'exécuter votre tâche correctement et sans danger. Utilisez uniquement les accessoires et équipements agréés par Toro.
Inspectez la zone de travail et enlevez tous les objets susceptibles d'être projetés par la machine (pierres, jouets, branches, ossements, etc.). Ces objets peuvent être éjectés ou gêner le fonctionnement de la machine, et vous blesser ou blesser d'autres personnes.
Portez un équipement de protection individuelle adapté, comme des lunettes de sécurité, des chaussures solides à semelle antidérapante et des protecteurs d'oreilles. Si vos cheveux sont longs, attachez-les et ne portez pas de vêtements amples ni de bijoux pendants qui pourraient se prendre dans les pièces mobiles.
Cette machine produit au niveau de l'oreille de l'utilisateur un niveau sonore de plus de 85 dBA qui peut entraîner des déficiences auditives en cas d'exposition prolongée.
Portez des protecteurs d'oreilles quand vous utilisez la machine.
Vérifiez toujours que les commandes de présence de l'utilisateur, les contacteurs de sécurité et les capots de protection sont en place et en bon état. N'utilisez pas la machine en cas de mauvais fonctionnement.
N'utilisez pas la tondeuse lorsque des personnes, en particulier des enfants, ou des animaux se trouvent à proximité. Arrêtez la machine et le(s) accessoire(s) si quelqu'un entre dans la zone de travail.
N'utilisez pas la machine sans que le système de ramassage au complet, le déflecteur d'éjection ou d'autres dispositifs de sécurité soient en place et en bon état de marche. Les éléments du bac à herbe peuvent s'user, se détériorer ou être endommagés, et risquent ainsi d'exposer les pièces mobiles ou de projeter des objets. Contrôlez fréquemment l'usure ou la détérioration des composants et remplacez-les au besoin par des pièces recommandées par le fabricant.
Faites preuve de la plus grande prudence quand vous manipulez du carburant.
Dans certaines circonstances, l'essence est extrêmement inflammable et ses vapeurs sont hautement explosives.
Un incendie ou une explosion causé(e) par de l'essence peut vous brûler, ainsi que d'autres personnes, et causer des dommages matériels.
Faites le plein du réservoir de carburant à l'extérieur sur un sol plat et horizontal, dans un endroit bien dégagé et lorsque le moteur est froid. Essuyez toute essence répandue.
Ne faites jamais le plein ni la vidange du réservoir à l'intérieur d'un local ou d'une remorque fermé(e).
Ne remplissez complètement pas le réservoir de carburant. Remplissez le réservoir de carburant jusqu'à la base du goulot de remplissage. L'espace au-dessus doit rester vide pour permettre à l'essence de se dilater. Ne remplissez pas excessivement pour ne pas causer de fuite de carburant ou de dommages au moteur ou au système antipollution.
Ne fumez jamais en manipulant de l'essence et tenez-vous à l'écart des flammes nues ou des sources d'étincelles qui pourraient enflammer les vapeurs d'essence.
Conservez l'essence dans un récipient homologué et hors de la portée des enfants.
Faites le plein de carburant avant de mettre le moteur en marche. N'enlevez jamais le bouchon du réservoir de carburant et n'ajoutez jamais de carburant lorsque le moteur tourne ou qu'il est chaud.
Si vous renversez du carburant, ne démarrez pas le moteur à cet endroit. Éloignez la machine du carburant renversé et évitez de créer des sources d'inflammation jusqu'à dissipation complète des vapeurs de carburant.
N'utilisez pas la machine si elle n'est pas équipée du système d'échappement complet et en bon état de marche.
Dans certaines circonstances, de l'électricité statique peut se former lors du remplissage, produire une étincelle et enflammer les vapeurs d'essence. Un incendie ou une explosion causé(e) par l'essence peut vous brûler, ainsi que d'autres personnes, et causer des dommages matériels.
Posez toujours les bidons d'essence sur le sol, à l'écart du véhicule, avant de les remplir.
Ne remplissez pas les bidons d'essence à l'intérieur d'un véhicule ou dans la caisse d'un véhicule utilitaire, car la moquette intérieure ou le revêtement en matière plastique de la caisse risque d'isoler le bidon et de freiner l'élimination de l'électricité statique éventuellement produite.
Dans la mesure du possible, descendez la machine du véhicule ou de la remorque et posez-la à terre avant de remplir le réservoir de carburant.
Si ce n'est pas possible, laissez la machine dans le véhicule ou sur la remorque, mais remplissez le réservoir à l'aide d'un bidon, et non directement à la pompe.
En cas de remplissage à la pompe, maintenez le pistolet en contact avec le bord du réservoir ou du bidon, jusqu'à ce que le remplissage soit terminé. N'utilisez pas de dispositif de verrouillage du pistolet en position ouverte.
L'essence est toxique voire mortelle en cas d'ingestion. Des cancers ont été constatés chez les animaux de laboratoire exposés de manière prolongée à la vapeur de carburant. Des blessures ou maladies graves sont possibles si les précautions d'usage ne sont pas respectées.
Évitez de respirer les vapeurs de carburant de façon prolongée.
N'approchez pas le visage du pistolet ni de l'ouverture du réservoir de carburant ou du bidon.
Tenez le carburant éloigné des yeux et de la peau.
N'amorcez jamais la vidange avec la bouche.
L'évent du réservoir de carburant est situé sur le tube de l'arceau de sécurité. La dépose ou la modification de l'arceau de sécurité peut provoquer une fuite de carburant et contrevenir à la réglementation antipollution.
Ne déposez pas l'arceau de sécurité.
Vous ne devez jamais souder, percer ou modifier l'arceau de sécurité, de quelque manière que ce soit.
Pour éviter les incendies :
Ne laissez pas l'herbe, les feuilles, la graisse ou l'huile, et autres débris s'accumuler sur et autour du moteur.
Nettoyez les coulées éventuelles d'huile et de carburant, et éliminez les débris imbibés de carburant.
Laissez refroidir la machine avant de la remiser dans un local fermé. Ne la remisez pas près d'une flamme ou dans un local fermé où se trouve une veilleuse ou un appareil de chauffage.
Pour assurer le fonctionnement optimal de la machine, utilisez uniquement de l'essence sans plomb propre et fraîche (stockée depuis moins d'un mois) ayant un indice d'octane de 87 ou plus (méthode de calcul [R+M]/2).
Éthanol : De l'essence contenant jusqu'à 10 % d'éthanol (essence-alcool) ou 15 % de MTBE (éther méthyltertiobutylique) par volume peut être utilisée. L'éthanol et le MTBE sont deux produits différents. L'utilisation d'essence contenant 15 % d'éthanol (E15) par volume n'est pas agréée. N'utilisez jamais d'essence contenant plus de 10 % d'éthanol par volume, comme E15 (qui contient 15 % d'éthanol), E20 (qui contient 20 % d'éthanol) ou E85 (qui contient jusqu'à 85 % d'éthanol). L'utilisation d'essence non agréée peut entraîner des problèmes de performances et/ou des dommages au moteur qui peuvent ne pas être couverts par la garantie.
N'utilisez pas d'essence contenant du méthanol.
Ne stockez pas le carburant dans le réservoir ou dans des bidons de carburant pendant l'hiver, à moins d'utiliser un stabilisateur de carburant.
N'ajoutez pas d'huile à l'essence.
Utilisez un additif stabilisateur/conditionneur dans la machine pour :
Que le carburant reste frais plus longtemps quand il est utilisé conformément aux indications du fabricant du stabilisateur.
Nettoyer le moteur lorsqu'il tourne.
Éviter la formation d'un dépôt gommeux dans le circuit d'alimentation, qui pourrait entraîner des problèmes de démarrage.
Important: N'utilisez pas d'additifs contenant du méthanol ou de l'éthanol.
Ajoutez au carburant la quantité appropriée de stabilisateur/conditionneur.
Note: L'efficacité des stabilisateurs/conditionneurs est optimale lorsqu'ils sont mélangés à du carburant frais. Pour réduire les risques de formation de dépôts visqueux dans le circuit d'alimentation, utilisez toujours un stabilisateur dans l'essence.
Garez la machine sur un sol plat et horizontal.
Serrez le frein de stationnement.
Coupez le moteur et enlevez la clé.
Nettoyez la surface autour du bouchon du réservoir de carburant.
Remplissez le réservoir de carburant jusqu'à la base du goulot de remplissage (Figure 8).
Note: Ne remplissez pas complètement le réservoir de carburant. L'espace au-dessus doit rester vide pour permettre au carburant de se dilater.

Avant de démarrer la machine chaque jour, effectuez les procédures décrites à la section .
Les moteurs neufs demandent un certain temps pour développer toute leur puissance. Les plateaux de coupe et les systèmes d'entraînement neufs présentent plus de friction, ce qui augmente la charge sur le moteur. Prévoyez 40 à 50 heures de rodage pour les machines neuves afin de leur permettre de développer toute leur puissance et d'offrir des performances optimales.
Pour éviter de vous blesser, parfois mortellement, en cas de retournement de la machine, gardez l'arceau de sécurité complètement relevé et bloqué dans cette position, et attachez la ceinture de sécurité.
Le siège doit être bien fixé sur la machine.
La protection antiretournement est inexistante lorsque l'arceau de sécurité est abaissé.
N'abaissez l'arceau de sécurité qu'en cas d'absolue nécessité.
N'attachez pas la ceinture de sécurité lorsque l'arceau de sécurité est abaissé.
Conduisez lentement et prudemment.
Relevez l'arceau de sécurité dès que possible.
Vérifiez précisément la hauteur libre avant de passer sous un obstacle (par ex. branches, portes, câbles électriques, etc.) et évitez de le toucher.
Important: N'abaissez l'arceau de sécurité qu'en cas d'absolue nécessité.
Important: Attachez toujours la ceinture de sécurité quand l'arceau de sécurité est levé.
Relevez l'arceau de sécurité à la position d'utilisation et tournez les boutons de sorte à les déplacer partiellement dans les rainures (Figure 9).
Redressez l'arceau de sécurité en position relevée tout en poussant sur la partie supérieure de sorte que les goupilles s'engagent en position quand les trous sont en face (Figure 9).
Appuyez sur l'arceau de sécurité et vérifiez que les deux goupilles sont engagées.
Si les contacteurs de sécurité sont déconnectés ou endommagés, la machine peut se mettre en marche inopinément et causer des blessures.
Ne modifiez pas abusivement les contacteurs de sécurité.
Vérifiez chaque jour le fonctionnement des contacteurs de sécurité et remplacez ceux qui sont endommagés avant d'utiliser la machine.
Le système de sécurité est conçu pour empêcher le démarrage du moteur, sauf dans les cas suivants :
Le frein de stationnement est serré.
La commande des lames (PDF) est désengagée.
Les leviers de commande de déplacement sont en position de VERROUILLAGE AU POINT MORT.
Le système de sécurité est également conçu pour couper le moteur si vous sortez les leviers de commande de déplacement de la position de VERROUILLAGE AU POINT MORT alors que le frein de stationnement est serré, ou si vous quittez le siège alors que la PDF est engagée.
Le compteur horaire comporte des indicateurs qui avertissent l'utilisateur quand le composant de sécurité est à la position correcte. Lorsque le composant est à la position correcte, un indicateur s'affiche à l’écran.

| Périodicité d'entretien | Procédure d'entretien |
|---|---|
| À chaque utilisation ou une fois par jour |
|
Contrôlez le système de sécurité avant chaque utilisation de la machine. Si le système de sécurité ne fonctionne pas comme spécifié ci-dessous, faites-le immédiatement réviser par un concessionnaire-réparateur agréé.
Asseyez-vous sur le siège, serrez le frein de stationnement et placez la commande des lames (PDF) en position ENGAGéE. Essayez de démarrer le moteur ; il ne doit pas démarrer.
Asseyez-vous sur le siège, serrez le frein de stationnement et placez la commande des lames (PDF) en position DéSENGAGéE. Sortez un des leviers de commande de déplacement de la position de VERROUILLAGE AU POINT MORT. Essayez de démarrer le moteur ; il ne doit pas démarrer. Répétez l'opération pour l'autre levier de commande.
Asseyez-vous sur le siège, serrez le frein de stationnement, placez la commande des lames (PDF) en position DéSENGAGéE et amenez les leviers de commande de déplacement en position de VERROUILLAGE AU POINT MORT. Mettez alors le moteur en marche. Lorsque le moteur tourne, desserrez le frein de stationnement, engagez la commande des lames (PDF) et soulevez-vous légèrement du siège ; le moteur doit s'arrêter.
Asseyez-vous sur le siège, serrez le frein de stationnement, placez la commande des lames (PDF) en position DéSENGAGéE et amenez les leviers de commande de déplacement en position de VERROUILLAGE AU POINT MORT. Mettez alors le moteur en marche. Lorsque le moteur est en marche, centrez l'un des leviers de commande déplacement et déplacez la machine (en marche avant ou arrière) ; le moteur doit s'arrêter. Répétez l'opération pour l'autre levier de commande.
Asseyez-vous sur le siège, desserrez le frein de stationnement, placez la commande des lames (PDF) en position DéSENGAGéE et amenez les leviers de commande de déplacement en position de VERROUILLAGE AU POINT MORT. Essayez de démarrer le moteur ; il ne doit pas démarrer.
Vous pouvez avancer ou reculer le siège. Amenez le siège à la position la plus confortable pour vous, et offrant le meilleur contrôle de pour la conduite (Figure 11).

La suspension MyRide™ est réglable pour offrir un confort optimal. Vous pouvez régler les 2 amortisseurs arrière pour modifier le réglage de la suspension facilement et rapidement. Positionnez la suspension de manière la plus confortable pour vous.
Les fentes prévues pour les amortisseurs arrière sont dotées de crans de référence. Vous pouvez placer les amortisseurs arrière n'importe où dans la fente, pas seulement dans les crans. Le schéma suivant montre la position des amortisseurs pour une suspension souple ou ferme et les différentes positions des crans (Figure 12).

Note: Réglez toujours les amortisseurs arrière gauche et droit à la même position.
Réglez les amortisseurs arrière (Figure 13).


Utilisez uniquement des outils et accessoires agréés par Toro.
Si vous ajoutez plusieurs kits de montage d'accessoire (kit pour godet ou kit support universel par exemple) à l'un des 4 emplacements indiqués à la Figure 14, vous devez monter un kit masses avant. Contactez un concessionnaire-réparateur agréé pour vous procurer le kit masses avant.

L'opérateur doit consacrer toute son attention à l'utilisation de la machine. Ne vous livrez à aucune activité risquant de vous distraire, au risque de causer des dommages corporels ou matériels.
Les pièces du moteur, en particulier le silencieux, deviennent extrêmement chaudes pendant le fonctionnement. Leur contact peut causer de graves brûlures et enflammer les débris (feuilles, herbe, broussailles, etc.).
Laissez refroidir les pièces du moteur, surtout le silencieux, avant de les toucher.
Éliminez les débris accumulés sur le silencieux et autour du moteur.
Les gaz d'échappement contiennent du monoxyde de carbone, un gaz inodore mortel.
Ne faites pas tourner le moteur à l'intérieur ou dans un petit espace confiné où le monoxyde de carbone dangereux dégagé par l'échappement peut s'accumuler.
Le propriétaire/l'utilisateur est responsable des dommages matériels ou corporels et peut les prévenir.
Cette tondeuse n'est conçue que pour un seul utilisateur. Ne transportez pas de passagers et n'autorisez personne à s'approcher de la machine en marche.
N'utilisez pas la machine si vous êtes fatigué, malade ou sous l'emprise de l'alcool, de drogues ou de médicaments.
Travaillez uniquement à la lumière du jour ou avec un bon éclairage artificiel.
La foudre peut causer des blessures graves ou mortelles. Si vous voyez des éclairs ou que vous entendez le tonnerre, n'utilisez PAS la machine et mettez-vous à l'abri.
Redoublez de prudence lorsque vous utilisez la machine équipée d'outils ou d'accessoires, tels des systèmes de ramassage. Ils peuvent modifier la stabilité et entraîner la perte du contrôle de la machine. Suivez les instructions d'utilisation des contrepoids si nécessaire.
Ne vous approchez pas des trous, ornières, bosses, rochers et autres dangers cachés. Faites preuve de prudence à l'approche de tournants sans visibilité, de buissons, d'arbres, d'herbe haute ou autres obstacles susceptibles de gêner la vue. Les terrains irréguliers peuvent causer le retournement de la machine ou faire glisser l'opérateur et lui faire perdre l'équilibre.
Vérifiez que tous les embrayages sont au point mort et que le frein de stationnement est serré avant de mettre le moteur en marche. Utilisez les ceintures de sécurité avec l'arceau de sécurité relevé et verrouillé dans cette position.
Démarrez le moteur prudemment en vous conformant aux instructions et en évitant d'approcher les pieds des lames.
N'utilisez jamais la tondeuse si les protections, les carters ou les capots sont endommagés. Les capots, carters, contacteurs et autres dispositifs de sécurité doivent toujours être en place et en bon état de marche.
Ne vous tenez jamais devant l'ouverture d'éjection. Ne tondez jamais avec le volet d'éjection relevé, déposé ou modifié à moins qu'un système de ramassage ou de déchiquetage soit en place et fonctionne correctement.
N'approchez jamais les mains ou les pieds des pièces mobiles. Dans la mesure du possible, n'effectuez pas de réglages moteur en marche.
Les pièces rotatives peuvent happer et coincer les mains, les pieds, les cheveux, les vêtements ou les accessoires. Le contact avec des pièces rotatives peut causer une amputation traumatisante ou de graves lacérations.
N'utilisez pas la machine si les protections, les capots et les dispositifs de sécurité ne sont pas en place et en bon état de fonctionnement.
Gardez les mains, les pieds, les cheveux, les bijoux et les vêtements éloignés des pièces rotatives.
Ne levez jamais le plateau de coupe pendant que les lames tournent.
Sachez dans quel sens s'effectue l'éjection et faites en sorte qu'elle ne soit dirigée vers personne. N'éjectez pas l'herbe coupée contre un mur ou un obstacle, car elle pourrait ricocher dans votre direction. Arrêtez les lames, ralentissez et faites preuve de prudence lorsque vous traversez des surfaces autres qu'une pelouse et quand vous déplacez la tondeuse entre les surfaces de travail.
Restez vigilant, ralentissez et changez de direction avec prudence. Regardez derrière vous et de chaque côté avant de changer de direction. Ne tondez jamais en marche arrière, sauf en cas d'absolue nécessité.
Ne modifiez pas le réglage du régulateur et ne faites pas tourner le moteur à un régime excessif.
Placez la machine sur un sol plat et horizontal. Coupez le moteur, attendez l'arrêt complet de toutes les pièces mobiles et débranchez le fil de la ou des bougies.
Avant d'inspecter, de nettoyer ou d'effectuer toute opération sur la tondeuse.
Après avoir heurté un obstacle ou en cas de vibrations anormales (vérifiez l'état de la tondeuse et effectuez les réparations éventuellement nécessaires avant de la remettre en marche et de l'utiliser à nouveau).
Avant de dégager des obstructions.
Avant de quitter la tondeuse. Ne laissez pas la machine en marche sans surveillance.
Coupez le moteur et attendez l'arrêt complet de toutes les pièces mobiles :
Avant de faire le plein de carburant.
Avant de vider le bac à herbe.
Avant de modifier la hauteur de coupe.
Des accidents tragiques peuvent survenir si l'utilisateur ne sait pas que des enfants sont présents. Les enfants sont souvent attirés par la machine et l'activité de tonte. Ne partez jamais du principe que les enfants se trouvent encore à l'endroit où vous les avez vus pour la dernière fois.
Veillez à ce que les enfants restent hors de la zone de tonte, sous la garde d'un adulte responsable autre que l'utilisateur.
Montrez-vous vigilant et coupez le moteur de la machine si des enfants pénètrent dans la zone de travail.
Avant et pendant une marche arrière ou un changement de direction, vérifiez toujours qu'un enfant ne se tient pas juste derrière les roues de la machine, sur sa trajectoire ou sur les côtés.
N'autorisez jamais les enfants à utiliser la machine.
Ne transportez pas d'enfants, même si les lames sont arrêtées. Les enfants pourraient tomber et se blesser gravement ou compromettre le fonctionnement sûr de la machine. Les enfants qui ont été autorisés à monter sur la machine en marche par le passé peuvent apparaître subitement dans la zone de travail parce qu'ils veulent recommencer. Ils risquent alors d'être renversés ou écrasés par la machine.
Les pentes augmentent significativement les risques de perte de contrôle et de retournement de la machine pouvant entraîner des accidents graves, voire mortels. L'utilisateur est responsable de la sécurité d'utilisation de la machine sur les pentes. L'utilisation de la machine sur une pente, quelle qu'elle soit, demande une attention particulière. Avant d'utiliser la machine sur une pente, l'opérateur doit :
Lire et comprendre les instructions relatives à l'utilisation sur les pentes qui figurent dans le manuel et sur la machine.
Utiliser l'indicateur d'angle pour déterminer l'angle approximatif de la pente sur laquelle vous devez travailler.
Ne travaillez jamais sur des pentes de plus de 15 degrés.
Évaluer chaque jour l'état du terrain pour déterminer si la pente permet d'utiliser la machine sans risque. Faites preuve de bon sens et de discernement lors de cette évaluation. Les conditions changeantes du terrain, telle l'humidité, peuvent rapidement modifier le fonctionnement de la machine sur les pentes.
Identifiez les dangers potentiels depuis le bas de la pente. N'utilisez pas la machine près de fortes dénivellations, fossés, berges, étendues d'eau ou autres dangers. La machine pourrait se retourner brusquement si une roue passe par-dessus une dénivellation quelconque et se retrouve dans le vide, ou si un bord s'effondre. Maintenez une distance de sécurité (deux fois la largeur de la machine) entre la machine et tout danger potentiel. Utilisez une tondeuse autotractée ou une débroussailleuse manuelle pour tondre sur ce type de terrain.

Évitez de démarrer, de vous arrêter ou de tourner sur les pentes. Ne changez pas soudainement de vitesse ou de direction; tournez lentement et graduellement.
N'utilisez pas la machine si la motricité, la direction ou la stabilité peuvent être compromises. Tenez compte du fait que la motricité de la machine peut être réduite sur l'herbe humide, en travers des pentes ou dans les descentes. La perte d'adhérence des roues motrices peut faire patiner la machine et entraîner la perte du freinage et de la direction. La machine peut glisser même si les roues motrices ne tournent plus.
Enlevez ou balisez les obstacles tels que fossés, trous, ornières, bosses, rochers ou autres dangers cachés. L'herbe haute peut masquer les accidents du terrain. Les irrégularités du terrain risquent de provoquer le retournement de la machine.
Redoublez de prudence lorsque vous utilisez la machine équipée d'outils ou d'accessoires, tels des systèmes de ramassage. Ils peuvent modifier la stabilité et entraîner la perte du contrôle de la machine. Suivez les instructions d'utilisation des contrepoids.
Dans la mesure du possible, gardez le plateau de coupe abaissé au sol quand vous utilisez la machine sur des pentes. La machine peut devenir instable si vous levez le plateau de coupe pendant l'utilisation sur une pente.
La machine est équipée d'un système de protection antiretournement (arceau de sécurité).
La protection antiretournement est inexistante lorsque l'arceau de sécurité est abaissé. Le dépassement des roues au-dessus d'une dénivellation, d'un fossé, d'une berge escarpée ou d'une étendue d'eau peut provoquer le renversement de la machine et causer des blessures graves ou mortelles (noyade, etc.).
Ne déposez pas le système ROPS.
Gardez l'arceau de sécurité relevé et bloqué en position, et attachez la ceinture de sécurité.
N'abaissez l'arceau de sécurité qu'en cas d'absolue nécessité.
N'attachez pas la ceinture de sécurité si l'arceau de sécurité est abaissé.
Conduisez lentement et prudemment.
Relevez l'arceau de sécurité dès que possible.
Apprenez à détacher rapidement la ceinture de sécurité en cas d'urgence.
Vérifiez précisément la hauteur libre avant de passer sous un quelconque obstacle (par ex. branches, portes, câbles électriques, etc.) et évitez de le toucher.
En cas de retournement de la machine, portez-la chez un concessionnaire-réparateur agréé pour faire réviser le système ROPS.
Remplacez le système ROPS s'il est endommagé. Il ne doit jamais être réparé ou révisé.
Les accessoires, modifications ou autres qui sont ajoutés au système ROPS doivent être agréés par Toro.
Utilisez le plateau de coupe comme marchepied pour accéder au poste d'utilisation (Figure 16).

Serrez toujours le frein de stationnement lorsque vous arrêtez la machine ou que vous la laissez sans surveillance.
Garez la machine sur un sol plat et horizontal.


La commande des lames (PDF) permet de démarrer et d'arrêter la rotation des lames et des autres accessoires qu'elle entraîne.
Note: Les courroies d'entraînement subiront une usure excessive si la commande des lames (PDF) est engagée alors que la commande d'accélérateur est à mi-course ou moins.


Placez la commande d'accélérateur à mi-course entre les positions HAUT RéGIME et BAS RéGIME (Figure 21).
Sélectionnez toujours la position HAUT RéGIME quand vous engagez la PDF.

Note: L'usage du starter n'est généralement pas nécessaire si le moteur est chaud.
Important: N'actionnez pas le démarreur plus de 5 secondes de suite. N'actionnez pas le démarreur pendant plus de 5 secondes de suite au risque de l'endommager. Si le moteur refuse de démarrer, patientez 10 secondes avant de faire une nouvelle tentative de démarrage.

Les enfants ou les personnes à proximité risquent de se blesser s'ils déplacent ou essayent d'utiliser la machine, lorsque celle-ci est laissée sans surveillance.
Enlevez toujours la clé et serrez le frein de stationnement si vous laissez la machine sans surveillance.

Important: Vérifiez que le robinet d'arrivée de carburant est bien fermé avant de transporter ou de remiser la machine, pour éviter les fuites de carburant. Serrez le frein de stationnement avant de transporter la machine. N'oubliez pas de retirer la clé du commutateur d'allumage, car la pompe d'alimentation pourrait se mettre en marche et décharger la batterie.

Les roues motrices tournent indépendamment et sont entraînées par des moteurs hydrauliques sur chaque essieu. Vous pouvez faire tourner un côté en marche arrière et l'autre en marche avant, ce qui fait pivoter la machine au lieu de la faire changer de direction. La maniabilité de la machine en est grandement améliorée, mais il vous faudra peut-être un peu de temps pour vous adapter à cette manière de conduire.
La commande d'accélérateur agit sur le régime moteur qui se mesure en tours/minute (tr/min). Placez la commande d'accélérateur en position HAUT RéGIME pour obtenir des performances optimales. Travaillez toujours à plein régime.
La machine peut tourner très rapidement. Vous pouvez perdre le contrôle de la machine et vous blesser gravement ou endommager la machine.
Soyez extrêmement prudent dans les virages.
Ralentissez avant de prendre des virages serrés.
Note: Le moteur s'arrête si vous actionnez les leviers de commande de déplacement alors que le frein de stationnement est serré.
Pour arrêter la machine, tirez les leviers de commande de vitesse en position POINT MORT.
Desserrez le frein de stationnement ; voir Desserrage du frein de stationnement.
Amenez les leviers de commande de déplacement au centre, en position déverrouillée.
Pour vous déplacer en marche avant, poussez lentement les leviers de commande de déplacement vers l'avant (Figure 26).

Amenez les leviers de commande de déplacement au centre, en position déverrouillée.
Pour vous déplacer en marche arrière, tirez lentement les leviers en arrière (Figure 27).

La tondeuse est équipée d'un déflecteur d'herbe pivotant qui permet de disperser les déchets de tonte sur le côté et à la surface de la pelouse.
Si le déflecteur d'herbe, l'obturateur d'éjection ou le bac à herbe complet ne sont pas en place sur la machine, vous-même ou d'autres personnes peuvent être touchés par une lame ou des débris projetés. Le contact avec les lames en rotation et la projection de débris peuvent occasionner des blessures graves ou mortelles.
N'enlevez jamais le déflecteur d'herbe du plateau de coupe, sa présence est nécessaire pour diriger l'herbe tondue sur le gazon. Si le déflecteur d'herbe est endommagé, remplacez-le immédiatement.
Ne mettez jamais les mains ou les pieds sous le plateau de coupe.
N'essayez jamais de dégager l'ouverture d'éjection ou les lames sans avoir au préalable amené la commande des lames (PDF) en position DéSENGAGéE, tourné la clé de contact sur ARRêT et enlevé la clé.
Vérifiez que le déflecteur d'herbe est abaissé.
Le verrou de transport s'utilise avec la pédale de levage du plateau de coupe et comprend 2 positions : une position de VERROUILLéE et une position DéVERROUILLéE pour la position de transport du plateau de coupe (Figure 28).

Vous pouvez régler la hauteur de coupe de 38 à 127 mm par paliers de 6 mm suivant le trou dans lequel vous placez la goupille de hauteur de coupe.
Placez le verrou de transport en position VERROUILLéE.
Appuyez sur la pédale de levage du plateau avec le pied et élevez le plateau à la position de TRANSPORT (qui est aussi la position de hauteur de coupe de 127 mm), comme montré à la Figure 29.
Retirez l'axe du support de hauteur de coupe (Figure 29).
Placez la goupille dans le trou du support correspondant à la hauteur de coupe voulue (Figure 29).
Appuyez sur la pédale de levage du plateau de coupe, tirez le verrou de transport et abaissez lentement le plateau de coupe.

Ajustez la hauteur des galets anti-scalp chaque fois que vous modifiez la hauteur de coupe.
Note: Réglez les galets anti-scalp de sorte qu'ils ne touchent pas le sol sur les surfaces de tonte planes normales.
Garez la machine sur un sol plat et horizontal, désengagez la commande des lames et serrez le frein de stationnement.
Avant de quitter la position d'utilisation, coupez le moteur, retirez la clé de contact et attendez l'arrêt complet de toutes les pièces mobiles.
Réglez les galets anti-scalp comme montré à la Figure 30.


Pour obtenir une circulation d'air maximale et de meilleurs résultats, faites tourner le moteur à HAUT RéGIME. L'air doit pouvoir circuler pour bien couper l'herbe. Pour cette raison, ne sélectionnez pas une hauteur de coupe trop basse car le plateau de coupe serait alors complètement entouré d'herbe haute. Placez-vous toujours de sorte qu'un côté de la tondeuse se trouve à l'extérieur de la zone non-coupée. L'air pourra ainsi circuler librement dans le plateau de coupe.
Coupez l'herbe légèrement plus haut que d'habitude pour éviter de scalper les inégalités du terrain. La hauteur de coupe habituelle est cependant celle qui convient le mieux en général. Si la hauteur de l'herbe dépasse 15 cm, vous devrez peut-être vous y reprendre à deux fois pour obtenir un résultat acceptable.
L'idéal est de ne raccourcir l'herbe que du tiers de sa hauteur. Une coupe plus courte est déconseillée, à moins que l'herbe ne soit clairsemée, ou en automne lorsque la pousse commence à ralentir.
Alternez le sens des passages pour ne pas coucher l'herbe. L'alternance permet aussi de mieux disperser l'herbe coupée, ce qui améliore la décomposition et la fertilisation.
L'herbe pousse à une vitesse différente selon les saisons. Pour conserver une hauteur de coupe uniforme, tondez plus souvent au début du printemps. Réduisez la fréquence de la tonte au milieu de l'été, lorsque l'herbe pousse moins vite. Si vous n'avez pas tondu depuis un certain temps, effectuez un premier passage à une hauteur de coupe élevée, puis repassez 2 jours plus tard en abaissant la hauteur de coupe.
Ralentissez pour améliorer la qualité de la coupe dans certaines conditions.
Si la surface est irrégulière, élevez la hauteur de coupe pour éviter de scalper la pelouse.
Si vous devez immobiliser la machine en cours de tonte, un paquet d'herbe coupée peut tomber sur la pelouse. Pour éviter cela, rendez-vous sur une surface déjà tondue en laissant les lames embrayées ou bien désengagez le plateau de coupe tout en vous déplaçant en marche avant.
Nettoyez le dessous du plateau de coupe après chaque utilisation. Ne laissez pas l'herbe et la terre s'accumuler à l'intérieur, car la qualité de la tonte finira par en souffrir.
Utilisez une lame bien aiguisée durant toute la saison de coupe, pour obtenir une coupe nette sans arracher ni déchiqueter les brins d'herbe. L'herbe arrachée ou déchiquetée brunit sur les bords, sa croissance ralentit et elle devient plus sensible aux maladies. Après chaque utilisation, vérifiez l'état, l'usure et l'affûtage des lames. Limez les entailles éventuelles et aiguisez les lames selon les besoins. Remplacez immédiatement les lames endommagées ou usées par des lames Toro d'origine.
Garez la machine sur une surface plane et horizontale, débrayez toutes les commandes, serrez le frein de stationnement, coupez le moteur et enlevez la clé ou débranchez le fil de la bougie. Attendez l'arrêt complet de toutes les pièces mobiles et laissez refroidir la machine avant de la régler, la nettoyer, la réparer ou la remiser. Ne confiez jamais l'entretien de la machine à des personnes non qualifiées.
Nettoyez la machine comme expliqué à la section Entretien. Ne laissez pas l'herbe, les feuilles, la graisse ou l'huile, et autres débris s'accumuler sur et autour du moteur. Ces matériaux peuvent s'enflammer et causer un incendie.
Vérifiez fréquemment que la machine ne comporte aucun composant usé ou détérioré qui pourrait présenter un danger. Resserrez les fixations desserrées.
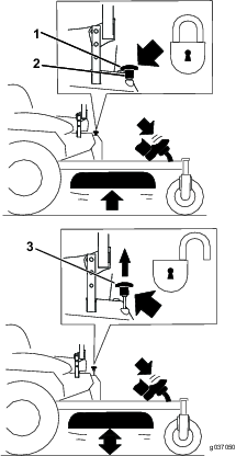
Fermez le robinet d'arrivée de carburant pour transporter, réviser ou remiser la machine (Figure 32).
Vérifiez que le robinet d'arrivée de carburant est ouvert avant de démarrer le moteur.


Les mains peuvent se coincer dans les composants d'entraînement en rotation situés sous le plancher moteur, et subir des blessures graves.
Coupez le moteur, enlevez la clé et attendez l'arrêt de toutes les pièces mobiles avant d'accéder aux valves de déblocage des roues motrices.
Le moteur et les entraînements hydrauliques peuvent devenir très chauds. Vous pouvez vous brûler gravement si vous touchez le moteur ou les entraînements hydrauliques quand ils sont chauds.
Laissez refroidir complètement le moteur et les entraînements hydrauliques avant d'accéder aux valves de déblocage des roues motrices.
Les valves de déblocage des roues motrices sont situées à gauche et à droite sous le plancher moteur.
Garez la machine sur un sol plat et horizontal, désengagez la commande des lames et serrez le frein de stationnement.
Avant de quitter la position d'utilisation, coupez le moteur, retirez la clé de contact et attendez l'arrêt complet de toutes les pièces mobiles.
Localisez les leviers de dérivation derrière le siège, à droite et à gauche du cadre.
Pour pousser la machine, déplacez les boutons de dérivation vers l'arrière et bloquez-les en place (Figure 33).
Desserrez le frein de stationnement avant de pousser la machine.

Pour faire fonctionner la machine, amenez les boutons de dérivation en position AVANT et verrouillez-les en place (Figure 33).
Transportez la machine sur une remorque de poids-lourd ou un camion. Utilisez une rampe d'une seule pièce. Le camion ou la remorque doit être équipé(e) des freins, des éclairages et de la signalisation exigés par la loi. Lisez attentivement toutes les consignes de sécurité. Tenez-en compte pour éviter de vous blesser ou de blesser des personnes à proximité. Reportez-vous aux ordonnances locales concernant les exigences d'arrimage et de remorquage.
Il est dangereux de conduire sur la voie publique sans clignotants, éclairages, réflecteurs ou panneau « véhicule lent ». Vous risquez de provoquer un accident et de vous blesser.
Ne conduisez pas la machine sur la voie publique.
Le chargement de la machine sur une remorque ou un camion augmente le risque de basculement, et donc de blessures graves ou mortelles (Figure 34).
Utilisez uniquement une rampe d'une seule pièce ; n'utilisez pas de rampes individuelles de chaque côté de la machine.
Ne dépassez pas un angle de 15 degrés entre la rampe et le sol ou entre la rampe et la remorque ou le camion.
La rampe doit être au moins 4 fois plus longue que la hauteur de la remorque ou du plateau du camion par rapport au sol. Ainsi, l'angle de la rampe ne dépassera pas 15 degrés par rapport au sol plat.

Le chargement de la machine sur une remorque ou un camion augmente le risque de basculement, et donc de blessures graves ou mortelles.
Procédez avec la plus grande prudence lorsque vous manÅ“uvrez la machine sur une rampe.
Faites monter la machine sur la rampe en marche arrière et descendez en marche avant.
Évitez d'accélérer ou de décélérer brutalement lorsque vous conduisez la machine sur une rampe car vous pourriez en perdre le contrôle ou la renverser.
Si vous utilisez une remorque, fixez-la au véhicule tracteur et attachez les chaînes de sécurité.
Le cas échéant, raccordez les freins et connectez l'éclairage de la remorque.
Abaissez la rampe pour que l'angle avec le sol ne dépasse pas 15 degrés (Figure 34).
Montez la rampe en marche arrière (Figure 35).

Coupez le moteur, enlevez la clé et serrez le frein de stationnement.
Arrimez la machine près des roues pivotantes avant et du pare-chocs arrière à l'aide de sangles, chaînes, câbles ou cordes (Figure 36). Reportez-vous à la réglementation locale concernant les exigences d'arrimage.

Quelqu'un pourrait mettre le moteur en marche pendant l'entretien ou les réglages. Le démarrage accidentel du moteur pourrait vous blesser gravement ou blesser des personnes à proximité.
Avant de procéder à un quelconque entretien, enlevez la clé de contact, serrez le frein de stationnement et débranchez le fil de la ou des bougies. Écartez le fil pour éviter tout contact accidentel avec la ou les bougies.
Le moteur peut devenir très chaud. Vous pouvez vous brûler gravement à son contact.
Attendez que le moteur soit complètement froid avant d'effectuer des entretiens ou des réparations à proximité du moteur.
Garez la machine sur une surface plane et horizontale, débrayez toutes les commandes, serrez le frein de stationnement, coupez le moteur et enlevez la clé ou débranchez le fil de la bougie. Attendez l'arrêt complet de toutes les pièces mobiles et laisser refroidir la machine avant de la régler, la nettoyer ou la réparer. Ne confiez jamais l'entretien de la machine à des personnes non qualifiées.
Débranchez la batterie ou le fil de bougie avant d'entreprendre des réparations. Débranchez toujours la borne négative de la batterie avant la borne positive. Rebranchez toujours la borne positive avant la borne négative.
Maintenez la machine, les protections, les capots et tous les dispositifs de sécurité en place et en bon état. Contrôlez fréquemment l'usure ou la détérioration des composants et remplacez-les au besoin par des pièces recommandées par le fabricant.
Le retrait de pièces et/ou d'accessoires d'origine peut modifier la garantie, la maniabilité et la sécurité de la machine. Les modifications non autorisées du matériel d'origine ou l'utilisation de pièces autres que des pièces Toro d'origine peuvent entraîner des blessures graves ou mortelles. Toute modification non autorisée de la machine, du moteur, du système d'alimentation ou de dégazage peut contrevenir aux normes de sécurité telles que ANSI, OSHA et NFPA et/ou à la réglementation gouvernementale telle EPA et CARB.
Les fuites de liquide hydraulique sous pression peuvent transpercer la peau et causer des blessures graves. L'injection de liquide sous la peau nécessite une intervention chirurgicale dans les heures qui suivent l'accident, réalisée par un médecin connaissant ce genre de blessure, pour éviter le risque de gangrène.
Le cas échéant, vérifiez l'état de tous les flexibles et conduites hydrauliques, ainsi que le serrage de tous les raccords et branchements, avant de mettre le système hydraulique sous pression.
N'approchez pas les mains ni aucune autre partie du corps des fuites en trou d'épingle ou des gicleurs d'où sort du liquide hydraulique sous haute pression.
Utilisez un morceau de papier ou de carton pour détecter les fuites, jamais les mains.
Évacuez soigneusement toute la pression du système hydraulique en plaçant les leviers de commande de déplacement au point mort et en coupant le moteur avant toute intervention sur le système hydraulique.
Les composants du circuit d'alimentation sont soumis à une pression élevée. L'utilisation de composants non conformes peut causer une panne du système d'alimentation, une fuite de carburant et même une explosion.
Utilisez uniquement des conduites et des filtres à carburant homologués pour les systèmes à haute pression.
Examinez les lames avec prudence. Manipulez toujours les lames avec des gants ou en les enveloppant dans un chiffon, et toujours avec prudence. Remplacez uniquement les lames défectueuses. N'essayez jamais de les redresser ou de les souder.
Utilisez des chandelles pour soutenir la machine et/ou ses composants au besoin.
Ne vous fiez pas uniquement à des crics mécaniques ou hydrauliques pour soulever la machine aux fins d'entretien ou de révision, cela pourrait être dangereux. Ils peuvent ne pas offrir un soutien suffisant ou peuvent lâcher et faire retomber la machine, et causer ainsi des blessures.
Ne vous fiez pas uniquement à des crics mécaniques ou hydrauliques comme soutien. Utilisez des chandelles adéquates ou un support équivalent.
Libérez la pression emmagasinée dans les composants avec précaution.
N'approchez jamais les mains ou les pieds des pièces mobiles. Dans la mesure du possible, n'effectuez pas de réglages moteur en marche. Si la procédure d'entretien ou de réglage exige que le moteur tourne et que des composants se déplacent, faites preuve d'une extrême prudence.
Les pièces mobiles et les surfaces brûlantes peuvent causer des blessures.
N'approchez pas les doigts, les mains ou les vêtements des pièces rotatives et des surfaces chaudes.
Vérifiez fréquemment le couple de serrage de tous les boulons.
| Périodicité d'entretien | Procédure d'entretien |
|---|---|
| Après les 5 premières heures de fonctionnement |
|
| Après les 75 premières heures |
|
| À chaque utilisation ou une fois par jour |
|
| Toutes les 25 heures |
|
| Toutes les 50 heures |
|
| Toutes les 100 heures |
|
| Toutes les 200 heures |
|
| Toutes les 250 heures |
|
| Toutes les 500 heures |
|
| Chaque mois |
|
| Une fois par an ou avant le remisage |
|
Si vous laissez la clé dans le commutateur d'allumage, quelqu'un pourrait mettre le moteur en marche accidentellement et vous blesser gravement, ainsi que toute personne à proximité.
Coupez le moteur et enlevez la clé du commutateur avant d'effectuer des entretiens.
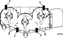
Desserrez le boulon supérieur du rideau pour débloquer ce dernier et accéder au sommet du plateau de coupe (Figure 37). Resserrez le boulon de fixation du rideau une fois l'entretien terminé.

Desserrez les 2 boulons avant et déposez la tôle de protection pour accéder aux courroies et aux axes du plateau de coupe (Figure 38). Une fois l'entretien terminé, reposez la tôle de protection et serrez les boulons.

| Périodicité d'entretien | Procédure d'entretien |
|---|---|
| Toutes les 25 heures |
|
| Toutes les 50 heures |
|
Graissez la machine plus fréquemment s'il y a beaucoup de poussière ou de saleté.
Type de graisse : graisse nº 2 au lithium ou au molybdène.
Garez la machine sur un sol plat et horizontal, désengagez la commande des lames et serrez le frein de stationnement ; voir Serrage du frein de stationnement.
Avant de quitter la position d'utilisation, coupez le moteur, retirez la clé de contact et attendez l'arrêt complet de toutes les pièces mobiles.
Nettoyez les graisseurs avec un chiffon.
Note: Grattez la peinture qui pourrait se trouver sur l'avant des graisseurs.
Injectez 1 à 2 jets de graisse dans le pivot de la poulie de tension de la pompe (Figure 39).
Graissez les axes des roues pivotantes avant (Figure 39).

Essuyez tout excès de graisse.
Coupez le moteur avant de contrôler le niveau d'huile ou d'ajouter de l'huile dans le carter.
Gardez les mains, les pieds, le visage et toute autre partie du corps ainsi que les vêtements à l'écart du silencieux et autres surfaces brûlantes.
| Périodicité d'entretien | Procédure d'entretien |
|---|---|
| À chaque utilisation ou une fois par jour |
|
| Toutes les 25 heures |
|
| Toutes les 100 heures |
|
| Toutes les 200 heures |
|
Note: Nettoyez le filtre à air plus fréquemment si vous travaillez dans des conditions très poussiéreuses ou sableuses.
Garez la machine sur un sol plat et horizontal, désengagez la commande des lames (PDF) et serrez le frein de stationnement.
Avant de quitter la position d'utilisation, coupez le moteur, retirez la clé de contact et attendez l'arrêt complet de toutes les pièces mobiles.
Nettoyez la surface autour du couvercle du filtre à air pour éviter que des impuretés ne s'introduisent dans le moteur et l'endommagent.
Soulevez le couvercle et dévissez le filtre à air pour le déposer du moteur (Figure 40).


Séparez l'élément en mousse de l'élément en papier (Figure 41).

Lavez l'élément en mousse dans de l'eau chaude additionnée de savon liquide. Rincez soigneusement l'élément une fois propre.
Séchez l'élément en le pressant dans un chiffon propre.
Important: Remplacez l'élément en mousse s'il est usé ou déchiré.
Tapez doucement sur l'élément en papier pour faire tomber la poussière.
Note: Ne lavez pas l'élément en papier et ne le nettoyez pas à l'air comprimé, cela pourrait l'endommager.
Note: Remplacez l'élément s'il est encrassé, déformé ou endommagé. Manipulez le nouvel élément avec précaution ; ne l'utilisez pas si la surface du joint est pliée ou endommagée.
Nettoyez la base du filtre à air au besoin et vérifiez qu'elle est en bon état.
Placez l'élément en mousse par dessus l'élément en papier.
Note: Veillez à ne pas endommager les éléments.
Placez les trous du filtre et face des orifices du collecteur.
Tournez le filtre vers le bas dans la chambre et appuyez-le parfaitement contre le collecteur (Figure 42).

Fermez le couvercle.
| Périodicité d'entretien | Procédure d'entretien |
|---|---|
| Après les 5 premières heures de fonctionnement |
|
| À chaque utilisation ou une fois par jour |
|
| Toutes les 100 heures |
|
Type d'huile : huile détergente (classe de service API SF, SG, SH, SJ ou SL)
Capacité du carter : 2,4 litres avec filtre à huile
Viscosité : voir le tableau ci-dessous.

Note: Contrôlez le niveau d'huile quand le moteur est froid.
Important: Ne faites pas tourner le moteur avec un carter d'huile trop ou pas assez rempli, sous peine d'endommager le moteur.
Garez la machine sur un sol plat et horizontal, désengagez la commande des lames (PDF) et serrez le frein de stationnement.
Avant de quitter la position d'utilisation, coupez le moteur, retirez la clé de contact et attendez l'arrêt complet de toutes les pièces mobiles.
Note: Laissez refroidir le moteur pour donner le temps à l'huile de s'écouler dans le carter.
Pour éviter de faire tomber de l'herbe, de la poussière, etc. dans le moteur, nettoyez la surface autour du bouchon de remplissage et de la jauge de niveau avant de l'enlever (Figure 44).


Garez la machine sur une surface plane et horizontale pour que la boîte-pont puisse se vider entièrement.
Désengagez la commande des lames (PDF) et serrez le frein de stationnement.
Avant de quitter la position d'utilisation, coupez le moteur, retirez la clé de contact et attendez l'arrêt complet de toutes les pièces mobiles.
Vidangez l'huile moteur.


Remplacez le filtre à huile moteur (Figure 46).
Note: Assurez-vous que le joint du filtre à huile touche le moteur puis vissez-le encore de trois quarts de tour.

Versez lentement environ 80 % de l'huile spécifiée dans le tube de remplissage, puis faites l'appoint lentement jusqu'à ce que le niveau atteigne le repère maximum (Full) (Figure 47).

Débarrassez-vous de l'huile usagée dans un centre de recyclage.
| Périodicité d'entretien | Procédure d'entretien |
|---|---|
| Toutes les 100 heures |
|
| Toutes les 200 heures |
|
Avant de monter une bougie, assurez-vous que l'écartement entre l'électrode centrale et l'électrode latérale est correct. Utilisez une clé à bougies pour déposer et reposer les bougies, et une jauge d'épaisseur pour contrôler et régler l'écartement des électrodes. Remplacez la bougie au besoin.
Type : Champion® RN9YC ou NGK® BPR6ES
Écartement des électrodes : 0,76 mm
Garez la machine sur un sol plat et horizontal, désengagez la commande des lames (PDF) et serrez le frein de stationnement.
Avant de quitter la position d'utilisation, coupez le moteur, retirez la clé de contact et attendez l'arrêt complet de toutes les pièces mobiles.
Nettoyez la surface autour de la base de la bougie pour empêcher la poussière et les débris de pénétrer dans le moteur.
Localisez et déposez la ou les bougies, comme montré à la Figure 48.


Important: Ne nettoyez pas la ou les bougies. Remplacez toujours les bougies si elles sont recouvertes d'un dépôt noir ou d'une couche grasse, si elles sont fissurées ou si les électrodes sont usées.
Si le bec isolant est recouvert d'un léger dépôt gris ou brun, le moteur fonctionne correctement. S'il est couvert d'un dépôt noir, c'est généralement signe que le filtre à air est encrassé.
Réglez l'écartement des électrodes à 0,76 mm.


| Périodicité d'entretien | Procédure d'entretien |
|---|---|
| À chaque utilisation ou une fois par jour |
|
Garez la machine sur un sol plat et horizontal, désengagez la commande des lames (PDF) et serrez le frein de stationnement.
Avant de quitter la position d'utilisation, coupez le moteur, retirez la clé de contact et attendez l'arrêt complet de toutes les pièces mobiles.
Déposez le filtre à air du moteur.
Déposez le capot du moteur.
Pour empêcher les débris de pénétrer dans l'admission d'air, montez le filtre à air sur sa base.
Débarrassez les pièces de l'herbe et des débris accumulés.
Déposez le filtre à air et posez le carénage du moteur.
Posez le filtre à air.
| Périodicité d'entretien | Procédure d'entretien |
|---|---|
| Toutes les 50 heures |
|
Les composants chauds du système d'échappement peuvent enflammer les vapeurs de carburant, même après l'arrêt du moteur. Les particules chaudes rejetées quand le moteur est en marche peuvent enflammer les matières inflammables et entraîner des dommages corporels ou matériels.
Ne faites pas le plein de carburant et ne faites pas tourner le moteur si le pare-étincelles n'est pas en place.
Garez la machine sur un sol plat et horizontal, désengagez la PDF et serrez le frein de stationnement.
Avant de quitter la position d'utilisation, coupez le moteur, retirez la clé de contact et attendez l'arrêt complet de toutes les pièces mobiles.
Attendez que le silencieux soit froid.
Si vous constatez des fissures de la grille ou des soudures, remplacez le pare-étincelles.
Si vous constatez que la grille est bouchée, déposez le pare-étincelles et agitez-le pour détacher les particules, puis nettoyez la grille avec une brosse métallique (faites-tremper dans un solvant au besoin).
Reposez le pare-étincelles sur la sortie d'échappement.
| Périodicité d'entretien | Procédure d'entretien |
|---|---|
| Toutes les 500 heures |
|
Garez la machine sur un sol plat et horizontal, désengagez la commande des lames (PDF) et serrez le frein de stationnement.
Avant de quitter la position d'utilisation, coupez le moteur, retirez la clé de contact et attendez l'arrêt complet de toutes les pièces mobiles.
Déposez le filtre du flexible d'évent.
Insérez un filtre neuf au bout du flexible d'évent.
Dans certaines circonstances, le carburant est extrêmement inflammable et hautement explosif. Un incendie ou une explosion par du carburant peut vous brûler, ainsi que les personnes se tenant à proximité, et causer des dommages matériels.
Vous trouverez une liste complète des consignes de sécurité liées au carburant sous Ajout de carburant.
| Périodicité d'entretien | Procédure d'entretien |
|---|---|
| Toutes les 500 heures |
|
Important: Rebranchez les flexibles de carburant et fixez-les aux emplacements d'origine avec les attaches en plastique pour maintenir la tuyauterie d'alimentation à l'écart des composants susceptibles de l'endommager.
Le filtre à carburant est situé près du moteur, sur le côté avant gauche.
Garez la machine sur un sol plat et horizontal, désengagez la commande des lames (PDF) et serrez le frein de stationnement.
Avant de quitter la position d'utilisation, coupez le moteur, retirez la clé de contact et attendez l'arrêt complet de toutes les pièces mobiles.
Laissez refroidir la machine.
Fermez le robinet d'arrivée de carburant sous le siège.
Remplacez le filtre à carburant (Figure 51).
Note: Les repères sur le filtre doivent être dirigés dans le sens d’écoulement du carburant.

Ouvrez le robinet d'arrivée de carburant.
N'essayez pas de vidanger le réservoir de carburant. Demandez à un concessionnaire-réparateur agréé de vidanger le réservoir de carburant et d'effectuer l'entretien de tous les composants associés au circuit d'alimentation.
Débranchez la batterie avant de réparer la machine. Débranchez toujours la borne négative de la batterie avant la borne positive. Rebranchez la borne positive avant la borne négative.
Chargez la batterie dans un endroit dégagé et bien aéré, à l'écart des flammes ou sources d'étincelles. Débranchez le chargeur du secteur avant de brancher ou de débrancher la batterie. Portez des vêtements de protection et utilisez des outils isolés.
| Périodicité d'entretien | Procédure d'entretien |
|---|---|
| Chaque mois |
|
Les bornes de la batterie ou les outils en métal peuvent causer des courts-circuits au contact des pièces métalliques de la machine et produire des étincelles. Les étincelles peuvent provoquer l'explosion des gaz de la batterie et vous blesser.
Lors du retrait ou de la mise en place de la batterie, les bornes ne doivent toucher aucune partie métallique de la machine.
Évitez de créer des courts-circuits entre les bornes de la batterie et les parties métalliques de la machine avec des outils en métal.
Si les câbles de la batterie ne sont pas débranchés correctement, la machine et les câbles peuvent être endommagés et produire des étincelles. Les étincelles peuvent provoquer l'explosion des gaz de la batterie et vous blesser.
Débranchez toujours le câble négatif (noir) de la batterie avant le câble positif (rouge).
Connectez toujours le câble positif (rouge) de la batterie avant le câble négatif (noir).
Garez la machine sur un sol plat et horizontal, désengagez la commande des lames (PDF) et serrez le frein de stationnement.
Avant de quitter la position d'utilisation, coupez le moteur, retirez la clé de contact et attendez l'arrêt complet de toutes les pièces mobiles.
Retirez la batterie, comme montré à la Figure 52.


La batterie en charge produit des gaz susceptibles d'exploser.
Ne fumez jamais et gardez la batterie éloignée des flammes et sources d'étincelles.
Important: Gardez toujours la batterie chargée au maximum (densité 1,265). Cela est particulièrement important pour prévenir la dégradation de la batterie si la température tombe en dessous de 0 ºC.
Retirez la batterie du châssis ; voir Dépose de la batterie.
Chargez la batterie pendant 10 à 15 minutes entre 25 et 30 A, ou pendant 30 minutes à 10 A.
Note: Ne chargez pas la batterie excessivement.
Quand la batterie est chargée au maximum, débranchez le chargeur de la prise, puis débranchez les fils du chargeur des bornes de la batterie (Figure 53).
Placez la batterie dans la machine et raccordez les câbles de la batterie ; voir Mise en place de la batterie.
Note: N'utilisez pas la machine si la batterie n'est pas branchée, au risque d'endommager le circuit électrique.

Placez la batterie dans son support en tournant les bornes à l'opposé du réservoir hydraulique (Figure 52).
Branchez le câble positif (rouge) de la batterie à la borne positive (+).
Branchez le câble négatif (noir) et le câble de masse à la borne négative (-) de la batterie.
Note: Sur les machines MyRide, assurez-vous que le câble de masse ne frotte pas contre le bras tiré ou le support d'amortisseur inférieur (Figure 55).

Fixez les câbles avec 2 boulons, 2 rondelles et 2 contre-écrous (Figure 52).
Placez le capuchon rouge sur la borne positive (+) de la batterie.
Fixez la batterie en place à l'aide de la sangle en caoutchouc (Figure 52).
Le système électrique est protégé par des fusibles. Il ne nécessite donc aucun entretien. Toutefois, si un fusible grille, vérifiez l'état de la pièce et du circuit et assurez-vous qu'il n'y a pas de court-circuit.
Les fusibles sont situés sur la console droite, près du siège (Figure 55).
Pour remplacer un fusible, tirez dessus pour l'enlever.
Remplacez le fusible (Figure 55).

| Périodicité d'entretien | Procédure d'entretien |
|---|---|
| À chaque utilisation ou une fois par jour |
|
Vérifiez que la ceinture de sécurité n'est pas usée ni entaillée, et que l'enrouleur et la boucle fonctionnent correctement. Remplacez la ceinture de sécurité si elle est endommagée.
| Périodicité d'entretien | Procédure d'entretien |
|---|---|
| À chaque utilisation ou une fois par jour |
|
Pour éviter de vous blesser, parfois mortellement, en cas de retournement de la machine, gardez l'arceau de sécurité complètement relevé et bloqué dans cette position, et attachez la ceinture de sécurité.
Le siège doit être bien fixé sur la machine.
Vérifiez que les fixations et les boutons sont en bon état.
Les boutons doivent être complètement engagés quand l'arceau de sécurité est relevé.
Note: Il faut parfois pousser en avant ou tirer en arrière la partie supérieure de l'arceau de sécurité pour engager complètement les deux boutons (Figure 56 et Figure 57).


Désengagez la commande de la lame (PDF).
Conduisez la machine jusqu'à une surface plane et dégagée, et amenez les leviers de commande de déplacement en position de VERROUILLAGE AU POINT MORT.
Placez la commande d'accélérateur à mi-course entre les positions HAUT RéGIME et BAS RéGIME.
Poussez les leviers de commande de déplacement en avant jusqu'à la butée dans la fente en T.
Vérifiez de quel côté la machine se déporte.
Si la machine se déporte à droite, insérez une clé hexagonale de 3/16 pouce dans le trou d’accès du panneau de couvercle avant droit et tournez la vis de réglage de l'alignement dans le sens horaire ou antihoraire pour ajuster la course du levier (Figure 58).
Si la machine se déporte à gauche, insérez une clé hexagonale de 3/16 pouce dans le trou d’accès du panneau de couvercle avant droit et tournez la vis de réglage de l'alignement dans le sens horaire ou antihoraire pour ajuster la course du levier (Figure 58).
Conduisez la machine et contrôlez l'alignement en position avant maximale.
Répétez la procédure de réglage jusqu'à ce que l'alignement soit correct.

| Périodicité d'entretien | Procédure d'entretien |
|---|---|
| Toutes les 50 heures |
|
Les pneus avant et arrière doivent être gonflés à 0,9 bar. Les pneus mal gonflés peuvent compromettre la qualité et l'uniformité de la coupe. Contrôlez la pression lorsque les pneus sont froids pour obtenir un résultat plus précis.

Contrôlez et serrez les écrous de roue à un couple de 122 à 136 N·m.
| Périodicité d'entretien | Procédure d'entretien |
|---|---|
| À chaque utilisation ou une fois par jour |
|
Avant chaque utilisation, enlevez l'herbe, les saletés et autres débris éventuellement accumulés sur la protection du moteur, l'échappement et la zone autour du moteur. Cela permet d'assurer un refroidissement et un régime moteur corrects, et réduit les risques de surchauffe et de dommages mécaniques au moteur.
| Périodicité d'entretien | Procédure d'entretien |
|---|---|
| Toutes les 500 heures |
|
Note: Suivez cette procédure lorsque vous déposez ou remplacez un composant du frein.
Garez la machine sur un sol plat et horizontal, désengagez la commande des lames (PDF) et serrez le frein de stationnement.
Avant de quitter la position d'utilisation, coupez le moteur, retirez la clé de contact et attendez l'arrêt complet de toutes les pièces mobiles.
Préparez la machine pour la pousser manuellement. Voir Utilisation des valves de déblocage des roues motrices.
Soulevez l'arrière de la machine et soutenez-le avec des chandelles.
Ne vous fiez pas uniquement à des crics mécaniques ou hydrauliques pour soutenir la machine soulevée aux fins d'entretien ou de révision, cela pourrait être dangereux. En effet, les crics peuvent ne pas assurer un soutien suffisant ou peuvent lâcher et laisser retomber la machine, ce qui peut entraîner de graves blessures.
Ne vous fiez pas uniquement à des crics mécaniques ou hydrauliques comme soutien. Utilisez des chandelles adéquates ou un support équivalent.
Serrez et desserrez le frein de stationnement et vérifiez que le frein se serre et se desserre sur chaque roue.
Si un réglage est nécessaire, desserrez le frein de stationnement. Retirez la goupille fendue de l'axe de la tringlerie de frein (Figure 60).

Contrôlez les deux longueurs de ressort comme montré à la Figure 61. Si un réglage est nécessaire, tournez l'écrou supérieur dans le sens horaire pour raccourcir le ressort, et dans le sens antihoraire pour l'allonger.

Poussez le levier du frein de stationnement complètement en avant et vers le bas.
Tournez l'axe de la tringlerie de frein jusqu'à ce que l'extrémité soit en face du trou dans le levier.
Raccourcissez la tringlerie en la tournant dans le sens horaire.
Allongez la tringlerie en la tournant dans le sens antihoraire.
Insérez l'axe du bras de la tringlerie de frein dans le trou du frein de stationnement et fixez-la avec la goupille fendue. Répétez l'opération 5 et effectuez un nouveau réglage au besoin.
Lorsque le réglage est terminé, retirez les chandelles ou le support équivalent utilisé, et abaissez la machine.
Placez la machine en position d'UTILISATION. Voir Utilisation des valves de déblocage des roues motrices.
| Périodicité d'entretien | Procédure d'entretien |
|---|---|
| Toutes les 50 heures |
|
Remplacez les courroies si elles sont usées. Les courroies peuvent montrer les signes d'usure suivants : grincement pendant la rotation, glissement des lames pendant la coupe, bords effilochés, traces de brûlures et fissures.
Garez la machine sur un sol plat et horizontal, désengagez la commande des lames (PDF) et serrez le frein de stationnement.
Avant de quitter la position d'utilisation, coupez le moteur, retirez la clé de contact et attendez l'arrêt complet de toutes les pièces mobiles.
Abaissez le plateau de coupe à la hauteur de 76 mm.
Desserrez le boulon sur chaque couvercle de courroie.
Desserrez le boulon inférieur qui fixe le rideau au plateau de coupe ; voir Relâchement du panneau de protection du plateau de coupe.
Déposez la tôle de protection ; voir Dépose de la tôle de protection.
Déposez les couvercles de courroies ainsi que les boulons qui sont fixés dessus (Figure 62).

Détachez le ressort de la poulie de tension rappelée par ressort. Voir Figure 64.
Note: Utilisez l'outil de dépose de ressort (réf. Toro 92-5771) pour décrocher le ressort du tenon sur le plateau de coupe (Figure 64).
Retirez la courroie des poulies du plateau de coupe et de la poulie d'embrayage.
Acheminez la courroie neuve autour des poulies du plateau de coupe et de la poulie d'embrayage, sous le moteur (Figure 63).


Montez le ressort de la poulie de tension (Figure 63).
Note: Engagez les extrémités du ressort dans les rainures d'ancrage.
Reposez les couvercles de courroies ainsi que les boulons qui sont fixés dessus (Figure 65).

Reposez la tôle de protection ; voir Dépose de la tôle de protection.
Resserrez le boulon inférieur qui fixe le rideau au plateau de coupe ; voir Relâchement du panneau de protection du plateau de coupe.
Garez la machine sur un sol plat et horizontal, désengagez la commande des lames (PDF) et serrez le frein de stationnement.
Avant de quitter la position d'utilisation, coupez le moteur, retirez la clé de contact et attendez l'arrêt complet de toutes les pièces mobiles.
Déposez la courroie du plateau de coupe ; voir Remplacement de la courroie du plateau de coupe .
Soulevez la machine sur des chandelles (Figure 67).
Déposez butée d'embrayage (Figure 66).

Décrochez le ressort de la poulie de tension de son montant (Figure 67).
Retirez la courroie existante des poulies d'entraînement de la pompe hydraulique et de la poulie du moteur.
Placez une courroie neuve sur la poulie du moteur et des 2 poulies d'entraînement de la pompe hydraulique (Figure 67).

Reposez butée d'embrayage (Figure 66).
Reposez la courroie du plateau de coupe ; voir Entretien des courroies.
Si les extrémités des leviers se rencontrent, voir Réglage de la timonerie de commande de déplacement.
Vous pouvez régler la hauteur des leviers de commande de déplacement de manière à obtenir un confort maximum.
Garez la machine sur un sol plat et horizontal, désengagez la commande des lames (PDF) et serrez le frein de stationnement.
Avant de quitter la position d'utilisation, coupez le moteur, retirez la clé de contact et attendez l'arrêt complet de toutes les pièces mobiles.
Retirez les boulons qui fixent le levier de commande à l'arbre du bras de commande.

Placez le levier de commande dans les trous suivants. Fixez le levier avec les boulons.
Répétez la procédure pour le levier de commande opposé.
Garez la machine sur un sol plat et horizontal, désengagez la commande des lames (PDF) et serrez le frein de stationnement.
Avant de quitter la position d'utilisation, coupez le moteur, retirez la clé de contact et attendez l'arrêt complet de toutes les pièces mobiles.
Desserrez le boulon supérieur qui fixe le levier de commande à l'arbre du bras de commande.
Desserrez le boulon inférieur jusqu'à ce qu'il soit possible de pivoter le levier de commande en avant ou en arrière. Serrez les deux boulons pour fixer la commande à sa nouvelle position.
Répétez la procédure pour le levier de commande opposé.

Les tringleries de commande de la pompe sont situées de chaque côté de la machine, sous le siège. Tournez l'écrou d'extrémité avec une clé à douille de 1/2 pouce pour effectuer des réglages extrêmement précis afin d'empêcher la machine de bouger quand elle est au point mort. Les réglages doivent seulement être effectués pour le positionnement du point mort.
Le moteur doit tourner et les roues motrices doivent tourner pour pouvoir effectuer les réglages. Les pièces mobiles et les surfaces brûlantes peuvent causer des blessures.
N'approchez pas les doigts, les mains ou les vêtements des pièces rotatives et des surfaces chaudes.
Garez la machine sur un sol plat et horizontal, désengagez la commande des lames (PDF) et serrez le frein de stationnement.
Avant de quitter la position d'utilisation, coupez le moteur, retirez la clé de contact et attendez l'arrêt complet de toutes les pièces mobiles.
Appuyez sur la pédale de levage du plateau de coupe, enlevez la goupille de hauteur de coupe et abaissez le plateau au sol.
Soulevez l'arrière de la machine juste assez pour permettre aux roues motrices de tourner librement et placez des chandelles (ou des supports équivalents) sous la machine.
Débranchez les connexions électriques du contacteur de sécurité du siège situé sous le coussin d'assise du siège.
Note: Le contacteur est intégré au siège.
Reliez temporairement un fil volant aux bornes du connecteur du faisceau de câblage principal.
Démarrez le moteur, faites-le tourner à plein régime et desserrez le frein de stationnement.
Note: Avant de démarrer le moteur, serrez le frein de stationnement et poussez les leviers de commande de déplacement vers l'extérieur. Il n'est pas nécessaire d'être assis sur le siège.
Laissez tourner le moteur 5 minutes au moins avec les leviers de commande en position de vitesse maximale en marche avant pour amener l'huile hydraulique à la température de service.
Note: Les leviers de commande de déplacement doit être au point mort quand vous effectuez les réglages.
Amenez les leviers de commande de déplacement au POINT MORT.
Les languettes de la plaque de commande doivent toucher les plaques de retour au point mort sur les unités hydrauliques.
Réglez la longueur des tiges de commande des pompes en tournant l'écrou dans le sens voulu jusqu'à ce que les roues tournent légèrement en marche arrière (voir (Figure 70).

Amenez les leviers de commande de déplacement en position MARCHE ARRIèRE et, tout en appuyant légèrement sur les leviers, laissez les ressorts d'indicateur de marche arrière ramener les leviers au point mort.
Note: Les roues doivent s'arrêter de tourner ou tourner légèrement en arrière.
Note: Vous devrez peut-être déposer le couvercle de la commande de déplacement pour y accéder.
Coupez le moteur.
Débranchez le fil volant du faisceau de câblage et branchez le connecteur au contacteur du siège.
Retirez les chandelles.
Élevez le plateau de coupe et remettez la goupille de hauteur de coupe en place.
Assurez-vous que la machine ne se déplace pas au point mort quand le frein de stationnement est desserré.
Consultez immédiatement un médecin en cas d'injection de liquide sous la peau. Toute injection de liquide hydraulique sous la peau doit être éliminée dans les quelques heures qui suivent par une intervention chirurgicale réalisée par un médecin.
Vérifiez l'état de tous les flexibles et toutes les conduites hydrauliques, ainsi que le serrage de tous les raccords et branchements avant de mettre le système hydraulique sous pression.
N'approchez pas les mains ni aucune autre partie du corps des fuites en trou d'épingle ou des gicleurs d'où sort du liquide hydraulique sous haute pression.
Utilisez un morceau de papier ou de carton pour détecter les fuites.
Évacuez avec précaution toute la pression du système hydraulique avant toute intervention sur le système.
Type de liquide hydraulique : Toro® HYPR-OIL™ 500 ou Mobil® 1 15W-50.
Important: Utilisez le liquide spécifié. Tout autre liquide risque d'endommager le système hydraulique.
Capacité du système hydraulique (sans les filtres) : 4,45 l
| Périodicité d'entretien | Procédure d'entretien |
|---|---|
| À chaque utilisation ou une fois par jour |
|
Laissez refroidir le liquide hydraulique. Vérifiez le niveau d'huile à froid.
Vérifiez le niveau dans le vase d'expansion et faites l'appoint d'huile Toro® HYPR-OIL™ 500 au besoin pour faire monter le niveau jusqu'au repère maximum à froid (FULL COLD).

| Périodicité d'entretien | Procédure d'entretien |
|---|---|
| Après les 75 premières heures |
|
| Toutes les 250 heures |
|
| Toutes les 500 heures |
|
Vous devez déposer les filtres pour effectuer la vidange du liquide hydraulique. Remplacez les deux en même temps ; voir Dépose des filtres du système hydraulique pour connaître le liquide spécifié.
Purgez l'air du système après avoir remplacé les filtres et fait l'appoint de liquide. Voir Purge du système hydraulique. Répétez la procédure de purge jusqu'à ce que le liquide reste au niveau du repère MAXIMUM à FROID dans le vase d'expansion après la purge. Si cette procédure n'est pas effectuée correctement, la transmission de la boîte-pont peut être endommagée irrémédiablement.
Garez la machine sur un sol plat et horizontal, désengagez la commande des lames (PDF) et serrez le frein de stationnement.
Avant de quitter la position d'utilisation, coupez le moteur, retirez la clé de contact et attendez l'arrêt complet de toutes les pièces mobiles.
Laissez refroidir le moteur.
Trouvez le filtre et les protections sur chaque transmission de la boîte-pont (Figure 72).
Retirez les 3 vis de fixation de la protection et enlevez la protection (Figure 72).

Nettoyez soigneusement la zone autour des filtres.
Important: Ne faites pas pénétrer d'impuretés dans le système hydraulique pour éviter de le contaminer.
Placez un bac de vidange sous le filtre pour récupérer le liquide qui s'écoule quand le filtre et les bouchons d'aération sont retirés.
Trouvez et enlevez le bouchon d'aération sur chaque transmission.
Dévissez et déposez le filtre, puis vidangez le liquide de la transmission.
Répétez cette procédure pour les deux filtres.
Appliquez une fine couche de liquide hydraulique sur la surface du joint en caoutchouc de chaque filtre.
Vissez le filtre dans le sens horaire jusqu'à ce que le joint en caoutchouc rejoigne l'adaptateur, puis serrez-le encore de 3/4 à 1 tour.
Répétez la procédure pour le filtre opposé.
Remontez les protections sur les filtres à leur emplacement d'origine.
Fixez les protections des filtres avec les 3 vis.
Vérifiez que les bouchons d'aération sont retirés avant de faire l'appoint de liquide.
Versez lentement le liquide spécifié dans le vase d'expansion jusqu'à ce qu'il ressorte par l'orifice de l'un des bouchons d'aération.
Mettez le bouchon d'aération en place.
Serrez le bouchon à 20 N·m.
Continuez de verser du liquide dans le vase d'expansion jusqu'à ce qu'il ressorte par le dernier trou de bouchon d'aération sur la seconde transmission.
Mettez en place le bouchon d'aération opposé.
Serrez le bouchon à 20 N·m.
Continuez d'ajouter du liquide dans le vase d'expansion jusqu'à ce que le niveau atteigne le repère MAXIMUM à FROID sur le vase d'expansion.
Passez à Purge du système hydraulique.
Important: La transmission de la boîte-pont risque d'être irrémédiablement endommagée si vous n'effectuez pas la purge du système hydraulique après avoir remplacé les filtres hydrauliques et vidangé le liquide.

Soulevez l'arrière de la machine juste assez pour permettre aux roues motrices de tourner librement et placez des chandelles (ou des supports équivalents) sous la machine.

Mettez le moteur en marche et placez la commande d'accélérateur à mi-course, puis desserrez le frein de stationnement.
Amenez les leviers de dérivation à la position voulue pour pousser la machine. Les vannes de dérivation étant ouvertes et le moteur en marche, actionnez lentement les leviers de commande de déplacement vers l'avant et l'arrière à 5 ou 6 reprises.
Placez les leviers de dérivation à la position voulue pour utiliser la machine.
Les vannes de dérivation étant fermées et le moteur en marche, actionnez lentement les leviers de commande de déplacement vers l'avant et l'arrière à 5 ou 6 reprises.
Coupez le moteur et vérifiez le niveau de liquide dans le vase d'expansion. Faites l'appoint de liquide spécifié jusqu'à ce que le niveau atteigne le repère MAXIMUM à FROID (FULL COLD) sur le vase d'expansion.
Répétez l'opération 2 jusqu'à ce que le système soit entièrement purgé d'air.
Note: La boîte-pont est purgée correctement lorsqu'elle fonctionne à un niveau sonore normal et en douceur aux vitesses normales en marche avant et en marche arrière.
Contrôlez une dernière fois le niveau de liquide dans le vase d'expansion. Faites l'appoint de liquide spécifié jusqu'à ce que le niveau atteigne le repère MAXIMUM à FROID sur le vase d'expansion.
Une lame usée ou endommagée peut se briser et projeter le morceau cassé dans votre direction ou celle d'autres personnes, et infliger des blessures graves ou mortelles. N'essayez jamais de réparer une lame endommagée car vous risquez de contrevenir aux normes de sécurité du produit.
Contrôlez l'état et l'usure des lames régulièrement.
Examinez toujours les lames avec prudence. Manipulez les lames avec des gants ou en les enveloppant dans un chiffon, et toujours avec prudence. Limitez-vous à remplacer ou aiguiser les lames ; n'essayez jamais de les redresser ou de les souder.
Sur les machines à plusieurs lames, la rotation d'une lame peut entraîner celle des autres.
Garez la machine sur un sol plat et horizontal, désengagez la commande des lames (PDF) et serrez le frein de stationnement.
Coupez le moteur, retirez la clé et débranchez le fil des bougies.
| Périodicité d'entretien | Procédure d'entretien |
|---|---|
| À chaque utilisation ou une fois par jour |
|
Examinez le tranchant des lames (Figure 75).
Si les lames ne sont pas tranchantes ou présentent des indentations, déposez-les et aiguisez-les ; voir Affûtage des lames.
Inspectez les lames, en particulier l'ailette.
Remplacez immédiatement toute lame fendue, usée ou qui présente une entaille (Figure 75).

Note: Placez la machine sur une surface plane horizontale pour effectuer la procédure suivante.
Élevez le plateau à la hauteur de coupe maximale.
Enfilez des gants épais ou utilisez une autre protection adéquate pour les mains, et faites tourner la lame lentement jusqu'à une position permettant de mesurer correctement la distance entre le tranchant et la surface plane sur laquelle se trouve la machine (Figure 76).

Mesurez la distance entre la pointe de la lame et la surface plane (Figure 77).

Tournez la même lame de 180 degrés pour amener l'autre tranchant à la même position (Figure 78).

Mesurez la distance entre la pointe de la lame et la surface plane (Figure 79).
Note: L'écart ne doit pas excéder 3 mm.

Si la différence entre A et B est supérieure à 3 mm, remplacez la lame par une neuve ; voir la Dépose des lames et la Montage des lames.
Note: Si, après le remplacement d'une lame faussée par une neuve, la différence est toujours supérieure à 3 mm, l'axe de lame est peut-être faussé. Contactez un concessionnaire-réparateur Toro agréé pour faire réviser la machine.
Si la différence reste dans les limites tolérées, passez à la lame suivante.
Répétez cette procédure pour chaque lame.
Remplacez les lames si elles heurtent un obstacle, ou si elles sont déséquilibrées ou faussées.
Bloquez l'axe de la lame avec une clé.
Enlevez de l'axe, le boulon, la rondelle bombée et la lame (Figure 80).

Au moyen d'une lime, aiguisez les tranchants aux deux extrémités de la lame (Figure 81).
Note: Veillez à conserver l'angle de coupe d'origine.
Note: Limez la même quantité de métal sur chacun des deux tranchants pour ne pas déséquilibrer la lame.

Vérifiez l'équilibre de la lame en la plaçant sur un équilibreur (Figure 82).
Note: Si la lame reste horizontale, elle est équilibrée et peut être utilisée.
Note: Si la lame est déséquilibrée, limez un peu l'extrémité de l'ailette seulement (Figure 81).

Répétez la procédure jusqu'à ce que la lame soit équilibrée.
Placez la lame sur l'axe (Figure 80).
Important: Pour une coupe correcte, l'ailette de la lame doit être tournée vers le haut et dirigée vers l'intérieur du carter du plateau de coupe.
Montez la rondelle bombée et le boulon de la lame (Figure 80).
Note: Orientez le cône de la rondelle bombée vers la tête du boulon.
Serrez le boulon de la lame à un couple de 115 à 150 N·m.
Vérifiez que le plateau de coupe est de niveau chaque fois que vous l'installez ou si la tonte de la pelouse semble irrégulière.
Vérifiez si des lames sont faussées avant de mettre le plateau de coupe de niveau. Déposez et remplacez les lames faussées ; voir Détection des lames faussées avant de continuer.
Mettez le plateau de coupe de niveau transversalement avant de le faire longitudinalement.
Assurez-vous que :
La machine est placée sur une surface plane et horizontale.
Tous les pneus sont gonflés à la pression correcte ; voir Contrôle de la pression des pneus.
Garez la machine sur un sol plat et horizontal, désengagez la commande des lames (PDF) et serrez le frein de stationnement.
Avant de quitter la position d'utilisation, coupez le moteur, retirez la clé de contact et attendez l'arrêt complet de toutes les pièces mobiles.
Contrôlez la pression des pneus des roues motrices. Voir Contrôle de la pression des pneus.
Placez le plateau de coupe à la position de verrouillage de transport.
Avec précaution, tournez les lames pour qu'elles soient parallèles dans le sens transversal.
Mesurez la distance entre la pointe des lames et la surface plane (Figure 83). Si les deux mesures diffèrent de plus de 5 mm, réglez les lames, ajustez l'horizontalité des lames ; poursuivez cette procédure.


Vérifiez l'inclinaison avant/arrière des lames (Figure 84). Vérifiez que la pointe avant de la lame est plus basse que la pointe arrière, comme montré dans le tableau de hauteur de cale et d'inclinaison. Si un réglage est nécessaire, poursuivez cette procédure.

Placez les galets de protection dans les trous supérieurs ou enlevez-les complètement pour effectuer ce réglage.
Placez 2 cales (voir le tableau ci-dessous) sous le bord arrière de la jupe du plateau de coupe de chaque côté du plateau de coupe (Figure 85).
Réglez le levier de hauteur de coupe à la position 76 mm.
Placez 2 cales sous chaque côté du bord avant du plateau de coupe, mais pas sous les supports ou les soudures des galets anti-scalp.

| Taille du plateau | Hauteur de cale | Inclinaison |
| Tous les plateaux de coupe | 7,3 cm | 4,8 à 6,4 mm |
Tournez les lames avec précaution pour qu'elles soient parallèles dans le sens transversal (Figure 83).
Desserrez les contre-écrous (Figure 86) aux quatre coins de sorte que le tablier repose solidement sur les 4 cales.
Supprimez le jeu des pattes de support du plateau et vérifiez que la pédale de levage du plateau est repoussée contre la butée.
Serrez les 4 contre-écrous.

Vérifiez que les cales sont parfaitement ajustées sous la jupe du plateau de coupe et que tous les boulons sont bien serrés
Poursuivez la procédure de mise à niveau du plateau en contrôlant l'inclinaison avant/arrière des lames.
Vérifiez si les lames sont de niveau et répétez la procédure de réglage au besoin.
Garez la machine sur un sol plat et horizontal, désengagez la commande des lames (PDF) et serrez le frein de stationnement.
Coupez le moteur, retirez la clé et débranchez le fil des bougies.
Insérez la goupille de réglage de la hauteur de coupe à la position 7,6 cm.
Retirez les couvercles de courroie.
Desserrez la poulie de tension et déposez la courroie du plateau de coupe ; voir Entretien des courroies.
Retirez les boulons et les écrous à l'avant de la plaque, sous le repose-pied.
Enlevez et conservez les boulons et écrous de chaque côté de la machine (Figure 87).

Sortez le plateau par le côté droit de la machine.
Si l'ouverture d'éjection n'est pas fermée, la machine peut projeter des objets dans votre direction ou celles de personnes à proximité et causer des blessures graves. Un contact avec la lame est également possible.
N'utilisez jamais la machine sans avoir installé un déflecteur de mulching, un déflecteur d'éjection ou un système de ramassage.
Retirez le contre-écrou, le boulon, le ressort et l'entretoise qui fixent le déflecteur aux supports de pivot (Figure 88).
Déposez le déflecteur d'herbe s'il est endommagé ou usé (Figure 88).

Placez une entretoise et un ressort sur le déflecteur d'herbe.
Placez une extrémité en J du ressort derrière le bord du plateau.
Note: Prenez soin de placer une extrémité en J du ressort derrière le bord du plateau avant de mettre le boulon en place, comme montré à la Figure 88.
Remettez le boulon et l'écrou en place.
Accrochez 1 extrémité en J du ressort au déflecteur d'herbe (Figure 88).
Important: Le déflecteur d'herbe doit pouvoir pivoter. Ouvrez complètement le déflecteur d'herbe et vérifiez qu'il peut s'abaisser complètement.
| Périodicité d'entretien | Procédure d'entretien |
|---|---|
| À chaque utilisation ou une fois par jour |
|
Garez la machine sur un sol plat et horizontal, désengagez la commande des lames (PDF) et serrez le frein de stationnement.
Avant de quitter la position d'utilisation, coupez le moteur, retirez la clé de contact et attendez l'arrêt complet de toutes les pièces mobiles.
Levez le plateau de coupe en position de TRANSPORT.
Ne nettoyez pas la suspension à l'air comprimé.
Note: Ne nettoyez pas les amortisseurs au jet d'eau (Figure 89).

L'huile moteur, les batteries, le liquide hydraulique et le liquide de refroidissement sont polluants pour l'environnement. Débarrassez-vous en conformément à la réglementation nationale et locale en matière d'environnement.
Coupez le moteur, enlevez la clé, attendez l'arrêt complet de toutes les pièces mobiles et faites refroidir la machine avant de la remiser.
Ne rangez pas la machine ou le carburant près d'une flamme et ne vidangez pas le carburant à l'intérieur d'un local.
Enlevez la clé et rangez-la en lieu sûr, hors de la portée des enfants.
Désengagez la commande des lames (PDF) et serrez le frein de stationnement.
Avant de quitter la position d'utilisation, coupez le moteur, retirez la clé de contact et attendez l'arrêt complet de toutes les pièces mobiles.
Débarrassez entièrement l'extérieur de la machine, en particulier le moteur et le système hydraulique, des déchets d'herbe coupée, des saletés et de la crasse. Éliminez les saletés et les débris d'herbe sèche pouvant se trouver sur les ailettes de la culasse et le carter du ventilateur.
Important: Vous pouvez laver la machine avec de l'eau et un détergent doux. N'utilisez pas de nettoyeur haute pression. N'utilisez pas trop d'eau, surtout près du panneau de commande, du moteur, des pompes hydrauliques et des moteurs électriques.
Vérifier le fonctionnement du frein de stationnement ; voir Réglage du frein de stationnement.
Faites l'entretien du filtre à air ; voir Entretien du filtre à air.
Graissez la machine ; voir Lubrification.
Vidangez l'huile moteur ; voir Contrôle du niveau, vidange de l'huile moteur et remplacement du filtre à huile.
Contrôlez la pression des pneus ; voir Contrôle de la pression des pneus.
Remplacez les filtres hydrauliques ; voir Vidange du liquide hydraulique et remplacement des filtres.
Chargez la batterie ; voir Charge de la batterie.
Grattez l'herbe et les saletés éventuellement accumulées sur le dessous de la tondeuse, puis lavez cette dernière au tuyau d'arrosage.
Note: Conduisez la machine, commande des lames (PDF) engagée et moteur au régime de ralenti accéléré, pendant 2 à 5 minutes après l'avoir lavée.
Vérifiez l'état des lames ; voir Entretien des lames.
Si vous ne comptez pas utiliser la machine avant plus d'un mois, préparez-la comme suit :
Ajoutez un additif stabilisateur/conditionneur à base de pétrole dans le réservoir de carburant. Respectez les proportions spécifiées par le fabricant du stabilisateur. N'utilisez pas de stabilisateur à base d'alcool (éthanol ou méthanol).
Note: L'efficacité des stabilisateurs/conditionneurs est optimale lorsqu'ils sont mélangés à du carburant frais et sont utilisés de manière systématique.
Faites tourner le moteur pendant 5 minutes pour faire circuler le carburant traité dans tout le circuit d'alimentation.
Coupez le moteur, laissez-le refroidir puis vidangez le réservoir de carburant.
Remettez le moteur en marche et laissez-le tourner jusqu'à ce qu'il s'arrête.
Débarrassez-vous du carburant correctement. Recyclez le carburant conformément à la réglementation locale en matière d'environnement.
Important: Ne conservez pas le carburant additionné de stabilisateur/conditionneur plus longtemps que recommandé par le fabricant du stabilisateur de carburant.
Déposez la ou les bougies et vérifiez leur état ; voir Entretien des bougies. Versez 30 ml (2 cuillerées à soupe) d'huile moteur dans l'ouverture laissée par la bougie. Actionnez le démarreur pour faire tourner le moteur et bien répartir l'huile dans le cylindre. Posez les bougies. Ne rebranchez pas le fil de la ou des bougies.
Contrôlez et resserrez tous les boulons, écrous et vis. Réparez ou remplacez toute pièce endommagée.
Peignez toutes les surfaces métalliques éraflées ou mises à nu. Une peinture pour retouches est disponible chez les concessionnaires-réparateurs agréés.
Rangez la machine dans un endroit propre et sec, comme un garage ou une remise. Retirez la clé du commutateur d'allumage et rangez-la hors de la portée des enfants ou des personnes non autorisées. Couvrez la machine pour la protéger et la garder propre.
| Problem | Possible Cause | Corrective Action |
|---|---|---|
| Le moteur surchauffe. |
|
|
| Le démarreur ne fonctionne pas. |
|
|
| Le moteur ne démarre pas, démarre difficilement ou cale. |
|
|
| Le moteur perd de la puissance. |
|
|
| La machine tire à gauche ou à droite (quand les leviers de commande de déplacement sont complètement en avant). |
|
|
| La machine ne se déplace pas. |
|
|
| La machine vibre de manière anormale. |
|
|
| La hauteur de coupe est inégale. |
|
|
| Les lames ne tournent pas. |
|
|
| L'embrayage ne s'engage pas. |
|
|
