| Huoltoväli | Huoltotoimenpide |
|---|---|
| Aina ennen käyttöä tai päivittäin |
|
Tämä ajettava vaakatasoleikkuri on tarkoitettu kaupalliseen ammattikäyttöön. Se on tarkoitettu pääasiassa asuinkiinteistöjen ja kaupallisten kiinteistöjen viheralueiden ruohonleikkuuseen.
Lue nämä tiedot huolellisesti, jotta oppisit käyttämään ja huoltamaan laitetta asianmukaisesti sekä välttämään tapaturmia ja tuotevaurioita. Olet itse vastuussa tuotteen asianmukaisesta ja turvallisesta käytöstä.
Käy osoitteessa www.Toro.com, jos tarvitset tuoteturvallisuuteen ja käyttökoulutukseen liittyviä materiaaleja, tietoja lisävarusteista tai lähimmästä jälleenmyyjästä tai haluat rekisteröidä tuotteesi.
Aina kun tarvitset huoltoa, alkuperäisiä Toro-varaosia tai lisätietoja, ota yhteys valtuutettuun huoltoliikkeeseen tai Toron asiakaspalveluun. Ota tällöin tuotteen malli- ja sarjanumerot valmiiksi esiin. Kuva 1 näyttää laitteen malli ja sarjanumeron sijainnin. Kirjoita numerot annettuun tilaan.
Important: Skannaamalla sarjanumerokilvessä olevan QR-koodin (jos varusteena) mobiililaitteella saat tuotetietoja sekä takuu- ja varaosatietoja.

Tässä käyttöoppaassa käytetään kahta termiä tietojen korostamiseksi. Tärkeää kiinnittää huomiota mekaanisiin erikoistietoihin ja Huomautus korostaa erityishuomion ansaitsevia yleistietoja.
Tämä tuote on asiaankuuluvien eurooppalaisten direktiivien mukainen. Lisätietoja on erillisessä tuotekohtaisessa vaatimustenmukaisuusvakuutuksessa.
Osoitteessa www.Toro.com on lisätietoja malleista.
Brutto- tai nettovääntö: Moottorin valmistaja on mitannut tämän moottorin brutto- tai nettoväännön laboratoriossa SAE J1940:n tai J2723:n mukaisesti. Tämän luokan leikkurin moottorin todellinen vääntö on huomattavasti alhaisempi, koska se on säädetty turvallisuuteen, päästöihin ja käyttöön liittyvien vaatimusten mukaisesti. Tutustu koneen mukana toimitettuihin moottorin valmistajan tietoihin.
Important: Jos Toro-moottorilla varustettua konetta käytetään yli 1 500 m:n korkeudessa pitkäkestoisesti, korkean ilmanalan sarjan on oltava asennettuna, jotta moottori täyttää CARB/EPA-päästömääräykset. Korkean ilmanalan sarja parantaa moottorin suorituskykyä ja estää sytytystulppien likaantumisen, käynnistysvaikeudet ja päästöjen lisääntymisen. Kun sarja on asennettu, kiinnitä korkean ilmanalan kilpi koneen sarjanumerokilven viereen. Ota yhteys valtuutettuun Toro-huoltoliikkeeseen oikean korkean ilmanalan sarjan ja korkean ilmanalan kilven saamiseksi. Etsi lähin huoltoliike sivustoltamme osoitteessa www.Toro.com tai ota yhteys Toro Customer Care Department -asiakaspalveluun, jonka numero(t) on lueteltu päästöjärjestelmän takuulauselmassa (Emission Control Warranty Statement).Poista sarja moottorista ja palauta moottori alkuperäisiin tehdasmäärityksiin, kun konetta käytetään alle 1 500 m:n korkeudessa. Älä käytä korkeaa ilmanalaa varten muunnettua moottoria alhaisemmassa ilmanalassa. Muuten moottori voi ylikuumentua ja vaurioitua.Jos et ole varma, onko kone muunnettu korkeaa ilmanalaa varten, katso, onko siinä seuraava kilpi (Kuva 2).

Tämä kone on suunniteltu standardin EN ISO 5395:2013 mukaisesti.
Tämä sekä tässä käyttöoppaassa että koneessa näkyvä varoitusmerkintä (Kuva 3) muistuttaa, että onnettomuuksien välttämiseksi on tärkeää noudattaa turvallisuusohjeita.
Tämän symbolin merkitys: HUOMIO! OLE VAROVAINEN! TURVALLISUUTESI ON VAARASSA!

Tämä varoitusmerkintä ilmestyy vaarallisista toiminnoista tai tilanteista varoittavien tietojen yläpuolelle, ja sen perässä näkyy jokin seuraavista varoittavista sanoista: HENGENVAARA, VAARA tai VAROITUS.
HENGENVAARA: Ilmaisee välittömästi vaarallisen tilanteen, joka jatkuessaan johtaa kuolemaan tai vakavaan ruumiinvammaan.
VAARA: Ilmaisee mahdollisesti vaarallisen tilanteen, joka jatkuessaan voi johtaa kuolemaan tai vakavaan ruumiinvammaan.
VAROITUS: Ilmaisee mahdollisesti vaarallisen tilannetta, joka jatkuessaan voi johtaa vähäiseen tai lievään ruumiinvammaan.
Lisäksi tässä käyttöoppaassa käytetään kahta seuraavaa termiä tietojen korostamiseksi. Tärkeää kiinnittää huomiota mekaanisiin erikoistietoihin ja Huomautus korostaa erityishuomion ansaitsevia yleistietoja.
Tämä laite voi katkaista jalan tai käden sekä singota esineitä. Toro on suunnitellut ja testannut tämän ruohonleikkurin siten, että sen käyttö olisi turvallista, mutta turvallisuusohjeiden noudattamatta jättäminen saattaa johtaa ruumiinvammaan tai kuolemaan.
Lue ja sisäistä kaikki käyttöoppaan, muiden koulutusmateriaalien, koneen, moottorin ja lisälaitteiden ohjeet ja varoitukset, ja noudata niitä kaikissa tilanteissa. Kaikille käyttäjille ja mekaanikoille on annettava asianmukainen koulutus. Jos käyttäjä tai mekaanikko ei voi lukea opasta, omistajan on selitettävä hänelle sen sisältö. Opas voi olla saatavilla verkkosivustossa muilla kielillä.
Konetta saavat käyttää vain koulutetut, vastuuntuntoiset ja fyysisesti toimintakykyiset käyttäjät, jotka tuntevat koneen turvallisen käytön ohjeet, ohjauslaitteet, turvamerkinnät ja käyttöohjeet. Älä anna lapsien tai kouluttamattomien henkilöiden käyttää tai huoltaa laitetta. Paikalliset säännökset saattavat asettaa rajoituksia käyttäjän iälle.
Pidä turvakaari aina lukittuna yläasentoon ja käytä turvavyötä.
Älä käytä konetta pudotusten, ojien, vallien, vesiesteiden tai muiden vaarojen lähellä. Älä käytä rinteillä, joiden kaltevuus on yli 15 astetta.
Älä laita käsiä tai jalkoja koneen liikkuvien osien lähelle.
Älä koskaan käytä konetta, jonka suojukset tai suojalevyt ovat vaurioituneet. Pidä suojukset, suojalevyt, kytkimet ja muut laitteet oikeilla paikoillaan ja asianmukaisessa toimintakunnossa.
Pysäytä kone, sammuta moottori ja irrota virta-avain ennen huoltoa, polttoainesäiliön täyttämistä tai tukoksen poistamista koneesta.

![]() |
Turva- ja ohjetarrat on sijoitettu hyvin näkyville paikoille mahdollisten vaara-alueiden lähettyville. Korvaa vioittuneet tai kadonneet tarrat uusilla. |



























Tutustu kaikkiin ohjauslaitteisiin, ennen kuin käynnistät moottorin ja käytät konetta.

Moottori käynnistetään ja sammutetaan avainkytkimestä. Siinä on kolme asentoa: PYSäYTYS, KäYNNISSä ja KäYNNISTYS. Katso Moottorin käynnistys.
Käynnistä kylmä moottori käyttämällä rikastimen vipua.
Kaasuvivulla ohjataan moottorin kierrosnopeutta, ja siinä on portaaton säätö HIDAS-asennosta NOPEA-asentoon (Kuva 6).
Teräkytkin, joka on merkitty voimanulosoton (PTO) kuvakkeella, kytkee ja vapauttaa voimansiirron leikkuuteriin (Kuva 6).
Tuntilaskuri mittaa, kuinka kauan moottori on ollut käynnissä kaiken kaikkiaan. Se toimii moottorin ollessa käynnissä. Määritä mitatun ajan avulla, milloin määräaikaishuollot tulee suorittaa (Kuva 7).

Nämä ovat tuntilaskurissa olevia merkintöjä. Musta kolmio ilmoittaa, että turvajärjestelmän komponentti on oikeassa asennossa (Kuva 7).
Jos virta-avain käännetään KäYNNISSä-asentoon muutaman sekunnin ajaksi, akun jännite näkyy kohdassa, jossa tavallisesti näkyvät tunnit.
Akun merkkivalo syttyy, kun avainkytkin kytketään ja kun varaus on asianmukaista käyttötasoa alhaisempi (Kuva 7).
Liikkeenohjausvivuilla konetta kuljetetaan eteen- ja taaksepäin sekä käännetään (Kuva 5).
Ennen kuin poistut koneesta, siirrä liikkeenohjausvivut keskeltä ulospäin LUKITTU VAPAA -asentoon (Kuva 25). Siirrä liikkeenohjausvivut aina LUKITTU VAPAA -asentoon, kun pysäytät koneen tai jätät sen ilman valvontaa.
Aina kun sammutat moottorin, kytke seisontajarru, jotta kone ei pääse liikkumaan vahingossa.
Sulje polttoaineen sulkuventtiili koneen kuljetuksen tai varastoinnin aikana. Katso kohta Polttoaineen sulkuventtiilin käyttö.
Note: Ominaisuuksia ja rakennetta voidaan muuttaa ilmoittamatta.
| 122 cm:n leikkuupöytä | 132 cm:n leikkuupöytä | |
|---|---|---|
| Ilman leikkuupöytää | 121 cm | 124 cm |
| Suuntain ylhäällä | 133 cm | 144 cm |
| Suuntain alhaalla | 160 cm | 171 cm |
| 122 cm:n leikkuupöytä | 132 cm:n leikkuupöytä | |
|---|---|---|
| Pituus | 208 cm | 208 cm |
| Turvakaari ylhäällä | Turvakaari alhaalla |
|---|---|
| 179 cm | 125 cm |
| Koneet | Paino |
| 122 cm:n sivulle poistavat koneet | 385–425 kg |
| 132 cm:n sivulle poistavat koneet | 391–434 kg |
Koneeseen on saatavana valikoima Toron hyväksymiä lisälaitteita ja -varusteita, joiden avulla voidaan parantaa ja laajentaa sen ominaisuuksia. Ota yhteys valtuutettuun huoltoliikkeeseen tai valtuutettuun Toro-jälleenmyyjään tai siirry osoitteeseen www.Toro.com, jossa on luettelo hyväksytyistä lisälaitteista ja -varusteista.
Käytä vain aitoja Toro-varaosia ja -lisävarusteita, jotta kone toimisi parhaalla mahdollisella tavalla ja sen turvasertifiointi pysyisi voimassa. Muiden valmistajien varaosat ja lisävarusteet voivat osoittautua vaarallisiksi, ja niiden käyttö voi johtaa tuotteen takuun raukeamiseen.
Note: Koneen vasen ja oikea puoli määritellään normaalista käyttöasennosta käsin.
Tutki maasto, jotta voit arvioida, mitä lisälaitteita ja -varusteita työn turvallinen suorittaminen edellyttää. Käytä vain Toron hyväksymiä lisälaitteita ja -varusteita.
Tarkasta alue, jolla laitetta on tarkoitus käyttää, ja poista kaikki kivet, lelut, kepit, johdot, luut ja muut esineet. Ne saattavat sinkoutua tai häiritä koneen toimintaa ja aiheuttaa henkilövammoja käyttäjälle tai sivullisille.
Käytä asianmukaisia henkilösuojaimia, kuten suojalaseja, kuulosuojaimia ja tukevia, liukastumisen estäviä jalkineita. Pidä pitkät hiukset kiinni sidottuina ja vältä löysiä vaatteita ja roikkuvia koruja, jotka voivat sotkeutua liikkuviin osiin.
Tämä kone tuottaa 85 dB(A):n ylittävän äänitason kuljettajan korvan korkeudella ja voi aiheuttaa kuulovamman pitkäaikaisessa käytössä.
Käytä kuulosuojaimia käyttäessäsi konetta.
Tarkista, että käyttäjän pitokytkimet, turvakytkimet ja kilvet ovat paikoillaan ja toimivat oikein. Älä käytä konetta, mikäli ne eivät toimi kunnolla.
Älä käytä konetta, jos alueella on ihmisiä, erityisesti lapsia, tai lemmikkieläimiä. Pysäytä kone ja lisälaitteet, jos alueelle tulee ihmisiä.
Älä käytä ruohonleikkuria ilman koko ruohonkeräysjärjestelmää, heittokanavan suuntainta tai muita turvalaitteita. Varmista myös, että ne toimivat asianmukaisesti. Ruohonkerääjän osat ovat kuluvia, vaurioituvia ja heikentyviä osia, mistä syystä liikkuvat osat voivat paljastua tai esineet sinkoilla. Tarkista osat säännöllisesti kulumien ja heikkouksien varalta, ja vaihda ne tarvittaessa valmistajan suosittelemiin osiin.
Käsittele polttoainetta erittäin varovasti.
Tietyissä oloissa bensiini on hyvin tulenarkaa ja bensiinihöyry räjähdysherkkää.
Bensiinin aiheuttamasta tulipalosta tai räjähdyksestä voi tulla palovammoja ja omaisuusvahinkoja.
Täytä polttoainesäiliö ulkona avoimessa tilassa tasaisella alustalla, kun moottori on jäähtynyt. Läikkynyt bensiini tulee pyyhkiä pois.
Älä koskaan täytä tai tyhjennä polttoainesäiliötä rakennuksen tai katetun perävaunun sisällä.
Polttoainesäiliötä ei saa täyttää aivan täyteen. Täytä säiliö täyttöaukon kaulan alaosaan asti. Säiliöön jäävä tyhjä tila sallii bensiinin laajenemisen. Täyttäminen liian täyteen voi aiheuttaa polttoainevuodon tai vaurioittaa moottoria tai päästöjärjestelmää.
Älä tupakoi bensiiniä käsitellessäsi ja pysy kaukana avotulesta tai paikoista, joissa kipinä voi sytyttää bensiinihuurut.
Bensiiniä tulee säilyttää sille hyväksytyssä säiliössä, joka tulee pitää poissa lasten ulottuvilta.
Lisää polttoaine ennen moottorin käynnistämistä. Älä koskaan irrota polttoainesäiliön korkkia tai lisää polttoainetta moottorin ollessa käynnissä tai lämmin.
Jos polttoainetta läikkyy, älä käynnistä moottoria. Siirry pois vuotoalueelta ja vältä luomasta minkäänlaisia kipinälähteitä, kunnes kaikki pakokaasuhöyryt ovat haihtuneet.
Käytä vain, kun pakokaasujärjestelmä on kokonaisuudessaan paikallaan ja toimii oikein.
Polttoainesäiliön täytön aikana saattaa tietyissä olosuhteissa purkautua kipinöivää staattista sähköä, joka voi sytyttää bensiinihöyryt. Bensiinin aiheuttamasta tulipalosta tai räjähdyksestä voi olla seurauksena palovammoja ja omaisuusvahinkoja.
Bensiiniastiat tulee aina asettaa maahan pois ajoneuvosta ennen tankkaamista.
Bensiiniastioita ei saa täyttää ajoneuvon sisällä tai lava-auton tai perävaunun lavalla, sillä sisämatot tai muoviset lavan päällysteet saattavat eristää astian ja hidastaa staattisen sähkön purkautumista.
Poista polttoainekäyttöiset laitteet kuorma-autosta tai perävaunusta ja tankkaa laite, kun sen pyörillä on kosketus maahan, mikäli tämä on käytännössä mahdollista.
Jos se ei ole mahdollista, tankkaa tällainen laite kannettavasta astiasta kuorma-auton tai perävaunun lavalla mieluummin kuin bensiinin jakelupistoolilla.
Jos jakelupistoolia on käytettävä, pidä pistoolia polttoainesäiliön reunaa tai astian aukkoa vasten koko tankkaamisen ajan. Älä käytä polttoainepistoolin aukilukituskytkintä.
Bensiini on haitallista tai tappavaa nieltynä. Pitkäaikainen pakokaasuhöyryille altistuminen on aiheuttanut syöpää laboratorioeläimille. Varoitusten huomiotta jättäminen saattaa johtaa ruumiinvammaan tai sairastumiseen.
Vältä höyryjen hengittämistä.
Pidä kasvot etäällä jakelupistoolista ja polttoainesäiliön aukosta.
Älä päästä polttoainetta silmiin tai iholle.
Älä koskaan ime polttoainetta suulla.
Polttoainesäiliön ilmareikä sijaitsee turvakaaren putken sisällä. Turvakaaren irrottaminen tai muuttaminen voi johtaa polttoainevuotoon ja rikkoa päästösäädöksiä.
Älä irrota turvakaarta.
Älä hitsaa, poraa tai muuta turvakaarta millään tavalla.
Tulipalojen ehkäisy:
Pidä moottori ja moottoritila puhtaana, sillä sinne saattaa kertyä ylimääräistä rasvaa ja öljyä sekä ruohoa, lehtiä ja muita roskia.
Puhdista öljy- ja polttoaineroiskeet ja poista roskat, joihin polttoaine on imeytynyt.
Anna moottorin jäähtyä ennen koneen varastointia suljettuun tilaan. Älä säilytä lähellä avotulta tai missään suljetussa tilassa, jossa on avoimia sytytysliekkejä tai lämmityslaitteita.
Moottori toimii parhaiten, kun käytetään vain puhdasta ja uutta (korkeintaan 30 päivää vanhaa) lyijytöntä bensiiniä, jonka tieoktaaniluku (pumppuoktaaniluku) on vähintään 87 (RON + MON / 2).
Etanoli: Enintään 10 % etanolia (bensiinin ja etanolin seosta) tai 15 % MTBE:tä (metyyli-tertiääri-butyylieetteriä) sisältävää polttoainetta voidaan käyttää. Etanoli ja MTBE eivät ole sama asia. Bensiiniä, jonka tilavuudesta enemmän kuin 15 % (E15) on etanolia, ei ole hyväksytty käyttöön. Älä käytä bensiiniä, jonka tilavuudesta enemmän kuin 10 % on etanolia (kuten 15 % etanolia sisältävä E15, 20 % etanolia sisältävä E20 tai enintään 85 % etanolia sisältävä E85). Muun kuin hyväksytyn bensiinin käyttö voi aiheuttaa toimintaongelmia ja/tai moottorivaurioita, joita takuu ei ehkä kata.
Metanolia sisältävää bensiiniä ei saa käyttää.
Älä säilytä polttoainetta talven yli polttoainesäiliössä tai -astioissa, ellei polttoaineeseen ole lisätty stabilointiainetta.
Bensiiniin ei saa lisätä öljyä.
Polttoaineen stabilointi-/lisäaineen käytöllä on seuraavia etuja:
Pitää polttoaineen tuoreena pidempään polttoaineen stabilointiaineen valmistajan ohjeiden mukaisesti käytettynä
Se puhdistaa moottoria käytön aikana.
Se estää liimamaisen hartsin kerääntymisen polttoainejärjestelmään, mikä vaikeuttaisi käynnistämistä.
Important: Älä käytä metanolia tai etanolia sisältäviä lisäaineita.
Lisää polttoaineeseen oikea määrä stabilointi-/lisäainetta.
Note: Stabilointi-/lisäaine toimii tehokkaimmin, kun se sekoitetaan tuoreeseen polttoaineeseen. Käytä stabilointiainetta aina, jottei polttoainejärjestelmään kerääntyisi hartsimaisia jäämiä.
Pysäköi kone tasaiselle alustalle.
Kytke seisontajarru.
Sammuta moottori ja irrota virta-avain.
Puhdista polttoainesäiliön korkin ympäristö.
Täytä säiliö täyttöaukon kaulan alaosaan asti (Kuva 8).
Note: Polttoainesäiliötä ei saa täyttää aivan täyteen. Säiliöön jäävä tyhjä tila sallii polttoaineen laajentumisen.

Suorita kohdan osassa ”Ennen jokaista käyttökertaa tai päivittäin” mainitut toimet ennen koneen käynnistystä päivittäin.
Uusissa moottoreissa täyden voiman saavuttaminen kestää jonkin aikaa. Uuden ruohonleikkurin leikkuupöydissä ja vetojärjestelmissä on enemmän moottoria kuormittavaa kitkaa. Sisäänajo kestää 40–50 tuntia, kunnes uudet koneet saavuttavat täyden voiman ja parhaan suorituskyvyn.
Kaatumisesta aiheutuvan loukkaantumisen tai kuoleman välttämiseksi turvakaari on pidettävä lukittuna yläasentoon ja turvavyötä on käytettävä.
Varmista, että istuin on kiinnitetty koneeseen.
Kaatumissuojausta ei ole, kun turvakaari on alhaalla.
Laske turvakaari vain silloin, kun se on aivan välttämätöntä.
Älä käytä turvavyötä, kun turvakaari on alhaalla.
Aja hitaasti ja varovasti.
Nosta turvakaari ylös heti, kun tilaa on riittävästi.
Tarkista vapaa alikulkukorkeus (esim. puiden oksat, porttikäytävät, sähkölinjat) ennen kuin ajat mahdollisen esteen alitse. Varo osumasta esteeseen.
Important: Käytä aina turvavyötä, kun turvakaari on nostettuna.
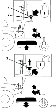
Nosta turvakaari käyttöasentoon ja kierrä nuppeja niin, että ne asettuvat osittain uriin (Kuva 9).
Nosta turvakaari täysin pystyasentoon painamalla turvakaaren yläosaa niin, että tapit napsahtavat paikoilleen, kun ne ovat reikien kohdalla (Kuva 9).
Paina turvakaarta ja varmista, että molemmat tapit on kytketty.
Jos turvakytkimet ovat irronneet tai vaurioituneet, kone saattaa toimia odottamattomalla tavalla ja aiheuttaa henkilövahinkoja.
Älä kajoa turvakytkimiin.
Tarkista turvakytkimien toimivuus päivittäin ja vaihda mahdolliset vaurioituneet kytkimet ennen koneen käyttämistä.
Turvajärjestelmä huolehtii siitä, että moottori käynnistyy vain seuraavien olosuhteiden vallitessa:
seisontajarru on kytketty
teräkytkin (voimanulosotto) on vapautettu
Liikkeenohjausvivut ovat LUKITTU VAPAA -asennossa.
Turvajärjestelmä myös sammuttaa moottorin, kun liikkeenohjausvivut siirretään LUKITTU VAPAA -asennosta seisontajarrun ollessa kytkettynä tai jos käyttäjä nousee istuimelta voimanulosoton (PTO) ollessa kytkettynä.
Tuntilaskurissa on merkkivaloja, jotka ilmoittavat käyttäjälle, kun turvajärjestelmän komponentti on oikeassa asennossa. Kun komponentti on oikeassa asennossa, merkkivalo näkyy näytössä.

| Huoltoväli | Huoltotoimenpide |
|---|---|
| Aina ennen käyttöä tai päivittäin |
|
Tarkista turvajärjestelmän toimivuus aina ennen koneen käyttöä. Jos turvajärjestelmä ei toimi alla kuvatulla tavalla, se on välittömästi korjautettava valtuutetussa huoltoliikkeessä.
Istu istuimella, kytke seisontajarru ja kytke teräkytkin (voimanulosotto) PääLLä-asentoon. Yritä käynnistää moottori. Moottori ei saa käynnistyä.
Istu istuimella, kytke seisontajarru ja kytke teräkytkin (voimanulosotto) POIS-asentoon. Siirrä jompikumpi liikkeenohjausvipu pois LUKITTU VAPAA -asennosta. Yritä käynnistää moottori. Moottori ei saa käynnistyä. Toista toisella ohjausvivulla.
Istu istuimella, kytke seisontajarru ja siirrä teräkytkin (voimanulosotto) POIS-asentoon ja liikkeenohjausvivut LUKITTU VAPAA -asentoon. Käynnistä moottori. Kun moottori on käynnissä, vapauta seisontajarru, kytke teräkytkin (voimanulosotto) ja nouse hieman istuimelta. Moottorin pitäisi sammua.
Istu istuimella, kytke seisontajarru ja siirrä teräkytkin (voimanulosotto) POIS-asentoon ja liikkeenohjausvivut LUKITTU VAPAA -asentoon. Käynnistä moottori. Kun moottori käy, aseta jompikumpi liikkeenohjausvipu keskelle ja liiku (eteenpäin tai taaksepäin). Moottorin tulee sammua. Toista toisella liikkeenohjausvivulla.
Istu istuimella, vapauta seisontajarru ja siirrä teräkytkin (voimanulosotto) POIS-asentoon ja liikkeenohjausvivut LUKITTU VAPAA -asentoon. Yritä käynnistää moottori. Moottori ei saa käynnistyä.
Istuin siirtyy eteen- ja taaksepäin. Säädä istuin siten, että pystyt ohjaamaan konetta parhaiten ja asentosi on mahdollisimman mukava. (Kuva 11).

MyRide™-jousitusjärjestelmää voidaan säätää siten, että ajo on tasaista ja mukavaa. Jousitusjärjestelmää voi säätää nopeasti ja helposti säätämällä kahta takaiskunvaimenninkokoonpanoa. Aseta jousitusjärjestelmä kohtaan, jossa ajoasento on mahdollisimman mukava.
Takaiskunvaimenninkokoonpanojen urissa on pidätinkohdat viitteeksi. Takaiskunvaimenninkokoonpanot voidaan sijoittaa urassa mihin tahansa kohtaan, ei ainoastaan pidätinkohtiin. Seuraavassa kuvassa näkyy pehmeän ja kovan jousituksen asennot sekä eri pidätinkohdat (Kuva 12).

Note: Varmista, että vasen ja oikea takaiskunvaimenninkokoonpano säädetään aina samaan asentoon.
Säädä takaiskunvaimenninkokoonpanot (Kuva 13).


Käytä ainoastaan Toron hyväksymiä lisälaitteita ja -varusteita.
Jos neljään seuraavassa kuvassa (Kuva 14) näkyvään sijaintiin asennetaan useampi kuin yksi lisävarusteen kiinnityssarja, on asennettava etupainosarja. Lisätietoja etupainosarjasta saa valtuutetusta huoltoliikkeestä.

Koneen käyttö vaatii käyttäjän täyden huomion. Älä tee mitään keskittymiskykyyn vaikuttavaa muuta toimintoa, sillä siitä saattaa seurata henkilö- tai omaisuusvahinko.
Moottorin osat, erityisesti äänenvaimennin, kuumentuvat käytön aikana erittäin paljon. Niiden koskettaminen voi aiheuttaa vakavia palovammoja ja lehtien, ruohon ja harjasten kaltaiset roskat voivat syttyä palamaan.
Moottorien ja erityisesti äänenvaimentimien on annettava jäähtyä ennen kuin niihin kosketaan.
Poista kaikki kertyneet roskat äänenvaimentimen ja moottorin läheltä.
Moottorin pakokaasu sisältää hiilimonoksidia, joka on hajuton ja hengenvaarallisen myrkyllinen kaasu ja voi aiheuttaa kuoleman.
Älä käytä moottoria sisätiloissa tai muussa ahtaassa, suljetussa tilassa, jonne vaaralliset hiilimonoksidikaasut voivat kertyä.
Omistaja/käyttäjä voi estää itselleen tai muille henkilöille tai omaisuudelle aiheutuneet vahingot ja on siksi vastuussa niistä.
Ruohonleikkuri on tarkoitettu vain yhden käyttäjän käytettäväksi. Älä kuljeta mukana matkustajia ja pidä muut loitolla koneen käytön aikana.
Älä käytä konetta sairaana, väsyneenä tai alkoholin tai huumaavien aineiden vaikutuksen alaisena.
Käytä konetta vain päivänvalossa tai hyvässä keinovalaistuksessa.
Salamanisku voi aiheuttaa vakavan loukkaantumisen tai hengenvaaran. Jos alueella on ukonilma, konetta ei saa käyttää. Tällöin on hakeuduttava suojaan.
Ole erityisen varovainen käytettäessä lisävarusteita tai -laitteita, kuten ruohonkeräysjärjestelmiä. Ne voivat vaikuttaa koneen vakauteen ja aiheuttaa hallinnan menetyksen. Käytä tarvittaessa vastapainoja ohjeiden mukaisesti.
Vältä kuoppia, uria, töyssyjä, kiviä ja muita piileviä vaaroja. Ole varovainen lähestyessäsi näkyvyyden estävää kulmaa, pensaita, puita, pitkää ruohoa tai muita esteitä, jotka huonontavat näkyvyyttä tai voivat estää vaaran näkemisen. Maaston epätasaisuudet voivat kaataa koneen tai saada käyttäjän lipeämään tai menettämään tasapainonsa.
Varmista ennen moottorin käynnistämistä, että kaikki käytöt ovat vapaalla ja seisontajarru kytkettynä. Käytä turvavyötä turvakaaren ollessa nostettuna lukitussa asennossa.
Käynnistä moottori huolellisesti ohjeiden mukaan jalat erillään teristä.
Älä koskaan käytä ruohonleikkuria, jonka suojukset tai suojalevyt ovat vaurioituneet. Pidä suojukset, suojalevyt, kytkimet ja muut laitteet oikeilla paikoillaan ja asianmukaisessa toimintakunnossa.
Pysy aina etäällä heittoaukosta. Älä koskaan leikkaa ruohoa, kun heittoluukku on raollaan, irti tai muuten epätavallisessa asennossa, ellei ruohonleikkuriin ole asennettu toimivaa ruohonkeräysjärjestelmää tai levityssarjaa.
Pidä kädet ja jalat poissa liikkuvista osista. Älä tee säätöjä moottorin ollessa käynnissä, jos mahdollista.
Kädet, jalat, hiukset, vaatteet tai asusteet saattavat sotkeutua pyöriviin osiin. Pyörivien osien koskettaminen voi aiheuttaa traumaattisen amputoinnin tai vakavia avohaavoja.
Älä käytä konetta ilman asianmukaisesti asennettuja ja toimivia suojuksia, suojalevyjä ja turvalaitteita.
Pidä kädet, jalat, hiukset, korut ja vaatteet pyörivien osien ulottumattomissa.
Älä nosta leikkuupöytää terien pyöriessä.
Ota huomioon ruohonleikkurin heittosuunta ja suuntaa leikkuujäte muista poispäin. Vältä leikkuujätteen linkoamista seinää tai muuta estettä kohti, sillä se voi kimmota takaisin käyttäjää kohti. Pysäytä terä, hidasta ja ole varovainen, kun ylität muun kuin ruohopinnan ja kun kuljetat leikkuria leikattavalle ruohikolle ja sieltä pois.
Ole tarkkaavainen, hidasta ja ole varovainen kääntyessäsi. Katso taaksesi ja sivuillesi ennen kuin muutat suuntaa. Älä leikkaa ruohoa peruuttaen, ellei se ole ehdottoman välttämätöntä.
Älä muuta moottorin kierrosnopeuden säätimen asetuksia tai käytä moottoria ylikierroksilla.
Pysäköi kone tasaiselle alustalle. Sammuta moottori, anna kaikkien liikkuvien osien pysähtyä ja irrota sitten sytytystulppien johdot.
Ennen leikkurin tarkistamista, puhdistamista tai huoltamista.
Jos kone osuu vieraaseen esineeseen tai tärisee epätavallisesti (tarkasta ruohonleikkuri ja korjaa mahdolliset vauriot ennen koneen käynnistystä ja käyttöä).
Ennen tukkeuman poistamista.
Aina kun poistut ruohonleikkurin luota. Älä jätä käynnissä olevaa konetta ilman valvontaa.
Sammuta moottori ja odota, että kaikki liikkuvat osat pysähtyvät:
Ennen polttoainesäiliön täyttämistä.
Ennen ruohonkerääjän irrottamista.
Ennen korkeuden säätöä.
Jos käyttäjä ei ole varovainen lasten läheisyydessä, seurauksena voi olla vakava onnettomuus. Lapset ovat usein kiinnostuneita koneesta ja ruohon leikkaamisesta. Älä koskaan oleta, että lapset pysyvät siellä, missä näit heidät viimeksi.
Pidä lapset poissa leikkuualueelta ja jätä heidät toisen aikuisen vastuuhenkilön huostaan.
Ole tarkkaavainen ja pysäytä kone, jos lapsia tulee alueelle.
Katso taakse, alas ja sivuille ja varmista, ettei lähellä ole pikkulapsia, ennen kuin liikut taaksepäin tai muutat suuntaa ja liikkumisen aikana.
Älä anna lasten käyttää konetta.
Älä ota lapsia kyytiin, vaikka terät olisivat poissa käytöstä. Lapset saattavat pudota koneesta ja loukkaantua vakavasti tai häiritä koneen turvallista käyttöä. Aiemmin koneen kyydissä olleet lapset saattavat yhtäkkiä tulla työskentelyalueelle, jotta pääsisivät taas kyytiin. Tällöin he saattavat jäädä liikkuvan tai peruuttavan koneen alle.
Rinteissä on huomattava koneen hallinnan menettämisen ja kaatumisen vaara. Tällaiset onnettomuudet voivat aiheuttaa vakavan tapaturman tai kuoleman. Käyttäjä on vastuussa turvallisesta käytöstä rinteissä. Koneen käyttö rinteissä edellyttää erityistä huolellisuutta. Toimi seuraavasti ennen koneen käyttöä rinteessä:
Lue ja sisäistä käyttöoppaassa ja koneessa olevat rinnekäytön ohjeet.
Määritä alueen likimääräinen rinnekulma kulman osoittimella.
Älä koskaan käytä rinteillä, joiden kaltevuus on yli 15 astetta.
Arvioi leikkuupaikan olosuhteet ja määritä niiden perusteella, onko rinne turvallinen koneen käyttöön. Tee arviointi huolellisesti ja harkiten. Maaston muutokset, kuten kosteus, saattavat vaikuttaa nopeasti koneen toimintaan rinteessä.
Tunnista vaarat rinteen juurella. Älä käytä konetta pudotusten, ojien, vallien, vesiesteiden tai muiden vaarojen lähellä. Kone voi kaatua yllättäen, jos pyörä menee reunan yli tai jos reuna sortuu. Pidä kone turvallisen etäisyyden (kahden koneen leveyden) päässä vaara-alueista. Leikkaa tällaisten alueiden ruoho työnnettävällä koneella tai käsikäyttöisellä trimmerillä.

Vältä koneen käynnistämistä, pysäyttämistä tai kääntämistä rinteissä. Vältä nopeuden tai suunnan äkillistä muuttamista. Käänny hitaasti ja vähän kerrallaan.
Älä käytä konetta olosuhteissa, joissa pito, ohjaus tai vakaus ovat kyseenalaisia. Huomaa, että koneen käyttö märässä ruohossa, poikittain rinteissä tai alamäessä saattaa johtaa koneen pidon menettämiseen. Pidon menetys vetopyörissä saattaa aiheuttaa luisumisen ja jarrujen ja ohjauksen hallinnan menetyksen. Kone voi luisua, vaikka vetopyörät on pysäytetty.
Poista tai merkitse esteet, kuten ojat, kuopat, urat, töyssyt, kivet tai muut piilevät vaarat. Korkea ruoho voi peittää esteet. Maaston epätasaisuudet voivat kaataa koneen.
Ole erityisen varovainen käytettäessä lisävarusteita tai -laitteita, kuten ruohonkeräysjärjestelmiä. Ne voivat vaikuttaa koneen vakauteen ja aiheuttaa hallinnan menetyksen. Käytä vastapainoja ohjeiden mukaisesti.
Jos mahdollista, pidä leikkuupöytä laskettuna alas rinteissä käytön aikana. Leikkuupöydän nostaminen rinteissä käytön aikana voi heikentää koneen vakautta.
Koneeseen on asennettu kaatumissuojausjärjestelmä (turvakaari).
Kaatumissuojausta ei ole, kun turvakaari on alhaalla. Renkaiden lipeäminen reunojen, ojien, jyrkkien penkkojen tai veden yli saattaa kaataa koneen, mistä voi olla seurauksena vakava loukkaantuminen, hukkumisvaara tai kuolema.
Älä irrota kaatumissuojausjärjestelmää.
Pidä turvakaari nostettuna lukitussa asennossa ja käytä turvavyötä.
Laske turvakaari vain silloin, kun se on aivan välttämätöntä.
Älä käytä turvavyötä, kun turvakaari on alhaalla.
Aja hitaasti ja varovasti.
Nosta turvakaari ylös heti, kun tilaa on riittävästi.
Varmista, että turvavyö on nopeasti avattavissa hätätilanteessa.
Tarkista vapaa alikulkukorkeus (kuten puiden oksat, porttikäytävät ja sähkölinjat) ennen kuin ajat mahdollisen esteen alitse. Varo osumasta esteeseen.
Jos yksikkö kaatuu, vie se valtuutettuun huoltoliikkeeseen, jotta kaatumissuojausjärjestelmä voidaan tarkistaa.
Vaihda vaurioitunut kaatumissuojausjärjestelmä. Älä korjaa tai muuta sitä.
Kaikkiin kaatumissuojausjärjestelmän lisävarusteisiin, muutoksiin tai lisälaitteisiin on hankittava Toron lupa.
Käytä leikkuupöytää askelmana siirtyessäsi käyttäjän paikalle (Kuva 16).

Kytke seisontajarru aina, kun pysäytät koneen tai jätät sen ilman valvontaa.
Pysäköi kone tasaiselle alustalle.


Teräkytkin (voimanulosotto) käynnistää ja pysäyttää leikkuuterät ja voimanulosottoa käyttävät lisälaitteet.
Note: Teräkytkimen (voimanulosotto) kytkentä kaasun ollessa puolivälissä tai alempana kuluttaa käyttöhihnoja liiallisesti.


Kaasuvipua voidaan siirtää NOPEA- ja HIDAS-asentojen välillä (Kuva 21).
Käytä aina NOPEA-asentoa, kun kytket voimanulosoton.

Note: Lämmin tai kuuma moottori ei välttämättä tarvitse rikastusta.
Important: Älä käytä käynnistintä kerralla yli 5 sekunnin ajan. Käynnistysmoottorin käyttö yli 5 sekunnin ajan voi vaurioittaa käynnistysmoottoria. Jos moottori ei käynnisty, odota 10 sekunnin ajan ennen käynnistysmoottorin käyttöä uudelleen.

Lapset ja sivulliset voivat loukkaantua, jos he siirtävät tai yrittävät käyttää konetta sen ollessa ilman valvontaa.
Irrota aina avain ja kytke seisontajarru, kun jätät koneen ilman valvontaa.

Important: Varmista ennen koneen varastoimista tai kuljetusta, että polttoaineen sulkuventtiili on kiinni. Muuten polttoainetta saattaa vuotaa. Kytke seisontajarru ennen kuljetusta. Irrota virta-avain, sillä polttoainepumppu saattaa käydä ja kuluttaa akkua.

Vetopyörät pyörivät itsenäisesti akselien hydraulimoottorien voimasta. Toinen puoli voi pyöriä taaksepäin toisen puolen pyöriessä eteenpäin, jolloin kone pyörii paikallaan kääntymisen sijaan. Tämä parantaa huomattavasti koneen ohjattavuutta, mutta saattaa vaatia jonkin verran totuttelua.
Kaasuvivulla säädetään moottorin pyörintänopeutta (1/min). Aseta kaasuvipu NOPEA-asentoon, jolloin suorituskyky on parhaimmillaan. Leikkaa aina täydellä kaasulla.
Kone voi pyöriä paikallaan hyvin nopeasti. Käyttäjä voi menettää koneen hallinnan, mikä voi johtaa henkilö- tai omaisuusvahinkoihin.
Ole varovainen kääntyessäsi.
Hidasta konetta ennen jyrkkiä käännöksiä.
Note: Moottori sammuu, jos liikkeenohjausvipua siirretään seisontajarrun ollessa kytkettynä.
Pysäytä kone siirtämällä liikkeenohjausvivut VAPAA-asentoon.
Vapauta seisontajarru. Katso kohta Seisontajarrun vapautus.
Siirrä liikkeenohjausvivut keskelle, lukitsemattomaan asentoon.
Kun haluat ajaa eteenpäin, työnnä liikkeenohjausvipuja hitaasti eteenpäin (Kuva 26).

Siirrä liikkeenohjausvivut keskelle, lukitsemattomaan asentoon.
Kun haluat ajaa taaksepäin, vedä liikkeenohjausvipuja hitaasti taaksepäin (Kuva 27).

Leikkurissa on kääntyvä suuntain, joka levittää leikkuujätteen sivulle ja alas nurmeen päin.
Ellei suuntainta, poistolevyä tai ruohonkerääjää ole asennettu, liikkuvat terät ja ilmaan sinkoutuvat roskat saattavat vahingoittaa käyttäjää tai sivullisia. Teräkosketus tai ulossinkoutuva jäte voi aiheuttaa loukkaantumisen tai kuoleman.
Älä koskaan irrota suuntainta leikkuupöydästä, sillä se ohjaa materiaalin nurmea kohti. Jos suuntain vaurioituu, vaihda se heti.
Älä koskaan pane käsiä tai jalkoja leikkurin leikkuupöydän alle.
Kytke voimanulosotto (teräkytkin, voimanulosotto) POIS-asentoon, käännä avain PYSäYTYS-asentoon ja irrota avain aina ennen poistoalueen tai leikkuuterien puhdistusta.
Varmista, että suuntain on ala-asennossa.
Kuljetuslukossa on kaksi asentoa, joita säädetään leikkuupöydän nostopolkimella. Leikkuupöydän kuljetuslukossa on LUKITTU ja LUKITSEMATON asento (Kuva 28).

Leikkuukorkeudeksi voidaan säätää 38–127 mm (6 mm:n välein) siirtämällä leikkuukorkeuden tappi eri reikiin.
Siirrä kuljetuslukko LUKITTU-asentoon.
Paina leikkuupöydän nostopoljinta jalalla ja nosta leikkuupöytä KULJETUS-asentoon (joka on myös 127 mm:n leikkuukorkeusasento) kuvan mukaisesti (Kuva 29).
Irrota tappi leikkuukorkeuden kannattimesta (Kuva 29).
Valitse leikkuukorkeuden kannattimesta haluttua leikkuukorkeutta vastaava reikä ja työnnä tappi reikään (Kuva 29).
Paina leikkuupöydän nostopoljinta, vedä kuljetuslukon nuppia ylös ja laske leikkuupöytä hitaasti.

Kun säädät leikkuukorkeutta, säädä samalla nurmisuojarullien korkeus.
Note: Säädä nurmisuojarullia siten, että ne eivät kosketa maata normaaleilla tasaisilla leikkuualueilla.
Pysäköi kone tasaiselle alustalle, vapauta teräkytkin ja kytke seisontajarru.
Sammuta moottori, irrota avain ja odota, että kaikki liikkuvat osat ovat pysähtyneet, ennen kuin poistut käyttäjän paikalta.
Säädä nurmisuojarullat kuvan mukaisesti (Kuva 30).


Leikkuujälki ja ilmanvaihto ovat parhaimmillaan, kun moottoria käytetään NOPEA-asetuksella. Ilmaa tarvitaan, jotta ruoho saataisiin leikattua huolellisesti. Älä siis säädä leikkuukorkeutta niin alas, että leikkaamaton ruoho ympäröi leikkuupöydän kokonaan. Huolehdi, että leikkuupöydän toinen sivu on leikatun nurmen päällä, jolloin leikkuupöytään pääsee ilmaa.
Varmista, ettei leikkuupöytä leikkaa nurmen mahdollisia epätasaisia kohtia paljaaksi, leikkaamalla ruoho hieman tavallista pidemmäksi. Aikaisemmin käytetty leikkuukorkeus on kuitenkin yleensä sopivin. Kun leikattava ruoho on yli 15 cm:n pituista, hyvä leikkuujälki voidaan varmistaa leikkaamalla se kaksi kertaa.
Ruohonkorren pituudesta kannattaa leikata vain noin kolmasosa. Suuremman määrän leikkaamista ei suositella, ellei ruoho ole harvaa tai ole myöhäinen syksy, jolloin ruoho kasvaa hitaammin.
Vaihtele leikkuusuuntaa, jotta ruoho pysyy pystyssä. Tämä helpottaa myös leikkuujätteen levittämistä, joka puolestaan edistää maatumista ja lannoitusta.
Ruoho kasvaa eri nopeudella eri vuodenaikoina. Leikkuukorkeus voidaan pitää samana leikkaamalla ruoho useammin keväällä. Vähennä leikkuukertoja keskikesällä, jolloin ruohon kasvu hidastuu. Jos ruohoa ei jostain syystä voida leikata pitkähköön aikaan, käytä ensin korkeaa leikkuukorkeutta. Leikkaa ruoho sitten uudelleen parin päivän kuluttua alemmalla korkeusasetuksella.
Leikkuujäljen parantamiseksi ajonopeutta kannattaa hidastaa tietyissä olosuhteissa.
Suurenna leikkuukorkeutta epätasaista nurmea leikattaessa, jotta nurmi ei leikkaudu paljaaksi.
Jos koneen liike eteenpäin on pysäytettävä kesken leikkuun, nurmikolle saattaa pudota kasa leikkuujätettä. Jotta näin ei kävisi, siirry aiemmin leikatulle alueelle terät kytkettyinä tai vapauta leikkuupöytä eteenpäin ajaessasi.
Poista leikkuujätteet ja lika leikkuupöydän alapuolelta aina käytön jälkeen. Jos leikkuupöydän sisälle kertyy ruohoa ja likaa, leikkuujäljestä tulee ennen pitkää epätyydyttävä.
Pidä terä terävänä koko leikkuukauden ajan. Terävä terä leikkaa ruohon siistimmin ruohonkorsia repimättä. Repeytymien vuoksi ruohon reunat muuttuvat ruskeiksi, mikä heikentää kasvua ja altistaa kasvisairauksille. Tarkista aina käytön jälkeen, että leikkuuterät ovat terävät ja että ne eivät ole kuluneet tai vaurioituneet. Viilaa mahdolliset lovet pois ja teroita terät tarpeen mukaan. Jos terä on vaurioitunut tai kulunut, vaihda se aitoon Toro-vaihtoterään.
Pysäköi kone tasaiselle alustalle, vapauta käytöt, kytke seisontajarru, sammuta moottori ja irrota virta-avain tai sytytystulpan johto. Odota, että kaikki liikkuvat osat pysähtyvät, ja anna koneen jäähtyä ennen sen säätämistä, puhdistamista, korjaamista tai varastoimista. Älä anna tehtävään kouluttamattomien henkilöiden huoltaa konetta.
Puhdista kone Huolto-osion ohjeiden mukaisesti. Pidä moottori ja moottoritila puhtaana, sillä sinne saattaa kertyä ylimääräistä rasvaa ja öljyä sekä ruohoa, lehtiä ja muita roskia. Nämä materiaalit saattavat syttyä palamaan ja aiheuttaa tulipalon.
Tarkasta säännöllisesti kuluneet tai kuluvat osat, jotka voivat aiheuttaa vaaran. Kiristä löystyneet kiinnitystarvikkeet.
Sulje polttoaineen sulkuventtiili koneen kuljetuksen, huollon ja varastoinnin ajaksi (Kuva 32).
Varmista, että polttoaineen sulkuventtiili on avoinna, kun käynnistät moottorin.


Kädet saattavat takertua moottorikannen alla pyöriviin vetokoneiston osiin, mikä voi johtaa vakavaan loukkaantumiseen.
Sammuta moottori, irrota avain ja anna liikkuvien osien pysähtyä, ennen kuin kosket vetopyörien ohitusventtiileihin.
Moottori ja hydrauliset vetoyksiköt voivat olla erittäin kuumia. Kuuman moottorin tai hydraulisten vetoyksiköiden koskettaminen voi aiheuttaa vakavia palovammoja.
Anna moottorin ja hydraulisten vetoyksiköiden jäähtyä kokonaan, ennen kuin kosket vetopyörien ohitusventtiileihin.
Vetopyörien ohitusventtiilit sijaitsevat vasemmalla ja oikealla puolella moottorikannen alla.
Pysäköi kone tasaiselle alustalle, vapauta teräkytkin ja kytke seisontajarru.
Sammuta moottori, irrota avain ja odota, että kaikki liikkuvat osat ovat pysähtyneet, ennen kuin poistut käyttäjän paikalta.
Paikanna istuimen takana alhaalla rungon vasemmalla ja oikealla puolella olevat ohitusvivut.
Jos konetta on työnnettävä, siirrä molemmat ohitusnupit taakse ja lukitse ne paikoilleen (Kuva 33).
Vapauta seisontajarru ennen koneen työntämistä.

Kun haluat käyttää konetta, siirrä ohitusnupit ETEEN-asentoon ja lukitse ne paikoilleen (Kuva 33).
Käytä koneen kuljetukseen raskaaseen käyttöön tarkoitettua perävaunua tai kuorma-autoa. Käytä täysleveää ramppia. Varmista, että perävaunussa tai kuljetusajoneuvossa on kaikki lain vaatimat jarrut, valot ja merkinnät. Lue huolellisesti kaikki turvaohjeet. Nämä tiedot auttavat suojaamaan sinua ja sivullisia loukkaantumiselta. Noudata perävaunujen käyttöä ja kiinnitysvaatimuksia koskevia paikallisia määräyksiä.
Kaduilla ja teillä ajaminen ilman suuntavilkkuja, valoja, heijastavia merkintöjä tai hitaan ajoneuvon merkkiä on vaarallista ja saattaa aiheuttaa henkilövahinkoihin johtavan onnettomuuden.
Älä aja koneella julkisella tiellä tai kadulla.
Koneen lastaaminen perävaunuun tai kuorma-autoon lisää kaatumisen mahdollisuutta, mikä voi aiheuttaa vakavan loukkaantumisen tai kuoleman (Kuva 34).
Käytä vain täysleveää ramppia. Älä käytä erillisiä ramppeja koneen molemmilla puolilla.
Rampin ja maan tai rampin ja perävaunun tai kuorma-auton välinen kulma ei saa olla yli 15 astetta.
Varmista, että rampin pituus on vähintään neljä kertaa pidempi kuin perävaunun tai kuorma-auton lavan korkeus maahan. Näin varmistetaan, että rampin kulma tasaiseen maahan ei ylitä 15:ta astetta.

Koneen lastaaminen perävaunuun tai kuorma-autoon lisää kaatumisen mahdollisuutta, mikä voi aiheuttaa vakavan loukkaantumisen tai kuoleman.
Ole erittäin varovainen käyttäessäsi konetta rampilla.
Peruuta kone ylös ramppia ja aja eteenpäin alas ramppia.
Vältä äkillistä kiihdytystä tai hidastusta konetta rampilla ajettaessa, sillä tämä voi aiheuttaa hallinnan menetyksen tai kaatumisen.
Jos käytät perävaunua, kiinnitä se vetoajoneuvoon ja käytä turvaketjuja.
Kytke tarvittaessa perävaunun jarrut ja valot.
Laske ramppi ja varmista, että rampin ja maan välinen kulma ei ylitä 15:tä astetta (Kuva 34).
Aja ramppia ylös peruuttamalla (Kuva 35).

Sammuta moottori, irrota avain ja kytke seisontajarru.
Kiinnitä kone etukääntöpyörien ja takapuskurin läheltä hihnoilla, ketjuilla, kaapelilla tai köysillä (Kuva 36). Noudata kiinnitysvaatimuksia koskevia paikallisia määräyksiä.

Joku voi käynnistää moottorin huollon tai säätämisen aikana. Moottorin käynnistys vahingossa voi aiheuttaa vakavan tapaturman käyttäjälle tai sivullisille.
Ota avain pois virtalukosta, kytke seisontajarru ja irrota sytytystulppien johdot ennen kuin ryhdyt kunnossapitotöihin. Työnnä johdot sivuun, jotta ne eivät vahingossa kosketa sytytystulppia.
Moottorista saattaa tulla erittäin kuuma. Kuuman moottorin koskettaminen voi aiheuttaa vakavia palovammoja.
Anna moottorin jäähtyä kokonaan ennen huoltoa tai moottoritilassa tehtäviä korjaustöitä.
Pysäköi kone tasaiselle alustalle, vapauta käytöt, kytke seisontajarru, sammuta moottori ja irrota virta-avain tai sytytystulpan johto. Odota, että kaikki liikkuvat osat pysähtyvät, ja anna koneen jäähtyä ennen säätämistä, puhdistamista tai korjaamista. Älä anna tehtävään kouluttamattomien henkilöiden huoltaa konetta.
Irrota akun kaapelit tai irrota johto sytytystulpasta ennen mitään huoltotoimia. Irrota kaapeli ensin negatiivisesta navasta ja vasta sitten positiivisesta navasta. Kytke kaapeli ensin plusnapaan ja vasta sitten miinusnapaan.
Pidä kone, suojukset, suojalevyt ja kaikki turvalaitteet oikeilla paikoillaan ja turvallisessa toimintakunnossa. Tarkista osat säännöllisesti kulumien ja heikkouksien varalta, ja vaihda ne tarvittaessa valmistajan suosittelemiin osiin.
Alkuperäisten varusteiden, osien ja/tai lisävarusteiden irrottaminen tai mukauttaminen voi vaikuttaa koneen takuuseen, ohjattavuuteen ja turvallisuuteen. Alkuperäisten varusteiden luvaton mukauttaminen tai muiden kuin alkuperäisten Toro-osien käyttö voi johtaa vakavaan loukkaantumiseen tai kuolemaan. Koneeseen, moottoriin, polttoaineeseen tai ilmanvaihtojärjestelmään tehdyt luvattomat muutokset voivat olla muun muassa seuraavien sovellettavien turvallisuusstandardien vastaisia: ANSI, OSHA ja NFPA ja/tai Yhdysvaltain valtion säädökset, kuten EPA ja CARB.
Paineella suihkuava hydraulineste voi läpäistä ihon ja aiheuttaa vammoja. Asiantuntijalääkärin on leikattava ihon sisään päässyt neste muutaman tunnin sisällä, jotta neste ei aiheuta kuoliota.
Jos ne on asennettu, varmista, että kaikki hydrauliletkut ja -putket ovat hyvässä kunnossa ja että kaikki hydrauliliitännät ja -liittimet ovat tiukalla, ennen kuin lisäät hydraulijärjestelmän painetta.
Pidä keho ja kädet kaukana vuotavista rei’istä ja suuttimista, joista suihkuaa korkeapaineista hydraulinestettä.
Etsi hydraulinestevuotoja pahvin tai paperin avulla, ei käsillä.
Poista paine varovasti hydraulijärjestelmästä asettamalla liikkeenohjausvivut vapaalle ja sammuttamalla moottori, ennen kuin huollat hydraulijärjestelmää.
Polttoainejärjestelmän osat altistuvat suurelle paineelle. Sopimattomien osien käyttö voi aiheuttaa järjestelmän rikkoutumisen, polttoainevuotoja ja räjähdysvaaran.
Käytä vain korkeapainejärjestelmille hyväksyttyjä polttoaineputkia ja polttoainesuodattimia.
Ole varovainen, kun tarkastat teriä. Kiedo terän (terien) ympärille esimerkiksi kangas tai käytä käsineitä ja ole varovainen, kun huollat teriä. Vaurioituneet terät on vaihdettava. Älä koskaan suorista tai hitsaa niitä.
Tue kone tai sen osat tarvittaessa pukkien avulla.
Koneen nosto korjausta tai huoltoa varten pelkästään mekaanisten tai hydraulisten tunkkien varaan voi olla vaarallista. Mekaaniset tai hydrauliset tunkit eivät välttämättä tue riittävästi tai niihin saattaa tulla vika, jolloin kone voi pudota, mistä saattaa olla seurauksena henkilövahinko.
Älä tue konetta pelkästään mekaanisten tai hydraulisten tunkkien varaan. Käytä asianmukaisia pukkeja tai vastaavaa tukea.
Vapauta paine varovasti osista, joihin on varastoitunut energiaa.
Pidä kädet ja jalat poissa liikkuvista osista. Älä tee säätöjä moottorin ollessa käynnissä, jos mahdollista. Ole äärimmäisen varovainen, jos huolto- tai säätötoimenpiteet vaativat, että moottori on käynnissä ja osat liikkuvat.
Kosketus liikkuviin osiin tai kuumiin pintoihin voi aiheuttaa tapaturman.
Pidä sormet, kädet ja vaatteet etäällä pyörivistä osista ja kuumista pinnoista.
Tarkasta säännöllisesti kaikki pultit ja niiden oikea kireys.
| Huoltoväli | Huoltotoimenpide |
|---|---|
| 5 ensimmäisen käyttötunnin jälkeen |
|
| 75 ensimmäisen käyttötunnin jälkeen |
|
| Aina ennen käyttöä tai päivittäin |
|
| 25 käyttötunnin välein |
|
| 50 käyttötunnin välein |
|
| 100 käyttötunnin välein |
|
| 200 käyttötunnin välein |
|
| 250 käyttötunnin välein |
|
| 500 käyttötunnin välein |
|
| Kuukausittain |
|
| Vuosittain tai ennen varastointia |
|
Jos jätät avaimen virtalukkoon, joku voi vahingossa käynnistää moottorin ja vahingoittaa vakavasti lähellä olijoita.
Sammuta moottori ja irrota virta-avain virtalukosta ennen kaikkia huoltotoimia.
Vapauta leikkuupöydän verho löysäämällä verhon ylintä pulttia, jotta pääset käsiksi leikkuupöydän yläosaan (Kuva 37). Kun huoltotoimenpide on suoritettu, kiinnitä verho kiristämällä pultti.

Irrota metallinen suojuslevy löysäämällä kahta etupulttia, jotta pääset käsiksi leikkurin hihnoihin ja karoihin (Kuva 38). Kun huoltotoimenpide on suoritettu, asenna metallinen suojuslevy ja kiristä pultit.

| Huoltoväli | Huoltotoimenpide |
|---|---|
| 25 käyttötunnin välein |
|
| 50 käyttötunnin välein |
|
Rasvaa kone useammin likaisissa tai pölyisissä olosuhteissa.
Rasvatyyppi: litiumrasva nro 2 tai molybdeenirasva
Pysäköi kone tasaiselle alustalle, vapauta teräkytkin ja kytke seisontajarru. Katso kohta Seisontajarrun kytkentä.
Sammuta moottori, irrota avain ja odota, että kaikki liikkuvat osat ovat pysähtyneet, ennen kuin poistut käyttäjän paikalta.
Puhdista rasvanipat rievulla.
Note: Raaputa rasvanippoihin mahdollisesti roiskunut maali pois.
Rasvaa pumpun kiristinpyörän nivel yhdellä tai kahdella voiteluaineen pumppauksella (Kuva 39).
Rasvaa etummaisten kääntöpyörien akselit (Kuva 39).

Pyyhi pois liika rasva.
Moottori on sammutettava ennen öljyn tarkistusta tai lisäystä kampikammioon.
Pidä kädet, jalat, kasvot, vaatteet ja muut kehonosat etäällä äänenvaimentimesta ja muista kuumista pinnoista.
| Huoltoväli | Huoltotoimenpide |
|---|---|
| Aina ennen käyttöä tai päivittäin |
|
| 25 käyttötunnin välein |
|
| 100 käyttötunnin välein |
|
| 200 käyttötunnin välein |
|
Note: Huolla ilmanpuhdistin useammin, jos käyttöolosuhteet ovat erittäin pölyiset tai hiekkaiset.
Pysäköi kone tasaiselle alustalle, vapauta teräkytkin (voimanulosotto) ja kytke seisontajarru.
Sammuta moottori, irrota avain ja odota, että kaikki liikkuvat osat ovat pysähtyneet, ennen kuin poistut käyttäjän paikalta.
Puhdista ilmanpuhdistimen suojuksen ympäristö, jotta likaa ei pääse moottoriin aiheuttamaan vahinkoa.
Nosta suojus ja käännä ilmanpuhdistinjärjestelmä pois moottorista (Kuva 40).


Erottele vaahtomuovi- ja paperipanokset (Kuva 41).

Pese vaahtomuovipanos nestesaippualla ja lämpimällä vedellä. Kun panos on puhdas, huuhtele se perusteellisesti.
Kuivaa panos puristamalla sitä puhtaaseen riepuun.
Important: Vaihda vaahtomuovipanos, jos se on repeytynyt tai kulunut.
Irrota paperipanoksesta lika naputtamalla sitä varovasti.
Note: Älä pese paperipanosta tai puhdista sitä paineilmalla, jotta se ei vaurioituisi.
Note: Vaihda panos, jos se on likainen, taipunut tai vaurioitunut. Käsittele uutta panosta varovasti. Älä käytä, jos tiivistepinnat ovat taittuneet tai vaurioituneet.
Puhdista ilmanpuhdistimen kanta tarvittaessa, ja tarkista kunto.
Asenna vaahtomuovipanos paperipanoksen päälle.
Note: Varmista, ettet vaurioita panoksia.
Kohdista suodattimen reiät imusarjan aukkoihin.
Käännä suodatin alas kammioon ja aseta se kokonaan paikoilleen imusarjaa vasten (Kuva 42).

Sulje suojus.
| Huoltoväli | Huoltotoimenpide |
|---|---|
| 5 ensimmäisen käyttötunnin jälkeen |
|
| Aina ennen käyttöä tai päivittäin |
|
| 100 käyttötunnin välein |
|
Öljylaatu: pesevä öljy (API-huoltoluokitus SF, SG, SH, SJ tai SL).
Kampikammion tilavuus: 2,4 l öljynsuodattimen kanssa
Viskositeetti: Katso seuraava taulukko.

Note: Tarkista öljymäärä moottorin ollessa kylmä.
Important: Jos moottorin kampikammioon laitetaan liikaa tai liian vähän öljyä ja moottoria käytetään, moottori saattaa vaurioitua.
Pysäköi kone tasaiselle alustalle, vapauta teräkytkin (voimanulosotto) ja kytke seisontajarru.
Sammuta moottori, irrota avain ja odota, että kaikki liikkuvat osat ovat pysähtyneet, ennen kuin poistut käyttäjän paikalta.
Note: Varmista, että moottori on jäähtynyt, jotta öljy on ehtinyt valua öljypohjaan.
Puhdista öljyntäyttökorkin ja mittatikun ympäristö ennen korkin irrottamista, jotta moottoriin ei pääse likaa, leikkuujätteitä tai muita roskia (Kuva 44).


Pysäköi kone tasaiselle alustalle, jotta kaikki öljy tyhjenee.
Vapauta teräkytkin (voimanulosotto) ja kytke seisontajarru.
Sammuta moottori, irrota avain ja odota, että kaikki liikkuvat osat ovat pysähtyneet, ennen kuin poistut käyttäjän paikalta.
Tyhjennä öljy moottorista.


Vaihda moottorin öljynsuodatin (Kuva 46).
Note: Varmista, että öljynsuodattimen tiiviste koskettaa moottoria, ja käännä sitten suodatinta vielä ¾ kierrosta.

Kaada hitaasti noin 80 % määritetystä öljymäärästä täyttöputkeen ja lisää hitaasti siten, että sitä on Full-merkkiin asti (Kuva 47).

Toimita käytetty öljy jälleenkäsittelylaitoksen hävitettäväksi.
| Huoltoväli | Huoltotoimenpide |
|---|---|
| 100 käyttötunnin välein |
|
| 200 käyttötunnin välein |
|
Varmista, että keski- ja sivuelektrodien kärkiväli on oikea, ennen kuin asennat sytytystulpan. Irrota ja asenna sytytystulppa käyttäen apuna sytytystulpan avainta. Tarkista ja säädä kärkiväliä kärkivälin työkalulla tai rakotulkilla. Asenna tarvittaessa uusi sytytystulppa.
Tyyppi: Champion® RN9YC tai NGK® BPR6ES
Kärkiväli: 0,76 mm
Pysäköi kone tasaiselle alustalle, vapauta teräkytkin (voimanulosotto) ja kytke seisontajarru.
Sammuta moottori, irrota avain ja odota, että kaikki liikkuvat osat ovat pysähtyneet, ennen kuin poistut käyttäjän paikalta.
Puhdista sytytystulpan ympäristö, jotta moottoriin ei pääse likaa tai roskia.
Paikanna ja irrota sytytystulpat kuvan mukaisesti (Kuva 48).


Important: Älä puhdista sytytystulppia. Sytytystulppa tulee vaihtaa aina, kun eriste on mustunut, kun elektrodit ovat kuluneet tai kun tulpassa on öljykalvo tai murtumia.
Jos näet eristeessä vaaleanruskeata tai harmaata, moottori toimii moitteettomasti. Jos eriste on mustunut, ilmanpuhdistin on yleensä likainen.
Säädä kärkiväliksi 0,76 mm.


| Huoltoväli | Huoltotoimenpide |
|---|---|
| Aina ennen käyttöä tai päivittäin |
|
Pysäköi kone tasaiselle alustalle, vapauta teräkytkin (voimanulosotto) ja kytke seisontajarru.
Sammuta moottori, irrota avain ja odota, että kaikki liikkuvat osat ovat pysähtyneet, ennen kuin poistut käyttäjän paikalta.
Irrota ilmansuodatin moottorista.
Irrota moottorin vaippa.
Estä roskien pääseminen ilmanottoon asentamalla ilmansuodatin suodattimen kantaan.
Puhdista osat roskista ja ruohosta.
Irrota ilmansuodatin ja asenna moottorin vaippa.
Asenna ilmansuodatin.
| Huoltoväli | Huoltotoimenpide |
|---|---|
| 50 käyttötunnin välein |
|
Pakokaasujärjestelmän kuumat osat voivat saada polttoainehöyryt syttymään, vaikka moottori olisi sammutettu. Moottorin käytön aikana vapautuvat kuumat pakokaasuhiukkaset voivat sytyttää tulenarat materiaalit, mistä voi seurata henkilö- tai omaisuusvahinkoja.
Älä lisää polttoainetta tai käytä moottoria, jos kipinänsammutinta ei ole asennettu.
Pysäköi kone tasaiselle alustalle, vapauta voimanulosotto ja kytke seisontajarru.
Sammuta moottori, irrota avain ja odota, että kaikki liikkuvat osat ovat pysähtyneet, ennen kuin poistut käyttäjän paikalta.
Anna äänenvaimentimen jäähtyä.
Jos säleikössä tai hitsauksissa on murtumia, vaihda sammutin.
Jos säleikössä on tukoksia, irrota kipinänsammutin, ravista siitä irtohiukkaset ja puhdista säleikkö teräsharjalla (käytä tarvittaessa liuotinta).
Asenna sammutin takaisin poistoaukkoon.
| Huoltoväli | Huoltotoimenpide |
|---|---|
| 500 käyttötunnin välein |
|
Pysäköi kone tasaiselle alustalle, vapauta teräkytkin (voimanulosotto) ja kytke seisontajarru.
Sammuta moottori, irrota avain ja odota, että kaikki liikkuvat osat ovat pysähtyneet, ennen kuin poistut käyttäjän paikalta.
Irrota suodatin ilmaletkusta.
Asenna uusi suodatin ilmaletkun päähän.
Tietyissä oloissa polttoaine on hyvin tulenarkaa ja räjähdysherkkää. Polttoaineen aiheuttama tulipalo tai räjähdys voi aiheuttaa palovammoja ja omaisuusvahinkoja.
Kohdassa Polttoaineen lisäys on täydellinen luettelo polttoaineeseen liittyvistä varotoimenpiteistä.
| Huoltoväli | Huoltotoimenpide |
|---|---|
| 500 käyttötunnin välein |
|
Important: Asenna polttoaineletkut ja kiinnitä ne nippusiteillä samaan tapaan kuin ne asennettiin valmistusvaiheessa. Näin polttoaineletkut pysyvät etäällä osista, jotka saattaisivat vaurioittaa letkuja.
Polttoainesuodatin sijaitsee lähellä moottoria sen edessä vasemmalla.
Pysäköi kone tasaiselle alustalle, vapauta teräkytkin (voimanulosotto) ja kytke seisontajarru.
Sammuta moottori, irrota avain ja odota, että kaikki liikkuvat osat ovat pysähtyneet, ennen kuin poistut käyttäjän paikalta.
Anna koneen jäähtyä.
Sulje istuimen alla oleva polttoaineen sulkuventtiili.
Vaihda polttoainesuodatin (Kuva 51).
Note: Varmista, että suodattimen merkinnät ovat polttoaineen virtaussuunnan mukaisesti.

Avaa polttoaineen sulkuventtiili.
Älä yritä tyhjentää polttoainesäiliötä. Varmista, että polttoainesäiliön tyhjentää ja polttoainejärjestelmän osat huoltaa valtuutettu huoltoliike.
Irrota akun kytkennät ennen kuin korjaat konetta. Irrota ensin miinusnavan akkukenkä ja vasta sitten plusnavan akkukenkä. Kytke ensin plusnavan akkukenkä ja vasta sitten miinusnavan akkukenkä.
Lataa akku avoimessa tilassa, jossa on hyvä ilmanvaihto, kaukana kipinöistä ja avotulesta. Irrota laturin virtajohto ennen kuin kytket laturin akkuun tai irrotat sen akusta. Käytä suojavaatetusta ja eristettyjä työkaluja.
| Huoltoväli | Huoltotoimenpide |
|---|---|
| Kuukausittain |
|
Akun navat tai metallityökalut voivat aiheuttaa oikosulun koskettaessaan koneen metalliosia, mistä voi seurata kipinöitä. Kipinät voivat saada akun kaasut räjähtämään ja aiheuttaa siten henkilövahingon.
Kun irrotat tai asennat akun, älä anna akun napojen koskettaa koneen metalliosia.
Älä anna metallityökalujen aiheuttaa oikosulkua akun napojen ja koneen metalliosien välille.
Akun kaapeleiden virheellinen irrotus voi vahingoittaa konetta ja kaapeleita aiheuttaen kipinöitä. Kipinät voivat saada akun kaasut räjähtämään ja aiheuttaa siten henkilövahingon.
Irrota aina akun miinuskaapeli (musta) ennen pluskaapelin (punainen) irrottamista.
Kytke aina akun pluskaapeli (punainen) ennen miinuskaapelia (musta).
Pysäköi kone tasaiselle alustalle, vapauta teräkytkin (voimanulosotto) ja kytke seisontajarru.
Sammuta moottori, irrota avain ja odota, että kaikki liikkuvat osat ovat pysähtyneet, ennen kuin poistut käyttäjän paikalta.
Irrota akku kuvan mukaisesti (Kuva 52).


Akun latauksen yhteydessä syntyy räjähdysherkkiä kaasuja.
Älä tupakoi akun lähettyvillä. Älä päästä kipinöitä tai liekkejä kosketuksiin akun kanssa.
Important: Pidä akku aina täysin ladattuna (ominaispaino 1,265). Tämä on erityisen tärkeää siksi, että näin ehkäistään akun vahingoittuminen, kun lämpötila on alle 0° C.
Irrota akku alustasta. Katso kohta Akun irrotus.
Lataa akkua 10–15 minuuttia 25–30 ampeerin sähkövirralla tai 30 minuuttia 10 ampeerin virralla.
Note: Älä lataa akkua liikaa.
Kun akku on ladattu täyteen, irrota laturi sähköliitännästä. Irrota sitten laturin johtimet akun navoista (Kuva 53).
Asenna akku koneeseen ja kytke akun kaapelit. Katso kohta Akun asennus.
Note: Älä käytä konetta, kun akkua ei ole kytketty. Se voi aiheuttaa sähkövaurioita.

Aseta akku alustalle siten, että navat ovat hydraulisäiliötä vastapäätä (Kuva 52).
Asenna pluskaapeli (punainen) akun plusnapaan (+).
Kytke akun miinuskaapeli (musta) ja maadoitusjohto akun miinusnapaan (–).
Note: Varmista MyRide-koneissa, että maadoituskaapeli ei hankaudu pitkittäistä tukivartta tai alempaa vaimentimen kiinnitystä vasten (Kuva 55).

Kiinnitä kaapelit kahdella pultilla, kahdella aluslaatalla ja kahdella lukkomutterilla (Kuva 52).
Vedä punainen navan suojus akun plusnavan (+) päälle.
Kiinnitä akku kumihihnalla (Kuva 52).
Sähköjärjestelmä on suojattu sulakkeilla. Huoltoa ei tarvita. Jos sulake kuitenkin palaa, tarkista osa ja virtapiiri toimintavian tai oikosulun varalta.
Sulakkeet sijaitsevat oikeassa konsolissa istuimen vieressä (Kuva 55).
Vaihda sulakkeet vetämällä ensin vanha sulake irti.
Asenna uusi sulake (Kuva 55).

| Huoltoväli | Huoltotoimenpide |
|---|---|
| Aina ennen käyttöä tai päivittäin |
|
Tarkasta, että turvavyön vetolaite ja solki toimivat kunnolla ja ettei turvavyössä ole kulumia tai repeämiä. Vaihda turvavyö, jos se on vaurioitunut.
| Huoltoväli | Huoltotoimenpide |
|---|---|
| Aina ennen käyttöä tai päivittäin |
|
Kaatumisesta aiheutuvan loukkaantumisen tai kuoleman välttämiseksi turvakaari on pidettävä lukittuna yläasentoon ja turvavyötä on käytettävä.
Varmista, että istuin on kiinnitetty koneeseen.
Tarkista, että kiinnikkeet ja nupit ovat hyvässä kunnossa.
Varmista, että nupit ovat täysin kytkettyinä, kun turvakaari on yläasennossa.
Note: Turvakaaren yläosaa on ehkä työnnettävä eteenpäin tai vedettävä taaksepäin, jotta molemmat nupit saadaan kytketyksi täysin (Kuva 56 ja Kuva 57).


Vapauta teräkytkin (voimanulosotto).
Aja avoimelle ja tasaiselle alueelle ja lukitse liikkeenohjausvivut VAPAA-asentoon.
Siirrä kaasuvipu HIDAS- ja NOPEA-asennon puoliväliin.
Siirrä molemmat liikkeenohjausvivut eteen, kunnes ne osuvat T-aukon pysäyttimiin.
Tarkista, mihin suuntaan kone vetää.
Jos kone vetää oikealle, aseta 3/16 tuuman kuusioavain oikeanpuoleisen etusuojapaneelin aukon läpi ja säädä vivun liikerataa kääntämällä ohjauskulman säätöruuvia myötä- tai vastapäivään (Kuva 58).
Jos kone vetää vasemmalle, aseta 3/16 tuuman kuusioavain oikeanpuoleisen etusuojapaneelin aukon läpi ja säädä vivun liikerataa kääntämällä ohjauskulman säätöruuvia myötä- tai vastapäivään (Kuva 58).
Aja koneella ja tarkista ohjauskulman toiminta eteenpäin ajossa.
Toista säätö, kunnes haluttu ohjauskulma on saavutettu.

| Huoltoväli | Huoltotoimenpide |
|---|---|
| 50 käyttötunnin välein |
|
Etu- ja takarenkaiden oikea rengaspaine on 0,9 bar. Epätasainen rengaspaine saattaa tehdä leikkuujäljestä epätasaisen. Tarkista paine, kun renkaat ovat kylmät, jotta painelukema on mahdollisimman tarkka.

Tarkista pyöränmuttereiden kireys ja kiristä ne momenttiin 122–136 N·m.
| Huoltoväli | Huoltotoimenpide |
|---|---|
| Aina ennen käyttöä tai päivittäin |
|
Poista ruoho, lika ja roskat moottorin säleiköstä, pakokaasujärjestelmästä ja moottorin ympäristöstä ennen jokaista käyttökertaa. Tämä varmistaa moottorin riittävän jäähdytyksen ja oikean nopeuden sekä vähentää moottorin ylikuumenemisen ja mekaanisten vaurioiden vaaraa.
| Huoltoväli | Huoltotoimenpide |
|---|---|
| 500 käyttötunnin välein |
|
Note: Suorita tämä toimenpide aina, kun irrotat tai vaihdat jarrukomponentin.
Pysäköi kone tasaiselle alustalle, vapauta teräkytkin (voimanulosotto) ja kytke seisontajarru.
Sammuta moottori, irrota avain ja odota, että kaikki liikkuvat osat ovat pysähtyneet, ennen kuin poistut käyttäjän paikalta.
Valmistele kone työntämistä varten. Katso Vetopyörien ohitusventtiilien käyttö.
Nosta koneen takaosa ja tue se akselipukeilla.
Koneen nostaminen pelkästään mekaanisilla tai hydraulisilla tunkeilla huollon tai kunnossapidon aikana voi olla vaarallista, koska tunkit eivät välttämättä tue riittävästi tai ne voivat vioittua. Tällöin kone voi pudota ja aiheuttaa vakavia vammoja.
Älä tue konetta pelkästään mekaanisten tai hydraulisten tunkkien varaan. Käytä asianmukaisia pukkeja tai vastaavaa tukea.
Kytke ja vapauta seisontajarru ja tarkista jokaisen vetävän pyörän kohdalla, että jarru kytkeytyy ja vapautuu oikein.
Jos säätö on tarpeen, vapauta seisontajarru. Irrota sokka jarrun nivelakselista (Kuva 60).

Tarkista molempien jousien pituus kuvan mukaisesti (Kuva 61). Jos säätö on tarpeen, lyhennä jousta kääntämällä ylintä mutteria myötäpäivään tai pidennä jousta kääntämällä mutteria vastapäivään.

Työnnä seisontajarrun vipu kokonaan eteen ja alas.
Käännä jarrun nivelakselia, kunnes sen pää on vivun reiän kohdalla.
Lyhennä niveltä kääntämällä sitä myötäpäivään.
Pidennä niveltä kääntämällä sitä vastapäivään.
Asenna jarrun nivelakseli seisontajarrun reikään ja kiinnitä sokalla. Toista vaihe 5 ja säädä tarvittaessa.
Kun säätö on valmis, poista pukit tai vastaavat tuet ja laske kone alas.
Aseta kone KäYTTöASENTOON. Katso kohta Vetopyörien ohitusventtiilien käyttö.
| Huoltoväli | Huoltotoimenpide |
|---|---|
| 50 käyttötunnin välein |
|
Vaihda hihna, jos se on kulunut. Kuluneen hihnan merkkejä ovat vinkuminen hihnan pyöriessä, luistavat terät ruohoa leikattaessa, rispaantuneet hihnan reunat, palojäljet ja murtumat hihnassa.
Pysäköi kone tasaiselle alustalle, vapauta teräkytkin (voimanulosotto) ja kytke seisontajarru.
Sammuta moottori, irrota avain ja odota, että kaikki liikkuvat osat ovat pysähtyneet, ennen kuin poistut käyttäjän paikalta.
Laske leikkuri 76 mm:n leikkuukorkeuteen.
Löysää kunkin hihnasuojuksen pulttia.
Löysää alinta pulttia, jolla leikkuupöydän verho on kiinnitetty leikkuupöytään. Katso kohta Leikkuupöydän verhon vapautus.
Irrota metallinen suojuslevy. Katso kohta Metallisen suojuslevyn irrotus.
Irrota hihnasuojukset ja niihin kiinnitetyt pultit (Kuva 62).

Vapauta jousijännitys leikkurin jousikuormitteisesta kiristinpyörästä. Katso Kuva 64.
Note: Irrota jousi leikkuupöydän tapista jousen irrotustyökalulla (Toro-osanro 92-5771) (Kuva 64).
Irrota hihna leikkuupöydän hihnapyöristä ja kytkimen hihnapyörästä.
Asenna uusi hihna leikkurin hihnapyörien ja moottorin alla olevan kytkimen hihnapyörän ympärille (Kuva 63).


Asenna kiristinpyörän jousi (Kuva 63).
Note: Aseta jousen päät kiinnitysuriin.
Asenna hihnasuojukset ja niihin kiinnitetyt pultit (Kuva 65).

Asenna metallinen suojuslevy. Katso kohta Metallisen suojuslevyn irrotus.
Kiristä alinta pulttia, jolla leikkuupöydän verho on kiinnitetty leikkuupöytään. Katso kohta Leikkuupöydän verhon vapautus.
Pysäköi kone tasaiselle alustalle, vapauta teräkytkin (voimanulosotto) ja kytke seisontajarru.
Sammuta moottori, irrota avain ja odota, että kaikki liikkuvat osat ovat pysähtyneet, ennen kuin poistut käyttäjän paikalta.
Irrota leikkurin hihna. Katso kohta Leikkurin hihnan vaihto.
Nosta kone ja tue se pukeilla (Kuva 67).
Irrota kytkimen pysäytin (Kuva 66).

Irrota kiristinpyörän jousi tapista (Kuva 67).
Irrota nykyinen hihna hydraulipumpun käyttöpyöristä ja moottorin hihnapyörästä.
Asenna uusi hihna moottorin hihnapyörän ja kahden hydraulipumpun hihnapyörän ympärille (Kuva 67).

Asenna kytkimen pysäytin (Kuva 66).
Asenna leikkurin hihna. Katso kohta Hihnan huolto.
Jos vipujen päät osuvat yhteen, katso kohta Liikkeenohjausvivuston säätö.
Liikkeenohjausvipuja voidaan säätää korkeammalle tai matalammalle omien tarpeiden mukaan.
Pysäköi kone tasaiselle alustalle, vapauta teräkytkin (voimanulosotto) ja kytke seisontajarru.
Sammuta moottori, irrota avain ja odota, että kaikki liikkuvat osat ovat pysähtyneet, ennen kuin poistut käyttäjän paikalta.
Irrota kiinnitystarvikkeet, jotka kiinnittävät ohjausvivun ohjausvarren akseliin.

Siirrä ohjausvipu seuraavien aukkojen kohdalle. Kiinnitä vipu kiinnitystarvikkeilla.
Toista säätö vastakkaiselle ohjausvivulle.
Pysäköi kone tasaiselle alustalle, vapauta teräkytkin (voimanulosotto) ja kytke seisontajarru.
Sammuta moottori, irrota avain ja odota, että kaikki liikkuvat osat ovat pysähtyneet, ennen kuin poistut käyttäjän paikalta.
Löysää ylempää pulttia, joka kiinnittää ohjausvivun ohjausvarren akseliin.
Löysää alempaa pulttia juuri sen verran, että ohjausvipu kääntyy pitkittäissuunnassa. Kiinnitä ohjausvipu uuteen asentoon kiristämällä molemmat pultit.
Toista säätö vastakkaiselle ohjausvivulle.

Pumpun ohjausvivustot sijaitsevat koneen molemmin puolin istuimen alla. Jotta kone ei liikkuisi ollessaan vapaalla vaihteella, sitä voi hienosäätää kiertämällä päätymutteria ½ tuuman hylsyavaimella. Säätöjä saa tehdä vain vapaa-asentoa varten.
Moottorin on oltava käynnissä ja vetopyörien on pyörittävä, jotta säätöjä voi tehdä. Kosketus liikkuviin osiin tai kuumiin pintoihin voi aiheuttaa tapaturman.
Pidä sormet, kädet ja vaatteet etäällä pyörivistä osista ja kuumista pinnoista.
Pysäköi kone tasaiselle alustalle, vapauta teräkytkin (voimanulosotto) ja kytke seisontajarru.
Sammuta moottori, irrota avain ja odota, että kaikki liikkuvat osat ovat pysähtyneet, ennen kuin poistut käyttäjän paikalta.
Työnnä leikkuupöydän nostopoljinta, irrota leikkuukorkeustappi ja laske leikkuupöytä maahan.
Nosta koneen takaosa ylös ja tue se akselipukeilla (tai vastaavilla tuilla) korkeudelle, jolla vetävät pyörät pyörivät juuri ja juuri esteettä.
Irrota sähköliitin istuimen turvakytkimestä, joka sijaitsee istuintyynyn alla.
Note: Kytkin on osa istuinkokoonpanoa.
Kytke hyppylanka tilapäisesti pääjohdinsarjan liittimen koskettimiin.
Käynnistä moottori, anna sen käydä täydellä kaasulla ja vapauta seisontajarru.
Note: Varmista ennen moottorin käynnistämistä, että seisontajarru on kytketty ja että liikkeenohjausvivut ovat ulkona. Istuimella ei tarvitse istua.
Käytä konetta vähintään viisi minuuttia liikkeenohjausvipujen ollessa täyden eteenpäinajonopeuden asennossa. Näin hydraulineste lämpenee käyttölämpötilaan.
Note: Liikkeenohjausvipujen on oltava vapaalla säätöjen aikana.
Siirrä liikkeenohjausvivut VAPAA-asentoon.
Varmista, että ohjauslevyn kielekkeet koskettavat vapaa-asennon palautuksen levyjä hydrauliyksiköissä.
Säädä pumpun ohjaustangon pituutta kiertämällä mutteria tarvittavaan suuntaan, kunnes pyörät pyörivät hitaasti taaksepäin (Kuva 70).

Siirrä liikkeenohjausvivut PERUUTUS-asentoon ja paina vipua hieman, jolloin peruutuksen merkkivalon jouset palauttavat vivut takaisin vapaalle.
Note: Pyörien on pysähdyttävä tai pyörittävä hitaasti taaksepäin.
Note: Liikkeenohjauksen suojus on ehkä irrotettava pois tieltä.
Sammuta moottori.
Irrota hyppylanka johdinsarjasta ja kytke liitin istuinkytkimeen.
Poista pukit.
Nosta leikkuupöytä ja asenna leikkuukorkeustappi.
Varmista, että kone ei lähde liikkeelle vapaalta, kun seisontajarrua ei ole kytketty.
Jos nestettä pääsee ihon alle, hakeudu välittömästi lääkäriin. Lääkärin on poistettava neste kirurgisesti muutaman tunnin sisällä.
Varmista, että kaikki hydrauliletkut ja -putket ovat hyvässä kunnossa ja että kaikki hydrauliputkien liitokset ja kiinnitykset ovat tiukalla, ennen kuin lisäät hydraulijärjestelmän painetta.
Pidä keho ja kädet kaukana vuotavista rei’istä ja suuttimista, joista suihkuaa korkeapaineista hydraulinestettä.
Etsi hydraulinestevuotoja pahvin tai paperin avulla.
Poista paine varovasti hydraulijärjestelmästä, ennen kuin huollat järjestelmää.
Hydraulinestelaatu: Toro® HYPR-OIL™ 500 -hydraulineste tai Mobil 1 15W-50 -öljy.
Important: Käytä suositusten mukaista nestettä. Muut nesteet voivat vahingoittaa hydraulijärjestelmää.
Hydraulijärjestelmän tilavuus (ilman suodattimia): 4,45 l
| Huoltoväli | Huoltotoimenpide |
|---|---|
| Aina ennen käyttöä tai päivittäin |
|
Anna hydraulinesteen jäähtyä. Tarkista öljymäärä nesteen ollessa kylmää.
Tarkista paisuntasäiliö ja lisää tarvittaessa Toro® HYPR-OIL™ 500 -hydraulinestettä FULL COLD -viivaan asti.

| Huoltoväli | Huoltotoimenpide |
|---|---|
| 75 ensimmäisen käyttötunnin jälkeen |
|
| 250 käyttötunnin välein |
|
| 500 käyttötunnin välein |
|
Hydraulinestettä vaihdettaessa suodattimet on irrotettava. Vaihda molemmat samalla kertaa. Katso nestettä koskevat tiedot kohdasta Hydraulijärjestelmän suodattimien irrotus.
Poista ilma järjestelmästä uusien suodattimien asennuksen ja nesteen lisäyksen jälkeen. Katso kohta Hydraulijärjestelmän ilmaus. Toista ilmausvaiheet, kunnes neste pysyy säiliön FULL COLD -viivan tasalla ilmauksen jälkeen. Jos toimenpidettä ei tehdä oikein, vaihteistojärjestelmä voi vaurioitua pysyvästi.
Pysäköi kone tasaiselle alustalle, vapauta teräkytkin (voimanulosotto) ja kytke seisontajarru.
Sammuta moottori, irrota avain ja odota, että kaikki liikkuvat osat ovat pysähtyneet, ennen kuin poistut käyttäjän paikalta.
Anna moottorin jäähtyä.
Paikanna vaihteistojärjestelmien suodattimet ja suojat (Kuva 72).
Irrota kolme ruuvia, joilla suodattimen suojus ja suojus on kiinnitetty (Kuva 72).

Puhdista huolellisesti suodattimia ympäröivä alue.
Important: Älä päästä likaa hydraulijärjestelmään kontaminaation välttämiseksi.
Aseta tyhjennysastia suodattimen alle suodattimen ja ilmanpoistotulppien irrotuksen yhteydessä valuvaa nestettä varten.
Paikanna ja irrota molempien vaihteistojen ilmanpoistotulpat.
Kierrä suodatin irti ja anna nesteen valua vetojärjestelmästä.
Toista vaiheet molempien suodattimien kohdalla.
Sivele ohut kerros hydraulinestettä kunkin suodattimen kumitiivisteen pinnalle.
Käännä suodatinta myötäpäivään, kunnes kumitiiviste koskettaa suodattimen istukkaa. Kiristä sitten vielä ¾–1 kierrosta.
Tee sama vastakkaisen puolen suodattimelle.
Asenna aikaisemmin irrotetut suodattimien suojukset suodattimien päälle.
Kiinnitä suodattimien suojukset kolmella ruuvilla.
Varmista ennen nesteen lisäämistä, että ilmanpoistotulpat on irrotettu.
Kaada määrityksen mukaista nestettä hitaasti paisuntasäiliöön, kunnes yhdestä ilmanpoistotulpan aukosta tulee nestettä.
Asenna ilmanpoistotulppa.
Kiristä tulppa momenttiin 20 N·m.
Lisää nestettä paisuntasäiliöön, kunnes toisen vaihteiston jäljellä olevasta ilmanpoistotulpan aukosta tulee nestettä.
Asenna vastakkaisen puolen ilmanpoistotulppa.
Kiristä tulppa momenttiin 20 N·m.
Lisää paisuntasäiliöön nestettä, kunnes se saavuttaa paisuntasäiliön FULL COLD -viivan.
Siirry kohtaan Hydraulijärjestelmän ilmaus.
Important: Hydraulijärjestelmän ilmauksen laiminlyönti hydraulisuodattimien ja -nesteen vaihtamisen jälkeen voi vaurioittaa vaihteistojärjestelmää pysyvästi.

Nosta koneen takaosa ja tue se pukeilla (tai vastaavilla tuilla) korkeudelle, jolla vetävät pyörät pyörivät juuri ja juuri esteettä.

Käynnistä moottori, siirrä kaasuvipu ½-asentoon ja vapauta seisontajarru.
Siirrä ohitusvivut koneen työntöasentoon. Kun ohitusventtiilit on avattu ja moottori on käynnissä, siirrä liikkeenohjausvipuja hitaasti eteen ja taakse viisi tai kuusi kertaa.
Siirrä ohitusvivut koneen käyttöasentoon.
Kun ohitusventtiili on suljettu ja moottori on käynnissä, siirrä ohjausvipua eteen ja taakse viisi tai kuusi kertaa.
Sammuta moottori ja tarkista nesteen määrä paisuntasäiliössä. Lisää määrityksen mukaista nestettä, kunnes se saavuttaa paisuntasäiliön FULL COLD -viivan.
Toista vaihe 2, kunnes järjestelmästä on poistettu ilma kokonaan.
Note: Kun vaihteistosta toiminnan aikana kuuluvan äänen voimakkuus on normaali ja kun vaihteisto toimii tasaisesti eteenpäin ja peruuttaa normaaleilla nopeuksilla, vaihteisto on ilmattu.
Tarkista paisuntasäiliön nestemäärä vielä kerran. Lisää määrityksen mukaista nestettä, kunnes se saavuttaa paisuntasäiliön FULL COLD -viivan.
Kulunut tai vaurioitunut terä voi rikkoutua ja terän pala voi sinkoutua käyttäjään tai ohikulkijaan päin, mikä voi aiheuttaa vakavan henkilövahingon tai kuoleman. Älä yritä korjata vaurioitunutta terää, koska se saattaa mitätöidä tuotteen turvasertifioinnin.
Terät on tarkistettava säännöllisesti kulumisen ja vaurioiden varalta.
Ole varovainen, kun tarkastat teriä. Kiedo terien ympärille esimerkiksi kangas tai käytä käsineitä ja noudata varovaisuutta teriä huoltaessasi. Terät saa ainoastaan vaihtaa tai teroittaa. Niitä ei saa suoristaa eikä hitsata.
Ole varovainen käsitellessäsi moniteräisiä koneita, sillä yhden terän kääntäminen saattaa kääntää myös muita teriä.
Pysäköi kone tasaiselle alustalle, vapauta teräkytkin (voimanulosotto) ja kytke seisontajarru.
Sammuta moottori, irrota virta-avain ja irrota sytytystulppien johdot sytytystulpista.
| Huoltoväli | Huoltotoimenpide |
|---|---|
| Aina ennen käyttöä tai päivittäin |
|
Tarkasta leikkuusärmät (Kuva 75).
Jos särmät eivät ole teräviä tai niissä on lovia, irrota terä ja teroita se. Katso Terien teroitus.
Tarkasta terät, etenkin kupera alue.
Jos havaitset vähäisiäkään murtumisen, kulumisen tai urautumisen merkkejä tällä alueella, asenna uusi terä välittömästi (Kuva 75).

Note: Koneen on oltava tasaisella alustalla seuraavaa toimenpidettä varten.
Nosta leikkuupöytä ylimpään leikkuukorkeusasentoon.
Käytä pehmustettuja paksuja suojakäsineitä tai muita soveltuvia käsisuojaimia. Käännä terä hitaasti asentoon, jossa etäisyys leikkuusärmästä tasaiseen alustaan voidaan mitata (Kuva 76).

Mittaa etäisyys terän kärjestä tasaiseen alustaan (Kuva 77).

Käännä samaa terää 180 astetta niin, että vastakkainen leikkuusärmä on samassa asennossa (Kuva 78).

Mittaa etäisyys terän kärjestä tasaiseen alustaan (Kuva 79).
Note: Ero saa olla enintään 3 mm.

Jos A:n ja B:n välinen ero on suurempi kuin 3 mm, vaihda terä uuteen. Katso kohdat Terien irrotus ja Terien asennus.
Note: Jos taipuneen terän tilalle vaihdetaan uusi ja mittaustulos on edelleen yli 3 mm, terän kara saattaa olla taipunut. Ota yhteys valtuutettuun huoltoliikkeeseen.
Jos ero on hyväksytyissä rajoissa, siirry seuraavaan terään.
Toista toimenpide kullekin terälle.
Vaihda terät, jos ne osuvat kiinteään esineeseen tai jos terä on epätasapainossa tai taipunut.
Pidä kara-akselia paikallaan kiintoavaimella.
Irrota teräpultti, jousialuslaatta ja terä kara-akselista (Kuva 80).

Viilaa leikkuusärmä teräväksi terän molemmista päistä (Kuva 81).
Note: Säilytä alkuperäinen kulma.
Note: Terä säilyttää tasapainonsa, kun molemmista leikkuusärmistä poistetaan materiaalia yhtä paljon.

Tarkista terän tasapaino asettamalla se terän tasaimeen (Kuva 82).
Note: Jos terä pysyy vaaka-asennossa, se on tasapainossa ja sitä voidaan käyttää.
Note: Jos terä ei ole tasapainossa, viilaa sitä vähän vain siipialueelta (Kuva 81).

Toista, kunnes terä on tasapainossa.
Asenna terä kara-akseliin (Kuva 80).
Important: Terän kuperan puolen on oltava leikkurin sisäpuolta kohden, jotta leikkuujäljestä tulee kunnollinen.
Asenna jousialuslaatta ja teräpultti (Kuva 80).
Note: Asenna jousialuslaatan kartiopuoli pultin päätä kohti.
Kiristä teräpultti momenttiin 115–150 N·m.
Varmista, että leikkuupöytä on vaakasuorassa aina leikkuria asentaessasi tai jos nurmikon leikkuujälki ei ole tasainen.
Ennen tasausta on tarkistettava, ettei leikkuupöydässä ole taipuneita teriä, ja kaikki taipuneet terät on irrotettava ja vaihdettava. Katso kohta Taipuneiden terien tarkistus ennen kuin jatkat.
Leikkuupöytä on tasattava sivusuunnassa ennen terän pituussuuntaisen kaltevuuden säätämistä.
Vaatimukset:
Koneen on oltava tasaisella alustalla.
Kaikkien renkaiden ilmanpaineen on oltava oikea. Katso kohta Rengaspaineen tarkistus.
Pysäköi kone tasaiselle alustalle, vapauta teräkytkin (voimanulosotto) ja kytke seisontajarru.
Sammuta moottori, irrota avain ja odota, että kaikki liikkuvat osat ovat pysähtyneet, ennen kuin poistut käyttäjän paikalta.
Tarkista vetävien renkaiden rengaspaineet. Katso Rengaspaineen tarkistus.
Aseta leikkuupöytä kuljetuslukon asentoon.
Pyöritä teriä varovasti puolelta toiselle.
Mittaa terän kärjen ja tasaisen alustan väliltä (Kuva 83). Jos mitat eivät ole 5 mm:n sisällä toisistaan, tasausta on säädettävä. Jatka sitten toimenpidettä.


Tarkista terän pituussuuntainen kaltevuus (Kuva 84). Tarkista, että etummaisen terän kärki on pölkkyjen korkeuden ja kaltevuuden taulukon mukaisesti alempana kuin takimmaisen terän kärki. Jos säätö on tarpeen, jatka tätä toimenpidettä.

Aseta nurmisuojarullat ylimpiin reikiin tai poista ne kokonaan tämän säädön ajaksi.
Aseta kaksi pölkkyä (katso alla oleva taulukko) leikkuupöydän helman takareunan alle, yksi leikkuupöydän molemmille puolille (Kuva 85).
Aseta leikkuukorkeusvipu 76 mm:n asentoon.
Aseta kaksi pölkkyä leikkuupöydän etureunan molempien puolien alle niin, että ne eivät ole nurmisuojarullan kannattimien tai hitsaussaumojen alla.

| Leikkuupöydän koko | Pölkkyjen korkeus | Kaltevuus |
| Kaikki leikkuupöydät | 7,3 cm | 4,8–6,4 mm |
Pyöritä teriä varovasti puolelta toiselle (Kuva 83).
Löysää lukkomuttereita (Kuva 86) jokaisessa neljässä kulmassa ja varmista, että leikkuupöytä asettuu tukevasti neljän pölkyn varaan.
Poista välys leikkuupöydän ripustimista ja varmista, että leikkuupöydän noston jalkavipu on työnnetty pysäytintä vasten.
Kiristä neljä lukkomutteria

Varmista, että pölkyt asettuvat tiukasti leikkuupöydän helman alle ja että kaikki kiinnityspultit ovat kireällä.
Tasaa leikkuupöytä tarkistamalla terän kaltevuus pituussuunnassa.
Tarkista terien tasaus ja toista leikkuupöydän tasausvaiheet tarvittaessa.
Pysäköi kone tasaiselle alustalle, vapauta teräkytkin (voimanulosotto) ja kytke seisontajarru.
Sammuta moottori, irrota virta-avain ja irrota sytytystulppien johdot sytytystulpista.
Asenna korkeudensäätötappi 7,6 cm:n leikkuukorkeuden asentoon.
Irrota hihnasuojukset.
Löysää leikkuupöydän kiristinpyörää ja irrota leikkurin hihna. Katso kohta Hihnan huolto.
Irrota pultit ja mutterit levyn etupuolelta jalkatuen alta.
Irrota pultit ja mutterit koneen molemmilta puolilta ja säilytä ne (Kuva 87).

Liu’uta leikkuupöytä ulos koneen oikealle puolelle.
Jos heittoaukko ei ole peitossa, kone saattaa singota esineitä käyttäjän tai sivullisten suuntaan, mistä voi olla seurauksena vakava tapaturma. Seurauksena voi olla myös kosketus terään.
Älä käytä konetta ilman leikkuujätelevyä, heittokanavan suuntainta tai ruohonkeräysjärjestelmää.
Irrota lukkomutteri, pultti, jousi ja välikappale, joilla suuntain on kiinnitetty kääntökannattimiin (Kuva 88).
Irrota vaurioitunut tai kulunut suuntain (Kuva 88).

Aseta välikappale ja jousi suuntaimeen.
Aseta jousen yksi J-koukkupää leikkuupöydän reunan taakse.
Note: Varmista, että jousen yksi J-koukkupää on asennettu leikkuupöydän reunan taakse ennen pultin asennusta kuvan mukaisesti (Kuva 88).
Asenna pultti ja mutteri.
Aseta jousen J-koukkupää suuntaimen ympärille (Kuva 88).
Important: Suuntaimen on voitava kääntyä. Nosta suuntain ylös täysin avattuun asentoon ja varmista, että se pyörii täydelliseen ala-asentoon.
| Huoltoväli | Huoltotoimenpide |
|---|---|
| Aina ennen käyttöä tai päivittäin |
|
Pysäköi kone tasaiselle alustalle, vapauta teräkytkin (voimanulosotto) ja kytke seisontajarru.
Sammuta moottori, irrota avain ja odota, että kaikki liikkuvat osat ovat pysähtyneet, ennen kuin poistut käyttäjän paikalta.
Nosta leikkuupöytä KULJETUSASENTOON.
Puhdista jousitusjärjestelmä paineilmalla.
Note: Älä puhdista iskunvaimenninkokoonpanoja painepesurilla (Kuva 89).

Moottoriöljy, akut, hydraulineste ja moottorin jäähdytysneste saastuttavat ympäristöä. Ne on hävitettävä kansallisten ja paikallisten määräysten mukaisesti.
Sammuta moottori, irrota virta-avain, odota, kunnes kaikki liikkuvat osat ovat pysähtyneet ja anna koneen jäähtyä ennen sen varastointia.
Älä säilytä konetta tai polttoainetta lähellä avotulta tai tyhjennä polttoainetta sisätiloissa.
Irrota virta-avain ja säilytä se turvallisessa paikassa lasten ulottumattomissa.
Vapauta teräkytkin (voimanulosotto) ja kytke seisontajarru.
Sammuta moottori, irrota avain ja odota, että kaikki liikkuvat osat ovat pysähtyneet, ennen kuin poistut käyttäjän paikalta.
Poista ruoho, lika ja rasva koneen kaikista ulkoisista osista, etenkin moottorista ja hydraulijärjestelmästä. Puhdista lika ja roskat moottorin sylinterinkannen rivoista ja tuulettimen kotelosta.
Important: Kone voidaan pestä miedolla pesuaineella ja vedellä. Älä pese konetta painepesurilla. Älä käytä vettä ylen määrin, älä etenkään kojetaulun, moottorin ja hydraulipumppujen läheisyydessä.
Tarkista seisontajarrujen toiminta. Katso Seisontajarrun säätö.
Huolla ilmanpuhdistin. Katso kohta Ilmanpuhdistimen huolto.
Rasvaa kone. Katso kohta Voitelu.
Vaihda kampikammioöljy. Katso kohta Moottoriöljyn huolto.
Tarkista rengaspaine. Katso kohta Rengaspaineen tarkistus.
Vaihda hydraulisuodattimet. Katso kohta Hydraulinesteen ja suodattimien vaihto.
Lataa akku. Katso kohta Akun lataus.
Kaavi ruoho ja lika leikkurin alta ja pese leikkuri sitten vesiletkulla.
Note: Käytä konetta teräkytkin (voimanulosotto) kytkettynä ja korkeimmalla tyhjäkäyntinopeudella 2–5 minuutin ajan pesun jälkeen.
Tarkista terien kunto. Katso kohta Leikkuuterien huolto.
Valmistele kone varastointia varten, jos sitä ei ole tarkoitus käyttää yli kuukauteen. Valmistele kone varastointia varten seuraavasti:
Lisää polttoainesäiliöön öljypohjaista stabilointi-/lisäainetta. Noudata stabilointiaineen valmistajan sekoitusohjeita. Älä käytä alkoholipohjaista stabilointiainetta (etanolia tai metanolia).
Note: Stabilointi-/lisäaine toimii tehokkaimmin, kun se sekoitetaan tuoreeseen polttoaineeseen ja kun sitä käytetään jatkuvasti.
Käytä moottoria viiden minuutin ajan, jotta lisäainetta sisältävä polttoaine kiertää koko polttoainejärjestelmässä.
Sammuta moottori, anna sen jäähtyä ja tyhjennä polttoainesäiliö.
Käynnistä moottori ja anna sen käydä, kunnes se sammuu.
Hävitä polttoaine asianmukaisesti. Kierrätä polttoaine paikallisten asetusten mukaisesti.
Important: Stabilointiainetta/-lisäainetta sisältävää polttoainetta ei saa säilyttää polttoaineen stabilointiaineen valmistajan suositusta kauempaa.
Irrota sytytystulpat ja tarkista niiden kunto. Katso kohta Sytytystulppien huolto. Kun sytytystulpat on irrotettu moottorista, kaada 30 ml (kaksi ruokalusikallista) moottoriöljyä sytytystulpan reikään. Kierrätä moottoria käynnistimellä, jotta öljy leviää sylinterin sisään. Asenna sytytystulppa tai -tulpat. Älä asenna sytytystulpan (-tulppien) johtoa.
Tarkista ja kiristä kaikki pultit, mutterit ja ruuvit. Korjaa tai vaihda kaikki vaurioituneet osat.
Maalaa kaikki naarmuuntuneet tai paljaat metallipinnat. Maalia on saatavissa valtuutetusta huoltoliikkeestä.
Varastoi kone puhtaaseen, kuivaan autotalliin tai varastotilaan. Irrota avain avainkytkimestä ja säilytä se lasten ja muiden luvattomien käyttäjien ulottumattomissa. Peitä kone, jotta se pysyy suojassa ja puhtaana.
| Problem | Possible Cause | Corrective Action |
|---|---|---|
| Moottori ylikuumenee. |
|
|
| Käynnistin ei pyöritä. |
|
|
| Moottori ei käynnisty, käynnistyy huonosti tai ei pysy käynnissä. |
|
|
| Moottori menettää tehoaan. |
|
|
| Kone vetää vasemmalle tai oikealle (vaikka liikkeenohjausvivut ovat kokonaan eteenpäin). |
|
|
| Kone ei liiku. |
|
|
| Kone tärisee epänormaalisti. |
|
|
| Epätasainen leikkuukorkeus. |
|
|
| Terät eivät pyöri. |
|
|
| Kytkin ei kytkeydy. |
|
|
