| Wartungsintervall | Wartungsmaßnahmen |
|---|---|
| Bei jeder Verwendung oder täglich |
|
Dieser Aufsitzer mit Sichelmessern sollte von Landschaftsbauern und geschulten Lohnarbeitern verwendet werden. Er ist hauptsächlich für das Mähen von Gras auf gepflegten Grünflächen in Privat- oder öffentlichen Anlagen gedacht.
Lesen Sie diese Informationen sorgfältig durch, um sich mit dem ordnungsgemäßen Einsatz und der Wartung des Geräts vertraut zu machen und Verletzungen und eine Beschädigung des Geräts zu vermeiden. Sie tragen die Verantwortung für einen ordnungsgemäßen und sicheren Einsatz des Produkts.
Besuchen Sie Toro.com, hinsichtlich Produktsicherheit und Schulungsunterlagen, Zubehörinformationen, Standort eines Händlers oder Registrierung des Produkts.
Wenden Sie sich an den Toro-Vertragshändler oder Kundendienst, wenn Sie eine Serviceleistung, Originalersatzteile von Toro oder weitere Informationen benötigen. Haben Sie dafür die Modell- und Seriennummern der Maschine griffbereit. In Bild 1 wird der Standort der Modell- und Seriennummern auf dem Produkt angegeben. Tragen Sie hier die Modell- und Seriennummern des Geräts ein.
Important: Scannen Sie mit Ihrem Mobilgerät den QR-Code (falls vorhanden) auf dem Seriennummernaufkleber, um auf Garantie-, Ersatzteil- oder andere Produktinformationen zuzugreifen.

In dieser Anleitung werden zwei Begriffe zur Hervorhebung von Informationen verwendet. Wichtig weist auf spezielle technische Informationen hin, und Hinweis hebt allgemeine Informationen hervor, die Ihre besondere Beachtung verdienen.
Dieses Produkt erfüllt alle relevanten europäischen Richtlinien; weitere Details finden Sie in der produktspezifischen Konformitätserklärung (DOC).
Technische Angaben zu Ihrem Modell finden Sie unter www.Toro.com.
Brutto- oder Nettodrehmoment: Das Brutto- oder Nettodrehmoment dieses Motors wurden vom Motorhersteller im Labor gemäß SAE J1940 oder J2723 ermittelt. Der tatsächliche Motordrehmoment bei dieser Klasse der Mäher ist bei einer Konfiguration zur Einhaltung der Sicherheits-, Emissions- und Betriebsanforderungen wesentlich geringer. Weitere Informationen finden Sie in der Motorbedienungsanleitung des Herstellers, die mit der Maschine ausgeliefert wurde.
Important: Wenn Sie eine Maschine mit einem Motor von Toro für einen längeren Zeitraum in Lagen über 1.500 m verwenden, stellen Sie sicher, dass das Kit für Hochlagen installiert ist, damit der Motor die CARB- bzw. EPA-Abgasvorschriften einhält. Das Hochlagenkit steigert die Motorleistung und verhindert ein Verrußen der Zündkerzen, Schwierigkeiten beim Anlassen des Motors und erhöhte Abgaswerte. Kleben Sie nach der Installation des Kits den Aufkleber für das Hochlagenkit neben den Seriennummernaufkleber an der Maschine. Wenden Sie sich an den offiziellen Vertragshändler von Toro, um das richtige Hochlagenkit und den richtigen Hochlagenaufkleber für Ihre Maschine zu erhalten. Angaben zum örtlichen Vertragshändler finden Sie auf der Website unter www.Toro.com oder rufen Sie die Kundenbetreuungsabteilung unter den Nummern an, die in der Aussage zur Garantie hinsichtlich der Motorabgasanlage aufgeführt sind.Entfernen Sie das Kit vom Motor und stellen Sie die Originalwerkkonfiguration des Motors wieder her, wenn Sie den Motor in Lagen unter 1.500 m verwenden. Verwenden Sie einen Motor mit Hochlagenkit nicht in niedrigen Lagen, sonst kann der Motor überhitzen und beschädigt werden.Wenn Sie nicht sicher sind, ob die Maschine für einen Einsatz in Hochlagen umgerüstet wurde, suchen Sie den folgenden Aufkleber (Bild 2).

Diese Maschine erfüllt EN ISO 5395:2013.
Dieses Sicherheitswarnsymbol (Bild 3) wird sowohl in diesem Handbuch als auch an der Maschine verwendet, um wichtige Sicherheitshinweise zu kennzeichnen, die zur Vermeidung von Unfällen befolgt werden müssen.
Dieses Symbol bedeutet: ACHTUNG! GEHEN SIE VORSICHTIG VOR! IHRE SICHERHEIT IST UNS WICHTIG!

Das Sicherheitswarnsymbol befindet sich über den Informationen, die Sie auf unsichere Handlungen oder Situationen aufmerksam machen, gefolgt von dem Wort GEFAHR, WARNUNG, oder VORSICHT.
GEFAHR: Kennzeichnet eine unmittelbar gefährliche Situation, die, wenn sie nicht vermieden wird, zum Tod oder zu schweren Verletzungen führt.
WARNUNG: Kennzeichnet eine potenziell gefährliche Situation, die, wenn sie nicht vermieden wird, zum Tod oder zu schweren Verletzungen führen kann .
VORSICHT: Kennzeichnet eine potenziell gefährliche Situation, die, wenn sie nicht vermieden wird, zu leichten oder mittelschweren Verletzungen führen kann.
In dieser Anleitung werden zwei weitere Begriffe zur Hervorhebung von Informationen verwendet. Wichtig weist auf spezielle technische Informationen hin, und Hinweis hebt allgemeine Informationen hervor, die Ihre besondere Beachtung verdienen.
Diese Maschine kann Hände und Füße amputieren und Gegenstände aufschleudern. Toro hat diesen Rasenmäher so konstruiert und getestet, dass er einen relativ sicheren Betrieb ermöglicht; die Nichtbeachtung der Sicherheitshinweise kann jedoch zu Verletzungen oder zum Tod führen.
Lesen, verstehen, und befolgen Sie alle Anweisungen und Warnhinweise in der Betriebsanleitung und anderen Schulungsunterlagen, an der Maschine, am Motor, und an den Anbaugeräten. Alle Bediener und Mechaniker müssen geschult sein. Wenn der/die Bediener oder Techniker dieses Handbuch nicht lesen können, liegt es in der Verantwortung des Eigentümers, ihnen dieses Material bereitzustellen; Unterlagen in anderen Sprachen können auf unserer Website verfügbar sein.
Lassen Sie die Maschine nur von geschultem, verantwortungsbewussten, und körperlich fähigen Personal, das mit der sicheren Bedienung, den Bedienelementen, und den Sicherheitszeichen und -anweisungen vertraut ist, bedienen. Lassen Sie die Maschine nie von Kindern oder ungeschulten Kräften bedienen oder warten. Örtliche Vorschriften bestimmen u. U. das Mindestalter von Benutzern.
Stellen Sie den Überrollbügel immer ganz auf und arretieren ihn. Legen Sie den Sicherheitsgurt an.
Setzen Sie die Maschine nicht in der Nähe von Abhängen, Gräben, Böschungen, Gewässern oder anderen Gefahrenstellen sowie an Hanglagen mit einem Gefälle von mehr als 15 Grad ein.
Halten Sie Hände und Füße von beweglichen Teilen fern.
Betreiben Sie die Maschine niemals mit beschädigten Schutzvorrichtungen, Schutzblechen, oder Abdeckungen. Halten Sie Schutzvorrichtungen, Schutzbleche, Schalter, und andere Vorrichtungen immer an ihrem Platz und in einwandfreiem Zustand.
Halten Sie die Maschine an, stellen den Motor ab und ziehen Sie den Zündschlüssel ab, bevor Sie Wartungsarbeiten durchführen, Kraftstoff nachfüllen oder Blockierungen beseitigen.

![]() |
Die Sicherheits- und Bedienungsaufkleber sind gut sichtbar; sie befinden sich in der Nähe der möglichen Gefahrenbereiche. Tauschen Sie beschädigte oder verloren gegangene Aufkleber aus. |



























Machen Sie sich mit den Bedienelementen vertraut, bevor Sie den Motor anlassen und die Maschine bedienen.

Das Zündschloss, mit dem der Motor angelassen und abgestellt wird, hat drei Stellungen: AUS, LAUF und START. Siehe Anlassen des Motors.
Lassen Sie einen kalten Motor mit dem Choke an.
Die Gasbedienung steuert die Motordrehzahl und hat eine fortlaufend variable Einstellung von SLOW (LANGSAM) bis FAST (SCHNELL) (Bild 6).
Mit dem Zapfwellenantriebsschalter, der durch ein Zapfwellensymbol dargestellt wird, kuppeln Sie den Antrieb der Mähwerkmesser ein oder aus (Bild 6).
Der Betriebsstundenzähler zeichnet die Stunden auf, die der Motor gelaufen ist. Er ist bei laufendem Motor eingeschaltet. Richten Sie Ihre regelmäßigen Wartungsmaßnahmen nach dieser Angabe (Bild 7).

Auf dem Betriebsstundenzähler zeigen Symbole mit einem schwarzen Dreieck an, dass der Sicherheitsschalter in der richtigen Stellung ist (Bild 7).
Wenn Sie das Zündschloss für einige Sekunden in die EIN-Stellung drehen, wird die Batterieladung im Bereich angezeigt, in dem normalerweise die Betriebsstunden angezeigt werden.
Die Anzeigelampe für die Batterie leuchtet beim Einschalten am Zündschloss auf oder wenn die Ladung unter dem richtigen Betriebsniveau ist (Bild 7).
Mit den Fahrantriebshebeln fahren Sie die Maschine vorwärts, rückwärts und wenden (Bild 5).
Schieben Sie die Fahrantriebshebel von der Mitte nach außen in die ARRETIERTE NEUTRAL-Stellung, wenn Sie von der Maschine absteigen (Bild 25). Stellen Sie die Fahrantriebshebel immer in die ARRETIERTE NEUTRAL-Stellung, wenn Sie die Maschine anhalten oder unbeaufsichtigt lassen.
Wenn Sie den Motor abstellen, aktivieren Sie die Feststellbremse, sodass sich die Maschine nicht aus Versehen bewegt.
Schließen Sie den Kraftstoffhahn vor dem Transport oder der Einlagerung der Maschine (Verwenden des Kraftstoffhahns).
Note: Technische und konstruktive Änderungen vorbehalten.
| 122-cm-Mähwerk | 132-cm-Mähwerk | |
|---|---|---|
| Ohne Mähwerk | 121 cm | 124 cm |
| Hochgeklapptes Ablenkblech | 133 cm | 144 cm |
| Abgesenktes Ablenkblech | 160 cm | 171 cm |
| 122-cm-Mähwerk | 132-cm-Mähwerk | |
|---|---|---|
| Länge | 208 cm | 208 cm |
| Überrollbügel: Hochgeklappt | Überrollbügel: Zusammengeklappt |
|---|---|
| 179 cm | 125 cm |
| Maschinen | Ballast |
| Maschinen mit 122-cm-Seitenauswurfmähwerk | 385 bis 425 kg(849 bis 937 lb) |
| Maschinen mit 132-cm-Seitenauswurfmähwerk | 391 bis 434 kg(862 bis 957 lb) |
Ein Sortiment an von Toro zugelassenen Anbaugeräten und Zubehör wird für diese Maschine angeboten, um den Funktionsumfang des Geräts zu erhöhen und zu erweitern. Wenden Sie sich an einen offiziellen Toro-Vertragshändler oder navigieren Sie auf www.Toro.com für eine Liste der zugelassenen Anbaugeräte und des Zubehörs.
Besorgen Sie, um die optimale Leistung und Sicherheit zu gewährleisten, nur Toro-Originalersatzteile und -zubehörteile. Ersatzteile und Zubehör anderer Hersteller können gefährlich sein und eine Verwendung könnte die Garantie ungültig machen.
Note: Bestimmen Sie die linke und rechte Seite der Maschine anhand der üblichen Einsatzposition.
Begutachten Sie das Gelände, um die notwendigen Anbaugeräte und das Zubehör zu bestimmen, die zur korrekten und sicheren Durchführung der Arbeit erforderlich sind. Verwenden Sie nur von Toro zugelassene(s) Zubehör und Anbaugeräte.
Inspizieren Sie den Arbeitsbereich und entfernen Steine, Stöcke, Drähte, Knochen, und andere Fremdkörper. Diese können herausgeschleudert werden oder den Betrieb der Maschine stören, und zu Verletzungen des Bedieners oder umstehenden Personen führen.
Tragen Sie geeignete persönliche Schutzausrüstung wie Schutzbrille, festes rutschfestes Schuhwerk, und Gehörschutz. Binden Sie lange Haare zurück und tragen Sie keine lose Kleidung und losen Schmuck, der sich in beweglichen Teilen der Maschine verheddern kann.
Der Geräuschpegel dieser Maschine beträgt am Ohr des Bedieners mehr als 85 dBA, und dies kann bei einem längeren Einsatz Gehörschäden verursachen.
Tragen Sie während des Arbeitseinsatzes der Maschine einen Gehörschutz.
Prüfen Sie, ob die Sitzkontaktschalter, Sicherheitsschalter, und Schutzbleche vorhanden sind und einwandfrei funktionieren. Nehmen Sie die Maschine nur in Betrieb, wenn diese richtig funktionieren.
Betreiben Sie den Mäher nicht, wenn sich Personen, insbesondere Kinder oder Haustiere, in der Nähe aufhalten. Stoppen Sie die Maschine und das/die Anbaugerät(e), wenn jemand den Bereich betritt.
Betreiben Sie die Maschine nicht ohne das gesamte Grasauffangsystem, Auswurfablenkblech, oder andere Sicherheitseinrichtungen an Ort und Stelle, und in einwandfreiem Zustand. Die Bauteile des Heckfangsystems verschleißen, werden beschädigt und verschlechtern sich im Laufe der Zeit, was bewegliche Teile freilegen kann und das Ausschleudern von Gegenständen ermöglicht. Überprüfen Sie häufig auf verschlissene oder beschädigte Komponenten und ersetzen Sie diese bei Bedarf durch die vom Hersteller empfohlenen Teile.
Passen Sie beim Umgang mit Kraftstoff besonders auf.
Unter bestimmten Bedingungen ist Benzin extrem leicht entflammbar und die Dämpfe sind explosiv.
Feuer oder Explosionen durch Benzin können Verbrennungen oder Sachschäden verursachen.
Füllen Sie den Kraftstofftank im Freien auf ebener Fläche auf, wenn der Motor kalt ist. Wischen Sie verschüttetes Benzin auf.
Füllen oder entleeren Sie den Kraftstofftank der Maschine nie in geschlossenen Räumen oder auf Anhängern.
Füllen Sie den Kraftstofftank nicht ganz auf. Füllen Sie den Kraftstofftank bis zur Unterseite des Einfüllstutzens. In diesem freien Platz im Tank kann sich Benzin ausdehnen. Ein Überfüllen kann zu einem Kraftstoffaustritt oder einer Beschädigung des Motors oder der Emissionsanlage führen.
Rauchen Sie nie beim Umgang mit Benzin und halten dieses von offenen Flammen und Bereichen fern, in denen Benzindämpfe durch Funken entzündet werden könnten.
Bewahren Sie Benzin in vorschriftsmäßigen Kanistern auf. Die Kanister sollten nicht für Kinder zugänglich sein.
Betanken Sie die Maschine, bevor Sie den Motor anlassen. Entfernen Sie nie den Tankdeckel oder füllen Kraftstoff ein, wenn der Motor läuft oder noch heiß ist.
Wenn Kraftstoff verschüttet wird, versuchen Sie nicht den Motor zu starten. Verlassen Sie den Bereich der Verschüttung und halten Sie jegliche Zündquellen fern, bis sich die Kraftstoffdämpfe aufgelöst haben.
Setzen Sie das Gerät nicht ohne vollständig montiertes und betriebsbereites Auspuffsystem ein.
Unter gewissen Bedingungen kann beim Auftanken statische Elektrizität freigesetzt werden und zu einer Funkenbildung führen, welche die Benzindämpfe entzündet. Feuer und Explosionen durch Benzin können Personen verletzen und Sachschäden verursachen.
Stellen Sie Benzinkanister vor dem Auffüllen immer vom Fahrzeug entfernt auf den Boden.
Füllen Sie den Benzinkanister nicht in einem Fahrzeug oder auf einer Ladefläche bzw. einem Anhänger, weil Teppiche im Fahrzeug und Plastikverkleidungen auf Ladeflächen den Kanister isolieren und den Abbau von statischen Ladungen verlangsamen können.
Nehmen Sie, soweit durchführbar, Geräte mit Benzinmotor von der Ladefläche bzw. vom Anhänger und stellen Sie sie zum Auffüllen mit den Rädern auf den Boden.
Betanken Sie, falls dies nicht möglich ist, die betreffenden Geräte auf der Ladefläche bzw. dem Anhänger von einem tragbaren Kanister und nicht von einer Zapfsäule aus.
Halten Sie, wenn Sie von einer Zapfsäule aus tanken müssen, den Einfüllstutzen immer in Kontakt mit dem Rand des Kraftstofftanks bzw. der Kanisteröffnung, bis der Tankvorgang abgeschlossen ist. Verwenden Sie keinen Düsenverschluss.
Benzin wirkt bei Einnahme schädlich oder sogar tödlich. Ein längerer Kontakt mit den Dämpfen hat in Labortieren Krebs verursacht. Unvorsichtigkeit kann zu schweren Verletzungen oder Krankheit führen.
Vermeiden Sie das langfristige Einatmen von Benzindünsten.
Halten Sie das Gesicht vom Einfüllstutzen und dem Benzintank oder Beimischöffnungen fern.
Vermeiden Sie einen Augen- und Hautkontakt.
Saugen Sie Kraftstoff niemals mit dem Mund an!
Der Entlüftungsdeckel des Krafststofftanks befindet sich im Rohr des Überrollbügels. Die Demontage oder Modifikation des Überrollbügels kann zu einem Austreten von Kraftstoff und der Verletzung von Abgasvorschriften führen.
Der Überrollbügel darf nicht entfernt werden.
Führen Sie am Überrollbügel keine Schweiß- oder Bohrarbeiten durch und Modifizieren Sie ihn nicht.
Um Feuer zu verhindern:
Halten Sie Motor und Motorraum frei von Gras, Laub, überschüssigem Fett, oder Öl und anderen Ablagerungen, die sich in diesen Bereichen ansammeln können.
Wischen Sie verschüttetes Öl oder verschütteten Kraftstoff auf, und werfen Sie mit Kraftstoff getränkte Rückstände weg.
Lassen Sie die Maschine abkühlen, bevor Sie die Maschine in einem geschlossenen Raum abstellen. Nicht in der Nähe von Flammen oder geschlossenen Räumen lagern, in denen offene Kontrollleuchten oder Heizgeräte vorhanden sind.
Die besten Ergebnisse erhalten Sie, wenn Sie sauberes, frisches (weniger als 30 Tage altes), bleifreies Benzin mit einer Mindestoktanzahl von 87 (R+M)/2 verwenden.
Ethanol: Kraftstoff mit 10 % Ethanol oder 15 % MTBE (Methyl-tertiär-butylether) (Volumenanteil) ist auch geeignet. Ethanol und MTBE sind das Gleiche. Kraftstoff mit 15 % Ethanol (E15) (Volumenanteil) ist nicht zulässig. Verwenden Sie niemals Benzin, das aus mehr als 10 % Ethanol (Volumenanteil) wie E15 (aus 15 % Ethanol), E20 (aus 20 % Ethanol) oder E85 (aus bis zu 85 % Ethanol) besteht. Die Verwendung von nicht zulässigem Benzin kann zu Leistungsproblemen und/oder Motorschäden führen, die ggf. nicht von der Garantie abgedeckt sind.
Verwenden Sie kein methanolhaltiges Benzin.
Lagern Sie keinen Kraftstoff im Kraftstofftank oder in Kraftstoffbehältern über den Winter, wenn Sie keinen Kraftstoffstabilisator verwenden.
Vermischen Sie nie Benzin mit Öl.
Die Verwendung eines Kraftstoffstabilisators in der Maschine bringt folgende Vorteile mit sich:
Kraftstoff bleibt länger frisch, wenn der Stabilisator gemäß der Empfehlungen des Herstellers verwendet wird.
Der Motor wird gereinigt, während er läuft.
Dadurch wird ein Verharzen der Kraftstoffanlage verhindert, wodurch das Anlassen erleichtert wird.
Important: Verwenden Sie keine Zusätze, die Methanol oder Ethanol enthalten.
Mischen Sie dem Kraftstoff die richtige Stabilisatormenge bei.
Note: Ein Stabilisator ist am effektivsten, wenn er frischem Kraftstoff beigemischt wird. Verwenden Sie, um das Risiko von Ablagerungen in der Kraftstoffanlage zu minimieren, immer einen Stabilisator.
Parken Sie die Maschine auf einer ebenen Fläche.
Aktivieren Sie die Feststellbremse.
Stellen Sie den Motor ab und ziehen Sie den Zündschlüssel ab.
Reinigen Sie den Bereich um den Tankdeckel.
Füllen Sie den Kraftstofftank bis zur Unterseite des Füllstutzens (Bild 8).
Note: Füllen Sie den Kraftstofftank nicht ganz auf. Der verbleibende Raum im Tank ist für die Ausdehnung des Kraftstoffes erforderlich.

Führen Sie vor dem täglichen Anlassen der Maschine die Schritte aus, die vor jeder Verwendung bzw. täglich fällig sind, die in aufgeführt sind.
Ein neuer Motor braucht etwas Zeit, bevor er die ganze Leistung erbringt. Neue Mähwerke und Antriebssysteme haben eine höhere Reibung und belasten den Motor mehr. Die Einfahrzeit für neue Maschinen beträgt ungefähr 40 bis 50 Stunden. Danach erbringt der Motor die ganze Leistung und beste Performance.
Zur Vermeidung von ggf. tödlichen Verletzungen durch Überschlagen lassen Sie den Überrollbügel in der hochgeklappten und arretierten Stellung und legen den Sicherheitsgurt an.
Stellen Sie sicher, dass der Sitz an der Maschine befestigt ist.
Es besteht kein Überrollschutz, wenn der Überrollbügel abgesenkt ist.
Senken Sie den Überrollbügel nur dann ab, wenn es wirklich erforderlich ist.
Legen Sie bei abgesenktem Überrollbügel keinen Sicherheitsgurt an.
Fahren Sie langsam und vorsichtig.
Richten Sie den Überrollbügel sofort wieder auf, wenn die Höhe es zulässt.
Achten Sie sorgfältig auf die lichte Höhe (wie z. B. zu Ästen, Pforten, Stromkabeln), bevor Sie unter irgendeinem Hindernis durchfahren, damit Sie diese nicht berühren.
Important: Senken Sie den Überrollbügel nur ab, wenn es wirklich erforderlich ist.
Important: Legen Sie immer den Sicherheitsgurt an, wenn der Überrollbügel aufgeklappt ist.
Heben Sie den Überrollbügel in die Betriebsstellung an und drehen die Handräder, bis sie sich teilweise in den Schlitzen bewegen (Bild 9).
Klappen Sie den Überrollbügel ganz hoch und drücken Sie gleichzeitig auf den oberen Überrollbügel, damit die Stifte einrasten, wenn die Löcher mit den Stiften ausgefluchtet sind (Bild 9).
Wenden Sie Druck auf den Überrollbügel an, um sicherzustellen, dass die Stifte eingerastet sind.
Wenn die Sicherheitsschalter abgeklemmt oder beschädigt sind, kann die Maschine unerwartet aktiviert werden und Verletzungen verursachen.
An den Sicherheitsschaltern dürfen keine Veränderungen vorgenommen werden.
Prüfen Sie die Funktion der Sicherheitsschalter täglich und tauschen Sie alle defekten Schalter vor dem Einsatz der Maschine aus.
Die Sicherheitsschalter verhindern das Anlassen des Motors, wenn die folgenden Bedingungen nicht erfüllt sind:
Die Feststellbremse ist aktiviert.
Der Zapfwellenantriebsschalter ist ausgekuppelt.
Die Fahrantriebshebel sind in der ARRETIERTEN NEUTRAL-Stellung.
Die Sicherheitsschalter sind gleichfalls so ausgelegt, dass sie den Motor abstellen, wenn die Fahrantriebshebel bei aktivierter Feststellbremse aus der ARRETIERTEN NEUTRAL-Stellung bewegt werden, oder wenn Sie bei aktiviertem Zapfwellenantrieb vom Sitz aufstehen.
Der Betriebsstundenzähler hat Symbole, die den Bediener darauf hinweisen, dass der Sicherheitsschalter in der richtigen Stellung ist. Die korrekte Stellung der Komponente wird am Bildschirm angezeigt.

| Wartungsintervall | Wartungsmaßnahmen |
|---|---|
| Bei jeder Verwendung oder täglich |
|
Testen Sie die Sicherheitsschalter vor jedem Einsatz der Maschine. Lassen Sie, wenn die Sicherheitsschalter nicht wie nachstehend beschrieben funktionieren, diese unverzüglich von einem Vertragshändler reparieren.
Setzen Sie sich auf den Sitz, aktivieren die Feststellbremse und stellen den Zapfwellenantriebsschalter in die EIN-Stellung. Versuchen Sie, den Motor anzulassen. Der Motor darf nicht anspringen.
Setzen Sie sich auf den Sitz, aktivieren die Feststellbremse und stellen den Zapfwellenantriebsschalter in die AUS-Stellung. Schieben Sie einen der Fahrantriebshebel aus der ARRETIERTEN NEUTRAL-Stellung. Versuchen Sie, den Motor anzulassen. Der Motor darf nicht anspringen. Wiederholen Sie die Schritte für den anderen Fahrantriebshebel.
Setzen Sie sich auf den Sitz, aktivieren die Feststellbremse, stellen den Zapfwellenantriebsschalter in die AUS-Stellung und schieben die Fahrantriebshebel in die ARRETIERTE NEUTRAL-Stellung. Lassen Sie dann den Motor an. Lösen Sie bei laufendem Motor die Feststellbremse, aktivieren den Zapfwellenantriebsschalter und stehen etwas vom Sitz auf; der Motor sollte abgestellt werden.
Setzen Sie sich auf den Sitz, aktivieren die Feststellbremse, stellen den Zapfwellenantriebsschalter in die AUS-Stellung und schieben die Fahrantriebshebel in die ARRETIERTE NEUTRAL-Stellung. Lassen Sie dann den Motor an. Zentrieren Sie bei laufendem Motor einen der Fahrantriebshebel und bewegen ihn (vorwärts oder rückwärts); der Motor muss dann abstellen. Wiederholen Sie das Verfahren für den anderen Fahrantriebshebel.
Setzen Sie sich auf den Sitz, lösen die Feststellbremse, stellen den Zapfwellenantriebsschalter in die AUS-Stellung und schieben die Fahrantriebshebel in die ARRETIERTE NEUTRAL-Stellung. Versuchen Sie, den Motor anzulassen. Der Motor darf nicht anspringen.
Der Sitz kann nach vorne und hinten geschoben werden. Stellen Sie den Sitz so ein, dass Sie die Maschine optimal steuern können und komfortabel sitzen (Bild 11).

Die MyRide™ Aufhängung passt sich an und bietet ein gleichmäßiges und komfortables Fahrverhalten. Sie können die zwei hinteren Stoßdämpfer einstellen, um das Federungssystem schnell und einfach zu ändern. Stellen Sie die Aufhängung auf die bequemste Stellung ein.
Die Schlitze für die hinteren Stoßdämpfer haben Arretierungsstellungen als Bezug. Die hinteren Stoßdämpfer können überall im Schlitz (nicht nur in den Arretierungsstellungen) positioniert werden. Im folgenden Bild wird die Stellung für ein weiches oder hartes Fahrverhalten und die unterschiedlichen Arretierungsstellungen abgebildet (Bild 12).

Note: Stellen Sie sicher, dass der linke und rechte Stoßdämpfer immer gleich eingestellt sind.
Stellen Sie die hinteren Stoßdämpfer ein (Bild 13).


Verwenden Sie nur von Toro zugelassene Anbaugeräte und zugelassenes Zubehör.
Befestigen Sie 1 Frontballast, wenn Sie mehrere Zubehörbefestigungen (z. B. Ladeschaufel- oder Universalbefestigung) an einer der vier Stellen montieren, die in Bild 14 abgebildet sind. Wenden Sie sich für den Frontballast an den Toro-Vertragshändler.

Der Bediener muss bei der Bedienung der Maschine voll konzentriert sein. Tun Sie nichts, was Sie ablenken könnte, sonst können Verletzungen oder Sachschäden auftreten.
Angetriebene Motorteile, insbesondere der Schalldämpfer, werden extrem heiß. Schwere Verbrennungen können bei Kontakt auftreten, und Ablagerungen wie Blätter, Gras, Äste usw. können Feuer fangen.
Fassen Sie Motorteile, insbesondere den Schalldämpfer, erst nach dem Abkühlen an.
Entfernen Sie angesammelten Schmutz von Schalldämpfer und Motorraum.
Auspuffgase enthalten Kohlenmonoxid ein geruchloses tödliches Giftgas.
Lassen Sie den Motor nie in unbelüfteten Räumen laufen, da sich dort gefährliche Kohlenmonoxidgase ansammeln können.
Der Besitzer/Benutzer ist für eigene Unfälle, Verletzungen und Sachschäden sowie für die von Dritten verantwortlich und kann diese verhindern.
Dieser Rasenmäher wurde nur für einen Bediener konzipiert. Nehmen Sie keine Passagiere mit und halten Sie umstehende Personen während des Betriebs von der Maschine fern.
Bedienen Sie die Maschine nicht, wenn Sie müde oder krank sind oder unter Alkohol- oder Drogeneinfluss stehen.
Setzen Sie die Maschine nur bei Tageslicht oder guter künstlicher Beleuchtung ein.
Blitzschlag kann zu schweren oder tödlichen Verletzungen führen. Setzen Sie die Maschine nicht bei einem Gewitter ein und stellen Sie sich irgendwo unter.
Passen Sie besonders auf, wenn Sie die Maschine mit Zubehör oder Anbaugeräten einsetzen, u. a. Heckfangsysteme. Diese Geräte können die Stabilität der Maschine ändern und zu einem Verlust der Fahrzeugkontrolle führen. Befolgen Sie die Anweisungen für die Verwendung von Gegengewichten.
Achten Sie auf Löcher, Furchen, Unebenheiten, Steine, und andere versteckte Gefahren und vermeiden Sie diese. Seien Sie vorsichtig, wenn Sie sich unübersichtlichen Kurven, Sträuchern, Bäumen, hohem Gras, und anderen Objekten nähern, die Ihre Sicht behindern können. Die Maschine kann auf unebenem Gelände umkippen oder den Bediener aus dem Gleichgewicht bringen.
Stellen Sie vor dem Anlassen des Motors sicher, dass alle Antriebe auf Neutral stehen und die Feststellbremse aktiviert ist. Verwenden Sie Sicherheitsgurte, wenn sich der Überrollbügel in einer geöffneten und arretierten Position befindet.
Starten Sie den Motor vorsichtig gemäß den Anweisungen, halten Sie dabei Ihre Füße von den Mähmessern fern.
Betreiben Sie den Rasenmäher niemals mit beschädigten Schutzvorrichtungen, Schutzblechen, oder Abdeckungen. Halten Sie Schutzvorrichtungen, Schutzbleche, Schalter, und andere Vorrichtungen immer an ihrem Platz und in einwandfreiem Zustand.
Bleiben Sie immer von der Auswurföffnung fern. Mähen Sie niemals mit angehobener, entfernter, oder geänderter Auswurfklappe, es sei denn, es ist ein Grasauffangsystem oder ein Mulch-Kit angebaut und funktioniert einwandfrei.
Berühren Sie keine beweglichen Teile mit den Händen oder Füßen. Bei laufendem Motor sollten keine Einstellungsarbeiten vorgenommen werden.
Hände, Füße, Haare, Kleidung, oder Accessoires können sich in rotierenden Teilen verfangen. Der Kontakt mit den rotierenden Teilen kann zu Amputationen oder schweren Verletzungen führen.
Betreiben Sie die Maschine nicht ohne Schutzvorrichtungen, Schutzblechen, und Sicherheitseinrichtungen.
Halten Sie Hände, Füße, Haare, Schmuck, oder Kleidung von rotierenden Teilen fern.
Heben Sie das Mähwerk nie bei laufenden Messern an.
Achten Sie auf den Auswurfbereich des Mähers und halten Sie den Auswurfkanal nie in Richtung umstehender Personen. Vermeiden Sie, Material gegen eine Wand oder ein Hindernis auszuwerfen, da das Material zum Bediener zurückprallen kann. Stellen Sie das Messer ab, und fahren Sie langsam, wenn Sie Bereiche (außer Grasflächen) überqueren, oder den Rasenmäher zwischen Mähbereichen transportieren.
Konzentrieren Sie sich, verlangsamen Sie die Geschwindigkeit und passen Sie beim Wenden auf. Schauen Sie nach hinten und zur Seite, bevor Sie die Richtung ändern. Mähen Sie nur im Rückwärtsgang, wenn es unbedingt erforderlich ist.
Verändern Sie nie die Einstellung des Motordrehzahlreglers, und überdrehen Sie niemals den Motor.
Stellen Sie die Maschine auf einer ebenen Fläche ab. Stoppen Sie den Motor, warten bis alle beweglichen Teile zum Stillstand gekommen sind, und ziehen Sie den/die Zündkerzenstecker ab.
Vor dem Prüfen, Reinigen, oder Warten des Rasenmähers.
Nach dem Berühren eines Fremdkörpers oder bei auftretender unnormaler Vibrationen (Prüfen Sie die Maschine auf Schäden und führen die notwendigen Reparaturen durch, bevor Sie die Maschine erneut verwenden).
Vor dem Entfernen von Verstopfungen.
Wenn Sie den Rasenmäher verlassen. Lassen Sie niemals eine laufende Maschine unbeaufsichtigt zurück.
Stoppen Sie den Motor und warten bis alle beweglichen Teile zum Stillstand gekommen sind:
Vor dem Auftanken.
Vor dem Entleeren des Grasfangkorbs.
Vor dem Einstellen der Höhe.
Es kann zu tragischen Unfällen kommen, wenn sich der Benutzer der Anwesenheit von Kindern nicht bewusst ist. Kinder werden häufig von Rasenmähern und vom Mähen angezogen. Gehen Sie nie davon aus, dass Kinder dort bleiben, wo Sie sie zuletzt gesehen haben.
Halten Sie Kinder aus dem Mähbereich fern und unter Aufsicht eines verantwortlichen Erwachsenen, nicht dem Bediener.
Bleiben Sie immer wachsam und stellen die Maschine ab, wenn Kinder den Arbeitsbereich betreten.
Schauen Sie bevor und während Sie rückwärts fahren oder die Richtung wechseln nach hinten, unten und zur Seite und achten Sie auf kleine Kinder.
Die Maschine darf niemals von Kindern verwendet werden.
Tragen Sie keine Kinder, auch nicht bei ausgeschalteten Mähmessern. Kinder können herunterfallen und sich schwer verletzen, oder die sichere Bedienung der Maschine stören. Kinder, die vorher mitgenommen wurden, können plötzlich den Mähbereich betreten und nochmals mitgenommen werden wollen und können von der Maschine beim Vorwärtsfahren oder Rückwärtsfahren überfahren werden.
Hanglagen sind eine wesentliche Ursache für den Verlust der Kontrolle und Umkippunfälle, die zu schweren ggf. tödlichen Verletzungen führen können. Der Bediener ist für den sicheren Einsatz an Hanglagen verantwortlich. Gehen Sie bei Fahrten an Hanglagen besonders vorsichtig vor. Vor dem Einsatz der Maschine an einer Hanglage muss der Bediener Folgendes tun:
Lesen und verstehen Sie die Anweisungen zu Hanglagen in der Bedienungsanleitung und an der Maschine.
Ermitteln Sie das ungefähre Gefälle des Bereichs mit einem Neigungsmesser.
Setzen Sie die Maschine nie an Gefällen ein, die mehr als 15 Grad aufweisen.
Schätzen Sie den Zustand des Geländes an diesem Tag ein, um zu ermitteln, ob die Maschine sicher an der Hanglage eingesetzt werden kann. Verwenden Sie gesunden Menschenverstand und ein gutes Urteilsvermögen bei der Durchführung dieser Beurteilung. Veränderungen im Gelände, u. a. Feuchtigkeit, können sich schnell auf den Einsatz der Maschine an einer Hanglage auswirken.
Achten Sie auf Gefahren unten am Hang. Setzen Sie die Maschine nicht in der Nähe von Abhängen, Gräben, Böschungen, Gewässern, oder anderen Gefahrenstellen ein. Die Maschine könnte plötzlich umkippen, wenn ein Rad über den Rand fährt oder die Böschung nachgibt. Halten Sie einen Sicherheitsabstand (die doppelte Maschinenbreite) zwischen der Maschine und einer Gefahrenstelle. Mähen Sie diese Bereiche mit einem handgeführten Rasenmäher oder einem handgeführten Freischneider.

Vermeiden Sie das Anfahren, Anhalten oder Wenden der Maschine an Hanglagen. Vermeiden Sie eine plötzliche Änderung der Geschwindigkeit oder Richtung und wenden Sie langsam und allmählich.
Setzen Sie die Maschine nicht in Bedingungen ein, in denen der Antrieb, die Lenkung oder Stabilität in Frage gestellt wird. Beim Einsatz der Maschine auf nassem Gras, beim Überqueren von Hanglagen oder beim Fahren hangabwärts kann die Maschine die Bodenhaftung verlieren. Wenn die Antriebsräder die Bodenhaftung verlieren, kann die Maschine rutschen und zu einem Verlust der Bremsleistung und Lenkung führen. Die Maschine kann rutschen, selbst wenn sich die Antriebsräder nicht drehen.
Entfernen oder markieren Sie Hindernisse, u. a. Gräben, Löcher, Rillen, Bodenwellen, Steine, oder andere verborgene Gefahren. Hohes Gras kann Hindernisse verdecken. Fahren in unebenem Gelände kann zum Umkippen der Maschine führen.
Passen Sie besonders auf, wenn Sie die Maschine mit Zubehör oder Anbaugeräten einsetzen, u. a. Heckfangsysteme. Diese Geräte können die Stabilität der Maschine ändern und zu einem Verlust der Fahrzeugkontrolle führen. Befolgen Sie die Anweisungen für die Verwendung von Gegengewichten.
Halten Sie beim Einsatz der Maschine an Hanglagen die Mähwerke falls möglich abgesenkt. Das Anheben der Mähwerke beim Einsatz an Hanglagen kann zu einer Instabilität der Maschine führen.
Die Maschine ist mit einem Überrollschutz (Überrollbügel) ausgestattet.
Es besteht kein Überrollschutz, wenn der Überrollbügel abgesenkt ist. Räder, die über Kanten, Löcher oder steile Abhänge abrutschen, können zum Überschlagen des Fahrzeugs und zu schweren oder tödlichen Verletzungen oder Ertrinken führen.
Nehmen Sie den Überrollschutz nicht ab.
Richten Sie den Überrollbügel immer auf und arretieren Sie ihn. Legen Sie den Sicherheitsgurt an.
Senken Sie den Überrollbügel nur ab, wenn es wirklich erforderlich ist.
Legen Sie bei abgesenktem Überrollbügel keinen Sicherheitsgurt an.
Fahren Sie langsam und vorsichtig.
Richten Sie den Überrollbügel sofort wieder auf, wenn die Höhe es zulässt.
Stellen Sie sicher, dass der Sicherheitsgurt in einem Notfall schnell gelöst werden kann.
Achten Sie sorgfältig auf die lichte Höhe (wie z. B. zu Ästen, Pforten, Stromkabeln), bevor Sie unter irgendeinem Hindernis durchfahren, damit Sie diese nicht berühren.
Bringen Sie die Einheit bei einem Überschlag die zu einem autorisierten Vertragshändler zur Inspektion des Überrollschutzes.
Ersetzen Sie einen beschädigten Überrollschutz. Versuchen Sie keine Reparatur oder Überarbeitung.
Jegliches Zubehör und alle Änderungen oder Anbauten am Überrollschutz müssen durch Toro genehmigt werden.
Verwenden Sie das Mähwerk als Stufe für das Betreten der Bedienerposition (Bild 16).

Aktivieren Sie die Feststellbremse immer, wenn Sie die Maschine anhalten oder unbeaufsichtigt lassen.
Parken Sie die Maschine auf einer ebenen Fläche.


Mit dem Zapfwellenantriebsschalter kuppeln Sie die Schnittmesser und angetriebene Anbaugeräte ein oder aus.
Note: Wird der Zapfwellenantriebsschalter bei einer mittleren oder geringeren Stellung des Gasbedienungshebels eingekuppelt, führt dies zu einem extremen Verschleiß der Treibriemen.


Bewegen Sie die Gasbedienung zwischen die SCHNELL- und LANGSAM-Stellung (Bild 21).
Benutzen Sie immer die SCHNELL-Stellung, wenn Sie die Zapfwelle einkuppeln.

Note: Ein bereits warmer oder heiß gelaufener Motor benötigt keine oder eine nur minimale Starthilfe.
Important: Lassen Sie den Anlasser niemals länger als fünf Sekunden lang ununterbrochen drehen. Wenn Sie den Anlasser länger als fünf Sekunden betätigen, kann der Startermotor beschädigt werden. Wenn der Motor nicht anspringt, warten Sie 10 Sekunden, bevor Sie den Anlasser erneut betätigen.

Kinder und Unbeteiligte können verletzt werden, wenn sie die unbeaufsichtigt zurückgelassene Maschine bewegen oder einsetzen.
Ziehen Sie immer den Schlüssel ab und aktivieren Sie die Feststellbremse, wenn Sie die Maschine unbeaufsichtigt lassen.

Important: Stellen Sie sicher, dass der Kraftstoffhahn vor dem Transport oder Einlagern der Maschine geschlossen ist, sonst kann Kraftstoff auslaufen. Aktivieren Sie vor dem Transport die Feststellbremse. Ziehen Sie auf jeden Fall den Zündschlüssel ab, da die Kraftstoffpumpe sonst laufen und die Batterie entladen kann.

Die Antriebsräder drehen sich unabhängig und werden von Hydraulikmotoren an jeder Achse angetrieben. Daher kann eine Seite rückwärts und die andere vorwärts fahren, sodass sich die Maschine dreht statt wendet. Dies verbessert die Manövrierfähigkeit der Maschine, bedeutet jedoch ggf. eine gewisse Anpassung, bis Sie damit vertraut sind.
Sie können die Motordrehzahl mit dem Gasbedienungshebel einstellen, die in U/min (Umdrehungen pro Minute) gemessen wird. Stellen Sie den Gasbedienungshebel für die optimale Leistung in die SCHNELL-Stellung. Mähen Sie immer mit Vollgas.
Die Maschine kann sich sehr schnell drehen. Sie können die Kontrolle über die Maschine verlieren, was zu Verletzungen und Maschinenschäden führen kann.
Wenden Sie nur vorsichtig.
Reduzieren Sie vor scharfen Wendungen die Geschwindigkeit.
Note: Der Motor stellt ab, wenn Sie die Fahrantriebshebel bei aktivierter Feststellbremse bewegen.
Ziehen Sie die Fahrantriebshebel zum Anhalten der Maschine in die NEUTRAL-Stellung.
Lösen Sie die Feststellbremse, siehe Lösen der Feststellbremse.
Stellen Sie die Hebel in die zentrale, entriegelte Position.
Drücken Sie die Fahrantriebshebel langsam nach vorne, um vorwärtszufahren (Bild 26).

Stellen Sie die Hebel in die mittlere, entriegelte Stellung.
Ziehen Sie zum Rückwärtsfahren die Fahrantriebshebel langsam nach hinten (Bild 27).

Das Mähwerk hat ein schwenkbares Ablenkblech, das Schnittgut zur Seite und nach unten auf die Grünfläche lenkt.
Wenn ein Ablenkblech, eine Auswurfkanalabdeckung oder ein Fangsystem nicht montiert sind, sind der Bediener und Unbeteiligte der Gefahr eines Kontakts mit dem Messer und ausgeschleuderten Gegenständen ausgesetzt. Kontakt mit dem drehenden Schnittmesser oder ausgeschleuderten Gegenständen führt zu Verletzung (möglicherweise tödlichen Verletzungen).
Entfernen Sie nie das Ablenkblech vom Mähwerk, da das Ablenkblech Material nach unten auf die Grünfläche lenkt. Wechseln Sie das Ablenkblech sofort aus, wenn es beschädigt ist.
Stecken Sie nie Hände oder Füße unter das Mähwerk.
Versuchen Sie nie, den Auswurfbereich oder die Schnittmesser zu räumen, ohne den Zapfwellenantriebsschalter in die AUS-Stellung zu schieben, das Zündschloss in die AUS-Stellung zu drehen und den Schlüssel aus dem Zündschloss zu ziehen.
Stellen Sie sicher, dass das Ablenkblech nach unten abgesenkt ist.
Der Transportriegel hat zwei Stellungen und wird mit dem Mähwerkhubpedal verwendet. In der Transportstellung des Mähwerks gibt es eine ARRETIERTE und eine NICHT ARRETIERTE Stellung (Bild 28).

Sie können die Schnitthöhe in Schritten von 6 mm durch das Umstecken des Schnitthöhenstifts in verschiedene Löcher von 38 mm bis 127 mm einstellen.
Stellen Sie den Transportriegel auf die ARRETIERTE Stellung.
Treten Sie mit dem Fuß auf das Mähwerkhubpedal und heben Sie das Mähwerk in die TRANSPORT-Stellung an (d. h. die Schnitthöhe von 127 mm), wie in Bild 29 abgebildet.
Entfernen Sie den Stift aus der Schnitthöhenhalterung (Bild 29).
Wählen Sie ein Loch in der Schnitthöhenhalterung, das der gewünschten Schnitthöhe entspricht, und stecken Sie den Stift ein (Bild 29).
Üben Sie Druck auf den Mähwerkhub aus, ziehen Sie den Transportriegel nach oben und senken Sie das Mähwerk langsam ab.

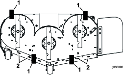
Stellen Sie die Antiskalpierrollen jedes Mal ein, wenn Sie die Schnitthöhe ändern.
Note: Stellen Sie die Antiskalpierrollen so ein, dass die Rollen in normalen, flachen Mähbereichen den Boden nicht berühren.
Parken Sie die Maschine auf einer ebenen Fläche, kuppeln Sie den Zapfwellenantriebsschalter aus und aktivieren Sie die Feststellbremse.
Stellen Sie vor dem Verlassen der Bedienungsposition den Motor ab, ziehen den Schlüssel ab und warten, bis alle beweglichen Teile zum Stillstand gekommen sind.
Stellen Sie die Antiskalpierrollen ein, wie in Bild 30 abgebildet.


Lassen Sie den Motor für ein optimales Mähen und eine maximale Luftzirkulation in der SCHNELL-Stellung laufen. Zum gründlichen Zerschnetzeln des Schnittguts wird Luft benötigt. Stellen Sie daher die Schnitthöhe nicht so niedrig ein, dass das Mähwerk vollständig von ungeschnittenem Gras umgeben ist. Versuchen Sie immer, eine Seite des Mähwerks von ungeschnittenem Gras frei zu halten, damit Luft in das Mähwerk angesaugt werden kann.
Mähen Sie das Gras etwas länger als normal, um sicherzustellen, dass die Schnitthöhe des Mähwerks keine Bodenunebenheiten skalpiert. Meist ist aber die in der Vergangenheit verwendete Schnitthöhe die beste. Mähen Sie den Rasen zweimal, wenn Sie Gras schneiden, das länger als 15 cm ist, damit Sie eine gute Schnittqualität sicherstellen.
Sie sollten nur ungefähr ein Drittel des Grashalms abschneiden. Wir empfehlen Ihnen nicht, mehr abzuschneiden, außer bei spärlichem Graswuchs oder im Spätherbst, wenn das Gras langsamer wächst.
Wechseln Sie die Mährichtung, damit das Gras aufrecht stehen bleibt. Dadurch wird auch das Schnittgut besser verteilt, was wiederum die Zersetzung und Düngung verbessert.
Gras wächst zu verschiedenen Zeiten während der Saison unterschiedlich schnell. Mähen Sie zum Beibehalten derselben Schnitthöhe zu Beginn des Frühlings häufiger. Sie können jedoch nicht so häufig mähen, wenn die Wachstumsrate des Grases im Sommer abnimmt. Mähen Sie zunächst, wenn der Rasen längere Zeit nicht gemäht wurde, bei einer höheren Schnitthöheneinstellung und dann zwei Tage später mit einer niedrigeren Einstellung noch einmal.
Fahren Sie zur Verbesserung der Schnittqualität bei bestimmten Konditionen langsamer.
Heben Sie die Schnitthöhe an, um sicherzustellen, dass Sie eine unebene Grünfläche nicht abschürfen.
Wenn Sie die Maschine beim Mähen im Vorwärtsgang anhalten müssen, kann ein Schnittgutklumpen auf den Rasen fallen. Sie können dies vermeiden, wenn Sie mit eingekuppelten Schnittmessern auf einen bereits gemähten Bereich fahren, oder Sie können das Mähwerk auskuppeln, während Sie vorwärts fahren.
Entfernen Sie nach jedem Einsatz Schnittgut und Schmutz von der Unterseite des Mähwerks. Wenn sich im Mähwerk Gras und Schmutz ansammelt, verschlechtert sich letztendlich die Schnittqualität.
Sorgen Sie während der ganzen Mähsaison für ein scharfes Schnittmesser, weil ein scharfes Messer sauber schneidet, ohne die Grashalme abzureißen oder zu zerfetzen. Abgerissene Grashalme werden an den Kanten braun. Dadurch reduziert sich das Wachstum, und die Anfälligkeit des Rasens für Krankheiten steigt. Prüfen Sie die Schnittmesser nach jeder Verwendung auf Schärfe und Anzeichen von Abnutzung oder Schäden. Feilen Sie alle Auskerbungen aus und schärfen Sie ggf. die Messer. Wenn ein Messer beschädigt oder abgenutzt ist, ersetzen Sie es nur durch Toro-Originalersatzmesser.
Stellen Sie die Maschine auf einer ebene Fläche ab, kuppeln Sie die Antriebe aus, aktivieren Sie die Feststellbremse, stellen den Motor ab, ziehen den Zündschlüssel, oder den Zündkerzenstecker ab. Lassen Sie vor dem Einstellen, Reinigen, Einlagern, und Reparieren alle beweglichen Teile zum Stillstand kommen und die Maschine abkühlen. Die Maschine sollte nie von ungeschulten Personen gewartet werden.
Reinigen Sie die Maschine wie im Abschnitt Wartung beschrieben. Halten Sie Motor und Motorraum frei von Gras, Laub, überschüssigem Fett, oder Öl und anderen Ablagerungen, die sich in diesen Bereichen ansammeln können. Diese Materialien können brennbar werden und zu einem Brand führen.
Überprüfen Sie regelmäßig, ob verschlissene oder beschädigte Komponenten eine Gefahr darstellen können. Ziehen Sie lose Befestigungsmittel an.
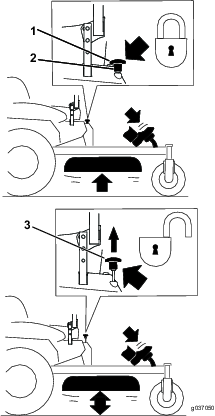
Schließen Sie den Kraftstoffhahn vor dem Transport, der Wartung oder der Einlagerung (Bild 32).
Stellen Sie sicher, dass der Kraftstoffhahn geöffnet ist, wenn Sie den Motor anlassen.


Hände können mit den sich drehenden Antriebskomponenten unter dem Motorchassis in Berührung kommen; dies kann zu schweren Verletzungen führen.
Stellen Sie den Motor ab, ziehen Sie den Zündschlüssel ab und warten Sie, bis alle drehenden Teile zum Stillstand gekommen sind, bevor Sie die Ablassventile des Antriebsrads berühren.
Der Motor- und Hydraulikantrieb kann sehr heiß werden. Wenn Sie einen heißen Motor- oder Hydraulikantrieb anfassen, können Sie schwere Verbrennungen erhalten.
Lassen Sie den Motor und die Hydraulikantriebe ganz abkühlen, bevor Sie die Ablassventile des Antriebrads berühren.
Die Ablassventile für das Antriebsrad befinden sich an der rechten und linken Seite unter dem Motorraum.
Parken Sie die Maschine auf einer ebenen Fläche, kuppeln Sie den Zapfwellenantriebsschalter aus und aktivieren Sie die Feststellbremse.
Stellen Sie vor dem Verlassen der Bedienungsposition den Motor ab, ziehen den Schlüssel ab und warten, bis alle beweglichen Teile zum Stillstand gekommen sind.
Die Bypasshebel befinden sich hinter dem Sitz unten an der rechten und linken Seite des Rahmens.
Zum Schieben der Maschine bewegen Sie die beiden Bypasshebel nach hinten und arretieren sie (Bild 33).
Lösen Sie die Feststellbremse, bevor Sie die Maschine schieben.

Zum Fahren mit der Maschine bewegen Sie die beiden Bypasshandräder in die VORWäRTS-Stellung und arretieren sie (Bild 33).
Verwenden Sie einen robusten Anhänger oder Pritschenwagen zum Transportieren der Maschine. Verwenden Sie eine Rampe über die ganze Breite. Stellen Sie sicher, dass der Anhänger oder Pritschenwagen die erforderlichen Bremsen, die erforderliche Beleuchtung und die Markierungen hat, die laut Straßenverkehrsordnung erforderlich sind. Lesen Sie alle Sicherheitsvorschriften sorgfältig durch. Kenntnis dieser Angaben kann Ihnen und Unbeteiligten dabei helfen, Verletzungen zu vermeiden. Halten Sie die örtlichen Vorschriften für Anhänger und Vergurtung ein.
Das Fahren auf Straßen und Wegen ohne Blinker, Scheinwerfer, Reflektormarkierungen oder einem Schild für langsame Fahrzeuge ist gefährlich und kann zu Unfällen mit Verletzungsgefahr führen.
Fahren Sie die Maschine nicht auf einer öffentlichen Straße oder einem öffentlichen Fahrweg.
Beim Verladen einer Maschine auf einen Anhänger oder Pritschenwagen erhöht sich die Gefahr, dass die Maschine umkippt und schwere oder tödliche Verletzungen verursacht (Bild 34).
Verwenden Sie nur eine einzige Rampe über die ganze Breite, keine einzelnen Rampen für jede Maschinenseite.
Überschreiten Sie nicht einen Winkel von 15 Grad zwischen Rampe und Boden oder zwischen Rampe und Anhänger oder Pritschenwagen.
Stellen Sie sicher, dass die Rampe mindestens viermal länger ist als der Abstand des Anhängers oder der Ladepritsche des Pritschenwagens vom Boden. Dies stellt sicher, dass der Rampenwinkel auf ebener Fläche nicht größer als 15 Grad ist.

Beim Verladen einer Maschine auf einen Anhänger oder Pritschenwagen erhöht sich die Gefahr, dass die Maschine umkippt und schwere oder tödliche Verletzungen verursacht.
Gehen Sie beim Fahren einer Maschine auf einer Rampe mit äußerster Vorsicht vor.
Sie sollten immer rückwärts eine Rampe hochfahren und vorwärts von ihr herunterfahren.
Vermeiden Sie eine plötzliche Beschleunigung oder abruptes Bremsen, wenn Sie die Maschine auf eine Rampe fahren, da Sie sonst die Kontrolle verlieren könnten oder die Maschine ggf. kippt.
Schließen Sie den Anhänger an die Zugmaschine an und schließen Sie die Sicherheitsketten an.
Schließen Sie ggf. die Anhängerbremsen und Lampen an.
Senken Sie die Rampe ab und stellen Sie sicher, dass der Winkel zwischen der Rampe und dem Boden höchstens 15 Grad beträgt (Bild 34).
Fahren Sie mit der Maschine rückwärts auf die Rampe (Bild 35).

Stellen Sie den Motor ab, ziehen den Schlüssel ab und aktivieren die Feststellbremse.
Vergurten Sie die Maschine in der Nähe der vorderen Laufräder und der hinteren Stoßstange mit Riemen, Ketten, Kabeln oder Seilen (Bild 36). Halten Sie die örtlichen Vorschriften für die Vergurtung ein.

Eine Person könnte den Motor anlassen, während Wartungs- oder Einstellungsarbeiten ausgeführt werden. Versehentliches Anlassen des Motors könnte Sie oder andere Unbeteiligte verletzen.
Ziehen Sie den Zündschlüssel ab, aktivieren Sie die Feststellbremse und ziehen Sie den Zündkerzenstecker ab, bevor Sie Wartungsarbeiten ausführen. Schieben Sie außerdem den/die Zündkerzenstecker zur Seite, damit diese nicht versehentlich die Zündkerze(n) berührt(en).
Der Motor kann sehr heiß werden. Berühren des heißen Motors kann zu schweren Verbrennungen führen.
Lassen Sie den Motor vollständig abkühlen, bevor Sie Wartungs- oder Reparaturarbeiten im Bereich des Motors durchführen.
Stellen Sie die Maschine auf einer ebene Fläche ab, kuppeln Sie die Antriebe aus, aktivieren Sie die Feststellbremse, stellen den Motor ab, ziehen den Zündschlüssel oder den Zündkerzenstecker ab. Lassen Sie vor dem Einstellen, Einlagern, und Reparieren alle beweglichen Teile zum Stillstand kommen und die Maschine abkühlen. Die Maschine sollte nie von ungeschulten Personen gewartet werden.
Klemmen Sie die Batterie ab oder entfernen den Kerzenstecker, bevor Sie irgendwelche Reparaturen durchführen. Klemmen Sie immer zuerst die Minusklemme und dann die Plusklemme ab. Schließen Sie immer zuerst den Pluspol und dann den Minuspol wieder an.
Halten Sie die Maschine, Schutzvorrichtungen, Schutzbleche, und alle Sicherheitseinrichtungen an ihrem Platz und in einem sicheren Betriebszustand. Überprüfen Sie häufig auf verschlissene oder beschädigte Komponenten, und ersetzen Sie diese bei Bedarf durch die vom Hersteller empfohlenen Teile.
Das Entfernen oder Modifizieren von Originalausrüstung, Teilen und/oder Zubehör kann die Garantie, die Kontrollierbarkeit, und die Sicherheit der Maschine beeinträchtigen. Unbefugte Veränderungen an der Originalausrüstung oder die Nichtverwendung von Toro-Originalteilen können zu schweren Verletzungen oder zum Tod führen. Unbefugte Veränderungen an der Maschine, am Motor, am Kraftstoff- oder am Entlüftungssystem können gegen geltende Sicherheitsnormen verstoßen, wie zum Beispiel: ANSI, OSHA und NFPA und/oder staatliche Vorschriften wie EPA und CARB.
Unter Druck austretendes Hydrauliköl kann unter die Haut dringen und Verletzungen verursachen. Wenn Flüssigkeit in die Haut eindringt, muss sie innerhalb weniger Stunden von einem Arzt, der mit dieser Art von Verletzungen vertraut ist, chirurgisch entfernt werden. Andernfalls kann es zu Gangrän kommen.
Falls installiert, stellen Sie sicher, dass alle Hydraulikschläuche und leitungen in gutem Zustand sind, und dass alle hydraulischen Anschlüsse und Anschlussstücke fest angezogen sind, bevor Sie die Anlage unter Druck stellen.
Halten Sie Ihren Körper und Ihre Hände von Nadellöchern und Düsen fern, aus denen Hydrauliköl unter hohem Druck ausgestoßen wird.
Verwenden Sie zur Suche nach hydraulischen Undichtheiten nur Pappe oder Papier und nicht Ihre Hände.
Lassen Sie sicher den Druck aus der Hydaulikanlage ab, schalten Sie die Fahrantriebshebel in den Leerlauf und stellen Sie den Motor ab, bevor Sie Arbeiten an der Hydraulikanlage durchführen.
Die Kraftstoffanlage steht unter hohem Druck. Die Verwendung falscher Komponenten kann zu einem Systemausfall, Kraftstofflecks und möglichen Explosionen führen.
Verwenden Sie nur Kraftstoffleitungen und Kraftstofffilter, die für Hochdrucksysteme zugelassen sind.
Gehen Sie bei der Kontrolle der Messer vorsichtig vor. Wickeln Sie das/die Messer in einen Lappen ein oder tragen Handschuhe; gehen Sie bei ihrer Wartung mit besonderer Vorsicht vor. Wechseln Sie nur beschädigte Messer aus. Sie dürfen nicht zurechtgebogen oder geschweißt werden.
Stützen Sie die Maschine und/oder die Teile bei Bedarf mit Stützböcken ab.
Beim Anheben der Maschine für Kundendienst- und Wartungsarbeiten sollten Sie sich nie nur auf mechanische oder hydraulische Achsständer verlassen. Die mechanischen oder hydraulischen Ständer stützen möglicherweise nicht ausreichend oder können ausfallen, sodass die Maschine herunterfallen und Verletzungen verursachen kann.
Verlassen Sie sich nicht ausschließlich auf mechanische oder hydraulische Ständer als Stützen. Verwenden Sie geeignete Stützböcke oder entsprechende Stützen.
Lassen Sie den Druck aus Maschinenteilen mit gespeicherter Energie vorsichtig ab.
Berühren Sie keine beweglichen Teile mit den Händen oder Füßen. Bei laufendem Motor sollten keine Einstellungsarbeiten vorgenommen werden. Wenn der Motor bei der Wartung oder Einstellung läuft und die Komponenten sich bewegen müssen, ist äußerste Vorsicht geboten.
Der Kontakt mit beweglichen Teilen oder heißen Oberflächen kann zu Verletzungen führen.
Halten Sie Finger, Hände und Kleidungsstücke von sich drehenden Bestandteilen und von heißen Oberflächen fern.
Alle Schrauben regelmäßig auf festen Sitz kontrollieren.
| Wartungsintervall | Wartungsmaßnahmen |
|---|---|
| Nach fünf Betriebsstunden |
|
| Nach den ersten 75 Stunden |
|
| Bei jeder Verwendung oder täglich |
|
| Alle 25 Betriebsstunden |
|
| Alle 50 Betriebsstunden |
|
| Alle 100 Betriebsstunden |
|
| Alle 200 Betriebsstunden |
|
| Alle 250 Betriebsstunden |
|
| Alle 500 Betriebsstunden |
|
| Monatlich |
|
| Jährlich oder vor der Einlagerung |
|
Wenn Sie den Zündschlüssel im Zündschloss stecken lassen, könnte eine andere Person den Motor versehentlich anlassen und Sie und Unbeteiligte schwer verletzen.
Stellen Sie den Motor ab und ziehen Sie den Schlüssel vom Schalter ab, bevor Sie Wartungsarbeiten durchführen.
Lösen Sie die obere Schraube der Abdeckung, um die Abdeckung des Mähwerks zu lösen und die Oberseite des Mähwerks zugänglich zu machen (Bild 37). Ziehen Sie die Schrauben nach der Wartung zum Befestigen der Abdeckung an.

Lösen Sie die zwei vorderen Schrauben und nehmen Sie die Blechschutzvorrichtung ab, um die Mähwerkriemen und die Spindeln zugänglich zu machen (Bild 38). Setzen Sie die Blechschutzvorrichtung nach dem Abschluss der Wartungsarbeiten auf und ziehen die Schrauben an.

| Wartungsintervall | Wartungsmaßnahmen |
|---|---|
| Alle 25 Betriebsstunden |
|
| Alle 50 Betriebsstunden |
|
Schmieren Sie die Maschine häufiger unter staubigen, schmutzigen Bedingungen.
Schmierfettsorte: Nr. 2 Fett auf Lithium- oder Molybdänbasis
Parken Sie die Maschine auf einer ebenen Fläche, kuppeln Sie den Zapfwellenantriebsschalter aus und aktivieren Sie die Feststellbremse, siehe Aktivieren der Feststellbremse.
Stellen Sie den Motor vor dem Verlassen des Fahrersitzes ab, ziehen den Schlüssel ab und warten, bis alle beweglichen Teile zum Stillstand gekommen sind.
Reinigen Sie die Schmiernippel mit einem Lappen.
Note: Kratzen Sie ggf. Lack von der Vorderseite der Nippel ab.
Fetten Sie den Drehzapfen der Pumpenspannscheibe mit ein oder zwei Pumpenstößen des Schmiermittels ein (Bild 39).
Fetten Sie die vorderen Laufradachsen ein (Bild 39).

Wischen Sie überflüssiges Fett ab.
Stellen Sie den Motor grundsätzlich vor dem Prüfen des Ölstands oder Auffüllen des Kurbelgehäuses mit Öl ab.
Berühren Sie den Auspuff und andere heiße Oberflächen nicht dem den Händen, Füßen, dem Gesicht und anderen Körperteile sowie mit Kleidungsstücken.
| Wartungsintervall | Wartungsmaßnahmen |
|---|---|
| Bei jeder Verwendung oder täglich |
|
| Alle 25 Betriebsstunden |
|
| Alle 100 Betriebsstunden |
|
| Alle 200 Betriebsstunden |
|
Note: Warten Sie den Luftfilter beim Einsatz der Maschine unter besonders staubigen oder sandigen Umständen häufiger.
Stellen Sie die Maschine auf eine ebene Fläche, kuppeln Sie den Zapfwellenantriebsschalter aus und aktivieren Sie die Feststellbremse.
Stellen Sie vor dem Verlassen der Bedienungsposition den Motor ab, ziehen den Schlüssel ab und warten, bis alle beweglichen Teile zum Stillstand gekommen sind.
Reinigen Sie den Bereich um die Luftfilterabdeckung, sodass kein Schmutz in den Motor fällt und Schäden verursacht.
Heben Sie die Abdeckung an und drehen den Luftfilter aus dem Motor (Bild 40).


Trennen Sie den Schaumstoff- und Papiereinsatz (Bild 41).

Waschen Sie den Schaumstoffeinsatz mit Flüssigseife und warmem Wasser. Spülen Sie den sauberen Einsatz gründlich.
Drücken Sie den Einsatz in einem sauberen Lappen aus, um ihn zu trocknen.
Important: Tauschen Sie den Schaumstoffeinsatz aus, wenn er beschädigt oder angerissen ist.
Klopfen Sie leicht auf den Einsatz, um Schmutz zu lösen.
Note: Der Papiereinsatz sollte nicht gewaschen oder mit Druckluft gereinigt werden, da er dadurch beschädigt wird.
Note: Tauschen Sie einen schmutzigen, verbogenen oder beschädigten Einsatz aus. Gehen Sie vorsichtig mit dem neuen Einsatz um; verwenden Sie ihn nicht, wenn die Dichtungsoberflächen verbogen oder beschädigt sind.
Reinigen Sie den Luftfilter je nach Bedarf und prüfen Sie den Zustand.
Setzen Sie den Schaumstoffeinsatz über den Papiereinsatz.
Note: Achten Sie darauf, dass Sie die Einsätze nicht beschädigen.
Fluchten Sie die Löcher des Filters in den Verteileranschlüssen aus.
Drehen Sie den Filter nach unten in die Kammer und führen ihn vollständig gegen den Verteiler ein (Bild 42).

Schließen Sie die Abdeckung.
| Wartungsintervall | Wartungsmaßnahmen |
|---|---|
| Nach fünf Betriebsstunden |
|
| Bei jeder Verwendung oder täglich |
|
| Alle 100 Betriebsstunden |
|
Ölsorte:Waschaktives Öl der API-Klassifikation SF, SG, SH, SJ, oder SL.
Fassungsvermögen des Kurbelgehäuses: 2,4 l (mit Ölfilter).
Viskosität: Siehe nachstehende Tabelle.

Note: Prüfen Sie den Ölstand bei kaltem Motor.
Important: Wenn Sie zu viel oder zu wenig Öl in das Kurbelgehäuse füllen, kann der Motor beschädigt werden.
Stellen Sie die Maschine auf eine ebene Fläche, kuppeln Sie den Zapfwellenantriebsschalter aus und aktivieren Sie die Feststellbremse.
Stellen Sie vor dem Verlassen der Bedienungsposition den Motor ab, ziehen den Schlüssel ab und warten, bis alle beweglichen Teile zum Stillstand gekommen sind.
Note: Stellen Sie sicher, dass der Motor kalt ist, damit das Öl in die Wanne ablaufen kann.
Reinigen Sie den Bereich um den Ölfüllstutzendeckel bzw. den Peilstab vor dem Abnehmen, damit kein Schmutz oder Schnittgut usw. in den Motor gelangt (Bild 44).


Stellen Sie die Maschine auf eine ebene Fläche, damit Sie sicherstellen, dass das Öl vollständig ausläuft.
Kuppeln Sie den Zapfwellenantriebsschalter aus und aktivieren die Feststellbremse.
Stellen Sie vor dem Verlassen der Bedienungsposition den Motor ab, ziehen den Schlüssel ab und warten, bis alle beweglichen Teile zum Stillstand gekommen sind.
Lassen Sie das Öl vom Motor ab.


Wechseln Sie den Motorölfilter (Bild 46).
Note: Stellen Sie sicher, dass die Ölfilterdichtung den Motor berührt und drehen Sie den Filter dann um eine weitere Dreivierteldrehung.

Gießen Sie langsam ungefähr 80 % der angegebenen Ölsorte in den Einfüllstutzen und füllen Sie dann vorsichtig mehr Öl ein, um den Ölstand an die Voll-Markierung zu bringen (Bild 47).

Entsorgen Sie Altöl im lokalen Recycling Center.
| Wartungsintervall | Wartungsmaßnahmen |
|---|---|
| Alle 100 Betriebsstunden |
|
| Alle 200 Betriebsstunden |
|
Achten Sie darauf, dass der Abstand zwischen der mittleren und der seitlichen Elektrode korrekt ist, bevor Sie die Zündkerze eindrehen. Verwenden Sie zum Aus und Einbauen der Zündkerze einen Zündkerzenschlüssel und für die Prüfung und Einstellung des Elektrodenabstands eine Fühlerlehre. Setzen Sie bei Bedarf eine neue Zündkerze ein.
Typ: Champion® RN9YC oder NGK® BPR6ES
Elektrodenabstand: 0,76 mm
Stellen Sie die Maschine auf eine ebene Fläche, kuppeln Sie den Zapfwellenantriebsschalter aus und aktivieren Sie die Feststellbremse.
Stellen Sie vor dem Verlassen der Bedienungsposition den Motor ab, ziehen den Schlüssel ab und warten, bis alle beweglichen Teile zum Stillstand gekommen sind.
Reinigen Sie den Bereich um die Fassung der Zündkerze, damit kein Schmutz und keine Rückstände in den Motor gelangen.
Lokalisieren und entfernen Sie die Zündkerze(n) wie in Bild 48 abgebildet.


Important: Reinigen Sie die Zündkerze(n) nie. Wechseln Sie die Zündkerze immer aus, wenn sie schwarz überzogen ist oder abgenutzte Elektroden, einen öligen Film oder Risse aufweist.
Wenn der Kerzenstein hellbraun oder grau ist, ist der Motor richtig eingestellt. Eine schwarze Schicht am Kerzenstein weist normalerweise auf einen schmutzigen Luftfilter hin.
Stellen Sie den Abstand auf 0,76 mm ein.


| Wartungsintervall | Wartungsmaßnahmen |
|---|---|
| Bei jeder Verwendung oder täglich |
|
Stellen Sie die Maschine auf eine ebene Fläche, kuppeln Sie den Zapfwellenantriebsschalter aus und aktivieren Sie die Feststellbremse.
Stellen Sie den Motor vor dem Verlassen des Fahrersitzes ab, ziehen Sie den Schlüssel ab und warten, bis alle beweglichen Teile zum Stillstand gekommen sind.
Nehmen Sie den Luftfilter aus dem Motor.
Nehmen Sie die Motorhaube ab.
Bringen Sie den Luftfilter am Filtersockel an, damit keine Rückstände in das Ansaugrohr gelangen.
Entfernen Sie Schmutz- und Grasrückstände von diesen Teilen.
Entfernen Sie den Luftfilter und bringen Sie die Motorhaube an.
Setzen Sie den Luftfilter ein.
| Wartungsintervall | Wartungsmaßnahmen |
|---|---|
| Alle 50 Betriebsstunden |
|
Heiße Teile des Auspuffs können Kraftstoffdämpfe entzünden, selbst nach dem Abstellen des Motors. Heiße Partikel, die vom laufenden Motor ausgestoßen werden, können brennbare Materialien entzünden und zu Verletzungen oder Sachschäden führen.
Betanken Sie die Maschine und lassen Sie den Motor nur an, wenn der Funkenfänger eingebaut ist.
Parken Sie die Maschine auf einer ebenen Fläche, kuppeln Sie die Zapfwelle aus und aktivieren Sie die Feststellbremse.
Stellen Sie vor dem Verlassen der Bedienungsposition den Motor ab, ziehen den Schlüssel ab und warten, bis alle beweglichen Teile zum Stillstand gekommen sind.
Warten Sie, bis der Auspuff kalt ist.
Tauschen Sie den Funkenfänger aus, wenn Sie Risse im Gitter oder an den Schweißnähten feststellen.
Bei Verstopfungen des Gitters nehmen Sie den Funkenfänger ab und schütteln Sie lose Partikel aus dem Funkenfänger; reinigen Sie das Gitter dann mit einer Drahtbürste (weichen Sie es ggf. in Reinigungsmittel ein).
Bauen Sie den Funkenfänger wieder am Ende des Auspuffrohrs ein.
| Wartungsintervall | Wartungsmaßnahmen |
|---|---|
| Alle 500 Betriebsstunden |
|
Stellen Sie die Maschine auf eine ebene Fläche, kuppeln Sie den Zapfwellenantriebsschalter aus und aktivieren Sie die Feststellbremse.
Stellen Sie vor dem Verlassen der Bedienungsposition den Motor ab, ziehen den Schlüssel ab und warten, bis alle beweglichen Teile zum Stillstand gekommen sind.
Nehmen Sie den Filter vom Entlüftungsschlauch ab.
Setzen Sie einen neuen Filter in das Ende des Entlüftungsschlauchs ein.
Unter bestimmten Bedingungen ist Kraftstoff extrem leicht entflammbar und hochexplosiv. Feuer und Explosionen durch Kraftstoff können Verbrennungen und Sachschäden verursachen.
Siehe Betanken für eine vollständige Liste der Vorsichtsmaßnahmen im Zusammenhang mit dem Kraftstoff.
| Wartungsintervall | Wartungsmaßnahmen |
|---|---|
| Alle 500 Betriebsstunden |
|
Important: Schließen Sie die Kraftstoffleitungen genauso an und befestigen sie mit Kabelbinden aus Kunststoff, wie dies vorher im Werk gemacht wurde, damit die Kraftstoffleitungen nicht Bestandteile berühren, die Kraftstoffleitungen beschädigen können.
Der Kraftstofffilter befindet sich in der Nähe des Motors vorne links am Motor.
Stellen Sie die Maschine auf eine ebene Fläche, kuppeln Sie den Zapfwellenantriebsschalter aus und aktivieren Sie die Feststellbremse.
Stellen Sie den Motor vor dem Verlassen des Fahrersitzes ab, ziehen Sie den Schlüssel ab und warten, bis alle beweglichen Teile zum Stillstand gekommen sind.
Lassen Sie die Maschine abkühlen.
Schließen Sie den Kraftstoffhahn unter dem Sitz.
Tauschen Sie den Kraftstofffilter aus (Bild 51).
Note: Stellen Sie sicher, dass die Markierungen am Filter der Richtung des Kraftstoffflusses folgen.

Öffnen Sie den Kraftstoffhahn.
Versuchen Sie nicht, den Kraftstofftank zu entleeren. Stellen Sie sicher, dass ein offizieller Vertragshändler den Kraftstofftank entleert und die Komponenten der Kraftstoffanlage wartet.
Trennen Sie vor dem Durchführen von Reparaturen an der Maschine die Batterie ab. Klemmen Sie immer zuerst den Minuspols und dann den Pluspol ab. Schließen Sie immer zuerst den Pluspol und dann den Minuspol an.
Laden Sie die Batterie in offenen, gut gelüfteten Bereichen und nicht in der Nähe von Funken und offenem Feuer. Trennen Sie das Ladegerät ab, ehe Sie die Batterie anschließen oder abtrennen. Tragen Sie Schutzkleidung und verwenden Sie isoliertes Werkzeug.
| Wartungsintervall | Wartungsmaßnahmen |
|---|---|
| Monatlich |
|
Batteriepole und Metallwerkzeuge können an metallischen Teilen Kurzschlüsse verursachen, was Funken erzeugen kann. Funken können zum Explodieren der Batteriegase führen, was Verletzungen zur Folge haben kann.
Vermeiden Sie beim Entfernen oder Einsetzen der Batterie, dass die Batteriepole mit metallischen Maschinenteilen in Berührung kommen.
Vermeiden Sie Kurzschlüsse zwischen metallischen Werkzeugen, den Batteriepolen und metallischen Maschinenteilen.
Das unsachgemäße Abtrennen der Kabel von der Batterie kann die Maschine und die Kabel beschädigen und Funken erzeugen. Funken können zum Explodieren der Akkugase führen, was Verletzungen zur Folge haben kann.
Klemmen Sie immer das Minuskabel (schwarz) der Batterie ab, bevor Sie das Pluskabel (rot) abtrennen.
Schließen Sie immer das Pluskabel (rot) der Batterie an, bevor Sie das Minuskabel (schwarz) anschließen.
Stellen Sie die Maschine auf eine ebene Fläche, kuppeln Sie den Zapfwellenantriebsschalter aus und aktivieren Sie die Feststellbremse.
Stellen Sie den Motor vor dem Verlassen des Fahrersitzes ab, ziehen Sie den Schlüssel ab und warten, bis alle beweglichen Teile zum Stillstand gekommen sind.
Nehmen Sie die Batterie heraus, wie in Bild 52 abgebildet.


Beim Laden des Akkus werden Gase erzeugt, die explodieren können.
Rauchen Sie nie in der Nähe des Akkus und halten Sie Funken und offene Flammen vom Akku fern.
Important: Halten Sie die Batterie immer vollständig geladen (Dichte 1,265). Dies ist besonders wichtig zum Verhüten von Batterieschäden, wenn die Temperatur unter 0 °C fällt.
Nehmen Sie die Batterie aus dem Chassis heraus, siehe Entfernen der Batterie.
Laden Sie die Batterie für 10-15 Minuten mit 25 Ampere oder 30 Ampere oder für 30 Minuten mit 10 Ampere auf.
Note: Überladen Sie die Batterie nicht.
Ziehen Sie, wenn die Batterie ganz geladen ist, den Stecker des Ladegeräts aus der Dose. Klemmen Sie dann die Klemmen des Ladegeräts von den Batteriepolen ab (Bild 53).
Setzen Sie die Batterie in die Maschine ein und klemmen Sie die Batteriekabel an; siehe Einbauen der Batterie.
Note: Lassen Sie die Maschine nie mit abgeklemmter Batterie laufen, sonst können elektrische Schäden entstehen.

Legen Sie die Batterie so in das Fach, dass die Anschlussklemmen auf der anderen Seite des Hydraulikbehälters sind (Bild 52).
Klemmen Sie das (rote) Pluskabel am Pluspol (+) der Batterie an.
Schließen Sie dann das Minuskabel (schwarz) und Erdkabel am Minuspol (-) der Batterie an.
Note: Achten Sie bei Maschinen des Typs MyRide darauf, dass das Erdungskabel nicht am Längslenker oder an der unteren Stoßdämpferbrücke scheuert (Bild 55).

Befestigen Sie die Kabel mit zwei Schrauben, 2 Scheiben und 2 Sicherungsmuttern (Bild 52).
Ziehen Sie die rote Polkappe über den (roten) Pluspol der Batterie.
Befestigen Sie die Batterie mit dem Gummiriemen (Bild 52).
Die elektrische Anlage wird durch Sicherungen geschützt. Es sind keine Wartungsarbeiten erforderlich. Überprüfen Sie jedoch das bzw. den entsprechende(n) Teil bzw. Schaltkreis auf einen Defekt oder einen Kurzschluss, wenn eine Sicherung durchbrennt.
Die Sicherungen befinden Sie rechts am Armaturenbrett neben dem Sitz (Bild 55).
Ziehen Sie die Sicherungen zum Wechseln heraus.
Setzen Sie eine neue Sicherung ein (Bild 55).

| Wartungsintervall | Wartungsmaßnahmen |
|---|---|
| Bei jeder Verwendung oder täglich |
|
Prüfen Sie den Sicherheitsgurt auf Zeichen von Abnutzung und Risse und prüfen Sie auch den Rücklauf und die Schnalle. Ersetzen Sie einen beschädigten Sicherheitsgurt.
| Wartungsintervall | Wartungsmaßnahmen |
|---|---|
| Bei jeder Verwendung oder täglich |
|
Zur Vermeidung von ggf. tödlichen Verletzungen durch Überschlagen lassen Sie den Überrollbügel in der hochgeklappten und arretierten Stellung und legen den Sicherheitsgurt an.
Stellen Sie sicher, dass der Sitz an der Maschine befestigt ist.
Stellen Sie sicher, dass die Befestigungen und die Handräder in gutem Zustand sind.
Achten Sie darauf, dass die Handräder ganz eingerastet sind, wenn der Überrollbügel ganz aufgeklappt ist.
Note: Sie müssen den oberen Bügel des Überrollbügels ggf. nach vorne drücken oder nach hinten ziehen, damit beide Handräder richtig einrasten (Bild 56 und Bild 57).


Kuppeln Sie den Zapfwellenantriebsschalter aus.
Fahren Sie auf eine ebene Fläche und stellen Sie die Fahrantriebshebel in die ARRETIERTE NEUTRAL-Stellung.
Bewegen Sie den Gasbedienungshebel in die Mittelstellung zwischen LANGSAM und SCHNELL.
Schieben Sie beide Fahrantriebshebel nach vorne, bis sie die Anschläge im T-Schlitz berühren.
Stellen Sie fest, nach welcher Seite die Maschine zieht.
Wenn die Maschine nach rechts zieht, stecken Sie einen Sechskantschraubenschlüssel durch das Zugangsloch in der Abdeckungsplatte vorne rechts und drehen Sie die Spurweitenschraube nach rechts oder nach links, um das Spiel des Hebels einzustellen (Bild 58).
Wenn die Maschine nach links zieht, stecken Sie einen Sechskantschraubenschlüssel durch das Zugangsloch in der Abdeckungsplatte vorne rechts und drehen Sie die Spurweitenschraube nach rechts oder nach links, um das Spiel des Hebels einzustellen (Bild 58).
Setzen Sie die Maschine ein und prüfen Sie die ganze Vorwärtsspurweite.
Wiederholen Sie die Einstellung, bis Sie die gewünschte Spurweite erzielt haben.

| Wartungsintervall | Wartungsmaßnahmen |
|---|---|
| Alle 50 Betriebsstunden |
|
Stellen Sie den Druck in den Vorder- und Hinterreifen auf 0,90 bar ein. Ein unterschiedlicher Reifendruck kann zu einem ungleichmäßigen Schnittbild führen. Prüfen Sie den Reifendruck am kalten Reifen, um einen möglichst genauen Wert zu erhalten.

Prüfen und ziehen Sie die Radmuttern mit 122-136 N·m an.
| Wartungsintervall | Wartungsmaßnahmen |
|---|---|
| Bei jeder Verwendung oder täglich |
|
Entfernen Sie Schnittgut, Schmutz und andere Rückstände vor jedem Einsatz der Maschine vom Motorgitter, vom Auspuff und dem Bereich um den Motor. So gewährleisten Sie eine ausreichende Kühlung sowie die korrekte Motordrehzahl und reduzieren die Gefahr einer Überhitzung und mechanischer Motorschäden.
| Wartungsintervall | Wartungsmaßnahmen |
|---|---|
| Alle 500 Betriebsstunden |
|
Note: Führen Sie diesen Schritt aus, wenn Sie ein Teil der Bremse entfernen oder ersetzen.
Stellen Sie die Maschine auf eine ebene Fläche, kuppeln Sie den Zapfwellenantriebsschalter aus und aktivieren Sie die Feststellbremse.
Stellen Sie vor dem Verlassen der Bedienungsposition den Motor ab, ziehen den Schlüssel ab und warten, bis alle beweglichen Teile zum Stillstand gekommen sind.
Richten Sie die Maschine für ein Schieben mit der Hand ein. Siehe Verwenden der Ablassventile des Antriebsrads.
Heben Sie das Heck der Maschine an und stützen es auf Stützböcken ab.
Sie sollten sich nicht nur auf die mechanischen oder hydraulischen Wagenheber verlassen, wenn Sie eine angehobene Maschine für Kundendienst- oder Wartungsarbeiten abstützen. Die mechanischen oder hydraulischen Wagenheber stützen möglicherweise nicht ausreichend ab oder können ausfallen, sodass die Maschine herunterfallen und schwere Verletzungen verursachen kann.
Verlassen Sie sich nicht ausschließlich auf mechanische oder hydraulische Ständer als Stützen. Verwenden Sie geeignete Stützböcke oder entsprechende Stützen.
Aktivieren und lösen Sie die Feststellbremse und prüfen Sie jeden Antriebsreifen, um das Aktivieren und Lösen jeder Bremse zu prüfen.
Falls eine Einstellung erforderlich ist, lösen Sie die Feststellbremse. Nehmen Sie den Splint aus der Bremsgestängewelle heraus (Bild 60).

Prüfen Sie beide Federlängen, wie in Bild 61 abgebildet. Falls eine Einstellung erforderlich ist, drehen Sie die obere Muttern nach rechts, um die Feder zu verkürzen und nach links, um die Feder zu verlängern.

Drücken Sie den Hebel der Feststellbremse ganz nach vorne und unten.
Drehen Sie die Bremsgestängewelle, bis das Ende mit dem Loch im Hebel ausgefluchtet ist.
Drehen Sie das Gestänge nach rechts, um es zu verkürzen.
Drehen Sie das Gestänge nach links, um es zu verlängern.
Setzen Sie die Bremsgestängewelle in das Loch in der Feststellbremse ein und befestigen sie mit dem Splint. Wiederholen Sie Schritt 5 und stellen Sie ggf. ein.
Wenn die Einstellung abgeschlossen ist, entfernen Sie die Stützböcke oder die entsprechenden Stützen und senken die Maschine ab.
Stellen Sie die Maschine in die BETRIEBS-Stellung. Siehe Verwenden der Ablassventile des Antriebsrads.
| Wartungsintervall | Wartungsmaßnahmen |
|---|---|
| Alle 50 Betriebsstunden |
|
Ersetzen Sie einen abgenutzten Riemen. Anzeichen eines abgenutzten Riemens sind u. a. das Quietschen des Riemens, wenn er sich dreht, das Schlüpfen der Messer beim Mähen, zerfranste Ränder, Versengen und Risse im Riemen.
Stellen Sie die Maschine auf eine ebene Fläche, kuppeln Sie den Zapfwellenantriebsschalter aus und aktivieren Sie die Feststellbremse.
Stellen Sie den Motor vor dem Verlassen des Fahrersitzes ab, ziehen Sie den Schlüssel ab und warten, bis alle beweglichen Teile zum Stillstand gekommen sind.
Senken Sie das Mähwerk auf eine Schnitthöhe von 76 mm ab.
Lösen Sie die Schraube an jeder Riemenabdeckung.
Lösen Sie die untere Schraube, mit der die Mähwerkabdeckung am Mähwerk befestigt ist, siehe Lösen der Mähwerkabdeckung.
Nehmen Sie die Blechschutzvorrichtung ab, siehe Entfernen der Blechschutzvorrichtung..
Entfernen Sie die Riemenabdeckungen und die Schrauben (Bild 62).

Lassen Sie die Federspannung an der gefederten Spannscheibe ab. Siehe Bild 64.
Note: Verwenden Sie das Werkzeug zur Federentfernung (Toro-Bestellnummer 92-5771), um die Feder aus der Mähwerkstrebe zu entfernen (Bild 64).
Entfernen Sie den Riemen von den Mähwerk-Riemenscheiben und der Kupplungsriemenscheibe.
Verlegen Sie den neuen Riemen um die Mähwerk- und Bremsspannscheiben unter dem Motor (Bild 63).


Setzen Sie die Spannscheibenfeder ein (Bild 63).
Note: Setzen Sie die Federenden in den Verankerungsrillen ein.
Bringen Sie die Riemenabdeckungen und die Schrauben an (Bild 65).

Bauen Sie die Blechschutzvorrichtung ein, siehe Entfernen der Blechschutzvorrichtung..
Ziehen Sie die untere Schraube an, mit denen die Mähwerkabdeckung am Mähwerk befestigt ist, siehe Lösen der Mähwerkabdeckung.
Stellen Sie die Maschine auf eine ebene Fläche, kuppeln Sie den Zapfwellenantriebsschalter aus und aktivieren Sie die Feststellbremse.
Stellen Sie den Motor vor dem Verlassen des Fahrersitzes ab, ziehen Sie den Schlüssel ab und warten, bis alle beweglichen Teile zum Stillstand gekommen sind.
Entfernen Sie den Mähwerkriemen, siehe Austauschen des Mähwerk-Treibriemens.
Heben Sie die Maschine an und stützen Sie sie mit Stützböcken ab (Bild 67).
Entfernen Sie den Kupplungsanschlag (Bild 66).

Entfernen Sie die Spannscheibenfeder von der Strebe (Bild 67).
Entfernen Sie den vorhandenen Riemen von den Antriebsscheiben der Hydraulikpumpe und der Motorriemenscheibe.
Verlegen Sie den neuen Riemen um die Motorriemenscheibe und um die zwei Riemenscheiben der Hydraulikpumpe (Bild 67).

Montieren Sie den Kupplungsanschlag (Bild 66).
Befestigen Sie den Mähwerktreibriemen, siehe Warten der Riemen.
Wenn sich die Enden der Hebel berühren, finden Sie weitere Informationen unter Einstellen des Fahrsteuergestänges.
Sie können die Höhe der Fahrantriebshebel für den optimalen Bedienerkomfort nach oben oder unten einstellen.
Stellen Sie die Maschine auf eine ebene Fläche, kuppeln Sie den Zapfwellenantriebsschalter aus und aktivieren Sie die Feststellbremse.
Stellen Sie den Motor vor dem Verlassen des Fahrersitzes ab, ziehen Sie den Schlüssel ab und warten, bis alle beweglichen Teile zum Stillstand gekommen sind.
Entfernen Sie die Befestigungen, mit denen der Steuerhebel an der Steuerarmwelle befestigt ist.

Setzen Sie den Schalthebel in die nächste Lochposition. Befestigen Sie den Hebel mit den Befestigungen.
Wiederholen Sie die Einstellungsschritte am zweiten Schalthebel.
Stellen Sie die Maschine auf eine ebene Fläche, kuppeln Sie den Zapfwellenantriebsschalter aus und aktivieren Sie die Feststellbremse.
Stellen Sie den Motor vor dem Verlassen des Fahrersitzes ab, ziehen Sie den Schlüssel ab und warten, bis alle beweglichen Teile zum Stillstand gekommen sind.
Lösen Sie die obere Schraube, mit der der Schalthebel an der Schalthebelwelle befestigt ist.
Lösen Sie die untere Schraube etwas, so dass der Schalthebel sich nach vorne oder nach hinten drehen lässt. Ziehen Sie beide Schrauben fest, um den Schalthebel in der neuen Stellung zu arretieren.
Wiederholen Sie die Einstellungsschritte am zweiten Schalthebel.

Die Pumpensteuergestänge befinden sich unter dem Sitz an beiden Seiten der Maschine. Drehen Sie die Endmutter mit einem ½"-Schraubenschlüssel, um einzustellen, dass sich die Maschine nicht in der Neutral-Stellung bewegt. Sie sollten nur die Neutral-Stellung einstellen.
Für die Einstellungen muss der Motor laufen und die Antriebsräder müssen sich drehen. Der Kontakt mit beweglichen Teilen oder heißen Oberflächen kann zu Verletzungen führen.
Halten Sie Finger, Hände und Kleidungsstücke von sich drehenden Bestandteilen und von heißen Oberflächen fern.
Stellen Sie die Maschine auf eine ebene Fläche, kuppeln Sie den Zapfwellenantriebsschalter aus und aktivieren Sie die Feststellbremse.
Stellen Sie den Motor vor dem Verlassen des Fahrersitzes ab, ziehen Sie den Schlüssel ab und warten, bis alle beweglichen Teile zum Stillstand gekommen sind.
Treten Sie auf das Mähwerkhubpedal, entfernen Sie den Schnitthöhen-Einstellstift und senken Sie das Mähwerk auf den Boden ab
Heben Sie das Heck der Maschine etwas an und stützen es mit Stützböcken oder Ähnlichem ab, sodass sich die Antriebsräder gerade ungehindert drehen.
Klemmen Sie den elektrischen Anschluss vom Sitzsicherheitsschalter ab, der sich unter dem unterem Sitzkissen befindet.
Note: Der Schalter ist Teil des Sitzes.
Schließen Sie vorübergehend ein Überbrückungskabel an den Klemmen des Hauptkabelbaums an.
Lassen Sie den Motor mit Vollgas laufen und lösen Sie die Feststellbremse.
Note: Stellen vor dem Anlassen des Motors sicher, dass die Feststellbremse aktiviert ist und die Fahrantriebshebel außen sind. Sie müssen nicht auf dem Sitz sitzen.
Lassen Sie die Maschine für mindestens fünf Minuten mit Vollgas laufen, um das Hydrauliköl auf die Betriebstemperatur zu erwärmen.
Note: Während Sie Einstellungen vornehmen, müssen sich die Fahrantriebshebel in der Neutral-Stellung befinden.
Stellen Sie die Fahrantriebshebel in die NEUTRAL-Stellung.
Prüfen und stellen Sie sicher, dass die Steuerplattennasen die Platten für das Zurückgehen in die Neutral-Stellung an den hydraulischen Einheiten berühren.
Stellen Sie die Länge der Pumpenschaltstange ein, indem Sie die Mutter in die entsprechende Richtung drehen, bis sich die Räder leicht zurückdrehen (Bild 70).

Stellen Sie die Fahrantriebshebel in die RüCKWäRTS-Stellung und üben Sie etwas Druck auf den Hebel aus, damit die Federn die Hebel wieder in die Neutral-Stellung bringen.
Note: Die Räder sollten sich nicht mehr drehen oder leicht rückwärts drehen.
Note: Sie müssen ggf. die Abdeckung der Fahrantriebshebel entfernen, um Zugang zu erhalten.
Schalten Sie die Maschine ab.
Ziehen Sie das Überbrückungskabel vom Kabelbaum ab und schließen Sie den Stecker an den Sitzschalter an.
Entfernen Sie die Stützböcke.
Heben Sie das Mähwerk an und setzen Sie den Schnitthöhenstift ein.
Stellen Sie sicher, dass die Maschine nicht in der Neutral-Stellung bei aktivierter Feststellbremse kriecht.
Konsultieren Sie beim Einspritzen unter die Haut sofort einen Arzt. In die Haut eingedrungene Flüssigkeit muss innerhalb weniger Stunden von einem Arzt entfernt werden.
Stellen Sie sicher, dass alle Hydraulikschläuche und -leitungen in gutem Zustand und alle Hydraulikverbindungen und -anschlussstücke fest angezogen sind, bevor Sie die Hydraulikanlage unter Druck setzen.
Halten Sie Ihren Körper und Ihre Hände von Nadellöchern und Düsen fern, aus denen Hydrauliköl unter hohem Druck ausgestoßen wird.
Gehen Sie hydraulischen Undichtheiten nur mit Pappe oder Papier nach.
Lassen Sie den Druck in der Hydraulikanlage auf eine sichere Art und Weise ab, bevor Sie irgendwelche Arbeiten an der Anlage durchführen.
Hydraulikölsorte: Toro® HYPR-OIL™ 500-Hydrauliköl oder Mobil 1 15W-50.
Important: Verwenden Sie die richtige Sorte. Andere Flüssigkeiten können die Hydraulikanlage beschädigen.
Fassungsvermögen der Hydraulikanlage (mit entfernten Filtern): 4,45 Liter
| Wartungsintervall | Wartungsmaßnahmen |
|---|---|
| Bei jeder Verwendung oder täglich |
|
Lassen Sie das Hydrauliköl abkühlen. Prüfen Sie den Ölstand bei kaltem Öl.
Prüfen Sie das Ausdehnungsgefäß und füllen Sie ggf. Hydrauliköl der Sorte Toro® HYPR-OIL™ 500 bis zur Markierung FULL COLD auf.

| Wartungsintervall | Wartungsmaßnahmen |
|---|---|
| Nach den ersten 75 Stunden |
|
| Alle 250 Betriebsstunden |
|
| Alle 500 Betriebsstunden |
|
Zum Auswechseln des Hydrauliköls müssen die Filter entfernt werden. Ersetzen Sie beide gleichzeitig, siehe Entfernen der Filter der Hydraulikanlage für die Ölsorten.
Entlüften Sie die Anlage nach dem Einsetzen der neuen Filter und dem Hinzufügen des Öls. Siehe Entlüften der Hydraulikanlage. Wiederholen Sie das Entlüften so lange, bis der Ölstand nach dem Entlüften an der Markierung FULL COLD bleibt. Falsches Entlüften kann zu irreparablen Schäden am Getriebe führen.
Stellen Sie die Maschine auf eine ebene Fläche, kuppeln Sie den Zapfwellenantriebsschalter aus und aktivieren Sie die Feststellbremse.
Stellen Sie vor dem Verlassen der Bedienungsposition den Motor ab, ziehen den Schlüssel ab und warten, bis alle beweglichen Teile zum Stillstand gekommen sind.
Lassen Sie den Motor abkühlen.
Ermitteln Sie den Filter und die Schutzvorrichtungen an jedem Getriebe (Bild 72).
Entfernen Sie die drei Schrauben, mit denen die Filterschutzvorrichtung und die Schutzvorrichtung befestigt sind (Bild 72).

Reinigen Sie den Bereich um die Filter.
Important: Lassen Sie keinen Schmutz in die Hydraulikanlage gelangen, da sie sonst verunreinigt wird.
Stellen Sie eine Auffangwanne unter den Filter, um die Flüssigkeit aufzufangen, die beim Entfernen des Filters und der Entlüftungsschraube ausläuft.
Entfernen Sie die Entlüftungsschraube an jedem Getriebe.
Schrauben Sie den Filter ab, entfernen ihn und lassen die Flüssigkeit aus dem Antriebssystem ablaufen.
Wiederholen Sie diese Schritte für beide Filter.
Tragen Sie einen dünnen Film des Hydrauliköls auf die Gummidichtung jedes Filters auf.
Schrauben Sie die neuen Filter nach rechts ein, bis die Gummidichtung den Filteradapter berührt. Ziehen Sie den Filter dann um eine weitere ¾- oder ganze Drehung an.
Wiederholen Sie die Schritte für den anderen Filter.
Setzen Sie die vorher entfernten Filterschutzvorrichtungen auf jeden Filter.
Befestigen Sie die Filterschutzvorrichtungen mit den drei Schrauben.
Stellen Sie vor dem Einfüllen von Öl sicher, dass die Entlüftungsschrauben entfernt sind.
Gießen Sie langsam Öl der entsprechenden Sorte in das Ausdehnungsgefäß, bis Öl aus einem der Löcher der Entlüftungsschraube tritt.
Setzen Sie die Entlüftungsschraube ein.
Ziehen Sie die Schraube mit 20 N·m an.
Füllen Sie mehr Öl in das Ausdehnungsgefäß, bis Öl aus dem anderen Entlüftungsschraubenloch am zweiten Getriebe austritt.
Setzen Sie die andere Entlüftungsschraube ein.
Ziehen Sie die Schraube mit 20 N·m an.
Füllen Sie mehr Öl in den Ausdehnungsbehälter, bis der Ölstand an der Markierung FULL COLD am Ausdehnungsgefäß liegt.
Gehen Sie zu Entlüften der Hydraulikanlage.
Important: Wenn Sie nach dem Wechseln der Hydraulikfilter und des -öls die Hydraulikanlage nicht entlüften, kann das Getriebe irreparable beschädigt werden.

Heben Sie das Heck der Maschine etwas an und stützen es mit Stützböcken oder Ähnlichem ab, sodass sich die Antriebsräder gerade ungehindert drehen.

Lassen Sie den Motor an, schieben die Gasbedienung nach vorne in die Halbgas-Stellung und lösen die Feststellbremse.
Schieben Sie die Sicherheitshebel in die Stellung für das Schieben der Maschine. Wenn die Sicherheitsventile geöffnet sind und der Motor läuft, schieben Sie die Fahrantriebshebel fünf oder sechs Mal vorsichtig in den Vorwärts- und Rückwärtsgang.
Schieben Sie die Sicherheitshebel in die Betriebsstellung der Maschine.
Wenn das Sicherheitsventil geschlossen ist und der Motor läuft, schieben Sie die Lenkung fünf oder sechs Mal vorsichtig in den Vorwärts- und Rückwärtsgang.
Stellen Sie den Motor ab und prüfen Sie den Ölstand im Ausdehnungsgefäß. Füllen Sie Flüssigkeit der entsprechenden Sorte ein, bis die Linie FULL COLD am Ausdehnungsgefäß erreicht ist.
Wiederholen Sie den Schritt 2, bis die Anlage komplett entlüftet ist.
Note: Wenn das Geräusch des Getriebes normal ist und bei normalen Geschwindigkeiten ungehindert nach vorne und hinten bewegt, ist die Antriebsachse entlüftet.
Prüfen Sie den Ölstand im Ausdehnungsgefäß noch einmal. Füllen Sie Öl der entsprechenden Sorte ein, bis der Stand an der Linie FULL COLD am Ausdehnungsgefäß liegt.
Ein abgenutztes oder beschädigtes Messer kann zerbrechen. Herausgeschleuderte Messerstücke können Sie oder Unbeteiligte treffen und schwere oder tödliche Verletzungen verursachen. Der Versuch, ein defektes Messer zu reparieren, kann zum Verlust der Sicherheitsabnahme der Maschine führen.
Prüfen Sie die Messer regelmäßig auf Abnutzung oder Beschädigungen.
Prüfen Sie die Messer vorsichtig. Wickeln Sie die Messer in einen Lappen ein oder tragen Handschuhe; gehen Sie bei der Wartung der Messer mit besonderer Vorsicht vor. Wechseln oder schärfen Sie die Messer, sie dürfen keinesfalls geglättet oder geschweißt werden.
Denken Sie bei Maschinen mit mehreren Schnittmessern daran, dass ein sich bewegendes Messer das Mitdrehen anderer Messer verursachen kann.
Stellen Sie die Maschine auf eine ebene Fläche, kuppeln Sie den Zapfwellenantriebsschalter aus und aktivieren Sie die Feststellbremse.
Stellen Sie den Motor ab, ziehen Sie den Zündschlüssel und den Zündkerzenstecker ab.
| Wartungsintervall | Wartungsmaßnahmen |
|---|---|
| Bei jeder Verwendung oder täglich |
|
Untersuchen Sie die Schnittkanten (Bild 75).
Entfernen Sie das Messer und schärfen Sie es, wenn die Kanten nicht scharf sind oder Kerben aufweisen, siehe Schärfen der Messer.
Prüfen Sie die Schnittmesser, insbesondere im gebogenen Bereich.
Wenn Sie Risse, Verschleiß oder Rillenbildung in diesem Bereich feststellen, sollten Sie sofort ein neues Schnittmesser einbauen (Bild 75).

Note: Für die folgenden Schritte muss die Maschine auf einer ebenen Fläche stehen.
Heben Sie das Mähwerk auf die höchste Schnitthöhe an.
Tragen Sie dicke Handschuhe oder andere angemessene Handschuhe und drehen Sie das Messer langsam in eine Stellung, in der das Messen des Abstands zwischen der Schnittkante und der ebenen Fläche der Maschine möglich ist (Bild 76).

Messen Sie von der Messerspitze bis zu ebenen Fläche (Bild 77).

Drehen Sie dasselbe Messer um 180 Grad, sodass die andere Schnittkante jetzt in derselben Stellung ist (Bild 78).

Messen Sie von der Messerspitze bis zu ebenen Fläche (Bild 79).
Note: Die Differenz sollte höchstens 3 mm betragen.

Wenn die Differenz zwischen A und B größer als 3 mm ist, wechseln Sie das Messer aus, siehe Entfernen der Messer und Einbauen der Messer.
Note: Wenn Sie ein verbogenes Messer durch ein neues ersetzen und der Wert weiterhin über 3 mm liegt, ist die Messerspindel ggf. verbogen. Wenden Sie sich für den Kundendienst an den offiziellen Vertragshändler.
Wenn die Abweichung innerhalb der Beschränkungen liegt, fahren Sie mit dem nächsten Messer fort.
Wiederholen Sie die Schritte für jedes Messer.
Wechseln Sie die Messer aus, wenn sie auf ein festes Objekt aufgeprallt sind oder nicht ausgewuchtet oder verbogen sind.
Halten Sie die Spindelwelle mit einem Schraubenschlüssel fest.
Entfernen Sie die Messerschraube, Wellenscheibe und das Messer von der Spindelwelle (Bild 80).

Schärfen Sie die Schnittkante an beiden Enden des Schnittmessers mit einer Feile (Bild 81).
Note: Behalten Sie den ursprünglichen Winkel bei.
Note: Das Schnittmesser behält seine Auswuchtung bei, wenn von beiden Schnittkanten die gleiche Materialmenge entfernt wird.

Prüfen Sie die Auswuchtung des Schnittmessers auf einer Ausgleichsmaschine (Bild 82).
Note: Wenn das Schnittmesser in seiner horizontalen Position bleibt, ist es ausgewuchtet und kann wiederverwendet werden.
Note: Feilen Sie, wenn das Schnittmesser nicht ausgewuchtet ist, vom Flügelbereich des Messers etwas Metall ab (Bild 81).

Wiederholen Sie diesen Vorgang, bis das Messer ausgewuchtet ist.
Setzen Sie das Messer auf die Spindelwelle (Bild 80).
Important: Der gebogene Teil des Messers muss nach oben zur Innenseite des Mähwerks zeigen, um einen guten Schnitt sicherzustellen.
Setzen Sie die Wellenscheibe und die Messerschraube ein (Bild 80).
Note: Setzen Sie den Konus der Wellenscheibe so ein, dass er zum Schraubenkopf zeigt.
Ziehen Sie die Messerschraube mit 115-150 N·m an.
Prüfen Sie die Nivellierung des Mähwerks immer, wenn Sie das Mähwerk einbauen oder wenn Sie ungleichmäßige Schnitthöhen auf dem Rasen bemerken.
Prüfen Sie vor dem Nivellieren das Mähwerk auf verbogene Messer; wechseln Sie verbogene Messer aus, siehe Prüfen auf verbogene Schnittmesser bevor Sie fortfahren.
Nivellieren Sie das Mähwerk zuerst seitlich, bevor Sie es in Längsrichtung nivellieren.
Voraussetzungen:
Die Maschine auf einer ebenen Fläche stehen.
Alle Reifen müssen den richtigen Druck haben, siehe Prüfen des Reifendrucks.
Stellen Sie die Maschine auf eine ebene Fläche, kuppeln Sie den Zapfwellenantriebsschalter aus und aktivieren Sie die Feststellbremse.
Stellen Sie vor dem Verlassen der Bedienungsposition den Motor ab, ziehen den Schlüssel ab und warten, bis alle beweglichen Teile zum Stillstand gekommen sind.
Prüfen Sie den Reifendruck in den Antriebsreifen. Siehe Prüfen des Reifendrucks.
Stellen Sie das Mähwerk in die arretierte Transport-Stellung.
Drehen Sie die Schnittmesser vorsichtig von einer Seite zur anderen.
Messen Sie den Abstand zwischen der Messerspitze und der ebenen Oberfläche (Bild 83). Wenn die Werte nicht innerhalb von fünf mm liegen, stellen Sie die Nivellierung ein; fahren Sie mit diesen Schritten fort.


Prüfen Sie die Schnittmesserneigung in Längsrichtung (Bild 84). Stellen Sie sicher, dass die vordere Messerspitze niedriger als die hintere Messerspitze ist, wie in der Blockhöhen- und Rechentabelle angegeben. Wenn eine Einstellung erforderlich ist, fahren Sie mit diesem Schritt fort.

Stellen Sie die Antiskalpierrollen auf die oberen Löcher oder entfernen Sie sie ganz für diese Einstellung.
Legen Sie zwei Blöcke (siehe Tabelle unten) unter die hintere Kante des Mähwerks, einen Block an jeder Seite des Mähwerks (Bild 85).
Stellen Sie die Schnitthöhe auf 76 mm ein.
Legen Sie zwei Blöcke an jeder Seite unter die vordere Kante des Mähwerks, jedoch nicht unter die Halterungen der Antiskalpierrollen oder die Schweißnähte.

| Mähwerkgröße | Blockhöhe | Rechen |
| Alle Mähwerke | 7,3 cm | 4,8 mm bis 6,4 mm |
Drehen Sie die Schnittmesser vorsichtig von einer Seite zur anderen (Bild 83).
Lösen Sie die Sicherungsmuttern (Bild 86) an allen vier Ecken und stellen Sie sicher, dass das Mähwerk fest auf allen vier Blöcken sitzt.
Entfernen Sie das Spiel an den Mähwerk-Hängeprofilen und stellen Sie sicher, dass der Mähwerkhubhebel nach hinten gegen den Anschlag gedrückt ist.
Ziehen Sie die vier Sicherungsmuttern fest.

Vergewissern Sie sich, dass die Blöcke bündig unter dem Mähwerk sind und alle Schrauben des Anbaugeräts angezogen sind
Setzen Sie die Nivellierung des Mähwerks fort und prüfen Sie die Schnittmesserneigung in Längsrichtung.
Prüfen Sie die Nivellierung der Messer und führen Sie ggf. den Nivellierungsschritte für das Mähwerk erneut aus.
Stellen Sie die Maschine auf eine ebene Fläche, kuppeln Sie den Zapfwellenantriebsschalter aus und aktivieren Sie die Feststellbremse.
Stellen Sie den Motor ab, ziehen Sie den Zündschlüssel und den Zündkerzenstecker ab.
Stecken Sie den Höheneinstellstift in das Loch für die Schnitthöhe von 7,6 cm.
Entfernen Sie die Riemenabdeckungen.
Lösen Sie die Spannscheibe des Mähwerks und nehmen Sie den Mähwerkriemen ab, siehe Warten der Riemen.
Entfernen Sie die Schrauben und Muttern von der Vorderseite der Platte unter der Fußstütze.
Entfernen und bewahren Sie die Schrauben und Muttern an beiden Seiten der Maschine auf (Bild 87).

Schieben Sie das Mähwerk von der rechten Seite der Maschine heraus.
Eine nicht abgedeckte Auswurföffnung kann zum Ausschleudern von Gegenständen auf den Bediener oder Unbeteiligte führen. Das kann schwere Verletzungen zur Folge haben. Außerdem könnte es auch zum Kontakt mit dem Messer kommen.
Setzen Sie die Maschine nur ein, wenn Sie eine Mulchplatte, eine Grasleitvorrichtung oder eine Fangvorrichtung montiert haben.
Entfernen Sie die Sicherungsmutter, Schraube, Feder und das Distanzstück, mit denen das Ablenkblech an den Schwenkhalterungen befestigt ist (Bild 88).
Entfernen Sie defekte oder abgenutzte Ablenkbleche (Bild 88).

Legen Sie das Distanzstück und die Feder auf das Ablenkblech.
Setzen Sie ein J-förmiges Federende hinter die Kante des Mähwerks.
Note: Achten Sie darauf, dass ein J-förmiges Federende hinter der Mähwerkkante befestigt ist, bevor Sie die Schraube einsetzen, wie in Bild 88 abgebildet.
Setzen Sie die Schraube und Mutter ein.
Führen Sie das J-förmige Hakenende der Feder um das Ablenkblech (Bild 88).
Important: Das Grasablenkblech muss sich drehen können. Heben Sie das Ablenkblech in die ganz geöffnete Stellung an und stellen Sie sicher, dass es sich in die ganz untere Stellung dreht.
| Wartungsintervall | Wartungsmaßnahmen |
|---|---|
| Bei jeder Verwendung oder täglich |
|
Stellen Sie die Maschine auf eine ebene Fläche, kuppeln Sie den Zapfwellenantriebsschalter aus und aktivieren Sie die Feststellbremse.
Stellen Sie vor dem Verlassen der Bedienungsposition den Motor ab, ziehen den Schlüssel ab und warten, bis alle beweglichen Teile zum Stillstand gekommen sind.
Heben Sie das Mähwerk in die TRANSPORT-Stellung an.
Reinigen Sie die Aufhängung mit Druckluft.
Note: Reinigen Sie die Stoßdämpfer nicht mit einem Hochdruckreiniger (Bild 89).

Motoröl, Batterien, Hydrauliköl und Motorkühlmittel belasten die Umwelt. Entsorgen Sie diese Mittel entsprechend den in Ihrem Gebiet gültigen Vorschriften.
Stellen den Motor ab, ziehen den Schlüssel ab und warten Sie, bis alle beweglichen Teile zum Stillstand gekommen sind. Lassen Sie die Maschine abkühlen, bevor Sie diese verstauen.
Lagern Sie die Maschine oder Kraftstoff nicht in der Nähe von offenem Feuer. Lassen Sie Kraftstoff auch nie in geschlossenen Räumen ab.
Ziehen Sie den Zündschlüssel ab und bewahren Sie ihn an einem für Kinder unzugänglichen Ort sicher auf.
Kuppeln Sie den Zapfwellenantriebsschalter aus und aktivieren die Feststellbremse.
Stellen Sie vor dem Verlassen der Bedienungsposition den Motor ab, ziehen den Schlüssel ab und warten, bis alle beweglichen Teile zum Stillstand gekommen sind.
Entfernen Sie Schnittgut und Schmutz von den äußeren Teilen der Maschine, insbesondere vom Motor und der Hydraulikanlage. Entfernen Sie Schmutz und Häcksel außen an den Zylinderkopfrippen des Motors und am Gebläsegehäuse.
Important: Sie können die Maschine mit einem milden Reinigungsmittel und Wasser reinigen. Reinigen Sie die Maschine nicht mit einem Hochdruckreiniger. Vermeiden Sie den Einsatz von zu viel Wasser, insbesondere in der Nähe des Armaturenbretts, des Motors, der Hydraulikpumpen und -motoren.
Prüfen Sie die Funktion der Feststellbremse, siehe Einstellen der Feststellbremse.
Warten Sie den Luftfilter, siehe Warten des Luftfilters.
Schmieren Sie die Maschine ein, siehe Schmierung.
Wechseln Sie das Getriebeöl, siehe Warten des Motoröls.
Prüfen Sie den Reifendruck, siehe Prüfen des Reifendrucks.
Wechseln Sie die Hydraulikfilter aus, siehe Wechseln des Hydrauliköls und der -filter.
Laden Sie die Batterie auf, siehe Aufladen der Batterie.
Schaben Sie starke Schnittgut- und Schmutzablagerungen von der Unterseite des Mähwerks ab und reinigen Sie das Mähwerk dann mit einem Gartenschlauch.
Note: Lassen Sie die Maschine mit eingekuppeltem Zapfwellenantriebsschalter und Motor mit hoher Drehzahl für zwei bis fünf Minuten nach dem Reinigen laufen.
Prüfen Sie den Zustand der Messer, siehe Warten der Schnittmesser.
Bereiten Sie die Maschine bei Stilllegung länger als 30 Tage zur Einlagerung vor. Bereiten Sie die Maschine wie im Anschluss beschrieben für die Einlagerung vor:
Geben Sie einen Stabilisator bzw. Konditioniermittel auf Mineralölbasis dem Benzin im Tank zu. Befolgen Sie dabei die Mischanweisungen des Herstellers des Stabilisators. Verwenden Sie keinen Stabilisator auf Alkoholbasis (Ethanol oder Methanol).
Note: Ein Kraftstoffstabilisator wirkt am effektivsten, wenn er frischem Benzin beigemischt und ständig verwendet wird.
Lassen Sie den Motor für fünf Minuten laufen, um den stabilisierten Kraftstoff in der Kraftstoffanlage zu verteilen.
Stellen Sie den Motor ab und lassen ihn abkühlen; lassen Sie den Kraftstoff aus dem Tank ablaufen.
Starten Sie den Motor und lassen Sie ihn laufen, bis er abstellt.
Entsorgen Sie Kraftstoff vorschriftsmäßig. Entsorgen Sie den Kraftstoff entsprechend den örtlich geltenden Vorschriften.
Important: Kraftstoff, der Stabilisator/Konditionierer enthält, nicht länger als vom Hersteller des Kraftstoffstabilisators empfohlen lagern.
Entfernen und prüfen Sie den Zustand der Zündkerzen, siehe Warten der Zündkerze(n). Gießen Sie bei entfernter Zündkerze 30 ml (zwei Esslöffel) Motoröl in die Zündkerzenöffnung. Lassen Sie dann den Motor mit dem Elektrostarter an, um das Öl im Zylinder zu verteilen. Setzen Sie die Zündkerze(n) wieder ein. Setzen Sie der Zündkerze nicht den -stecker auf.
Prüfen Sie alle Muttern und Schrauben und ziehen diese bei Bedarf an. Reparieren Sie alle beschädigten und defekten Teile oder wechseln sie aus.
Bessern Sie alle zerkratzten oder abgeblätterten Metallflächen aus. Die passende Farbe erhalten Sie bei Ihrem Vertragshändler.
Lagern Sie die Maschine in einer sauberen, trockenen Garage oder an einem anderen geeigneten Ort ein. Ziehen Sie den Schlüssel aus dem Zündschloss und bewahren Sie ihn außerhalb der Reichweite von Kindern und anderen unbefugten Personen auf. Decken Sie die Maschine ab, damit sie geschützt ist und nicht verstaubt.
| Problem | Possible Cause | Corrective Action |
|---|---|---|
| Der Motor wird zu heiß. |
|
|
| Der Anlasser läuft nicht. |
|
|
| Der Motor springt nicht an, kann nur schwer angelassen werden, oder stellt ab. |
|
|
| Der Motor verliert an Leistung. |
|
|
| Die Maschine zieht (bei ganz nach vorne gedrückten Fahrantriebshebeln) nach links oder rechts. |
|
|
| Die Maschine fährt nicht. |
|
|
| Die Maschine weist abnormale Vibrationen auf. |
|
|
| Die Schnitthöhe ist unregelmäßig. |
|
|
| Die Schnittmesser drehen sich nicht. |
|
|
| Die Kupplung kann nicht eingekuppelt werden. |
|
|
