| Maintenance Service Interval | Maintenance Procedure |
|---|---|
| Before each use or daily |
|
This machine is a ride-on, reel-blade lawn mower intended to be used by professional, hired operators in commercial applications. It is primarily designed for cutting grass on well-maintained turf. Using this product for purposes other than its intended use could prove dangerous to you and bystanders.
Read this information carefully to learn how to operate and maintain your product properly and to avoid injury and product damage. You are responsible for operating the product properly and safely.
Visit www.Toro.com for more information, including safety tips, training materials, accessory information, help finding a dealer, or to register your product.
Whenever you need service, genuine Toro parts, or additional information, contact an Authorized Service Dealer or Toro Customer Service and have the model and serial numbers of your product ready. Figure 1 identifies the location of the model and serial numbers on the product. Write the numbers in the space provided.
Important: With your mobile device, you can scan the QR code on the serial number plate (if equipped) to access warranty, parts, and other product information.

This manual identifies potential hazards and has safety messages identified by the safety-alert symbol (Figure 2), which signals a hazard that may cause serious injury or death if you do not follow the recommended precautions.

This manual uses 2 words to highlight information. Important calls attention to special mechanical information and Note emphasizes general information worthy of special attention.
This product complies with all relevant European directives. For details, please see the separate product specific Declaration of Conformity (DOC) sheet.
It is a violation of California Public Resource Code Section 4442 or 4443 to use or operate the engine on any forest-covered, brush-covered, or grass-covered land unless the engine is equipped with a spark arrester, as defined in Section 4442, maintained in effective working order or the engine is constructed, equipped, and maintained for the prevention of fire.
The enclosed engine owner’s manual is supplied for information regarding the US Environmental Protection Agency (EPA) and the California Emission Control Regulation of emission systems, maintenance, and warranty. Replacements may be ordered through the engine manufacturer.
CALIFORNIA
Proposition 65 Warning
Diesel engine exhaust and some of its constituents are known to the State of California to cause cancer, birth defects, and other reproductive harm.
Battery posts, terminals, and related accessories contain lead and lead compounds, chemicals known to the State of California to cause cancer and reproductive harm. Wash hands after handling.
Use of this product may cause exposure to chemicals known to the State of California to cause cancer, birth defects, or other reproductive harm.
This machine has been designed in accordance with EN ISO 5395 (when you complete the setup procedures) and ANSI B71.4-2017.
This product is capable of amputating hands and feet and of throwing objects.
Read and understand the contents of this Operator’s Manual before starting the engine.
Use your full attention while operating the machine. Do not engage in any activity that causes distractions; otherwise, injury or property damage may occur.
Do not put your hands or feet near moving components of the machine.
Do not operate the machine without all guards and other safety protective devices in place and functioning properly on the machine.
Keep bystanders and children out of the operating area. Never allow children to operate the machine.
Shut off the engine, remove the key (if equipped), and wait for all movement to stop before you leave the operator’s position. Allow the machine to cool before adjusting, servicing, cleaning, or storing it.
Improperly using or maintaining this machine can result in injury.
To reduce the potential for injury, comply with these safety instructions
and always pay attention to the safety-alert symbol
, which means
Caution, Warning, or Danger—personal safety instruction. Failure
to comply with these instructions may result in personal injury or
death.
The engine in this machine is EU Stage 3b compliant.
![]() |
Safety decals and instructions are easily visible to the operator and are located near any area of potential danger. Replace any decal that is damaged or missing. |





















Note: Determine the left and right sides of the machine from the normal operating position.
Depending on what width cutting units are to be installed on the traction unit, adjust the support rollers as follows:
Park the machine on a level surface, engage the parking brake, shut off the engine, and remove the key.
Parts needed for this procedure:
| Hood-lock bracket | 1 |
| Rivet | 2 |
| Screw (1/4 x 2 inch) | 1 |
| Flat washer (1/4 inch) | 2 |
| Locknut (1/4 inch) | 1 |
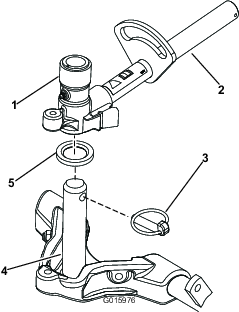
Unhook the hood latch from the hood-latch bracket (Figure 4).

Remove the 2 rivets securing the hood-latch bracket to the hood (Figure 5).

Remove the hood-latch bracket from the hood.
While aligning the mounting holes, position the CE lock bracket and the hood-latch bracket onto the hood.
Note: The lock bracket must be against the hood (Figure 5).Do not the remove bolt-and-nut assembly from the lock-bracket arm.

Align the washers with the holes on the inside of the hood.
Rivet the brackets and the washers to the hood (Figure 6).
Hook the latch onto the hood-latch bracket (Figure 7).

Screw the bolt into the other arm of hood-lock bracket to lock the latch in position (Figure 8).

Tighten the bolt securely but do not tighten the nut.
Parts needed for this procedure:
| Front hose guide (right) | 1 |
| Front hose guide (left) | 1 |
Remove the reel motors from the shipping brackets.
Remove and discard the shipping brackets.
Remove the cutting units from the cartons.
Assemble and adjust as described in the cutting unit Operator's Manual.
Make sure that the counter weight (Figure 9) is installed to the proper end of the cutting unit as described in the cutting unit Operator's Manual.

Ensure that the turf-compensation spring is mounted to the same side as the reel drive motor on every cutting unit. To change the position of the spring, do the following steps:
Remove the 2 carriage bolts and nuts securing the rod bracket to the cutting-unit tabs (Figure 10).

Remove the flange nut securing the spring-tube bolt to the carrier-frame tab (Figure 10)
Remove the assembly.
Mount the spring-tube bolt to the opposite tab on the carrier frame and secure with the flange nut.
Note: Position the bolt head to the outer side of the tab as shown in Figure 11.

Mount the rod bracket to the cutting unit tabs with the carriage bolts and nuts (Figure 11). On the cutting unit, mount the left hose guide to the front of the cutting unit tabs when installing the rod bracket (Figure 13).
Important: On Cutting Unit 4 (left front) and Cutting Unit 5 (right front), use the rod-bracket mounting nuts to install the hose guides to the front of the cutting-unit tabs. The hose guides should lean toward the center cutting unit (Figure 12 through Figure 14).



Note: When installing or removing the cutting units, make sure that the hairpin cotter is installed in the spring-rod hole next to the rod bracket. Otherwise, you must install the hairpin cotter in the hole in the end of the rod.
Increase the steering on the rear cutting units by removing the 2 pivot spacers, hex-socket screws, and flange locknuts (Figure 15) from the carrier frames of the rear cutting units (Cutting Units 2 and 3); refer to Figure 12.

Lower all the lift arms completely.
Coat the carrier-frame shaft with clean grease (Figure 16).

For the front cutting units, slide a cutting unit under the lift arm while inserting the shaft of the carrier frame up into the lift-arm pivot yoke (Figure 16).
Make sure that the thrust washer is in position on the carrier-frame shaft.
Secure the carrier-frame shaft to the lift-arm yoke with the klik pin (Figure 16).
To lock (fix) the steering on the cutting units, secure the pivot yoke to the carrier frame with the snapper pin (Figure 17).

Note: Use fixed steering when cutting on side hills.
Use the following procedure on the rear cutting units when the height of cut is above 19 mm (3/4 inch).
Remove the lynch pin and washer securing the lift-arm pivot shaft to the lift arm and slide the lift-arm pivot shaft out of the lift arm (Figure 18).

Insert the lift-arm yoke onto the carrier frame shaft (Figure 16).
Insert the lift-arm shaft into the lift arm and secure it with the washer and the lynch pin (Figure 18).
Secure the lift-arm chain to the chain bracket with the snapper pin (Figure 19).
Note: Use the number of chain links described in the cutting unit Operator's Manual.

Coat the spline shaft of the reel motor with clean grease.
Oil the reel motor O-ring and install it onto the motor flange.
Install the motor by rotating it clockwise so that the motor flanges clear the bolts (Figure 20).

Rotate the motor counterclockwise until the flanges encircle the bolts, and then tighten the bolts.
Important: Make sure that the reel motor hoses are not twisted, kinked, or at risk of being pinched.
The turf-compensation spring (Figure 21) transfers the weight from the front to the rear roller. This helps to reduce a wave pattern in the turf, also known as marcelling or bobbing.
Important: Make spring adjustments with the cutting unit mounted to the traction unit, positioned straight ahead and lowered to the shop floor.
Make sure that the hairpin cotter is installed in the rear hole in the spring rod (Figure 21).
Note: When servicing the cutting unit, move the hairpin cotter to the spring-rod hole next to the turf-compensation spring.

Tighten the hex nuts on the front end of the spring rod until the compressed length of the spring is 15.9 cm (6.25 inches); refer to Figure 21.
Note: When operating on rough terrain, decrease the spring length by 13 mm (1/2 inch). Ground following will be slightly decreased.
Note: You will need to reset the turf compensation setting if you change either the HOC or aggressiveness-of-cut setting.
Parts needed for this procedure:
| Cutting-unit kickstand | 1 |
Whenever you tip the cutting unit to expose the bedknife/reel, prop up the rear of the cutting unit with the kickstand to make sure that the nuts on the back end of the bedbar adjusting screws are not resting on the work surface (Figure 22).

Secure the kickstand to the chain bracket with the snapper pin (Figure 23).

Before operating the machine, apply grease to ensure proper lubrication. Refer to Lubrication. Failure to properly grease the machine will result in premature failure of critical parts.
Check the level of the rear axle lubricant before starting the engine for the first time, refer to Checking the Oil Level of the Rear Axle.
Check the level of the hydraulic fluid before starting the engine for the first time, refer to Checking the Level of the Hydraulic Fluid.
Check the level of the engine oil before and after starting the engine for the first time, refer to Checking the Level of the Engine Oil.
Parts needed for this procedure:
| Gauge bar | 1 |
Use the gauge bar to adjust the cutting unit. Refer to the cutting unit Operator's Manual for the adjustment procedures (Figure 24).

Parts needed for this procedure:
| Warning decal | 1 |
| CE decal | 1 |
| Production year decal | 1 |
On machines requiring CE compliance, apply the production year decal (Part No. 133-5615) near the serial plate, the CE decal (Part No. 93-7252) near the hood lock, and the CE warning decal (Part No. 138-1186) over the standard warning decal (Part No. 120-1683).
The 2 foot pedals (Figure 25) operate individual wheel brakes for turning assistance and to aid in obtaining better side hill traction.
The pedal-locking latch (Figure 25) connects the pedals together to engage the parking brake.
To engage the parking brake, (Figure 25) connect the pedals together with the pedal-locking latch, push down on the right brake pedal while engaging the toe pedal. To release the parking brake, press 1 of the brake pedals until the parking-brake latch retracts.

The traction pedal (Figure 25) controls forward and reverse operation. Press the top of the pedal to move forward and the bottom to move backward. Ground speed is determined by how far you press the pedal. For maximum ground speed, fully press the pedal while the throttle is in the FAST position.
To stop the machine, reduce your foot pressure on the traction pedal and allow it to return to the center position.
To tilt the steering wheel towards you, press the foot pedal (Figure 25) down, and pull the steering tower toward you to the most comfortable position and then release the pedal.
When the mow-speed limiter (Figure 26) is flipped up it will control the mow speed and allow the cutting units to be engaged. Each spacer adjusts the mowing speed by 0.8 km/h (0.5 mph). The more spacers that there are on the top of the bolt, the slower the machine moves. To transport the machine, flip back the mow-speed limiter for maximum transport speed.
Adjust the screw(s) (Figure 26) to limit the amount that you can press the traction pedal forward or reverse to limit the speed.
Important: The speed-limiter screw must stop the traction pedal before the pump reaches full stroke; otherwise, damage to the pump may occur.

This lever (Figure 27) raises and lowers the cutting units and also starts and stops the reels when you enable the reels in the mow mode. You cannot lower the cutting units when the mow/transport lever is in the transport position.
The key switch (Figure 27) has 3 positions: OFF, ON/PREHEAT, and START.
The InfoCenter LCD display shows information about the machine, such as the operating status, various diagnostics, and other information (Figure 27).
The PTO switch (Figure 27) has 2 positions: START and STOP. Push the PTO button forward to engage the cutting-unit blades. Push the button back to disengage the cutting-unit blades.

Move the engine-speed switch (Figure 27) forward to increase the engine speed and rearward to decrease speed.
Pivot the switch downward to turn on the headlights (Figure 27).
Use the power point (Figure 28) to power optional 12 V electrical accessories.

Use the bag holder (Figure 29) for storage.

Use the backlap levers for backlapping the reels (Figure 30).

Pull out on the lever to slide the seat forward or rearward (Figure 31).
Rotate the knob to adjust the seat armrest angle (Figure 31).
Move the lever to adjust the seat back angle (Figure 31).
The weight gauge indicates when the seat is adjusted to your weight (Figure 31). You can adjust the height by positioning the suspension within the range of the green region.

Adjust the seat to your weight (Figure 31). Pull up the lever to increase the air pressure and push it down to decrease the air pressure. You attain the proper adjustment when the weight gauge is in the green region.
The InfoCenter LCD display shows information about your machine, such as the operating status, various diagnostics, and other information (Figure 32) There is a splash screen and main information screen of the InfoCenter. You can switch between the splash screen and main information screen at any time by pressing any of the InfoCenter buttons and then selecting the appropriate directional arrow.

Left Button, Menu Access/Back Button—press this button to access the InfoCenter menus. You can use it to back out of any menu you are currently using.
Middle Button—use this button to scroll down menus.
Right Button—use this button to open a menu where a right arrow indicates additional content.
Manual Fan Reversal—press the left and right buttons simultaneously to activate this feature.
Beeper—activates when lowering the decks or for advisories and faults
Note: The purpose of each button may change depending on what is required at the time. Each button is labeled with an icon displaying its current function.
| SERVICE DUE | Indicates when scheduled service should be performed |
![]() | Hours remaining until service |
![]() | Reset the service hours ![]() |
![]() | Info icon |
![]() | Hour Meter |
![]() | Fast |
![]() | Slow |
![]() | Fan reversal—indicates when the fan is reversed |
![]() | Air intake heater is active |
![]() | Raise cutting units |
![]() | Lower cutting units |
![]() | Operator must sit in seat |
![]() | Parking Brake Indicator—indicates when the parking brake is On |
![]() | Identifies the range as High |
![]() | Neutral |
![]() | Identifies the range as Low |
![]() | Coolant Temperature-indicates the engine coolant temperature in either °C or °F |
![]() | Temperature (hot) |
![]() | Denied or not allowed |
![]() | PTO is engaged |
![]() | Engine Start |
![]() | Stop or shutdown |
![]() | Engine |
![]() | Key switch |
![]() | Indicates when the cutting units are being lowered |
![]() | Indicates when the cutting units are being raised |
![]() | PIN passcode |
![]() | Hydraulic-fluid Temperature—indicates the hydraulic-fluid temperature |
![]() | CAN bus |
![]() | InfoCenter |
![]() | Bad or failed |
![]() | Bulb |
![]() | Output of TEC controller or control wire in harness |
![]() | High: over allowed range |
![]() | Low: under allowed range |
/![]() | Out of range |
![]() | Switch |
![]() | Operator must release switch |
![]() | Operator should change to indicated state |
| Symbols are often combined to form sentences. Some examples are shown below. | |
![]() | Operator should put machine in neutral |
![]() | Engine start denied |
![]() | Engine shutdown |
![]() | Engine coolant too hot |
![]() | Hydraulic oil too hot |
![]() | Sit down or set parking brake |
Accessible
only by entering PIN
To access the InfoCenter menu system, press the menu access button while at the main screen. This will bring you to the main menu. Refer to the following tables for a synopsis of the options available from the menus:
| Main Menu | |
| Menu Item | Description |
| Faults | The Faults menu contains a list of the recent machine faults. Refer to the Service Manual or your authorized Toro distributor for more information on the Faults menu and the information contained there. |
| Service | The Service menu contains information on the machine, such as hours of use counters and other similar numbers. |
| Diagnostics | The Diagnostics menu displays the state of each machine switch, sensor and control output. You can use this to troubleshoot certain issues as it tells you which machine controls are on or off. |
| Settings | The Settings menu allows you to customize and modify configuration variables on the InfoCenter display. |
| About | The About menu lists the model number, serial number, and software version of your machine. |
| Service | |
| Menu Item | Description |
| Hours | The hours menu lists the total number of hours that the machine, engine, and PTO have been on, as well as the number of hours the machine has been transported and when service is due. |
| Counts | The counts menu lists numerous counts the machine has experienced. |
| Diagnostics | |
| Menu Item | Description |
| Cutting Units | Indicates the inputs, qualifiers, and outputs for raising and lowering the cutting units |
| Hi/Low Range | Indicates the inputs, qualifiers, and outputs for driving in transport mode |
| PTO | Indicates the inputs, qualifiers, and outputs for enabling the PTO circuit |
| Engine Run | Indicates the inputs, qualifiers, and outputs for starting the engine |
| Backlap | Indicates the inputs, qualifiers, and outputs for operating the backlap function |
| Settings | |
| Menu Item | Description |
| Units | Controls the units used on the InfoCenter. The menu choices are English or Metric |
| Language | Controls the language used on the InfoCenter* |
| LCD Backlight | Controls the brightness of the LCD display |
| LCD Contrast | Controls the contrast of the LCD display |
| Front Backlap Reel Speed | Controls the speed of the front reels in backlap mode |
| Rear Backlap Reel Speed | Controls the speed of the rear reels in backlap mode |
| Protected Menus | Allows the superintendant/mechanic to access protected menus by inputting a passcode |
Auto Idle ![]() | Controls the amount of time allowed before returning the engine to low idle when the machine is stationary |
Blade Count ![]() | Controls the number of blades on the reel for reel speed |
Mow Speed ![]() | Controls the ground speed for determining the reel speed |
Height of cut (HOC) ![]() | Controls the height of cut (HOC) for determining the reel speed |
F Reel RPM ![]() | Displays the calculated reel speed position for the front reels. The reels can also be manually adjusted |
R Reel RPM ![]() | Displays the calculated reel speed position for the rear reels. The reels can also be manually adjusted |
*Only operator-faced text is translated. Faults, Service, and Diagnostics screens are service-faced. Titles are in the selected language, but menu items are in English.
Protected
under Protected Menus—accessible only by entering PIN
| About | |
| Menu Item | Description |
| Model | Lists the model number of the machine |
| SN | Lists the serial number of the machine |
| Machine Controller Revision | Lists the software revision of the master controller |
| InfoCenter Revision | Lists the software revision of the InfoCenter |
| CAN Bus | Lists the machine communication bus status |
There are 5 operating configuration settings that are adjustable within the Settings Menu of the InfoCenter: Blade Count, Mow Speed, Height of Cut (HOC), F Reel RPM, and R Reel RPM. You can lock these settings by using the Protected Menu.
Note: At the time of delivery, the initial password code is programmed by your distributor.
From the Main Menu, scroll down to the Settings Menu and press the right button.
In the Settings Menu, scroll down to the Protected Menu and press the right button.
To enter the passcode, use the center button to set the first digit then press the right button to move on to the next digit.
Use the center button to set the second digit then press the right button to move on to the next digit.
Use the center button to set the third digit then press the right button to move on to the next digit.
Use the center button to set the fourth digit then press the right button.
Press the middle button to enter the code.
If the code has been accepted and the protected menu has been “Unlocked”, “PIN” displays in the upper right corner of the display screen.
The ability to view and change the settings in the Protected Menu can be changed. Once the Protected Menu has been accessed, scroll down to Protect Settings. Using the right button, changing Protect Settings to Off will allow the ability to view and change the settings in the Protected Menu without entering the passcode. Changing Protect Settings to On will hide the protected options and will require entering a passcode to change the setting in the Protected Menu. After the pass code has been set, the key switch must be turned off and back on to enable and save this feature.
Note: If the passcode has been forgotten or misplaced, please contact your distributor for assistance.
In the Settings Menu, scroll down to Auto Idle.
Press the right button to change the auto idle time between Off, 8S, 10S, 15S, 20S, and 30S.
In the Settings Menu, scroll down to Blade Count
Press the right button to change the Blade Count between 5, 8, or 11 blades.
In the Settings Menu, scroll down to Mow Speed.
Press the right button to select mow speed.
Use the center and right button to select the appropriate mow speed set on the mechanical mow-speed limiter on the traction pedal.
Press the left button to exit mow speed and save the setting.
In the Settings Menu, scroll down to HOC.
Press the right button to select HOC.
Use the center and right button to select the appropriate HOC setting.
Note: If the exact setting is not displayed, select the nearest HOC setting from the list displayed.
Press the left button to exit HOC and save the setting.
Although the front and rear reel speeds are calculated by inputting the number of blades, mow speed, and HOC into the InfoCenter, you can manually change the setting to accommodate different mowing conditions.
Scroll down to the F Reel RPM, R Reel RPM, or both.
Press the right button to change the reel speed value. As the speed setting changes, the display continues to show the calculated reel speed based on blade count, mow speed, and HOC that you previously entered, but the new value also appears.
Note: Specifications and design are subject to change without notice.
| Width of cut, 27-inch cutting units | 307 cm (121 inches) |
| Width of cut, 32-inch cutting units | 320 cm (126 inches) |
| Overall width, 27-inch cutting units down | 345 cm (136 inches) |
| Overall width, 32-inch cutting units down | 358 cm (141 inches) |
| Overall width, cutting units up (transport) | 239 cm (94 inches) |
| Overall length | 370 cm (146 inches) |
| Height with ROPS | 220 cm (87 inches) |
| Track width, front | 229 cm (90 inches) |
| Track width, rear | 141 cm (55.5 inches) |
| Wheelbase | 171 cm (67.5 inches) |
| Net weight (with no cutting units and no fluids) | 1574 kg (3,470 lb) |
A selection of Toro approved attachments and accessories is available for use with the machine to enhance and expand its capabilities. Contact your Authorized Service Dealer or authorized Toro distributor or go to www.Toro.com for a list of all approved attachments and accessories.
To ensure optimum performance and continued safety certification of the machine, use only genuine Toro replacement parts and accessories. Replacement parts and accessories made by other manufacturers could be dangerous, and such use could void the product warranty.
Note: Determine the left and right sides of the machine from the normal operating position.
Never allow children or untrained people to operate or service the machine. Local regulations may restrict the age of the operator. The owner is responsible for training all operators and mechanics.
Become familiar with the safe operation of the equipment, operator controls, and safety signs.
Shut off the engine, remove the key (if equipped), and wait for all movement to stop before you leave the operator’s position. Allow the machine to cool before adjusting, servicing, cleaning, or storing it.
Know how to stop the machine and shut off the engine quickly.
Do not operate the machine without all guards and other safety protective devices in place and functioning properly on the machine.
Before mowing, always inspect the machine to ensure that the cutting units are in good working condition.
Inspect the area where you will use the machine and remove all objects that the machine could throw.
Use extreme care in handling fuel. It is flammable and its vapors are explosive.
Extinguish all cigarettes, cigars, pipes, and other sources of ignition.
Use only an approved fuel container.
Do not remove the fuel cap or fill the fuel tank while the engine is running or hot.
Do not add or drain fuel in an enclosed space.
Do not store the machine or fuel container where there is an open flame, spark, or pilot light, such as on a water heater or other appliance.
If you spill fuel, do not attempt to start the engine; avoid creating any source of ignition until the fuel vapors have dissipated.
| Maintenance Service Interval | Maintenance Procedure |
|---|---|
| Before each use or daily |
|
Before starting the machine each day, perform the Each Use/Daily procedures listed in .
83 L (22 US gallons)
Failure to observe the following cautions may damage the engine.
Never use kerosene or gasoline instead of diesel fuel.
Never mix kerosene or used engine oil with the diesel fuel.
Never keep fuel in containers with zinc plating on the inside.
Do not use fuel additives.
Use only clean, fresh diesel fuel or biodiesel fuels with low (<500 ppm) or ultra-low (<15 ppm) sulfur content. The minimum cetane rating should be 40. Purchase fuel in quantities that can be used within 180 days to ensure fuel freshness.
Use summer-grade diesel fuel (Number 2-D) at temperatures above -7°C (20°F) and winter-grade diesel fuel (Number 1-D or Number 1-D/2-D blend) below -7°C (20°F). Using winter-grade fuel at lower temperatures provides a lower flash point and cold-flow characteristics, which will ease starting and reduce fuel-filter plugging.
Using summer-grade fuel above -7°C (20°F) will contribute toward longer fuel-pump life and increased power compared to winter-grade fuel.
This machine can also use a biodiesel blended fuel of up to B20 (20% biodiesel, 80% petrodiesel). The petrodiesel portion should be low or ultra-low sulfur. Observe the following precautions:
Biodiesel fuel specification: ASTM D6751 or EN14214
Blended fuel specification: ASTM D975 or EN590
Observe the following precautions:
Biodiesel blends may damage painted surfaces.
Use B5 (biodiesel content of 5%) or lesser blends in cold weather.
Monitor seals, hoses, and gaskets in contact with fuel as they may degrade over time.
The fuel filter on your machine might become plugged for a time after converting to biodiesel blends.
Contact your authorized Toro distributor for more information on biodiesel.
Park the machine on a level surface, lower the cutting units, shut off the engine, and remove the key.
Using a clean rag, clean the area around the fuel-tank cap.
Remove the cap from the fuel tank (Figure 33).

Fill the tank until the level is to the bottom of the filler neck with fuel.
Install the fuel-tank cap tightly after filling the tank.
Note: If possible, fill the fuel tank after each use. This minimizes possible buildup of condensation inside the fuel tank.
The owner/operator can prevent and is responsible for accidents that may cause personal injury or property damage.
Wear appropriate clothing, including eye protection; long pants; substantial, slip-resistant footwear; and hearing protection. Tie back long hair and do not wear loose clothing or loose jewelry.
Do not operate the machine while ill, tired, or under the influence of alcohol or drugs.
Use your full attention while operating the machine. Do not engage in any activity that causes distractions; otherwise, injury or property damage may occur.
Before you start the engine, ensure that all drives are in neutral, the parking brake is engaged, and you are in the operating position.
Do not carry passengers on the machine and keep bystanders and children out of the operating area.
Operate the machine only in good visibility to avoid holes or hidden hazards.
Avoid mowing on wet grass. Reduced traction could cause the machine to slide.
Keep your hands and feet away from the cutting units.
Look behind and down before backing up to be sure of a clear path.
Use care when approaching blind corners, shrubs, trees, or other objects that may obscure your vision.
Stop the cutting units whenever you are not mowing.
Slow down and use caution when making turns and crossing roads and sidewalks with the machine. Always yield the right-of-way.
Operate the engine only in well-ventilated areas. Exhaust gases contain carbon monoxide, which is lethal if inhaled.
Do not leave a running machine unattended.
Before you leave the operator’s position, do the following:
Park the machine on a level surface.
Disengage the cutting unit(s) and lower the attachments.
Engage the parking brake.
Shut off the engine and remove the key (if equipped).
Wait for all movement to stop.
Operate the machine only in good visibility and appropriate weather conditions. Do not operate the machine when there is the risk of lightning.
Do not remove the ROPS from the machine.
Ensure that the seat belt is attached and that you can release it quickly in an emergency.
Check carefully for overhead obstructions and do not contact them.
Keep the ROPS in safe operating condition by thoroughly inspecting it periodically for damage and keeping all the mounting fasteners tight.
Replace a damaged ROPS. Do not repair or alter it.
Always use the seat belt with the roll bar in the raised position.
The ROPS is an integral safety device. Keep a folding roll bar in the raised and locked position, and use the seat belt when operating the machine with the roll bar in the raised position.
Lower a folding roll bar temporarily only when necessary. Do not wear the seat belt when the roll bar is folded down.
Be aware that there is no rollover protection when a folded roll bar is in the down position.
Check the area that you will be mowing and never fold down a folding roll bar in areas where there are slopes, drop-offs, or water.
Slopes are a major factor related to loss of control and rollover accidents, which can result in severe injury or death. The operator is responsible for safe slope operation. Operating the machine on any slope requires extra caution.
Evaluate the site conditions to determine if the slope is safe for machine operation, including surveying the site. Always use common sense and good judgment when performing this survey.
Review the slope instructions listed below for operating the machine on slopes and review the conditions in which you will operate the machine to determine whether you can operate it in the conditions on that day and at that site. Changes in the terrain can result in a change in slope operation for the machine.
Avoid starting, stopping, or turning the machine on slopes. Avoid making sudden changes in speed or direction. Make turns slowly and gradually.
Do not operate a machine under any conditions where traction, steering, or stability is in question.
Remove or mark obstructions such as ditches, holes, ruts, bumps, rocks, or other hidden hazards. Tall grass can hide obstructions. Uneven terrain could overturn the machine.
Be aware that operating the machine on wet grass, across slopes, or downhill may cause the machine to lose traction. Loss of traction to the drive wheels may result in sliding and a loss of braking and steering.
Use extreme caution when operating the machine near drop offs, ditches, embankments, water hazards or other hazards. The machine could suddenly roll over if a wheel goes over the edge or the edge caves in. Establish a safety area between the machine and any hazard.
Identify hazards at the base of the slope. If there are hazards, mow the slope with a pedestrian-controlled machine.
If possible, keep the cutting unit(s) lowered to the ground while operating on slopes. Raising the cutting unit(s) while operating on slopes can cause the machine to become unstable.
Use extreme caution with grass collection systems or other attachments. These can change the stability of the machine and cause a loss of control.
Important: Bleed the fuel system if any of the following situations have occurred:
The engine has ceased running due to lack of fuel.
Maintenance has been performed upon the fuel system components.
Remove your foot from the traction pedal and ensure that the pedal is in the NEUTRAL position.
Note: Ensure that the parking brake is engaged.
Move the engine-speed switch to the LOW IDLE position.
Turn the key to the RUN position.
Note: The glow indicator will light.
When the glow indicator dims, turn the key to the START position.
Release the key immediately when the engine starts and allow it to return to the RUN position.
Adjust the engine speed.
Important: Do not run the starter motor more than 15 seconds at a time or premature starter failure may result. If the engine fails to start after 15 seconds, turn the key to the OFF position, recheck the controls and procedures, wait 15 additional seconds, and repeat the starting procedure.
When the temperature is less than -7°C (20°F), the starter motor can be run for 30 seconds on then 60 seconds off for 2 attempts.
Contact with moving parts could result in injury.
Shut off the engine and wait for all moving parts to stop before checking for oil leaks, loose parts, and other malfunctions.
Important: Allow the engine to idle for 5 minutes before shutting it off after a full-load operation. This allows the turbocharger to cool down before shutting off the engine. Failure to do so may lead to turbocharger trouble.
Note: Lower the cutting units to the ground whenever you park the machine. This relieves the hydraulic load from the system, prevents wear on system parts, and also prevents accidental lowering of the cutting units.
Return the engine speed to low idle.
Move the PTO switch to the OFF position.
Engage the parking brake.
Rotate the key to OFF.
Remove the key from the switch to prevent accidental starting.
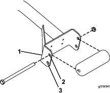
You can adjust the counterbalance on the rear cutting-unit lift arms to compensate for different turf conditions and to maintain a uniform height of cut in rough conditions or in areas of thatch buildup.
You can adjust each counterbalance spring to 1 of 4 settings. Each increment increases or decreases the counterbalance on the cutting unit by 2.3 kg (5 lb). You can position the springs on the back side of the first spring actuator to remove all counterbalance (fourth position).
Park the machine on a level surface, lower the cutting units, engage the parking brake, shut off the engine, and remove the key.
Insert a tube or similar object onto the long spring end to relieve the spring tension during the adjustment (Figure 34).
The springs are under tension and could cause personal injury.
Use caution when adjusting the springs.
While relieving the spring tension, remove the bolt and locknut securing the spring actuator to the bracket (Figure 34).

Move the spring actuator to the desired hole location and secure it with the locknut.
Repeat the procedure on the remaining spring.
Park the machine on a level surface, lower the cutting units, engage the parking brake, shut off the engine, and remove the key.
The lift-arm switch is located behind the front right lift arm (Figure 35).

Loosen the switch mounting screws (Figure 35) and move the switch up to increase the lift-arm turnaround height or move the switch down to decrease the lift-arm turnaround height.
Tighten the mounting screws.
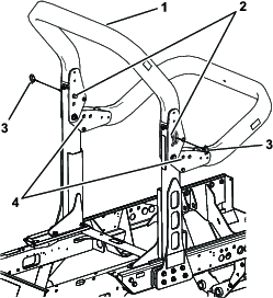
You can fold the roll bar down to allow access into areas of restricted height.
The machine does not have a rollover protection system (ROPS) when the roll bar is folded down and should not be considered a ROPS.
Do not wear a seatbelt when the roll bar is lowered.
Park the machine on a level surface, lower the cutting units, engage the parking brake, shut off the engine, and remove the key.
Support the weight of the upper frame of the roll bar while removing the snap pins and clevis pins from the pivot brackets (Figure 36).

Carefully lower the frame downward until it rests on the stops.
Insert the clevis pins in the lower holes and secure them with the snap pins to support the upper frame in its lowered position.
To raise the frame, follow these instructions in reverse order.
The ROPS protection system may not be effective if the ROPS retaining bolt assemblies are loose, which may cause serious injury or even death in the event of a rollover.
When in the raised position, both retaining bolt assemblies must be installed and fully tightened to ensure full ROPS protection.
When lowering and raising the roll bar, fingers may get pinched between the machine and the roll bar.
Use caution when lowering and raising the roll bar to prevent entrapment of fingers between the fixed part and the pivot part of the structure.
Keep all nuts, bolts, and screws correctly torqued ensure that the equipment is in safe working condition.
Replace worn or damaged parts for safety.
Ensure that the seat belt and mountings are in safe working order.
Wear the seat belt when the roll bar is raised and no seat belt when the roll bar is lowered.
Important: The roll bar is an integral safety device. Keep the roll bar in the raised position when operating the mower. Lower the roll bar temporarily only when absolutely necessary.
| Maintenance Service Interval | Maintenance Procedure |
|---|---|
| Before each use or daily |
|
If safety interlock switches are disconnected or damaged the machine could operate unexpectedly causing personal injury.
Do not tamper with the interlock switches.
Check the operation of the interlock switches daily and replace any damaged switches before operating the machine.
The machine has interlock switches in the electrical system. These switches are designed to shut off the engine when you rise from the seat while pressing the traction pedal. However, you may rise from the seat while the engine is running and the traction pedal is in neutral. Although the engine continues to run if you disengage the PTO switch and release the traction pedal, shut off the engine before rising from the seat.
To check the operation of the interlock switches, do the following steps:
Drive the machine slowly to a large, relatively open area.
Lower the cutting units, shut off the engine, and engage the parking brake.
Sit on the seat and press the traction pedal.
Try to start the engine.
Note: The engine should not crank. If the engine cranks, there is a malfunction in the interlock system; correct it before operating the machine.
Sit on the seat and start the engine.
Rise from the seat and move the PTO switch to the On position.
Note: The PTO should not engage. If the PTO engages, there is a malfunction in the interlock system; correct it before operating the machine.
Sit on the seat, engage the parking brake, and start the engine.
Move the traction pedal out of the NEUTRAL position.
Note: The engine should shut off. If the engine does not shut off, there is a malfunction in the interlock system; correct it before operating the machine.
Before mowing grass, practice operating the machine in an open area. Start and shut off the engine. Operate in forward and reverse. Lower and raise the cutting units and engage and disengage the reels. When you feel familiar with the machine, practice operating up and down slopes at different speeds.
If a warning light comes on during operation, stop the machine immediately and correct the problem before continuing operation. Serious damage could occur if you operate the machine with a malfunction.
Start the engine and move the engine speed switch to the FAST position. Move the mow speed limiter to the MOW position. Move the PTO switch to the ON position and use the lift switch to control the cutting units (the front cutting units are timed to lower before the rear cutting units). To move forward and cut grass, press the traction pedal forward.
Move the PTO switch to the OFF position and raise the cutting units to the transport position. Move the mow speed limiter to the transport position. Be careful when driving between objects so that you do not accidentally damage the machine or cutting units. Use extra care when operating the machine on slopes. Drive slowly and avoid sharp turns on slopes to prevent rollovers.
Shut off the engine, remove the key (if equipped), and wait for all movement to stop before you leave the operator’s position. Allow the machine to cool before adjusting, servicing, cleaning, or storing it.
Clean grass and debris from the cutting units, drives, mufflers, cooling screens, and engine compartment to help prevent fires. Clean up oil or fuel spills.
Shut off the fuel while storing or transporting the machine.
Disengage the drive to the attachment whenever you are transporting or not using the machine.
Maintain and clean the seat belt(s) as necessary.
Do not store the machine or fuel container where there is an open flame, spark, or pilot light, such as on a water heater or on other appliances.
Use full-width ramps for loading the machine onto a trailer or truck.
Tie the machine down securely.
The tie-down points are in the following locations:
On each side of the frame under the front steps
The rear bumper

Note: Support the machine with jack stands whenever you work under the machine.
The jacking points are in the following locations:
On the front of the machine on the frame on the inside of each drive tire
On the rear of the machine at the center of the axle
In an emergency, you can move the machine by actuating the bypass valve in the variable displacement hydraulic pump and installing a hydraulic hose to bypass the check valve, and then pushing or towing the machine.
Important: Do not push or tow the machine faster than 3 to 4.8 km/h (2 to 3 mph) or for more than 0.4 km (1/4 mile), because internal transmission damage may occur. The bypass valve must be open whenever you push or tow the machine. Additionally, you need to install a hydraulic hose to bypass the check valve whenever you push or tow the machine in reverse.
If you need to push or tow your machine, you will likely need to move it both forward and in reverse. To ensure that the drive system does not become damaged from pushing or towing, it is best to prepare the machine for both forward and reverse pushing or towing.
Important: If you need to push or tow the machine in reverse, you must first bypass the check valve in the 4-wheel-drive manifold.
The following Toro parts are needed to bypass the check valve:
Toro Part No. 59-7410, diagnostic fitting
Toro Part No. 354-79, diagnostic-fitting cap
Toro Part No. 95-8843, hydraulic hose
Toro Part No. 95-0985, coupler fitting (2)
Toro Part No. 340-77, hydraulic fitting (2)
Install a diagnostic fitting in the unmarked port located between ports M8 and P2 on the rear traction manifold (Figure 38).

Connect a hydraulic hose between the diagnostic fitting installed in the rear traction manifold and the reverse traction pressure test port (Figure 39).
Note: Use the hydraulic fittings and coupler fittings as needed to install the hose.

Rotate the bypass valve 90° (1/4 turn) in either direction to open it and allow fluid to bypass internally (Figure 40).
Note: Because the fluid bypasses the transmission, you can move the machine slowly without damaging the transmission.Note the position of the valve when opening and closing it.

When you are finished pushing or towing the machine, remove the hydraulic hose that you installed.
Install the existing cap onto the reverse traction pressure test port.
Install the diagnostic-fitting cap onto the fitting that you installed on the manifold.
Rotate the bypass valve 90° (1/4 turn) back before starting the engine.
Note: Do not exceed 7 to 11 N∙m (5 to 8 ft-lb) torque to close the valve.
If you need to push or tow the machine forward only, you can just rotate the bypass valve.
Important: If you need to push or tow the machine in reverse, refer to Preparing the Machine for Pushing or Towing in Reverse.
Open the hood and remove the center shroud.
Rotate the bypass valve 90° (1/4 turn) in either direction to open it and allow fluid to bypass internally (Figure 40).
Note: Because the fluid bypasses the transmission, you can move the machine forward slowly without damaging the transmission.Note the position of the valve when opening and closing it.
Rotate the bypass valve 90° (1/4 turn) back before starting the engine.
Note: Do not exceed 7 to 11 N∙m (5 to 8 ft-lb) torque to close the valve.
Note: Determine the left and right sides of the machine from the normal operating position.
Before you leave the operator’s position, do the following:
Park the machine on a level surface.
Disengage the cutting unit(s) and lower the attachments.
Engage the parking brake.
Shut off the engine and remove the key (if equipped).
Wait for all movement to stop.
Allow machine components to cool before performing maintenance.
If possible, do not perform maintenance while the engine is running. Keep away from moving parts.
Support the machine with jack stands whenever you work under the machine.
Carefully release pressure from components with stored energy.
Keep all parts of the machine in good working condition and all hardware tightened.
Replace all worn or damaged decals.
To ensure safe, optimal performance of the machine, use only genuine Toro replacement parts. Replacement parts made by other manufacturers could be dangerous, and such use could void the product warranty.
| Maintenance Service Interval | Maintenance Procedure |
|---|---|
| After the first 8 hours |
|
| After the first 200 hours |
|
| Before each use or daily |
|
| Every 50 hours |
|
| Every 100 hours |
|
| Every 200 hours |
|
| Every 250 hours |
|
| Every 400 hours |
|
| Every 800 hours |
|
| Every 1,000 hours |
|
| Every 2,000 hours |
|
| Before storage |
|
| Maintenance Service Interval | Maintenance Procedure |
|---|---|
| Every 50 hours |
|
The machine has grease fittings that must be lubricated regularly with No. 2 lithium grease. If you operate the machine under normal conditions, lubricate all bearings and bushings after every 50 hours of operation or immediately after every washing.
The grease fitting locations and quantities are as follows:
Brake shaft pivot bearings (5) (Figure 41)

Rear axle pivot bushings (2) (Figure 42)

Steering cylinder ball joints (2) (Figure 43)

Tie rod ball joints (2) (Figure 43)
King pin bushings (2) (Figure 43). The top fitting on the king pin should only be lubricated annually (2 pumps).
Lift arm bushings (1 per cutting unit) (Figure 44)

Lift cylinder bushings (2 per cutting unit) (Figure 44)
Lift arm pivot bushings (1 per cutting unit) (Figure 45)
Cutting unit carrier frame (2 per cutting unit) (Figure 45)
Cutting unit lift arm pivot (1 per cutting unit) (Figure 45)

Shut off the engine before checking the oil or adding oil to the crankcase.
Do not change the governor speed or overspeed the engine.
| Maintenance Service Interval | Maintenance Procedure |
|---|---|
| Every 400 hours |
|
Check the air-cleaner body for damage which could cause an air leak. Replace it if it is damaged. Check the whole intake system for leaks, damage, or loose hose clamps.
Service the air-cleaner filter only when the service indicator (Figure 46) requires it. Changing the air filter before it is necessary only increases the chance of dirt entering the engine when the filter is removed.

Important: Be sure that the cover is seated correctly and seals with the air-cleaner body.
Park the machine on a level surface, lower the cutting units, engage the parking brake, shut off the engine, and remove the key.
Pull the latch outward and rotate the air-cleaner cover counterclockwise (Figure 47).

Remove the cover from the air-cleaner body.
Before removing the filter, use low-pressure air—275 kPa (40 psi), clean and dry—to help remove large accumulations of debris packed between outside of primary filter and the canister. Avoid using high-pressure air, which could force dirt through the filter into the intake tract.
This cleaning process prevents debris from migrating into the intake when the primary filter is removed.
Remove and replace the primary filter (Figure 48).
Cleaning of the used element is not recommended due to the possibility of damage to the filter media. Inspect the new filter for shipping damage, checking the sealing end of the filter and the body. Do not use a damaged element.
Insert the new filter by applying pressure to the outer rim of the element to seat it in the canister. Do not apply pressure to the flexible center of the filter.

Important: Never attempt to clean the safety filter (Figure 49). Replace the safety filter with a new one after every 3 primary filter services.

Clean the dirt-ejection port located in the removable cover.
Remove the rubber outlet valve from the cover, clean the cavity, and install the outlet valve.
Install the cover, orienting the rubber outlet valve in a downward position—between approximately 5 o’clock to 7 o’clock when viewed from the end.
Reset the indicator (Figure 46) if it shows red.
| Maintenance Service Interval | Maintenance Procedure |
|---|---|
| Before each use or daily |
|
The engine is shipped with oil in the crankcase; however, the oil level must be checked before and after the engine is first started.
The crankcase capacity is approximately 9.5 L (10 US qt) with the filter.
Use high-quality engine oil that meets the following specifications:
API Classification Level Required: CH-4, CI-4, or higher.
Preferred oil: SAE 15W-40: above -18°C (0°F)
Alternate oil: SAE 10W-30 or 5W-30 (all temperatures)
Note: Toro Premium Engine oil is available from your distributor in either 15W-40 or 10W-30 viscosity.
Note: The best time to check the engine oil is when the engine is cool before it has been started for the day. If it has already been run, allow the oil to drain back down to the sump for at least 10 minutes before checking. If the oil level is at or below the Add mark on the dipstick, add oil to bring the oil level to the Full mark. Do not overfill the engine. If the oil level is between the Full and Add marks, no oil addition is required.
Park the machine on a level surface, lower the cutting units, engage the parking brake, shut off the engine, and remove the key.
Unlock the hood latches and open the hood (Figure 50).

Remove the dipstick, wipe it clean, install the dipstick into the tube, and pull it out again.
The oil level should be in the safe range (Figure 51).

If the oil is below the safe range, remove the fill cap (Figure 52) and add oil until the level reaches the Full mark.
Important: Do not overfill the engine.

Note: When using different oil, drain all old oil from the crankcase before adding new oil.
Install the oil fill cap and dipstick.
Close the hood and secure it with the latches.
| Maintenance Service Interval | Maintenance Procedure |
|---|---|
| Every 250 hours |
|
Park the machine on a level surface, lower the cutting units, engage the parking brake, shut off the engine, and remove the key.
Remove the drain plug (Figure 53) and let the oil flow into a drain pan.

Install the drain plug when the oil stops.
Remove the oil filter (Figure 54).

Apply a light coat of clean oil to the new filter seal before installing it.
Note: Do not overtighten the filter.
Add oil to the crankcase; refer to Checking the Level of the Engine Oil.
Adjust the throttle cable (Figure 55) so that the governor lever on the engine contacts the high speed set bolt at the same point that the throttle cable contacts the end of the slot in the control arm.

Under certain conditions, fuel and fuel vapors are highly flammable and explosive. A fire or explosion from fuel can burn you and others and can cause property damage.
Fill the fuel tank outdoors, in an open area, when the engine is off and is cold. Wipe up any fuel that spills.
Do not fill the fuel tank completely full. Add fuel to the fuel tank until the level is 25 mm (1 inch) below the top of the tank, not the filler neck. This empty space in the tank allows the fuel to expand.
Never smoke when handling fuel, and stay away from an open flame or where fuel fumes may be ignited by a spark.
Store fuel in a clean, safety-approved container and keep the cap in place.
| Maintenance Service Interval | Maintenance Procedure |
|---|---|
| Every 800 hours |
|
| Before storage |
|
Park the machine on a level surface, lower the cutting units, engage the parking brake, shut off the engine, and remove the key.
Drain and clean the fuel tank if the fuel system becomes contaminated or if the machine is to be stored for an extended period. Use clean fuel to flush out the tank.
| Maintenance Service Interval | Maintenance Procedure |
|---|---|
| Every 400 hours |
|
Park the machine on a level surface, lower the cutting units, engage the parking brake, shut off the engine, and remove the key.
Inspect the fuel lines for deterioration, damage, or loose connections.
| Maintenance Service Interval | Maintenance Procedure |
|---|---|
| Before each use or daily |
|
| Every 400 hours |
|
Park the machine on a level surface, lower the cutting units, engage the parking brake, shut off the engine, and remove the key.
Place a clean container under the fuel filter.
Loosen the drain plug on the bottom of the filter canister.

Clean the area where the filter canister mounts.
Remove the filter canister and clean the mounting surface.
Lubricate the gasket on the filter canister with clean oil.
Install the filter canister by hand until the gasket contacts mounting surface, then rotate it an additional 1/2 turn.
Tighten the drain plug on the bottom of the filter canister.
Park the machine on a level surface, lower the cutting units, engage the parking brake, shut off the engine, and remove the key.
The fuel-intake tube, located inside the fuel tank, is equipped with a screen to help prevent debris from entering the fuel system. Remove the fuel-intake tube and clean the screen as required.
Disconnect the battery before repairing the machine. Disconnect the negative terminal first and the positive last. Connect the positive terminal first and the negative last.
Charge the battery in an open, well-ventilated area, away from sparks and flames. Unplug the charger before connecting or disconnecting the battery. Wear protective clothing and use insulated tools.
Park the machine on a level surface, lower the cutting units, engage the parking brake, shut off the engine, and remove the key.
Unlatch and raise the operator's console panel (Figure 57).

Battery electrolyte contains sulfuric acid, which is fatal if consumed and causes severe burns.
Do not drink electrolyte and avoid contact with skin, eyes, or clothing. Wear safety glasses to shield your eyes and rubber gloves to protect your hands.
Fill the battery where clean water is always available for flushing the skin.
Connect a 3 to 4 A battery charger to the battery posts.
Charge the battery at a rate of 3 to 4 A for 4 to 8 hours.
When the battery is charged, disconnect the charger from the electrical outlet and battery posts.
Install the positive cable (red) to the positive (+) terminal and the negative cable (black) to the negative (-) terminal of the battery (Figure 58).

Secure the cables to the posts with cap screws and nuts.
Make sure that the positive (+) terminal is all of the way onto the post and the cable is positioned snug to the battery. The cable must not contact the battery cover.
Slide the rubber boot over the positive terminal to prevent a possible short from occurring.
Coat both battery connections with Grafo 112X (skin-over) grease, Toro Part No. 505-47, petroleum jelly, or light grease to prevent corrosion.
Slide the rubber boot over the positive terminal.
Close the console panel and secure the latch.
| Maintenance Service Interval | Maintenance Procedure |
|---|---|
| Every 50 hours |
|
Important: Before welding on the machine, disconnect the negative cable from the battery to prevent damage to the electrical system.
Note: Check the battery condition weekly or after every 50 hours of operation. Keep the terminals and the entire battery case clean because a dirty battery will discharge slowly.
Clean the battery as follows:
Park the machine on a level surface, lower the cutting units, engage the parking brake, shut off the engine, and remove the key.
Remove the battery from the machine.
Wash the entire case with a solution of baking soda and water.
Rinse the case with clean water.
Coat the battery posts and cable connectors with Grafo 112X (skin-over) grease (Toro Part No. 505-47) or petroleum jelly to prevent corrosion.
| Maintenance Service Interval | Maintenance Procedure |
|---|---|
| Before each use or daily |
|
The tires are overinflated for shipping. Therefore, release some of the air to reduce the pressure. The correct air pressure in the tires is 83 to 103 kPa (12 to 15 psi). Check the tire pressure daily.
Important: Maintain the recommended pressure in all tires to ensure a good quality of cut and proper machine performance. Do not underinflate the tires.
| Maintenance Service Interval | Maintenance Procedure |
|---|---|
| After the first 8 hours |
|
| Every 200 hours |
|
Park the machine on a level surface, lower the cutting units, engage the parking brake, shut off the engine, and remove the key.
Failure to maintain proper torque of the wheel nuts could result in failure or loss of a wheel and may result in personal injury.
Torque the front and rear wheel nuts to 115 to 136 N∙m (85 to 100 ft-lb) after 1 to 4 hours of operation and again after 8 hours of operation. Torque the wheel nuts every 200 hours thereafter.
Note: The front wheel nuts are 1/2–20 UNF. The rear wheel nuts are M12 x 1.6-6H (metric).
| Maintenance Service Interval | Maintenance Procedure |
|---|---|
| Every 400 hours |
|
There should be no end-play in the planetary drives/drive wheels (i.e., the wheels should not move when you pull or push them in a direction parallel to the axle).
Park the machine on a level surface, engage the parking brake, lower the cutting units, shut off the engine, and remove the key.
Chock the rear wheels and raise the front of machine, supporting the front axle/frame on jack stands.
A machine on a jack may be unstable and slip off the jack, injuring anyone beneath it.
Do not start the engine while the machine is on a jack.
Always remove the key from the switch before getting off the machine.
Block the tires when you are raising the machine with a jack.
Support the machine with jack stands.
Grasp 1 of the front drive wheels and push/pull it toward and away from the machine, noting any movement.

Repeat step 3 for the other drive wheel.
If either wheel moves, contact your authorized Toro distributor to have the planetary drive rebuilt.
| Maintenance Service Interval | Maintenance Procedure |
|---|---|
| Every 400 hours |
|
Lubricant Specification: high quality SAE 85W-140 gear lubricant
Park the machine on level surface, position the wheel so that the fill plug is at the 12 o'clock position, the check plug is at 3 o'clock position, and the drain plug is at the 6 o'clock position (Figure 63).

Remove the check plug at the 3 o’clock position (Figure 63).
The oil level should be at the bottom of the check-plug hole.

If the oil level is low, remove the fill plug at the 12 o’clock position and add oil until it begins to flow out of the hole at the 3 o’clock position.
Check the O-ring for the plug(s) for wear or damage.
Note: Replace the O-ring(s) as needed.
Install the plug(s).
Repeat steps 1 through 5 on the planetary gear assembly at the other side of the machine.
| Maintenance Service Interval | Maintenance Procedure |
|---|---|
| After the first 200 hours |
|
| Every 800 hours |
|
Lubricant specification: high quality SAE 85W-140 gear lubricant
Planetary and brake housing lubrication capacity: 0.65 L (22 fl oz)
Park the machine on level surface, position the wheel so that the fill plug is at the 12 o'clock position, the check plug is at 3 o'clock position, and the drain plug is at the 6 o'clock position; refer to Figure 63 in Checking the Planetary Gear-Drive Lubricant.
Remove the fill plug at the 12 o’clock position and the check plug at the 3 o’clock position (Figure 65).

Place a drain pan under the planetary hub, remove the drain plug at the 6 o’clock position, and allow the oil to fully drain (Figure 65).
Check the O-rings for the fill, check, and drain plugs for wear or damage.
Note: Replace the O-ring(s) as needed.
Install the drain plug into the drain hole of the planetary housing (Figure 65).
Place a drain pan under the brake housing, remove the drain plug, and allow the oil to fully drain (Figure 66).

Check the O-ring for the plug for wear or damage and install the drain plug into the brake housing.
Note: Replace the O-ring as needed.
Through the fill-plug hole, slowly fill the planetary with 0.65 L (22 fl oz) of high quality SAE 85W-140 wt gear lube.
Important: If the planetary fills before you add 0.65 L (22 fl oz) of oil, wait 1 hour or install the plug and move the machine approximately 3 m (10 ft) to distribute the oil through the brake system. Then, remove the plug and add the remaining oil.

Install the fill plug and the check plug.
Wipe clean the planetary and brake housings (Figure 68).

Repeat steps 1 through 7 in Draining the Planetary-Gear-Drive and steps 1 through 3 in this procedure for the planetary/brake assembly at the other side of the machine.
| Maintenance Service Interval | Maintenance Procedure |
|---|---|
| Before each use or daily |
|
| Every 400 hours |
|
The rear axle is shipped from the factory filled with SAE 85W-140 gear lubricant. The capacity is 2.4 L (80 fl oz).
Park the machine on a level surface, lower the cutting units, engage the parking brake, shut off the engine, and remove the key.
Remove a check plug from 1 end of the axle (Figure 69) and make sure that the oil is up to the bottom of the hole. If the level is low, remove the fill plug (Figure 69) and add enough oil to bring the level up to the bottom of the check-plug holes.

| Maintenance Service Interval | Maintenance Procedure |
|---|---|
| After the first 200 hours |
|
| Every 800 hours |
|
Park the machine on a level surface, lower the cutting units, engage the parking brake, shut off the engine, and remove the key.
Clean the area around the 3 drain plugs, 1 on each end and 1 in the center (Figure 70).

Remove the oil-level-check plugs and the main axle vent cap to ease in draining of the oil.
Remove the drain plugs and allow the oil to drain into the pans.
Install the plugs.
Remove a check plug and fill the axle with approximately 2.37 L (80 fl oz) of 85W-140 gear lube or until the oil is up to the bottom of the hole.
Install the check plug.
| Maintenance Service Interval | Maintenance Procedure |
|---|---|
| Before each use or daily |
|
| Every 400 hours |
|
The gear box is filled with SAE 85W-140 gear lubricant. The capacity is 0.5 L (16 fl oz).
Park the machine on a level surface, lower the cutting units, engage the parking brake, shut off the engine, and remove the key.
Remove the check/fill plug from the left side of the gear box (Figure 71) and make sure that lubricant is up to the bottom of the hole. If the level is low, add enough lubricant to bring the level up to the bottom of the hole.

The machine must not creep when the traction pedal is released. If it does creep, an adjustment is required.
Park the machine on a level surface, shut off the engine, position the speed control into the low range, and lower the cutting units.
Press only the right brake pedal and engage the parking brake.
Jack up the left side of the machine until the left front tire is off the shop floor. Support the machine with jack stands to prevent it from falling accidentally.
Start the engine and allow it run at low idle.
Adjust the jam nuts on the pump rod end to move the pump control tube forward to eliminate forward creep or rearward to eliminate rearward creep (Figure 72).

After the wheel rotation ceases, tighten the jam nuts to secure the adjustment.
Shut off the engine and release the right brake.
Remove the jack stands and lower the machine to the shop floor.
Test drive the machine to ensure that it does not creep.
| Maintenance Service Interval | Maintenance Procedure |
|---|---|
| Every 800 hours |
|
Park the machine on a level surface, lower the cutting units, engage the parking brake, shut off the engine, and remove the key.
Measure the center-to-center distance (at axle height) at the front and rear of the steering tires.
Note: The front measurement must be 3 mm (1/8 inch) less than the rear measurement (Figure 73).

To adjust the toe-in, remove the cotter pin and the nut from either tie-rod ball joint (Figure 74).

Remove the tie-rod ball joint from the axle case support.
Loosen the clamps at both ends of the tie rods (Figure 74).
Rotate the detached ball joint inward or outward 1 complete revolution.
Tighten the clamp at the loose end of the tie rod.
Rotate the entire tie-rod assembly the same direction (inward or outward) 1 complete revolution.
Tighten the clamp at the connected end of the tie rod.
Install the ball joint in the axle case support and tighten the nut finger tight.
Measure the toe-in.
Repeat the procedure if necessary.
Tighten the nut and install a new cotter pin when the adjustment is correct.
Swallowing engine coolant can cause poisoning; keep out of reach from children and pets.
Discharge of hot, pressurized coolant or touching a hot radiator and surrounding parts can cause severe burns.
Always allow the engine to cool at least 15 minutes before removing the radiator cap.
Use a rag when opening the radiator cap, and open the cap slowly to allow steam to escape.
| Maintenance Service Interval | Maintenance Procedure |
|---|---|
| Before each use or daily |
|
Check the level of the coolant at the beginning of each day. The capacity of the system is 12.3 L (13 US qt).
Carefully remove the radiator cap.
If the engine has been running, the pressurized, hot coolant can escape and cause burns.
Do not open the radiator cap when the engine is running.
Use a rag when opening the radiator cap, and open the cap slowly to allow steam to escape.

Check the coolant level in the radiator.
Note: The radiator should be filled to the top of the filler neck and the expansion tank filled to the Full mark (Figure 75).
If the coolant is low, add a 50/50 mixture of water and ethylene glycol antifreeze.
Note: Do not use water only or alcohol/methanol-based coolants.
Install the radiator cap and the expansion-tank cap.
| Maintenance Service Interval | Maintenance Procedure |
|---|---|
| Before each use or daily |
|
Remove debris from the engine area, oil cooler, and radiator daily. Clean them more frequently in dirty conditions.
Park the machine on a level surface, lower the cutting units, engage the parking brake, shut off the engine, and remove the key.
Unlatch and swing open the rear screen (Figure 76).

Clean the screen thoroughly of all debris.
Note: To remove the screen, lift off the hinge pins.
Clean both sides of the oil cooler/radiator area (Figure 77) thoroughly with compressed air. Start from the front and blow the debris out toward the back. Then clean from the back side and blow toward the front. Repeat the procedure several times until all chaff and debris is removed.

Important: Cleaning the oil cooler/radiator with water will promote premature corrosion damage to components and compact debris.
Close the rear screen and secure it with the latch.
Adjust the service brakes when there is more than 13 mm (1/2 inch) of free travel of the brake pedal, or when the brakes do not work effectively. Free travel is the distance the brake pedal moves before braking resistance is felt.
Park the machine on a level surface, lower the cutting units, engage the parking brake, shut off the engine, and remove the key.
Disengage the locking latch from the brake pedals so that both pedals work independently of each other.
To reduce free travel of the brake pedals, tighten the brakes as follows:
Loosen the front nut on the threaded end of the brake cable (Figure 78).

Tighten the rear nut to move the cable backward until the brake pedals have 0 to 13 mm (0 to 1/2 inch) of free travel.
Note: Make sure that there is no brake tension when you release the pedal.
Tighten the front nuts after the brakes are adjusted correctly.
| Maintenance Service Interval | Maintenance Procedure |
|---|---|
| Every 100 hours |
|
Proper tension allows 10 mm (3/8 inch) of deflection when you apply a force of 45 N (10 lb) on the belt midway between the pulleys.
If the deflection is not 10 mm (3/8 inch), loosen the alternator mounting bolts (Figure 79).

Increase or decrease the tension of the alternator belt and tighten the bolts.
Check the deflection of the belt again to ensure that the tension is correct.
Seek immediate medical attention if fluid is injected into skin. Injected fluid must be surgically removed within a few hours by a doctor.
Ensure that all hydraulic-fluid hoses and lines are in good condition and all hydraulic connections and fittings are tight before applying pressure to the hydraulic system.
Keep your body and hands away from pinhole leaks or nozzles that eject high-pressure hydraulic fluid.
Use cardboard or paper to find hydraulic leaks.
Safely relieve all pressure in the hydraulic system before performing any work on the hydraulic system.
| Maintenance Service Interval | Maintenance Procedure |
|---|---|
| Before each use or daily |
|
Check the hydraulic lines and hoses for leaks, kinked lines, loose mounting supports, wear, loose fittings, weather deterioration, and chemical deterioration. Make all necessary repairs before operating.
| Maintenance Service Interval | Maintenance Procedure |
|---|---|
| Before each use or daily |
|
The reservoir is filled at the factory with high-quality hydraulic fluid. Check the level of the hydraulic fluid before you first start the engine and daily thereafter.
Park the machine on a level surface, lower the cutting units, engage the parking brake, shut off the engine, and remove the key.
Clean the area around the filler neck and cap of the hydraulic tank (Figure 80).

Remove the cap from the filler neck.
Remove the dipstick from the filler neck and wipe it with a clean rag.
Insert the dipstick into the filler neck; then remove it and check the fluid level.
The fluid level should be between the 2 marks on the dipstick.
If the level is low, add the appropriate fluid to raise the level to the upper mark.
Install the dipstick and cap onto the filler neck.
The reservoir is filled at the factory with high-quality hydraulic fluid. Check the level of the hydraulic fluid before you first start the engine and daily thereafter; refer to Checking the Level of the Hydraulic Fluid.
Recommended hydraulic fluid: Toro PX Extended Life Hydraulic Fluid; available in 19 L (5 US gallon) pails or 208 L (55 US gallon) drums.
Note: A machine using the recommended replacement fluid requires less frequent fluid and filter changes.
Alternative hydraulic fluids: If Toro PX Extended Life Hydraulic Fluid is not available, you may use another conventional, petroleum-based hydraulic fluid having specifications that fall within the listed range for all the following material properties and that it meets industry standards. Do not use synthetic fluid. Consult with your lubricant distributor to identify a satisfactory product.
Note: Toro does not assume responsibility for damage caused by improper substitutions, so use products only from reputable manufacturers who will stand behind their recommendation.
| Material Properties: | ||
| Viscosity, ASTM D445 | cSt @ 40°C (104°F) 44 to 48 | |
| Viscosity Index ASTM D2270 | 140 or higher | |
| Pour Point, ASTM D97 | -37°C to -45°C (-34°F to -49°F) | |
| Industry Specifications: | Eaton Vickers 694 (I-286-S, M-2950-S/35VQ25 or M-2952-S) | |
Note: Many hydraulic fluids are almost colorless, making it difficult to spot leaks. A red dye additive for the hydraulic fluid is available in 20 ml (0.67 fl oz) bottles. A bottle is sufficient for 15 to 22 L (4 to 6 US gallons) of hydraulic fluid. Order Part No. 44-2500 from your authorized Toro distributor.
Important: Toro Premium Synthetic Biodegradable Hydraulic Fluid is the only synthetic biodegradable fluid approved by Toro. This fluid is compatible with the elastomers used in Toro hydraulic systems and is suitable for a wide-range of temperature conditions. This fluid is compatible with conventional mineral oils, but for maximum biodegradability and performance, the hydraulic system should be thoroughly flushed of conventional fluid. The oil is available in 19 L (5 US gallons) pails or 208 L (55 US gallons) from your authorized Toro distributor.
28.4 L (7.5 US gallons); refer to Hydraulic Fluid Specifications
| Maintenance Service Interval | Maintenance Procedure |
|---|---|
| Every 800 hours |
|
| Every 2,000 hours |
|
If the fluid becomes contaminated, contact your local authorized Toro distributor, because the system must be flushed. Contaminated fluid looks milky or black when compared to clean fluid.
Park the machine on a level surface, lower the cutting units, engage the parking brake, shut off the engine, and remove the key.
Raise the hood.
Disconnect the case return line from the bottom of the reservoir and let the hydraulic fluid flow into a large drain pan.
Connect the line when the hydraulic fluid stops draining.
Fill the reservoir with hydraulic fluid; refer to Hydraulic Fluid Specifications and Hydraulic Fluid Capacity.
Important: Use only the hydraulic fluids specified. Other fluids could cause system damage.
Install the reservoir cap.
Start the engine and use all of the hydraulic controls to distribute hydraulic fluid throughout the system.
Check for leaks and shut off the engine.
Check the fluid level and add enough to raise the level to the Full mark on the dipstick.
Note: Do not overfill the hydraulic system.
| Maintenance Service Interval | Maintenance Procedure |
|---|---|
| Every 800 hours |
|
| Every 1,000 hours |
|
Use Toro replacement filters Part No. 94-2621 for the rear (cutting unit) of the machine and Part No. 75-1310 for the front (charge) of the machine.
Important: Using another type of filter may void the warranty on some components.
Park the machine on a level surface, lower the cutting units, engage the parking brake, shut off the engine, and remove the key.
Clean the area around the filter mounting area.
Place a drain pan under the filter and remove the filter (Figure 81 and Figure 82).
Lubricate the new filter gasket and fill the filter with hydraulic fluid.


Ensure that the filter mounting area is clean.
Screw the filter on until the gasket contacts the mounting plate; then tighten the filter an additional 1/2 turn.
Start the engine and let it run for about 2 minutes to purge air from the system.
Shut off the engine and check for leaks.
A worn or damaged blade or bedknife can break, and a piece could be thrown toward you or bystanders, resulting in serious personal injury or death.
Inspect the cutting units periodically for excessive wear or damage.
Use care when checking the cutting units. Wrap the blades or wear gloves, and use caution when servicing the reels and bedknives. Only replace or sharpen the reels and bedknives; never straighten or weld them.
On machines with multiple cutting units, take care when rotating a reel; it can cause the reels in the other cutting units to rotate.
Contact with the reels or other moving parts can result in personal injury.
Keep your fingers, hands, and clothing away from the reels or other moving parts.
Never attempt to turn the reels by hand or foot while the engine is running.
Note: When backlapping, the front units all operate together, and the rear units operate together.
Park the machine on a level surface, lower the cutting units, engage the parking brake, shut off the engine, and move the PTO switch to the OFF position.
Unlock and raise the hood to expose the controls.
Make initial reel-to-bedknife adjustments appropriate for backlapping on all cutting units which are to be backlapped; refer to the cutting unit Operator's Manual.
Select either front, rear, or both backlap levers to determine which units to backlap (Figure 83).
Start the engine and run at low idle speed.
Changing the engine speed while backlapping may cause the reels to stall.
Never change the engine speed while backlapping.
Backlap only at low idle engine speed.
Contact with the cutting units could cause personal injury.
Be certain that you are clear of the cutting units before proceeding.
With the mow-speed limiter in the MOW position, move the PTO switch to the ON position.
Press the lift switch to start the backlapping operation on the designated reels.
Apply lapping compound with a long-handled brush.
Note: Do not use a short-handled brush.

If the reels stall or become erratic while backlapping, increase the throttle speed until the reel stabilizes.
To make an adjustment to the cutting units while backlapping, turn the reels off by pressing the rear of the lift switch; move the PTO switch to the OFF position and shut off the engine. After completing any adjustments, repeat steps 5 through 9.
Repeat the procedure for all cutting units that you want to backlap.
When finished, return the backlap levers to the MOW position, lower the hood, and wash all lapping compound off the cutting units. Adjust the cutting unit reel-to-bedknife as needed. Move the cutting unit reel-speed controls to the desired mowing position.
Important: If you do not return the backlap switch to the OFF position after backlapping, the cutting units will not raise or function properly.
Note: Additional instructions and procedures on backlapping are available in the Toro Sharpening Reel and Rotary Mowers Manual, Form No. 80-300SL.
Note: For a better cutting edge, run a file across the front face of the bedknife after lapping. This removes any burrs or rough edges that may have built up on the cutting edge.
Wash the machine as needed using water alone or with a mild detergent. You may use a rag when washing the machine.
Important: Do not use brackish or reclaimed water to clean the machine.
Important: Do not use power-washing equipment to wash the machine. Power-washing equipment may damage the electrical system, loosen important decals, or wash away necessary grease at friction points. Avoid excessive use of water near the control panel, engine, and battery.
Important: Do not wash the machine with the engine running. Washing the machine with the engine running may result in internal engine damage.
Shut off the engine, remove the key (if equipped), and wait for all movement to stop before you leave the operator’s position. Allow the machine to cool before adjusting, servicing, cleaning, or storing it.
Do not store the machine or fuel container where there is an open flame, spark, or pilot light, such as on a water heater or other appliance.
Park the machine on a level surface, lower the cutting units, engage the parking brake, shut off the engine, and remove the key.
Thoroughly clean the traction unit, cutting units, and the engine.
Check the tire pressure; refer to Checking the Tire Pressure.
Check all fasteners for looseness; tighten them as necessary.
Grease or oil all grease fittings and pivot points. Wipe up any excess lubricant.
Lightly sand and use touch-up paint on painted areas that are scratched, chipped, or rusted. Repair any dents in the metal body.
Service the battery and cables as follows; refer to Electrical System SafetyID000-448-328:
Remove the battery terminals from the battery posts.
Clean the battery, terminals, and posts with a wire brush and baking-soda solution.
Coat the cable terminals and battery posts with Grafo 112X skin-over grease (Toro Part No. 505-47) or petroleum jelly to prevent corrosion.
Slowly charge the battery every 60 days for 24 hours to prevent lead sulfation of the battery.
Drain the engine oil from the oil pan and install the drain plug.
Remove and discard the oil filter. Install a new oil filter.
Fill the engine with specified motor oil.
Start the engine and run it at idle speed for approximately 2 minutes.
Shut off the engine and remove the key.
Flush the fuel tank with fresh, clean fuel.
Secure all of the fuel-system fittings.
Thoroughly clean and service the air-cleaner assembly.
Seal the air-cleaner inlet and the exhaust outlet with weatherproof tape.
Check the antifreeze protection and add a 50/50 solution of water and ethylene glycol antifreeze as needed for the expected minimum temperature in your area.