![]() |
Des autocollants de sécurité et des instructions bien visibles par l'opérateur sont placés près de tous les endroits potentiellement dangereux. Remplacez tout autocollant endommagé ou manquant. |

Note: Disposez les faisceaux sur la machine pour déterminer les emplacements de montage des composants des faisceaux. Utilisez les serre-câbles fournis pour retenir tout excédent de câble. D'autre part, si vous avez besoin de raccourcir ou de rallonger une partie du faisceau, utilisez les connexions incluses. Chauffez la gaine thermorétractable jusqu'à ce qu'elle se rétracte sur les fils.
Important: Si vous rallongez le faisceau, veillez à utiliser un fil du bon calibre.
Garez le groupe de déplacement et le topdresser sur une surface plane et horizontale et abaissez les accessoires (selon l'équipement).
Serrez le frein de stationnement, coupez le moteur et enlevez la clé de contact.
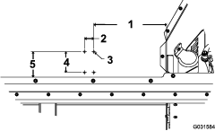
Acheminez le faisceau de l'interrupteur montré à la Figure 4 dans le véhicule le long du faisceau existant, en commençant par l'avant.
Note: Le connecteur du faisceau du vibrateur doit se trouver à l'arrière du véhicule, près de l'orifice du circuit hydraulique grand débit (Figure 1).

Insérez l'interrupteur, partie arrondie en haut, dans le trou de la planche de bord et branchez le faisceau à l'interrupteur (Figure 2 et Figure 4).

Attachez le faisceau avec des serre-câbles, à l'écart des arêtes vives.
Placez l'autocollant sur la planche de bord, près de l'interrupteur (Figure 3).

Branchez le connecteur du porte-fusibles (Figure 4) au porte-fusibles du véhicule et installez un fusible de 15 A.
Note: Si le porte-fusibles est plein, ajoutez-en un autre, branchez le connecteur de porte-fusibles au nouveau porte-fusibles, et ajoutez un fusible de 15 A dans ce dernier.

Note: Une option consiste à brancher le kit directement sur la batterie plutôt que sur le porte-fusibles du véhicule ; pour ce faire, utilisez le faisceau de batterie inclus dans le kit (Figure 5).Si vous utilisez le faisceau de batterie en option, connectez la borne positive à la borne positive de la batterie.

Connectez la borne de masse au bloc de mise à la masse du véhicule.
Branchez le connecteur ouvert (connecteur du faisceau de l'interrupteur) du faisceau électrique au connecteur ouvert (connecteur du faisceau électrique) du faisceau de l'interrupteur.
Attachez le faisceau avec des serre-câbles, à l'écart des arêtes vives.
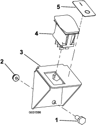
Percez 4 trous de fixation (7 mm) sur le côté de la trémie. Reportez-vous à la Figure 6 pour les dimensions de perçage.
Note: Localisez un trou, puis utilisez la plaque de montage comme gabarit pour percer les autres trous.

Fixez la plaque de montage et le vibrateur sur la trémie au moyen de 4 boulons de carrosserie et de 4 écrous, comme montré à la Figure 7.
Note: Positionnez le vibrateur de sorte que le câble soit vers le bas.

Reliez le faisceau du vibrateur au vibrateur.

Branchez le faisceau de l'interrupteur à l'autre extrémité du faisceau du vibrateur.
Note: Sur une machine tractée, vous pouvez effectuer le branchement lorsque vous accouplez le topdresser au véhicule de remorquage.
Attachez le faisceau avec des serre-câbles, à l'écart des arêtes vives.
Note: Disposez les faisceaux sur la machine pour déterminer les emplacements de montage des composants des faisceaux. Utilisez les serre-câbles fournis pour retenir tout excédent de câble. D'autre part, si vous avez besoin de raccourcir ou de rallonger une partie du faisceau, utilisez les connexions incluses. Chauffez la gaine thermorétractable jusqu'à ce qu'elle se rétracte sur les fils.
Important: Si vous rallongez le faisceau, veillez à utiliser un fil du bon calibre.
Acheminez le faisceau dans le tracteur.
Note: Assurez-vous que le faisceau de l'interrupteur est suffisamment long pour atteindre le faisceau du vibrateur.
Enlevez le cache défonçable à un emplacement d'interrupteur disponible sur la planche de bord.
Si aucun emplacement d'interrupteur n'est disponible, montez le support de l'interrupteur comme suit :
Localisez un espace libre sur la planche de bord pour le support de l'interrupteur, et percez 2 trous de 7 mm dans la planche.
Note: Servez-vous du support comme guide pour percer les trous.
Fixez le support de l'interrupteur à la planche de bord au moyen de 2 boulons et 2 écrous à embase (Figure 9).

Insérez l'interrupteur, partie arrondie en haut, dans le trou de la planche de bord ou dans le support.
Connectez le faisceau d'interrupteur à l'interrupteur (Figure 9 et Figure 11).
Apposez l'autocollant près de l'interrupteur (Figure 9).
Attachez le faisceau avec des serre-câbles, à l'écart des arêtes vives.
Installez l'un des faisceaux électriques comme suit :
Pour alimenter le kit depuis le porte-fusibles du tracteur, utilisez le faisceau du porte-fusibles Figure 10. Fixez le connecteur du porte-fusibles au porte-fusibles du tracteur, puis installez un fusible de 15 A.
Note: Si le porte-fusibles est plein, ajoutez-en un autre, branchez le connecteur de porte-fusibles au nouveau porte-fusibles, et ajoutez un fusible de 15 A dans ce dernier.
Note: Il faudra éventuellement modifier la borne et/ou la longueur de câble selon le modèle du tracteur.
Important: Si vous rallongez le faisceau, veillez à utiliser un fil du bon calibre.

Pour alimenter le kit directement à partir de la batterie, utilisez le faisceau de batterie (Figure 11).
Branchez la borne positive à la borne positive de la batterie.

Connectez la borne de masse au bloc de mise à la masse du véhicule.
Branchez le connecteur ouvert (connecteur du faisceau de l'interrupteur) du faisceau électrique au connecteur ouvert (connecteur du faisceau électrique) du faisceau de l'interrupteur.
Attachez le faisceau avec des serre-câbles, à l'écart des arêtes vives.
Percez 4 trous de fixation (7 mm) sur le côté de la trémie. Reportez-vous à la Figure 12 pour les dimensions de perçage.
Note: Localisez un trou, puis utilisez la plaque de montage comme gabarit pour percer les autres trous.

Fixez la plaque de montage et le vibrateur sur le véhicule au moyen des 4 boulons de carrosserie et des 4 écrous, comme montré à la Figure 13.
Note: Positionnez le câble du vibrateur de sorte qu'il soit en bas.

Reliez le faisceau du vibrateur au vibrateur.
Note: Acheminez le faisceau du vibrateur le long des conduites hydrauliques, car le distributeur de matériau MH-400 peut pivoter vers le haut.

Avec des serre-câbles, attachez les câbles le long des conduites hydrauliques jusqu'au connecteur du faisceau d'interrupteur.
Note: Maintenez le faisceau à l'écart des arêtes vives.
Branchez le faisceau de l'interrupteur à l'autre extrémité du faisceau du vibrateur.
Note: Vous pouvez effectuer la connexion quand vous accouplez le distributeur de matériau au groupe de déplacement.
Pièces nécessaires pour cette opération:
| Faisceau de câblage | 1 |
Note: Suivre des instructions vous permet d'utiliser l'interrupteur d'accessoire déjà monté sur la planche de bord du groupe de déplacement Outcross 9060 et relié par le connecteur à 7 broches.
Si le numéro de série du distributeur de matériau MH-400 est égal ou supérieur à 400000000, branchez le connecteur du faisceau de l'interrupteur sur le faisceau du kit au connecteur du MH-400 étiqueté SHAKER.
Si le numéro de série du distributeur de matériau MH-400 est inférieur à 400000000, modifiez le faisceau du vibrateur dans le kit comme suit :
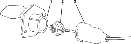
Coupez et mettez au rebut connecteur du faisceau d'interrupteur et dénudez les fils sur 10 mm (Figure 15).

Accédez au connecteur à 7 broches du distributeur de matériau MH-400 en tirant le capuchon en arrière et en sortant le connecteur du boîtier (Figure 16).

Desserrez les vis des broches 1 et 7 (Figure 17).

Insérez les fils dans le petit trou du capuchon.
Reliez le fil noir à la broche 1 et le fil blanc à la broche 7 (Figure 17).
Serrez les vis pour fixer les fils en place.
Assemblez le connecteur à 7 broches.
Percez 4 trous de fixation (7 mm) sur le côté de la trémie. Reportez-vous à la Figure 18 pour les dimensions de perçage.
Note: Localisez un trou, puis utilisez la plaque de montage comme gabarit pour percer les autres trous.

Fixez la plaque de montage et le vibrateur sur le véhicule au moyen des 4 boulons de carrosserie et des 4 écrous, comme montré à la Figure 19.
Note: Positionnez le câble du vibrateur de sorte qu'il soit en bas.

Reliez le faisceau du vibrateur au vibrateur.
Note: Acheminez le faisceau du vibrateur le long des conduites hydrauliques, car le distributeur de matériau MH-400 peut pivoter vers le haut.

Avec des serre-câbles, attachez les câbles le long des conduites hydrauliques jusqu'au connecteur du faisceau d'interrupteur.
Note: Maintenez le faisceau à l'écart des arêtes vives.
Branchez le faisceau de l'interrupteur à l'autre extrémité du faisceau du vibrateur.
Note: Vous pouvez effectuer la connexion quand vous accouplez le distributeur de matériau au groupe de déplacement.