![]() |
Sikkerheds- og instruktionsmærkaterne kan nemt ses af operatøren og er placeret tæt på potentielle risikoområder. Udskift eventuelle beskadigede eller manglende mærkater. |

Note: Læg ledningsnettet ud på maskinen for at se, hvor ledningsnettets komponenter skal monteres. Brug de medfølgende kabelbånd til at gemme overskydende ledningslængder. Hvis du har brug for at afkorte eller forlænge en ledningsdel, skal du bruge de medfølgende ledningssamlinger. Opvarm det integrerede varmekrympningsrør, indtil det slutter tæt om kablerne.
Important: Hvis du forlænger ledningsnettet, skal du sørge for at bruge de korrekte ledningsmål.
Parker traktionsenheden og topdresseren på en plan overflade, og sænk redskaberne (hvis udstyret hermed).
Aktiver parkeringsbremsen, sluk motoren, og tag nøglen ud.
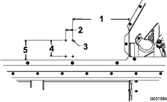
Før kontaktens ledningsnet, der er vist i Figur 4, gennem køretøjet. Start forrest, og før det langs det eksisterende ledningsnet.
Note: Vibratorenhedens ledningsnetstik skal være bagest i køretøjet i nærheden af hydraulikporten med stor flydeevne (Figur 1).

Sæt kontakten med den runde side opad i instrumentbrættets hul, og forbind ledningsnettet med kontakten (Figur 2 og Figur 4).

Fastgør ledningsnettet med kabelbånd på afstand af skarpe kanter.
Sæt mærkaten på instrumentbrættet ved siden af kontakten (Figur 3).

Tilslut sikringsblokstikket (Figur 4) til køretøjets sikringsblok, og monter en 15 A sikring.
Note: Hvis sikringsblokken er fuld, skal en ny sikringsblok tilføjes. Forbind sikringsblokkens stik til den nye sikringsblok, og føj derefter en ny sikring på 15 A til den nye sikringsblok.

Note: Du kan vælge at tilslutte sættet direkte til batteriet frem for køretøjets sikringsblok. Brug batteriets ledningsnet, der følger med sættet (Figur 5).Hvis du bruger det valgfri ledningsnet til batteriet, skal du tilslutte den positive klemme til den positive batteripol.

Tilslut jordklemmen til køretøjets jordblok.
Sæt det åbne stik (kontaktens ledningsnetstik) på strømforsyningens ledningsnet i det åbne stik (strømforsyningens ledningsnetstik) på kontaktens ledningsnet.
Fastgør ledningsnettet med kabelbånd på afstand af skarpe kanter.
Bor 4 monteringshuller (7 mm eller 9/32 tomme) på siden af tragten. Se Figur 6 for at få oplysninger om boremålene.
Note: Find 1 hul, og brug derefter monteringspladen som skabelon til at bore resten af hullerne.

Fastgør monteringspladen og vibratorenheden til tragten med 4 bræddebolte og 4 møtrikker som vist i Figur 7.
Note: Placer vibratorenheden, så kablet vender nedad.

Tilslut vibratorenhedens ledningsnet til vibratorenheden.

Tilslut kontaktens ledningsnet til den anden ende af vibratorenhedens ledningsnet.
Note: På en bugseringsmaskine kan du foretage tilslutningen, når du monterer topdresseren på traktionsenheden.
Fastgør ledningsnettet med kabelbånd på afstand af skarpe kanter.
Note: Læg ledningsnettet ud på maskinen for at se, hvor ledningsnettets komponenter skal monteres. Brug de medfølgende kabelbånd til at gemme overskydende ledningslængder. Hvis du har brug for at afkorte eller forlænge en ledningsdel, skal du bruge de medfølgende ledningssamlinger. Opvarm det integrerede varmekrympningsrør, indtil det slutter tæt om kablerne.
Important: Hvis du forlænger ledningsnettet, skal du sørge for at bruge de korrekte ledningsmål.
Før ledningsnettet gennem traktoren.
Note: Sørg for, at ledningsnettet er langt nok til at nå vibratorenhedens ledningsnet.
Tag en udtrykningsprop ud af en tilgængelig kontaktplacering på instrumentbrættet.
Hvis der ikke er nogen kontaktplaceringer tilgængelige, skal kontaktbeslaget monteres som følger:
Find en tom plads på instrumentbrættet til kontaktbeslaget, og bor 2 huller (7 mm eller 9/32 tomme) i instrumentbrættet.
Note: Anvend kontaktbeslaget som skabelon til at bore hullerne.
Monter kontaktens beslag på instrumentbrættet vha. 2 bolte og 2 flangemøtrikker (Figur 9).

Sæt kontakten i med den runde side opad i hullet i instrumentbrættet eller i beslaget.
Tilslut kontaktens ledningsnet til kontakten (Figur 9 og Figur 11).
Sæt mærkaten ved siden af stikket (Figur 9).
Fastgør ledningsnettet med kabelbånd på afstand af skarpe kanter.
Monter 1 af strømforsyningens ledningsnet som følger:
For at strømforsyne sættet fra traktorens sikringsblok skal du bruge sikringsblokkens ledningsnet (Figur 10). Fastgør sikringsblokkens stik til traktorens sikringsblok, og monter en 15 A sikring.
Note: Hvis sikringsblokken er fuld, skal en ny sikringsblok tilføjes. Forbind sikringsblokkens stik til den nye sikringsblok, og føj derefter en ny sikring på 15 A til den nye sikringsblok.
Note: Du skal muligvis skifte terminalen og/eller kabellængden afhængig af traktormodellen.
Important: Hvis du forlænger ledningsnettet, skal du sørge for at bruge de korrekte ledningsmål.

Brug batteriets ledningsnet til at strømforsyne sættet direkte fra batteriet (Figur 11).
Tilslut den positive klemme til den positive batteripol.

Tilslut jordklemmen til køretøjets jordblok.
Sæt det åbne stik (kontaktens ledningsnetstik) på strømforsyningens ledningsnet i det åbne stik (strømforsyningens ledningsnetstik) på kontaktens ledningsnet.
Fastgør ledningsnettet med kabelbånd på afstand af skarpe kanter.
Bor 4 monteringshuller (7 mm eller 9/32 tomme) på siden af tragten. Se Figur 12 for at få oplysninger om boremålene.
Note: Find 1 hul, og brug derefter monteringspladen som skabelon til at bore resten af hullerne.

Fastgør monteringspladen og vibratorenheden til køretøjet vha. de 4 bræddebolte og 4 møtrikker som vist i Figur 13.
Note: Placer vibratorenhedens kabel, så den vender nedad.

Tilslut vibratorenhedens ledningsnet til vibratorenheden.
Note: Før vibratorenhedens ledningsnet, så det følger hydraulikrørene, og MH-400-materialehåndteringsenheden kan dreje opad.

Brug kabelbånd til at fastgøre alle kabler langs hydraulikrørene hele vejen til kontaktens ledningsnetstik.
Note: Sørg for, at ledningsnettet holdes væk fra skarpe kanter.
Tilslut kontaktens ledningsnet til den anden ende af vibratorenhedens ledningsnet.
Note: Du kan foretage tilslutningen, når materialehåndteringsenheden monteres på traktionsenheden.
Dele, der skal bruges til dette trin:
| Ledningsnet | 1 |
Note: Ved at følge disse instruktioner kan du bruge tilbehørskontakten, der allerede er monteret på instrumentbrættet på Outcross 9060-traktionsenheden, og som er tilsluttet via stikket med 7 ben.
Hvis serienummeret for din MH-400-materialehåndteringsenhed er 400000000 eller højere, skal kontaktens ledningsnetstik på sættets ledningsnet tilsluttes MH-400-stikket mærket SHAKER (ryster).
Hvis serienummeret for din MH-400-materialehåndteringsenhed er mindre end 400000000, skal vibratorenhedens ledningsnet i sættet justeres som følger:
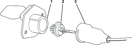
Klip kontaktens ledningsnetstik af, kasser det, og skræl 10 mm af isoleringen af ledningerne (Figur 15).

Få adgang til stikket med 7 ben på MH-400-materialehåndteringsenheden ved at trække beskyttelseshætten tilbage og fjerne stikket fra huset (Figur 16).

Løsn skruerne i terminalerne for ben 1 og ben 7 (Figur 17).

Før ledningerne gennem det lille hul i beskyttelseshætten.
Monter den sorte ledning i terminalen for ben 1, og den hvide ledning i terminalen for ben 7 (Figur 17).
Stram skruerne for at fastgøre ledningerne.
Monter stikket med 7 ben.
Bor 4 monteringshuller (7 mm eller 9/32 tomme) på siden af tragten. Se Figur 18 for at få oplysninger om boremålene.
Note: Find 1 hul, og brug derefter monteringspladen som skabelon til at bore resten af hullerne.

Fastgør monteringspladen og vibratorenheden til køretøjet vha. de 4 bræddebolte og 4 møtrikker som vist i Figur 19.
Note: Placer vibratorenhedens kabel, så den vender nedad.

Tilslut vibratorenhedens ledningsnet til vibratorenheden.
Note: Før vibratorenhedens ledningsnet, så det følger hydraulikrørene, og MH-400-materialehåndteringsenheden kan dreje opad.

Brug kabelbånd til at fastgøre alle kabler langs hydraulikrørene hele vejen til kontaktens ledningsnetstik.
Note: Sørg for, at ledningsnettet holdes væk fra skarpe kanter.
Tilslut kontaktens ledningsnet til den anden ende af vibratorenhedens ledningsnet.
Note: Du kan foretage tilslutningen, når materialehåndteringsenheden monteres på traktionsenheden.